metalinstryment.com
Довідник по металорізальних верстатів та пресовому обладнанні

7307Д Верстат поперечно-строгальный з гідравлическим приводом
опис, характеристики, схеми

Фото поперечно-строгального верстата 7307Д з гідравлическим приводом



Прессы механические, прессы гідравлические, верстати поперечно-строгальные

Відомості про виробника поперечно-строгального верстата 7307Д

Изготовителем поперечно-строгального верстата 7307Д является Гомельский станкостроительный завод им. С. М. Кирова СтанкоГомель, основанный в 1885 году.

Первые верстати были изготовлены заводом в 1934 году.

В настоящее время завод является крупнейшим производителем гаммы универсальных консольно-фрезерных верстатів моделей FW, FU, FSS. Эти верстати завод производит з 1993 года по лицензии немецкой фирмы HECKERT Chemnitzer Werkzeugmaschinen GmbH.

В ассортименте выпускаемой продукции по-прежнему долбежные верстати, правильно-отрезные автоматы і специальные верстати.

В настоящее время верстат производит ПАО «Кувандыкский завод КПО «Долина» Оренбургская обл., г. Кувандык





Верстати, выпускаемые предприятием Гомельский станкостроительный завод им. С. М. Кирова, СтанкоГомель


7307Д Верстат поперечно-строгальный з гідравлическим приводом. Назначение і область применения

Верстат поперечно-строгальный 7307Д заменил в производстве устаревшую модель 7Д36.

Верстат поперечно-строгальный 7310Д заменил в производстве устаревшую модель 7Д37.

В настоящее время поперечно-строгальные верстати завод не выпускает.

Поперечно-строгальные верстати з гідравлическим приводом моделей 7307Д і 7310Д предназначены для обробки методом строгания плоских в фасонных поверхностей изделий в условиях индивидуального і мелкосерийного производства.

Поперечно-строгальный верстат 7307Д і 7310Д предназначен для обробки строганием горизонтальных, вертикальних і наклонных плоских і фасонных линейчатых поверхностей і пазов различного профиля у деталей малых і средних размеров і среднего веса.

Конструкція поперечно-строгального верстата 7307Д

Примененная в верстатах гідропанель Г31-26 позволяет производить обработку деталей в упор з выходом в канавку стороной не менее 8 мм, что значительно расширяет технологические возможности верстатів в сферу их применения в производстве.

Верстати имеют механическую подачу стола і резцового суппорта в механізм автоматичного останова верстатів, которые при применении быстродействующих зажимных устройств обеспечивают возможность многостаночного обслуживания.

Верстат имеет гідравлическое перемещение ползуна і гідравлическую подачу стола на каждый двойной ход ползуна. Быстрое перемещение стола в горизонтальном і вертикальном направлениях осуществляется отдельным електродвигуном малой мощности. Кроме механического переміщення стола в горизонтальном і вертикальном направлениях, возможно перемещение стола вручную.

Изменение направления руху ползуна производится переключением золотника керування гідропанелі упорами, установленными на ползуне. Этими же упорами регулируется требуемая величина ходу ползуна.

Скорость руху ползуна по всей длине ходу постоянная. Верстат имеет ступенчато-дроссельное регулювання скорости. Рабочая скорость под нагрузкой изменяется в диапазоне от 3 до 48 м/мин при частоте тока в сети 50 Гц. Регулювання скорости осуществляется двумя рукоятками. Одна из них устанавливает четыре ступени скорости, другая производит плавное регулювання скорости в пределах каждой ступени. Величина подачі регулируется маховичком при обратном ходе ползуна (при движении і остановке), отсчет величины подачі производится по лимбу.

Вертикальная подача резца осуществляется переміщенням верхних салазок суппорта. Ручное перемещение салазок суппорта осуществляется рукояткой з отсчетом величины переміщення по линейке.

Керування верстатом осуществляется з кнопочной станції і рукоятками (См. рис. 3). Положение рукояток в зависимости от режима роботи определяется соответствующими табличками. Керування рухуми стола производится одной рукояткой со встроенной в нее кнопкой быстрых перемещений. Направления переключений рукоятки совпадают з направлениями перемещений стола.

Верстат обеспечивает стабильность останова резца в переднем положении при строгании на одной ступени скорости в пределах 3..5 мм.

Смазка направляючих ползуна і станины осуществляется автоматически от гідросистемы верстата.

Принцип роботи строгального верстата 7307Д

Обрабатываемую деталь закрепляют на столе верстата, который устанавливают в требуемое положение по высоте в зависимости от размера обрабатываемой заготовки.

Резец устанавливают і закрепляют в резцедержателе суппорта.

Ползуну з суппортом сообщается возвратно-поступательное движение, причем при ходе его вперед происходит снятие стружки з обрабатываемой детали (рабочий ход); при ходе назад з підвищеної скоростью (холостой ход) снятие стружки не производится.

Во избежание повреждения режущей кромки резца і обработанной поверхности різець вместе з откидной доской несколько приподнимается вверх.

Периодическая подача стола з деталью осуществляется в кінці холостого ходу ползуна.

При обработке вертикальних і наклонно расположенных поверхностей, а также при строгании пазов различных профилей подача сообщается не столу, а суппорту, который може быть повернут на соответствующий угол относительно головки ползуна. В етом случае поворотная доска смещается в сторону для обеспечения відведення резца от обработанной поверхности при обратном холостом ходе ползуна.

Налаштування верстата в соответствии з конфигурацией і размерами обрабатываемой детали производится переміщенням стола в поперечном і вертикальном направлениях і переміщенням суппорта.

Налаштування на требуемую длину ходу і место ходу ползуна достигается соответствующей установкой упоров, расположенных на ползуне.

Стол верстата имеет механическую подачу в горизонтальном і вертикальном направлениях.




Конструктивные особливості верстата 7307Д

Верстат моделі 7307Д оснащен гідроприводом для осуществления возвратно-поступательного руху ползуна (руху різання).


7307Д Схема гідравлічного приводу строгального верстата

Схема гідравлічного приводу строгального верстата 7307Д


Гідрофицированные верстати имеют большое преимущество перед верстатами з кулисным механізмом.

У верстатів з кулисным механізмом скорость ползуна изменяется от нуля до максимальной її величины на первой половине пути ползуна і з половины пути падает от максимальной до нуля, а коробка швидкостей имеет ступени чисел двойных ходов з большими перепадами.

У гідрофицированных верстатів скорость руху ползуна на всей длине ходу постоянна, а число двойных ходов регулируется бесступенчато, что позволяет выбирать оптимальные (наилучшие) режими різання.

Коеффициент полезного дії гідрофицированного верстата также выше, чем у верстата з кулисным механізмом.

Длина ходу ползуна у гідрофицированных верстатів може быть значительно увеличена за счет отсутствия кулисы.

Поступательное рух осуществляется гідравлическим приводом, состоящим из резервуара 1 (рис. 72) з жидкостью, фильтра 2, трубопровода 3, насоса 5 з електродвигуном 4, регулятора (дросселя) 6, дозирующего поступающую от насоса жидкость, і распределительного пристроя 7. для реверсирования руху ползуна при помощи поршня 8, находящегося в гідроцилиндре ползуна.

Електродвигун приводит в рух насос, накачивающий жидкость в гідроцилиндр, которая давит на поршень і перемещает его, перемещается і скрепленный з поршнем ползун. Поршень двигается в одном направлении до тех пор, пока установленные на ползуне кулачки не переключат через золотниковое пристрій поток жидкости, направив его по трубопроводу з другой стороны поршня. При изменении направления руху жидкость, заполнившая цилиндр до переключения, сливается в резервуар, в дальнейшем цикл повторяется.

Рабочими жидкостями є минеральные масла.


Модели поперечно-строгальных верстатів з кулисным приводом ползуна: 7311, 733, 7Б35, 7А35, 736.

Гідрофицированные поперечно-строгальные верстати моделей 7М36, 7307Д, 7М37 і др.





Габаритные розміри робочого простору поперечно-строгального верстата 7307Д

Габаритные розміри робочого простору поперечно-строгального верстата 7307Д

Габаритные розміри робочого простору верстата 7307Д


Посадочные і присоединительные базы поперечно-строгального верстата 7307Д

Суппорт поперечно-строгального верстата 7307Д

Суппорт поперечно-строгального верстата 7307д


Рабочий стол поперечно-строгального верстата 7307Д

Рабочий стол поперечно-строгального верстата 7307д



Загальний вигляд поперечно-строгального верстата 7307Д

Загальний вигляд поперечно-строгального верстата 7307Д

Загальний вигляд поперечно-строгального верстата 7307д

Загальний вигляд поперечно-строгального верстата 7307Д. Дивитись у збільшеному масштабі



Перемещение ползуна і подача стола на каждый двойной ход ползуна осуществляются гідравлически. Быстрое перемещение стола в горизонтальном і вертикальном направлениях осуществляется отдельным електродвигуном малой мощности.

Изменение ходу і направления руху ползуна происходит за счет переключения золотника керування гідропанелі упорами 1.

Скорость руху ползуна по всей длине ходу постоянная. Верстат имеет ступенчато-дроссельное регулювання скорости.

Скорость регулируется двумя рукоятками. Рукоятка 2 устанавливает четыре ступени скорости.

Рукоятка 3 производит плавное регулювання скорости в пределах каждой ступени. Величина подачі стола регулируется маховичком 4. Отсчет величины подачі производится по лимбу 5.

Вертикальная подача резца осуществляется переміщенням верхних салазок суппорта. Ручное перемещение салазок суппорта производят рукояткой 6 з отсчетом величины переміщення по линейке 7.

Керування рухуми стола производится одной рукояткой 8 со встроенной в нее кнопкой быстрых перемещений 9. Направления переключений рукоятки совпадают з направлениями перемещений стола. Смазка направляючих ползуна і станины осуществляется автоматически от гідросистемы верстата.

фото поперечно-строгального верстата 7307Д

Фото поперечно-строгального верстата 7307д

Фото поперечно-строгального верстата 7307Д. Дивитись у збільшеному масштабі



фото поперечно-строгального верстата 7307Д

Фото поперечно-строгального верстата 7307д

Фото поперечно-строгального верстата 7307Д. Дивитись у збільшеному масштабі



фото поперечно-строгального верстата 7307Д

Фото поперечно-строгального верстата 7307д

Фото поперечно-строгального верстата 7307Д. Дивитись у збільшеному масштабі



фото поперечно-строгального верстата 7307Д

Фото поперечно-строгального верстата 7307д

Фото поперечно-строгального верстата 7307Д. Дивитись у збільшеному масштабі



7307Д Розташування складових частин поперечно-строгального верстата

16Б05А Розташування складових частин поперечно-строгального верстата

Розташування основних вузлів поперечно-строгального верстата 7307д

Розташування складових частин поперечно-строгального верстата 7307Д. Дивитись у збільшеному масштабі



Основні вузли верстата





Розташування органів керування поперечно-строгальным верстатом 7307Д

Розташування органів керування поперечно-строгальным верстатом 7307Д

Розташування органів керування верстатом 7307д

Розташування органів керування поперечно-строгальным верстатом 7307Д. Дивитись у збільшеному масштабі



Список графических символів поперечно-строгального верстата 7307Д

Список графических символів верстата 7307д

Список графических символів поперечно-строгального верстата 7307Д. Дивитись у збільшеному масштабі






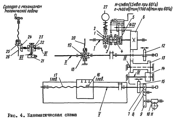
Кінематична схема поперечно-строгального верстата 7307Д

7307Д Схема кінематична строгального верстата

Кінематична схема поперечно-строгального верстата 7307д

1. Схема кінематична строгального верстата 7307Д. Дивитись у збільшеному масштабі

2. Схема розположення підшибників строгального верстата 7307Д. Дивитись у збільшеному масштабі



Движения в станке

  1. Рух різання — прямолинейное возвратно-поступательное рух ползуна з суппортом і резцом.
  2. Движения подач — прерывистое прямолинейное поступательное перемещение стола з обрабатываемой деталью в поперечном і вертикальном направлениях і прерывистое прямолинейное поступательное перемещение суппорта з резцом в вертикальном направлении. Вспомогательные руху — механизированные быстрые і ручні установочные переміщення стола в поперечном і вертикальном направлениях і ручні переміщення суппорта.

Порядок передачи обертання от електродвигуна быстрых перемещений стола і цилиндра подач до исполнительных органів хорошо виден из кінематичної схеми (рис. 4).

Короткий опис подач стола по кинематическим цепям изложено в описании вузла "Коробка подач" (рис. 6). В табл. 4 указан перечень к кінематичної схеме.


Опис основних вузлів верстата

Станина

Станина (рис. 5) верстата представляет собой корпус коробчатой формы, укрепленный на фундаментной плите. Нижня часть станины служит резервуаром для масла гідросистемы я разделена ребром на два отсека.

К задньої стенке станины крепится фланец I, в котором помещена муфта 2, соединяющая гідронасос з фланцевым електродвигуном (сдвоенный гідронасос помещается внутри станины і крепится на гвинтах к фланцу).

На верхней частини станины имеются прямоугольные направляющие, по которым перемещается ползун, приводимый в рух гідравлическим цилиндром, расположенным на платиках между направляющими.

На передньої стенке станины имеются вертикальные направляющие для переміщення траверсы со столом. К правой боковой стенке станины крепится при помощи рамки 13 гідропанель Г31-26.

Рамка 13 закрывается крышкой 14, на внешней поверхности которой расположены рукоятки керування гідропанелью Г31-26.

На рамке 13 смонтированы две планки 7 і 9, воздействующие на конечные выключатели 8 і 10.

Нижня планка 9 связана з рукояткой 3 пуска і останова ползуна. Увімкнення головного електродвигуна возможно только в том случае, когда рукоятка 3 находится в положении "Стоп".

Верхня планка 7, соединенная з реечным механізмом 18 гідропанелі, во время обратного ходу ползуна включает через конечный выключатель 8 електромагнит подъема і откидки резца. Реечный механізм 18 гідропанелі имеет привід от упоров не ползуне через рейки 6 і 5, вал реверса 12 і крестовую муфту 15 гідропанелі.

В левой стенке станины имеется окно для монтажа трубопровода і налагодження гідросистемы, которое закрывается крышкой 17. На переднем торце горизонтальных направляючих станины установлены маслосборники II, предназначенные для съема масла з направляючих ползуна.

На левой стенке станины смонтирован приемный фильтр 16 для заливки масла в гідросистему верстата.

Коробка подач

Коробка подач (рис. 6) предназначена для осуществления поперечных подач стола на каждый двойной ход ползуна і быстрых перемещений стола в горизонтальном і вертикальном направлениях.

При переключении ползуна на рабочий ход масло от насоса через гідропанель і золотник подачі поступает в цилиндр коробки подач і перемещает поршень. Рейка, соединенная со штоком, вращает зубчатое колесо 5 (см. рис. 4), от которого через храповый механізм, зубчасті колеса 6, 13 в 15 рух передається на винт поперечної подачі или при необходимости через зубчасті колеса 6, 13 і 12 і червячную пару 18 і 19 на винт вертикального переміщення стола 20.

Быстрое перемещение стола в горизонтальном і вертикальном направлениях осуществляется електродвигуном. От електродвигуна рух через предохранительную фрикционную муфту і червячную пару 1 і 2 (см. рис. 4) передається на корпус второй храповой муфты і далее по той же ланцюги, что і при поперечної подаче.

Изменение направления подачі происходит переключением зубчатых колес 12 і 15, расположенных на валах II і V. Переключення осуществляется одной рукояткой 14 (см. рис. 6), направления перемещений которой совпадают з направлениями перемещений стола. В ету же рукоятку встроены выключатель 12 і связанная з ним кнопка 13 для увімкнення быстрых перемещений стола. При перемещении рукоятки 14 в горизонтальной плоскости перемещается зубчатое колесо 15 (см. рис. 4) на валу V - горизонтальное перемещение. При перемещении рукоятки 14 (см. рис. 6) в вертикальной плоскости перемещается зубчатое колесо 12 (см. рис. 4) на валу II - вертикальное перемещение.

Фиксация положений рукоятки при горизонтальных переміщеннях стола осуществляется шариком 15 (см. рис. 6), а при вертикальних переміщеннях стола - шариком 16.

Регулювання величины подачі производится за счет изменения величины ходу поршня при помощи маховичка 3 і пары винт-гайка 5, 6. Причем гайка является упором. Гайка 6 связана з гідравлическим дросселем оригинальной конструкції через регулируемый упор. Таким образом, одновременно при регулировке величины подачі за счет изменения ходу поршня соответственно дросселируется количество масла, выходящее из штоковой полости цилиндра подач, что обеспечивает стабильность подач. Отсчет величины установленной подачі осуществляется при помощи лимба 4, закрепленного на одной оси з маховичком 3. Положение маховичка фиксирует винт 2.

В верхнюю крышку коробки подач вмонтирован спеціальний механізм налаштування стола на необходимую ширину строгания, который автоматически останавливает верстат в кінці обробки. Механізм состоит из лимба 7, имеющего две шкалы для налаштування горизонтальных перемещений стола в одну в другую стороны, указателя 8, приводу выключателя I і микропереключателя. Выключатель связан з винтом горизонтальных перемещений стола жесткой кінематичної ланцюгю. Налаштування на необходимую ширину строгания производится установкой указателя 8 против соответствующего деления шкалы і закреплением его гайкой 9.

При вращении указатель доходит до отметки "0" і нажимает на микропереключатель, который останавливает електродвигатель головного руху верстата.

Данный механізм обеспечивает остановку стола при крайних положениях его на траверсе независимо от того, включен или отключен механізм налаштування стола на ширину строгания. Это обеспечивается воздействием внутреннего выключателя 10 на микропереключатель.

В коробке подач установлена предохранительная фрикционная муфта, отключающая ланцюг быстрых перемещений стола от електродвигуна при перегрузках или упоре стола в крайние положения. Регулювання муфты производится гайкой 18.




Ползун

Ползун I (рис. 7) представляет собой чугунную полую отливку з прямоугольными направляющими. Внутри ползун усилен ребрами жесткости і имеет поперечную перегородку з отверстием для крепления штока гідроцилиндра. На переднем торце ползуна имеется отверстие для центрирования суппорта. На правой стороне расположены упоры реверса ползуна 2 і 3, которые могут переустанавливаться в Т-образном пазу, в зависимости от требуемой длины строгания.

Расстояние между рисками на упорах определяет длину ходу ползуна і отсчитывается по линейке 4.

К платику на правой стороне ползуна крепится механізм для механической подачі суппорта. К левой стороне ползуна крепится троллея токосъемника.

Гідроцилиндр

Гідравлический цилиндр (рис. 8) состоит из стальной трубы 5 з крышками 3 і 8 на концах. Внутри цилиндра помещается поршень 7 со штоком 6, конец которого закреплен в перегородке ползуна. Гідроцилиндр крепится к станине кронштейнами 9 і 10.

При подаче масла в бесштоковую полость гідроцилиндра происходит рабочий ход ползуна, а при подаче масла в птоковую полость происходит обратный (холостой) ход.

Во избежание просачивания масла между торцами цилиндра і крышками устанавливаются кольцевые прокладки 4. В передньої крышке имеются уплотнения 2, предохраняющие от просачивания масла по периферии штока.

Уплотнение зажимается фланцем I. В имеется резьбовое отверстие, в которое ввернуто кінцівое соединение з трубкой 11 для відведення утечек масла в станину.

Теплообменник (см. рис. 9) служит для охлаждения масла проточной водой і подключается при необходимости.

Теплообменник поставляется по особому заказу за отдельную плату.

Суппорт

Суппорт (рис. 10) состоит из поворотной частини 4, верхних салазок 3, откидной доски 10 і поворотной доски 6.

Внутри суппорта встроен електромагнит, предназначенный для подъема резцедержателя при обратном ходе ползуна.

Перемещение салазок суппорта производится от руки при помощи рукоятки I или механически.

Величина переміщення при работе вручную отсчитывается по лимбу 2 з ценой деления 0,05 мм. Величина механической подачі устанавливается кнопкой I механізма подачі суппорта (см. рис. 15). Строгание под углом осуществляется поворотом суппорта. Отсчет угла поворота производится по делениям, нанесенным на круглой поворотной частини 4 (см. рис. 10).

ВНИМАНИЕ! Во избежание поломки маслосборников при строгании под углом не допускается вход суппорта между направляющими станины.

Для возврата откидной доски 10 з резцедержателем 9 в походное положение предусмотрена пружина сжатия 8, сила сжатия которой регулируется винтом 7. При необходимости откидывать резцедержатель вручную, винт 7 вывинчивается.

Электромагнит

Электромагнит (рис. II) служит для відведення откидной доски з резцом во время обратного ходу ползуна.

Узел состоит ив корпуса I, якоря 2, катушки 3, сердечника 4 і подвижного штока 5 з величиной ходу 5 мм. Корпус ввернут в салазки суппорта і служат осью для поворотной доски.

При обратном ходе ползуна питание поступает на катушку, якорь со штоком передвигается в крайнее левое положение і своим упором отводит откидную доску з резцедержателем.

Токосъемник

Токосъемник (рис. 12) состоит из корпуса I з державкой 2, в которой крепится меднографитовая щетка 3, троллеи 4 і кожуха 5. Под действием пружины 6 щетка і троллея находятся в постоянном контакте, что обеспечивает питание електромагнита при движении ползуна. Увімкнення електромагнита происходит только при движении ползуна на обратном ходу конечным выключателем 8 (см. рис. 5), управляемым механізмом реверса ползуна.

Траверса

В узел траверсы (рис. 13) входят:

Вертикальное перемещение траверсы со столом може быть ручным і механическим. Закрепление траверсы на вертикальних направляючих станины производится зажимом вручную гайками I прижимных планок, находящихся в верхней частини направляючих.

Регулювання зазору вертикального переміщення осуществляется клином 10.

Горизонтальное перемещение плиты її столом по траверсе также може быть ручным і механическим. Захист горизонтальных направляючих производится скребками і войлочными прижимами II, а ванта горизонтального переміщення - щитком, установленным на траверсе. Зазор горизонтального переміщення регулируется клином 7.

С правой стороны к траверсе крепится коробка подач.

Подвод масла к цилиндру коробки подач производится через телескопическое пристрій 14. Трубы телескопического пристроя уплотняются манжетами 13.




Стол

Узел стола (рис. 14) состоит из робочого стола I, поддержки 2 і стружкосборника 3.

Рабочий стол имеет коробчатую форму з Т-образными пазами для крепления обрабатываемых деталей і тисков. Передня часть стола опирается на поддержку, в которой имеется винт 7 для точного подпора стола. Зажим поддержки производится гайками 6. К столу крепится стружкосборник 3, имеющий откидывающий щиток 4 і дно 5, которое з помощью ручек 8 откидывается і разгружает стружкосборник. При необходимости стружкосборник може быть легко снят со стола.

Механізм механической подачі суппорта

Механическая подача резцового суппорта осуществляется от упора, расположенного на прижимной планке правой направляющей станины.

При руху ползуна в обратном направлении в кінці ходу ролик 4 (рис. I5) накатывается на упор 4 (см. рис. 5), і через храповое колесо 6, винтовую зубчатую пару 22 і 23 (см. рис. 4) і коническую передачу 24 а 25 вращение передається ходовому винту суппорта 26.

Увімкнення і вимкнення механической подачі суппорта осуществляется поворотом кнопки 7 (см.рис. 15), закрепленной на центральной оси механізма. Установка величины подачі производится поворотом кнопки I, установленной на винте 3. Изменение подач достигается переміщенням ограничительного упора 2, который изменяет угол поворота ролика.

Отсчет подачі производится по шкале.

Механізм обеспечивает механическую подачу суппорта только вниз.

Стопорение гвинта 3 от самопроизвольного изменения подач производится рукояткой.

В случае, когда механізм не используется, рекомендуется отвести упор 4 (см. рис. 5) на правой планке станины в крайнее положение (нерабочее).


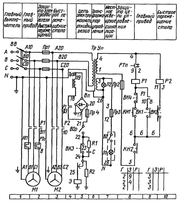
Електроустаткування поперечно-строгального верстата 7307Д

7307Д Схема Електричнастрогального верстата

Електрична схема поперечно-строгального верстата 7307Д

Схема Електричнастрогального верстата 7307Д. Дивитись у збільшеному масштабі



На станке установлены два трехфазных короткозамкнутых асинхронных електродвигуна (см. рис. 19).

Применяемое на станке електрообладнання питается напряжением 380 В, частотой тока 50 Гц, напряжение ланцюги керування - 110 В, ланцюги местного освещения - 24 В.

Примечание. Силовая ланцюг, ланцюг местного освещения, ланцюги керування могут быть выполнены на напряжение і частоту, требующиеся Заказчику.

В специальной нише станины установлены конечные выключатели ВК3 і ВК4.

Конечный выключатель ВК3 включает в переднем положении ползуна електромагнит откидки резца Э.

Конечный выключатель ВК4 дает возможность включить електродвигатель приводу гідронасосов Ml только при нахождении рукоятки I (см. рис. 3) в положении OCТAHOB ПОЛЗУНА.

Конечный выключатель ВК2, установленный в ручке керування коробки подач, служит для пуска електродвигуна швидкого переміщення стола М2.

Микропереключатель BК1, расположенный на крышке внутри коробки подач, служит для останова стола в крайних положениях і в кінці обробки при налаштуванні на ширину строгания. Освещение робочого места производятся светильником, установленным на траверсе стола.

В нише станины установлены кнопочная станція для пуска і останова головного приводу і сигнальная лампочка, показывающая включенное состояние вводного выключателя ВВ.

Шкаф керування размещен на задньої стенке станины.

Ввод питающих проводов выполнен знизу через отверстие диаметром 22 мм.

Ввод должен быть осуществлен проводом марки ПГВ сечением 4 мм2 черного цвета для линейных проводов і желто-зеленого цвета - для заземления.

На боковой стенке електрошафи установлены наступні органы керування:

Для осмотра і налагодження електроапаратури под напряжением необходимо механическую блокировку зафиксировать в нерабочем положении нажатием рукой на толкатель до упора, преодолевая сопротивление пружины, з поворотом на угол 90° в любом направлении.

ВНИМАНИЕ! После осмотра или налагодження електроапаратури блокировку необходимо включить, т.е. вернуть її толкатель в исходное положение, иначе дверка електрошафи не закроется.

Смену змазки підшибників електродвигателей при нормальных условиях роботи следует производить через 4000 часов роботи. При работе електродвигателей в пыльной і влажной среде смену змазки следует производить чаще, по мере необходимости.

Перед заполнением підшибників свежей смазкой підшипники должны быть тщательно промыты бензином. Полость заполняют смазкой на 2/3 її объема.

Рекомендуемые змазки підшибників приведены в табл. 5.

Первоначальный пуск верстата

При первоначальном пуске верстата необходимо прежде всего проверить надежность заземления і качество монтажа електроустаткування внешним осмотром. После осмотра на клеммных наборах в шкафу керування отключить провода живлення всех електродвигателей.

При помощи вводного автомата ЕВ Верстат подключить к цеховой сети.

Проверить действие блокирующего пристроя електрошафи.

При помощи кнопок і переключателей верстата проверить четкость срабатывания магнитных пускачів.

ВНИМАНИЕ! При подключении електродвигуна головного руху направление обертання ротора должно соответствовать направлению стрелки, нанесенной на его кожухе.




Опис роботи

Схема електрична принципова показана на рис. 16.

В табл. 6 указан перечень к схеме.

Перед началом роботи необходимо убедиться, что автомат не включен і механическая блокировка дверки електрошафи находится в исходном положении.

Перед пуском верстата рукоятка пуска і останова ползуна должна находиться в положении "Стоп", а указатель 8 (см. рис. 6) установки ширины строгания на коробке подач должен быть отжат (BK-I разомкнут; .

Пуск електродвигуна головного приводу M1 осуществляется нажатием кнопки КНОПОЧНОЙ станції КHI (6-7), которая замыкает ланцюг катушки магнитного пускателя РI, переводя его на самопитание.

Останов електродвигуна головного приводу Ml осуществляется нажатием кнопки кнопочной станції КН2 (5-6).

Керування електродвигуном швидкого переміщення стола М2 осуществляется нажатием толчковой кнопки, встроенной в рукоятку коробки подач і воздействующей на конечный выключатель ВК2 (6-II).

Микровыключатель BKI, ограничивая поперечное перемещение стола, выключает електродвигатель Ml.

Конечный выключатель ВК4 позволяет включать електродвигатель Ml только при положения рукоятки пуска і останова ползуна в положении "Стоп". Для роботи електромагнита отгадки резца Э включается переключатель ВОр. Напряжение подается на трансформатор ТрУп при включенном електродвигателе Ml.

Электромагнит Э питается пониженным напряжением 29 В постоянного тока от вторичной обмотки трансформатора ТрУп через селеновый выпрямитель Вп.

Захист електродвигателей головного приводу і швидкого переміщення, ланцюги живлення трансформаторов от коротких замыканий осуществляется автоматическим выключателем АК63-ЗМГ і предохранителями Пр1, Пр2, ПрЗ, Пр4.


Гідравлічна схема поперечно-строгального верстата 7307д

7307д Схема гідравлічна строгального верстата

Гідравлічна схема поперечно-строгального верстата 7307д

Схема гідравлічна строгального верстата 7307д. Дивитись у збільшеному масштабі



Настановне креслення поперечно-строгального верстата 7307Д

Настановне креслення поперечно-строгального верстата 7307Д

Настановне креслення поперечно-строгального верстата 7307Д

Настановне креслення поперечно-строгального верстата 7307Д. Дивитись у збільшеному масштабі







7307г Верстат поперечно-строгальный. Відеоролик.




Технічні характеристики поперечно-строгального верстата 7307Д

Наименование параметра 7Д36 7307д 7Д37 7310д
Основні параметри верстата
Класс точності верстата Н Н Н Н
Длина ходу ползуна, мм 150..710 150..710 150..1000 150..1000
Наибольшее сечение резца, мм 25 х 40 25 х 40 25 х 40 25 х 40
Наибольшее расстояние от опорной поверхности резца до станины (вылет), мм 820 825 1120 1120
Высота ползуна над рабочей поверхностью стола, мм 400 450 500 500
Стол
Розміри рабочей поверхности стола - верхней, мм 450 х 710 450 х 710 560 х 1000 560 х 1000
Розміри рабочей поверхности стола - правой, мм 500 х 710 500 х 710 500 х 1000 500 х 1000
Розміри рабочей поверхности стола - левой, мм 500 х 710 500 х 710 500 х 1000 500 х 1000
Наибольшее перемещение стола - горизонтальное, мм 700 710 800 800
Наибольшее перемещение стола - вертикальное, мм 320 345 320 420
Число горизонтальных подач стола
Пределы горизонтальных подач стола, мм/дв.ход 0,2..5,0 0,2..5,0 0,2..5,0 0,2..5,0
Быстрое, горизонтальное перемещение стола, м/мин 2,3 2,3 2,3 2,3
Быстрое вертикальное перемещение стола, м/мин 0,16 0,16 0,16 0,16
Цена деления лимба горизонтального переміщення, мм 0,1 0,1 0,1 0,1
Перемещение стола горизонтальное на один оборот рукоятки, мм 8 8 8 8
Цена деления лимба вертикального переміщення, мм 0,05 0,05 0,05 0,05
Перемещение стола вертикальное на один оборот рукоятки, мм 0,55 0,55 0,55 0,55
Ползун. Суппорт
Наибольшее вертикальное перемещение салазок суппорта (головки резца) от руки, мм 200 200 200 200
Цена деления лимба, мм 0,05 0,05 0,05 0,05
Перемещение салазок суппорта (головки резца) на один оборот рукоятки, мм 5 5 5 5
Розміри окна резцедержателя, мм 32 х 55 32 х 55 32 х 55 32 х 55
Наибольший угол поворота резцовой головки до входа в станину, град ±60° ±60° ±60° ±60°
Наибольший угол поворота доски резцедержателя, град ±15° ±15° ±15° ±15°
Наибольшее допустимое усилие різання, кН (тс) 28 (2,8) 28 (2,8) 28 (2,8) 28 (2,8)
Скорость ползуна под нагрузкой, м/мин 3..48 3..48 3..48 3..48
Скорость ползуна во время обратного ходу, м/мин 16..48 16..48 16..48 16..48
Подачи суппорта, мм/дв.ход 0,15..1,05 0,15..1,05 0,15..1,05 0,15..1,05
Механическая подача резцовой головки вниз есть есть есть есть
Подъем резцовой головки при обратном ходе есть есть есть есть
Електроустаткування. Привод
Количество електродвигателей на станке 2 2 2 2
Електродвигун головного руху, кВт (об/мин) 7,5 (970) 7,5 (970) 10 (970) 10 (970)
Електродвигун быстрых перемещений стола, кВт (об/мин) 1,1 (1400) 1,1 (1400) 1,1 (1400) 1,1 (1400)
Габарити і масса верстата
Габарити верстата (длина ширина высота), мм 2850 х 1680 х 1840 2850 х 1645 х 1890 3700 х 1850 х 1980 3700 х 1835 х 1920
Масса верстата, кг 3400 3400 4500 4400

    Список литературы:

  1. Верстати поперечно-строгальные з гідравлическим приводом 7307Д, 7310Д. Руководство по експлуатации 7307Д.00.000 РЭ, 7307Д.00.000 РЭ, 1982

  2. Копылов Р.Б. Работа на строгальных і долбежных верстатах, 1975
  3. Петруха П.Г. Резание конструкционных материалов, режущие инструменты і верстати, 1974
  4. Яковцев А.Д. Работа на строгальных і долбёжных верстатах, 1966