metalinstryment.com
Довідник по металорізальних верстатів та пресовому обладнанні

7405 долбежный верстат з гідравлическим приводом
опис, характеристики, схеми

Фото долбежного верстата 7405







Відомості про виробника долбежного верстата 7405

Разработчиком і изготовителем долбежного верстата 7405 является Гомельский станкостроительный завод им. С. М. Кирова СтанкоГомель, основанный в 1885 году.





Верстати, выпускаемые предприятием Гомельский станкостроительный завод им. С. М. Кирова, СтанкоГомель


7405 долбежный верстат з гідравлическим приводом. Назначение і область применения

Долбежный верстат 7405 редназначен для наружного і внутреннего долбления плоских і фасонных поверхностей, вырезов і канавок, а также для долбления з поднутрением до 10° в условиях индивидуального і мелкосерийного производства.

Верстат 7405 предназначен для обробки наружных поверхностей изделий по высоте до 500 мм і обробки внутренних поверхностен изделий по высоте до 250 мм. Верстат пригоден для роботи в индивидуальном і мелкосерийном производстве, а также в ремонтных мастерских.

Гідрокінематична схема верстата 7405 позволяет производить обработку заготовок з выходом резца «в упор», при етом величина перебега резца при выходе из заготовки составляет 8 мм во всем диапазоне рабочих швидкостей і 5 мм в пределах одной ступени скорости.

Привід переміщення долбяка і привід подачі стола на каждый двойной ход долбяка гідравлические.

Верстат 7405 имеет ступенчато-дроссельное регулювання швидкостей долбяка.

Для снижения вибраций і повышения качества обрабатываемой поверхности заготовок в гідросхеме верстата предусмотрен механізм автоматичного изменения скорости різання через каждый двойной ход долбяка.

Салазки долбяка шарнирно закреплены в щеках верхней станины і могут быть повернуты вместе з долбяком в вертикальной плоскости на угол до 10° в продольном направлении от станины.

Стол верстата имеет три вида перемещений: продольное, поперечное і круговое. Быстрое установочное перемещение стола в указанных направлениях осуществляется от отдельного електродвигуна. Стол може также перемещаться вручную: в продольном і поперечном направлении маховиками, в круговом — рукояткой делительного механізма.

В коробке передач имеется делительный механізм поворота стола, позволяющий делить заготовку на заданное число частин.

В коробке подачі верстата имеется механізм, позволяющий настраивать верстат на определенную длину обробки детали і автоматически выключать верстат.

Конструкція верстата обеспечивает автоматический отвод резца от заготовки на обратном ходу долбяка.

Подвесная кнопочная станція осуществляет дистанционное керування верстатом — сигнализацию наличия напряжения, пуск і зупинка електродвигуна головного руху, електродвигуна быстрых перемещений стола, а также пуск і зупинка долбяка.

Верстат 7405 имеет централизованную систему змазки, которая осуществляется трехплунжерным насосом.

Конструкція верстата допускает многостаночное обслуговування.

Верстати 7405 по заказу потребителей могут оснащаться узлом фиксации стола з делением окружности на 4, 6, 8 і 12 равных частин і теплообменником для охлаждения рабочей жидкости гідросистемы.

Транспортирование і хранение верстата, приладдя і запасных частин должно производиться з временной противокоррозионной защитой по ГОСТ 9.014—78 для II группы изделий.

Категория условий хранения і транспортирования — «С» при поставке верстатів в районы з умеренным или холодным климатом і «ОЖ» при поставке верстатів в районы з тропическим климатом і мМоскваих перевозках.

Разработчик — Гомельский станкостроительный завод имени С. М. Кирова.

Класс точності верстатів Н по ГОСТ 8—77.


Технічні характеристики долбежного верстата з гідравлическим приводом 7405 (7403)

Изготовитель Гомельский станкостроительный завод, СтанкоГомель.

Основні параметри верстата в соответствии з ГОСТ 1141-74.





7405 Посадочные і присоединительные базы долбежного верстата

Посадочные і присоединительные базы долбежного верстата 7405

Посадочные і присоединительные базы долбежного верстата 7405


7405 Загальний вигляд долбежного верстата

Загальний вигляд  і органы керування долбежного верстата 7405

Фото долбежного верстата 7405


Фото долбежного верстата 7405

Фото долбежного верстата 7405

Фото долбежного верстата 7405. Дивитись у збільшеному масштабі



Фото долбежного верстата 7405

Фото долбежного верстата 7405

Фото долбежного верстата 7405. Дивитись у збільшеному масштабі



Загальний вигляд  і органы керування долбежного верстата 7405

Фото долбежного верстата 7405



Фото долбежного верстата 7405

Фото долбежного верстата 7405

Фото долбежного верстата 7405. Дивитись у збільшеному масштабі



Фото долбежного верстата 7405

Фото долбежного верстата 7405

Фото долбежного верстата 7405. Дивитись у збільшеному масштабі



Фото долбежного верстата 7405

Фото долбежного верстата 7405

Фото долбежного верстата 7405. Дивитись у збільшеному масштабі



Фото долбежного верстата 7405

Фото долбежного верстата 7405

Фото долбежного верстата 7405. Дивитись у збільшеному масштабі



Фото долбежного верстата 7405

Фото долбежного верстата 7405

Фото долбежного верстата 7405. Дивитись у збільшеному масштабі



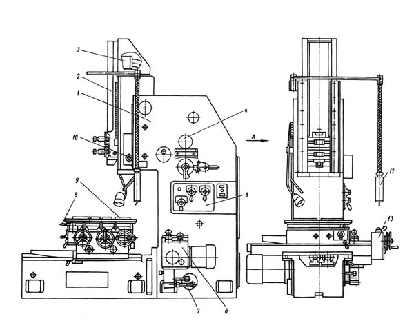
7405 Розташування складових частин долбежного верстата

7405 Розташування складових частин долбежного верстата

Розташування складових частин долбежного верстата 7405


7405 Розташування складових частин долбежного верстата

Розташування складових частин долбежного верстата 7405


Специфікація складових частин долбежного верстата 7403; 7405

  1. Станина - 7403.10.000; 7405.10.000
  2. Долбяк - 7403.20.000; 7405.20.000
  3. Гідроцилиндр - 142-100x70x630; 142-100x70x800
  4. Механізм торможения долбяка - 7403.71.000; 7403.71.000
  5. Керування - 7403.72.000; 7405.72.000
  6. Коробка подач - 7403.32.000; 7405.32.000
  7. Трубопровод - 7403.82.000; 7405.82.000
  8. Фиксирующее пристрій стола - 7Д430.43.000; 7Д450.43.000
  9. Стол - 7403.40.000; 7405.40.000
  10. Насос (трехплунжерный) - 7403.22.000; 7403.22.000
  11. Пульт керування - 7Д430.61.000; 7Д450.61.000
  12. Коробка передач - 7403.41.000; 7403.41.000
  13. Охлаждение - 7403.50.000; 7405.50.000
  14. Теплообменник - 7Д430.84.000; 7Д430.84.000
  15. Електроустаткування - 7403.60.000; 7405.60.000
  16. Комплект инструмента і приладдя - 7403.90.000; 7405.90.000
  17. Різцетримка - 7403.11.000; 7403.11.000-01
  18. Отсчетное пристрій - 7403.42.000; 7403.42.000




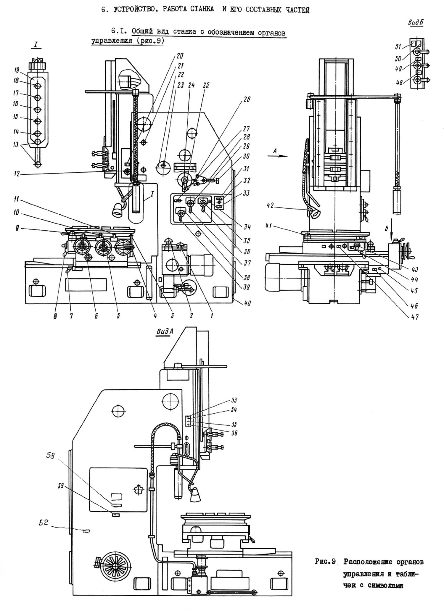
7405 Розташування органів керування долбежным верстатом

Розташування органів керування долбежным верстатом 7405

Розташування органів керування долбежным верстатом 7405

Розташування органів керування долбежным верстатом 7405. Дивитись у збільшеному масштабі



Список органів керування долбежным верстатом 7405





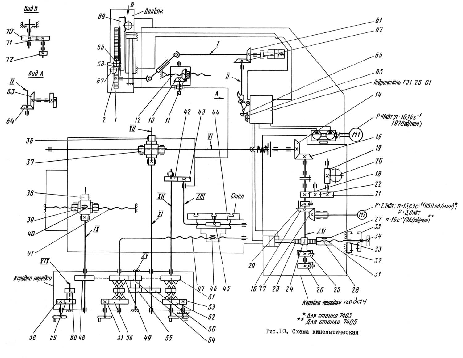
7405 Кінематична схема долбежного верстата

7405 Схема кінематична долбежного верстата

Кінематична схема долбежного верстата 7405

Схема кінематична долбежного верстата 7405. Дивитись у збільшеному масштабі



Короткий опис конструкції і роботи верстата 7405

Привід переміщення долбяка і привід подачі стола на каждый двойной ход долбяка-гідравлические.

Верстат имеет ступенчато-дроссельное регулювання швидкостей долбяка.

Регулювання скорости долбяка осуществляется двумя рукоятками, размещенными на крышке гідропанелі керування.

Одна из них устанавливает четыре ступени скорости долбяка, другая производит плавное регулювання рабочей скорости долбяка в пределах ступени.

Изменение направления руху долбяка происходит при переключении золотників гідропанелі керування двумя упорами, расположенными на диске вузла керування верстатом.

Перестановкой етих упоров регулируется длина ходу долбяка і его положение относительно обрабатываемой заготовки.

Скорость різання на всей длине ходу долбяка постоянная.

Салазки долбяка шарнирно закреплены в щеках верхней станины і могут быть повернуты вместе з долбяком в вертикальной плоскости на угол до 10° в продольном направлении от станины.

Стол верстата имеет три вида перемещений: продольное, поперечное і круговое.

Быстрое установочное перемещение стола в указанных направлениях осуществляется от отдельного електродвигуна.

Стол може также перемещаться вручную в продольном і поперечном направлениях маховиками, в круговом - рукояткой делительного механізма.

В коробке передач имеется делительный механізм поворота стола, позволяющий делить заготовку на заданное число частин в соответствии з табл.15.

В коробке подачі верстата имеется механізм, позволяющий настраивать верстат на определенную длину обробки детали і автоматически выключающий верстат в кінці обробки. Конструкція верстата обеспечивает автоматический отвод резца от заготовки на обратном ходу долбяка.

Подвесная кнопочная станція обеспечивает дистанционное керування верстатом - пуск і зупинка електродвигуна головного руху, електродвигуна быстрых перемещений стола, електронасоса системы охлаждения, а также пуск і зупинка долбяка і налаштування в наладочном режиме.

Смазка направляючих долбяка і возврат утечек масла в резервуар осуществляется трехплунжерным насосом в салазке долбяка, имеющим механический привід от ексцентрика на валу керування і ручной привід от рукоятки.

Возврат утечек масла из маслосборников долбяка осуществляется плунжерным насосом в долбяке, имеющим привід от рейки фрікциону. Смазка направляючих стола централизованная от лубрикаторов з ручным приводом.


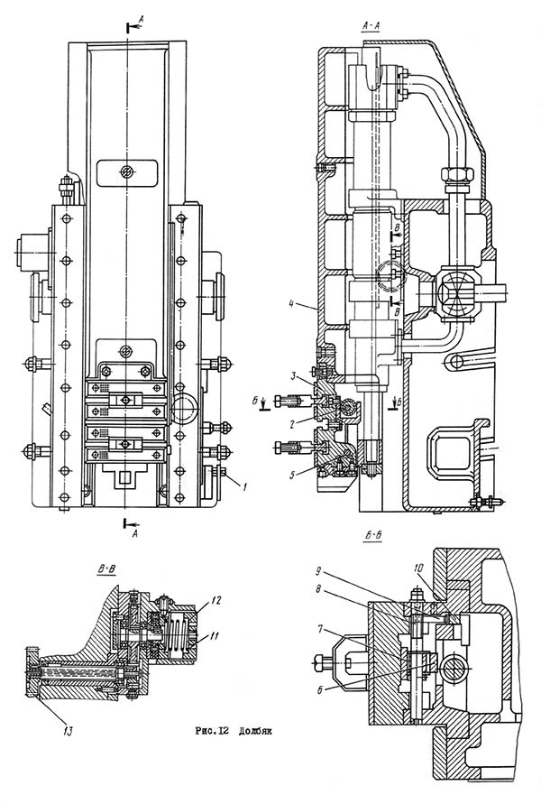
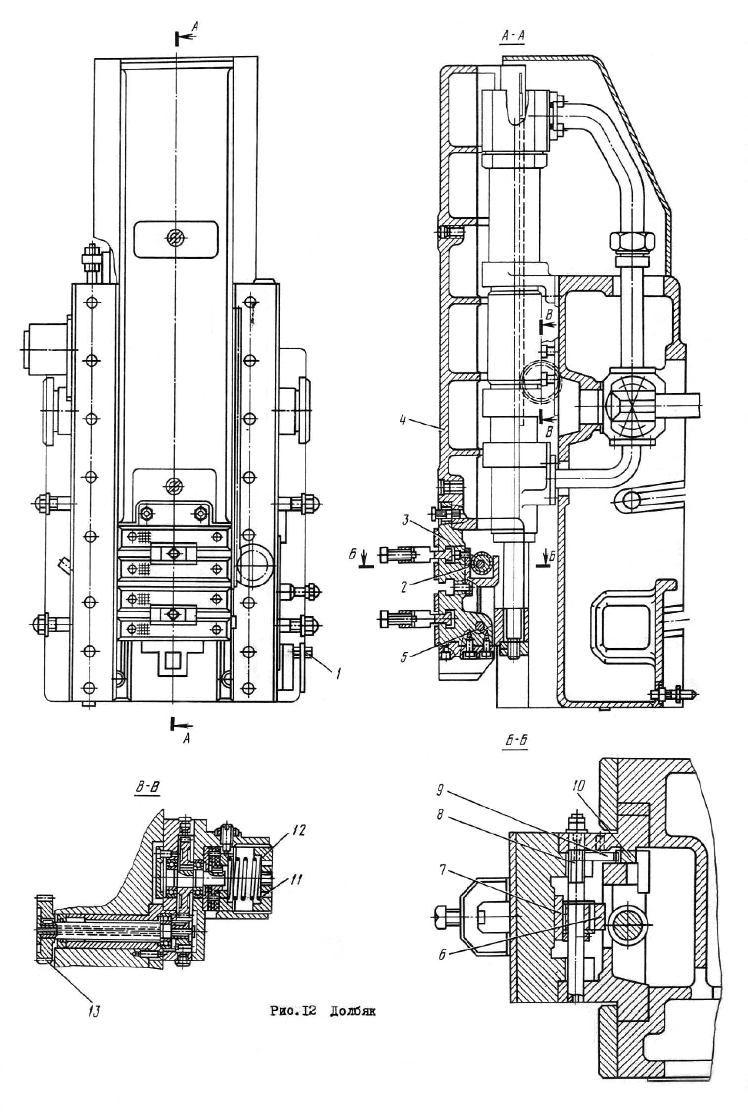
Долбяк

Долбяк долбежного верстата 7405

Долбяк долбежного верстата 7405

Долбяк долбежного верстата 7405. Дивитись у збільшеному масштабі



Долбяк 4 (рис. 12) представляет собой полую чугунную отливку, снабженную внутри ребрами жесткости. Долбяк имеет прямоугольные направляющие, которыми скользит по направляющим салазок долбяка. В нижней частини долбяка шарнирно закреплена откидная доска 3 з резцедержателями. Внутри долбяка смонтирован механізм автоматичною откидки резца при обратном ходе долбяка.

Механізм автоматичною откидки резца при обратном ходе долбяка состоит из кронштейна 2, прикрепленного к отменой доске 3, игольчатого підшипника 7, ексцентрика 6, нерухомо насаженного на зал-шестерню 8, рейки 10, нижний конец которой соединен з валом-шестерней через консольно расположенную паразитную шестерню 9. Верхний конец рейки находится в постоянном зацеплении з зубчатым колесом 13 тормозного пристроя, расположенного в салазках долбяка. Рейка 10 расположена в пазу долбяка і закреплена так, что имеет возможность перемещаться в пазу долбяка.

В начале обратного ходу долбяка рейка 10 удерживается от переміщення тормозным пристрійм, а долбяк перемещается; при етом ексцентрик начинает поворачиваться і тем самым поворачивает откидную доску з резцом на некоторый угол вокруг оси 5.

Долбяк, пройдя путь в пределах до 30 мм (в зависимости от установленной величины расстояния между заготовкой і режущей кромкой резца) начинает перемещаться вместе з рейкой, преодолевая сопротивление тормозного механізма і тем самым удерживает откидную доску з резцом в откинутом состоянии. В начале робочого ходу, за счет переміщення долбяка относительно рейки, механізм откидки возвращает откидную доску о резцами в исходное положение.

Регулювання зусилля тормозного пристроя осуществляется пружиной 11 при помощи гайки 12.

Поворот долбяка з салазками на угол осуществляется механізмом через квадрат I.





Гідроцилиндр

Гідроцилиндр долбежного верстата 7405

Гідроцилиндр долбежного верстата 7405

Гідроцилиндр долбежного верстата 7405. Дивитись у збільшеному масштабі



Для осуществления возвратно-поступательного переміщення долбяка в станке применен нормализованный гідроцилиндр, который крепится к салазкам долбяка кронштейнами 3 і 4 (рис. 13), а его шток 2 соединен з долбяком.

Для предотобертання утечек масла между гильзой гідроцилиндра і крышками устанавливаются уплотнительные кольца 1. В передньої крышке имеется уплотнения штока 5 і дренажное отверстие для відведення утечек масла.

Уплотнение штока зажимается фланцем 6, в котором установлено уплотнение 7.

Установка гідроцилиндра в узле долбяка показана на рис. 12.


Насос трехплунжерный

Насос встроен в салазки долбяка і предназначен для подачі масла к точкам змазки вузла долбяка і для возврата утечек масла из маслосборников салазок долбяка в резервуар смазочной системы.

Насос состоит из корпуса 7 (рис. 14) в расточках которого размещены три плунжера 3, 6, 8. Он имеет ручной привід от рукоятки 2 і механический привід от ексцентрика 4 на валу керування.

Плунжеры 3, 6 осуществляют додачу масла к точкам сказка, плунжер 8 - возврат утечек масла из маслосборников салазок долбяка в резервуар смазочной системы.

Возврат плунжеров 3, 6 і 8 в исходное положение осуществляется пружинами 1 і 9.

При движении плунжеров от приводу происходит нагнетание масла; при возврате в исходное положение от пружин - всасывание.

Насос имеет три всасывающих клапана 10 і три нагнетательных клапана 5.


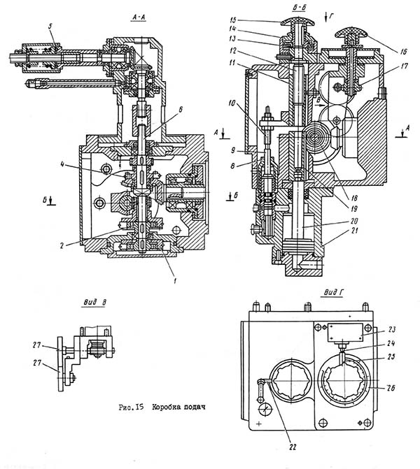
Коробка подач

Коробка подач долбежного верстата 7405

Коробка подач долбежного верстата 7405

Коробка подач долбежного верстата 7405. Дивитись у збільшеному масштабі



Коробка подач предназначена для осуществления продольных, поперечных і круговых подач стола на каждый двойной ход долбяка і для швидкого установочного переміщення стола в етих направлениях.

При реверсе долбяка о робочого ходу на обратный масло от насоса через управляющий золотник панелі поступает в гідроцилиндр 21 (рис.15)) коробки подач і перемещает поршень 20 вверх. Рейка 19, соединенная со штоком, вращает зубчатое колесо 18, от которого через храповой механізм 2 получает вращение вал 6, связанный через пару конических шестерен і предохранительное муфту 5 со столон.

Быстрое установочное перемещение стола во всех трех направлениях осуществляется от отдельного електродвигуна.

Налаштування величины додачи производится изменением величины ходу поршня 20 при помощи маховика 15, лимба 14, шестерни 13 і пары винт-гайка 11, 12, причем гайка 11 является упором, ограничивавшим ход поршня 20 при совершении подачі. Гайка II кинематически связана через толкатель 10 з гідродросселем подачі Э. Таким образом, одновременно з налаштуванням величины подачі изменением ходу поршня 20 гідроцилиндра подачі соответственно изменяется площадь проходного сечения гідродросселя 9, что обеспечивает стабильность роботи механізма коробки подач во всем диапазоне налаштування.

Отсчет величина установленной подачі осуществляется при помощи лимба 14, закрепленного на одной оси з маховиком 15. Положение маховика фиксируется винтом 22. На выходящем кінці вала коробки подач установлен храповой механізм I, который противодействует вращении вала в обратную сторону во время зарядка гідроцилиндра подачі.

Храповой механізм 4 служит для исключения влияния вращающейся массы ротора електродвигуна быстрых перемещений стола на стабильность роботи механізма подачі.

При включении електродвигуна храповой механізм 4 соединяет післядний з механізмом коробки подач, а при осуществлении подачі стола от гідроцилиндра автоматически отсоединяет електродвигатель от механізма коробки подачі.

В верхнюю крышку коробки подач вмонтирован механізм налаштування стола на заданную длину обробки заготовки з автоматическим остановом верстата в кінці обробки.

Механізм налаштування стола на заданную длину обробки состоит из лимба 26 имеющего две шкалы: одну для налаштування продольных і поперечных перемещений, другую - для круговых перемещений, червячной пары 17, цилиндрических шестерен 27.

Налаштування механізма на необходимую длину обробки производится установкой указателя 25 против соответствующего деления шкалы і закрепления его гайкой 16. При вращении указатель доходит до отметки "0" і нажимает на толкатель 24. микровыключателя 23, который отключает електродвигатель головного руху верстата.


Стол

Стол долбежного верстата 7405

Стол долбежного верстата 7405

Стол долбежного верстата 7405. Дивитись у збільшеному масштабі



Стол 4 (рис. 16) имеет форму диска з ребордой по периметру. Реборда предназначена для відведення охлаждающей жидкости і одновременно она служит для увеличения жесткости стола.

Стол вращается вокруг опори на роликоподшипнике 6. На рабочей поверхности стола предусмотрены центровое отверстие 5 і Т-образные пазы для установки і закрепления приспособления или обрабатываемой заготовки.

Верхние салазки 3 предназначены для переміщення стола в поперечном направлении, а нижние 2 -для переміщення стола з верхними салазками в продольном направлении.

Для выборки лифтов в направляючих верхних і нижних салазок предусмотрены клинья.

Выборка люфтов винтовой пары продольного переміщення стола производится гайками 8, а винтовой пары поперечного переміщення стола - гайками 9.

Фиксация стола осуществляется рукоятками 1 і 7.


Коробка передач

Коробка передач долбежного верстата 7405

Коробка передач долбежного верстата 7405

Коробка передач долбежного верстата 7405. Дивитись у збільшеному масштабі



Коробка передачи предназначена дли керування рухуми стола.

Изменение направления движений стола осуществляется рукояткой реверса 4 (рис.17).

Ручное перемещение стола в продольном направлении осуществляется маховиком 5, а круговое - рукояткой 7 делительного механізма.

Рукоятки 1, 2, 3 предназначены для переключения з механической подачі на ручную і обратно.


Механізм торможения долбяка

Механізм торможения долбяка состоит из корпуса гідроцилиндра 1 (рис.18), поршня 2, штока 3, зубчатых полумуфт 4 і 5, штифта 7 і пружины 8.

Зубчатая полумуфта 5 связана жесткой кінематичної ланцюгю з долбяком і при перемещении его вращается, а зубчатая полумуфта 4 жестко соединена со штоком 3 і удерживается от обертання штифтом 7.

При работе верстата поршень 2 под давлением масла в гідросистеме перемещается в крайнее правое положение, при етом зубчасті полумуфты разобщены. На корпусе гідроцилиндра установлен микропереключатель, осуществляющий контроль крайнего правого положения поршня, при котором зубчасті полумуфты разобщены. Увімкнення микропереключателя осуществляется толкателем 6, который жестко закреплен в полумуфте 4.

При остановке верстата давление в гідросистеме падает і пружина 8, перемещая поршень влево, вводит в зацепление зубчасті полумуфты і тем самим предотвращает самопроизвольное опускание долбяка под действием силы тяжести при выключении гідросистемы.

Рукоятка 4 служит для переключения четырех ступеней скорости долбяка, а рукоятка 2 для бесступінчастого изменения рабочей скорости долбяка в пределах ступени.

Рукоятка 3 предназначена для увімкнення механізма автоматичного изменения скорости різання гідропанелі керування Г31-26-01.

Дистанционное керування пуском і остановом гідроприводу верстата обеспечивается з подвесной кнопочной станції.

Величина ходу долбяка і его положение относительно обрабатываемой заготовки устанавливается по шкале диска 6 упорами 7 і 8, которые, воздействуя поочередно на ролики 9, поворачивают рычаг реверса долбяка 5 з рукояткой I. Рычаг реверса поворачиваясь, перемещает золотники керування гідропанелі. Рукояткой I можно производить реверс долбяка вручную независимо от налаштування упоров на величину ходу. Диск 6 з упорами 7 і 8 связан з долбяком жесткой кінематичної ланцюгю.





Трубопровод

Трубопровод (рис.20) соединяет между собой гідроцилиндр головного руху, гідроцилиндр коробки подачі, гідропанель керування, гідронасос і вспомогательную аппаратуру.

Монтаж гідропанелі керування производится через окно в правой стенке станины, монтаж трубопровода - через окно в левой стенке станины.

На рис. 20 показана разводка труб і расположение гідроапаратури внутри станины.

Места подвода труб к гідроаппаратам указана в табл. 6.

Внутри станины над окном для монтажа трубопровода размещены два реверсивных гідрораспределителя, управляющих включением гідропанелі керування і механізма торможения долбяка.

Контрольный манометр з золотником увімкнення расположен на кронштейне в проеме окна в левой стенке станины.

По требованию потребителя в сливном отсеке гідробака може устанавливаться теплообменник, который крепится на задньої крышке станины.


Фиксирующее пристрій стола

Фиксирующее пристрій стола (см. рис. 8, позиция 8) состоит из корпуса 1 (рис. 21), рейки -фиксатора 3, вала-шестерни 4, связанного з рукояткой 5, втулок 2, установленных в столе.

При повороте рукоятки 5 в крайнее левое положение рейка-фиксатор 3 выходит из сопряжения со втулкой 2 і освобождает стол, в етом положении рукоятка 5 стопорится.

Для увімкнення фиксации стола необходимо приподнять рукоятку 5 вверх і повернуть в крайнее правое положение, при етом втулка 2 стола должна точно находиться против рейки-фиксатора 3. Количество фиксирующих отверстий (4, 6, 8 і 12) оговаривается Заказчиком при заказе верстата.

ВНИМАНИЕ! Нельзя включать круговую подачу стола при включенном механізма фиксации во избежание поломки верстата.


7405 Гідравлічна схема долбежного верстата

7405 Схема гідравлічна долбежного верстата

Гідравлічна схема долбежного верстата 7405

Схема гідравлічна долбежного верстата 7405. Дивитись у збільшеному масштабі



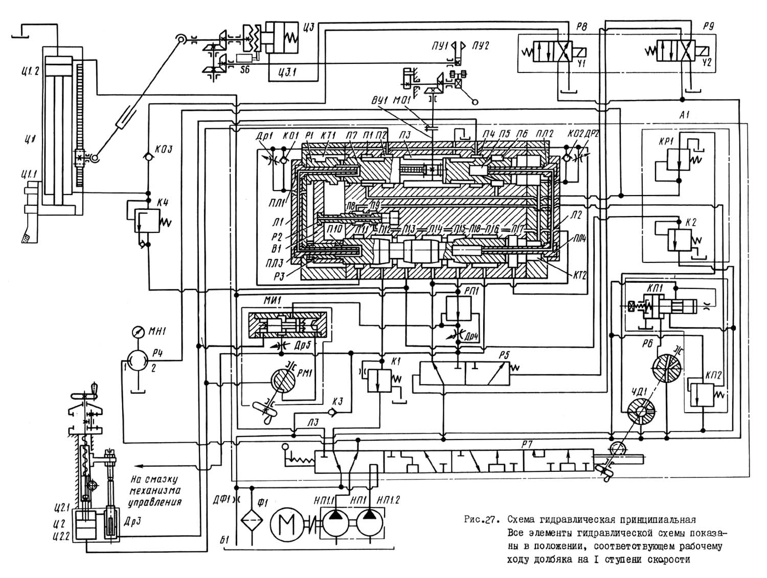
Схема гідравлічна принципова показана на рис. 27, перечень елементів гідросистемы верстата приведен в табл. 10.

Основным узлом гідросистемы верстата является гідропанель керування Г31-26-01.

Подробное опис конструкції, принципа роботи, обслуживания, сборки і разборки гідропанелі Г31-26-01 изложено в руководстве по її експлуатации, которое приложено к техдокументація верстата.

Короткий опис конструкції і роботи гідропанелі приводится ниже.


Короткий опис конструкції гідропанелі Г31-26-01

Гідропанель Г31-26-01 (рис. 28) предназначена для керування рабочими органами долбежных верстатів з гідравлическим приводом і специальных верстатів на її базе.

Перечни сборочных единиц, органів керування і присоединительных магистралей гідропанелі Г31-26-01 приведены в табл. 11, 12, 13.

Гідропанель Г31-26-01 обеспечивает следующий цикл роботи верстата:

Гідропанель Г31-26-01 представляет собой совокупность гідроаппарата і механізмов различных функциональных назначений, конструктивно объединенных в несколько блоков, которые смонтированы на общей подпанельной плите.

Соединение гідроаппаратов осуществляется как через внутренние каналы корпуса блока керування і подпанельной плиты, так і посредством труб.

Подпанельная плита служит также для крепления гідропанелі к верстату і подсоединения її к гідросистеме верстата.



Опис гідравлической схеми долбежного верстата 7405

Гідравлічна схема верстата (см. рис. 27) составлена до принципу комбинированного регулювання швидкостей.

Она обеспечивает следующий цикл роботи верстата:

Для упрощения схеми часть входящих в гідропанель аппаратов і соединяющие их канала показаны в виде общепринятых условных обозначений.

Гідроцилиндр ЦЗ вузла торможения долбяка і контрольный манометр верстата МН1 подключены к линии давления гідрораспределителя Р7.

Золотник Р4 обеспечивает постоянную разгрузку нанометра МН1 от давления і увімкнення его только в момент измерения давления в гідросистеме верстата.

На рис. 27 все елементы гідравлической схеми верстата показаны в положении, соответствующем рабочему ходу долбяка на 1 ступени скорости.


Работа гідроприводу верстата

Первая ступень скорости

В положении "I" рукоятки переключения швидкостей гідрораспределитель Р7 находится в крайнем правом положении, которое соответствует:

Поток масла от левой секции насоса НП1.1 з меньшей объемной подачей подводится через гідрораспределитель Р7 в систему, а поток от правой секции насоса НП1.2 направляется на слив, гідрораспределитель Р5 находится в положении "Работа", золотники P1 і Р3 - в крайнем левом положении. Масло под давлением подводится а центральную полость П14, полость П9 управляющего гідрораспределителя Р2, к предохранительному гідроклапану КП1, гідроклапану обратного ходу КП2, демпферу ЧД1 і гідрораспределителям Р6, Р8, Р9.

Через полость П15 масло подводится в поршневую подсеть гідроцилиндра долбяка Ц1.2, к регулятору потока РП1 і к механізму изменения скорости різання МИl.

В гідролинию штоковой полости гідроцилиндра долбяка до полости П13 реверсивного гідрораспределителя подключен гідроклапан реверса К2. Керування етим гідроклапаном осуществляется от штоковой полости гідроцилиндра долбяка. При разгоне і торможении долбяка перемещается реверсивный золотник Р3 з выполненными на нем конусами, при етом в штоковой полости гідроцилиндра долбяка Ц1.1 в момент прохождения конусов реверсивного золотника через соответствующие расточки в корпусе керування панелі поднимается давление, величина которого определяется налаштуванням гідроклапана реверса К2.

Поетому реверс долбяка осуществляется на сравнительно низком давлении. Этим достигается плавность реверса долбяка, а также сохраняется полное тяговое усилие до самого кінця обробки без падения рабочей скорости в кінці ходу долбяка. Из шоковой полости гідроцилиндра долбяка Ц1.1. через гідроклапан К4, полости П13 і П12 реверсивного гідрораспределителя, гідроклапан противодавления К1 і гідрораспределитель Р7 масло сливается в бак. Происходит рабочий ход долбяка со скоростью, определяемой величиной объемной подачі левой секции насоса НП1.1 і открытием гідродросселя ДР4 регулятора потока РП1, который осуществляет дросселирование "в ответвлении": Камера керування гідроклапана обратного ходу КП2 через полости П8 і П9 соединяется з давлением, поетому гідроклапан КП2 во время робочого ходу закрыт і наибольшее давление в системе определяется налаштуванням предохранительного гідроклапана КП1. От демпфера ЧД1 через редукционный гідроклапан KPI, полости управляющего гідрораспределителя П1 і П2 масло под давлением подводится в поршневую полость гідроцилиндра подач стола Ц2.2, а штоковая полость етого гідроцилиндра через гідродроссель подачі ДРЗ, полости П4 і П3 того же гідрораспределителя соединяется со сливом. Поршень і шток гідроцилиндра занимают положение, соответствующее окончанию подачі стола. В полость П5 золотника PI через радиальные каналы в нем і полость П6 подводится редуцированное давление, которое затем через полые плунжеры ПЛ2 і ПЛ4 і соединительный канал подводится в полость П18. Полости П10 і П7 через полые плунжеры ПЛ3 і ПЛ1, соединительную линию, через радиальный канал соединяются со сливом, поетому на золотники P1 і Р3 действует усилие, удерживающее их в крайнем левом положении во время робочого ходу долбяка. В кінці робочого ходу долбяка задний упор ПУ2 воздействует через механізм керування верстата, крестовую муфту М01 на валик керування панелі ВУ1, поворачивает его і перемещает золотник керування P1 вправо.

В долбежном станке подвижные упоры ПУ1 і ПУ2 размещены на диске механізма керування, который через жесткую кинематическую ланцюг связан з долбяком. Подвижные упоры ПУ1 і ПУ2 при перемещении долбяка воздействуют на двуплечий рычаг, жестко посаженный на вал реверса, который через зубчатую коническую пару передает рух на валик керування панелі ВУ1. Золотника P1 і Р3 при етом вытесняют масло из торцовой камеры КТ2 в правой боковой крышке через полость П17 реверсивного гідрораспределителя, а в торцовую камеру КТ1 в левой боковой крышке панелі масло поступает через обратный гідроклапан K0I. При етом возникает разность давлений, действующих на торца золотника Р3, которая удерживает его в левом положении в начале руху золотника Р1. В крайних положениях золотники P1 і Р3 смещены по отношению друг к другу на величину осьового зазору между вилкой BI і кольцевой проточкой на золотнике PI, в которую входит вилка. Золотник PI, перемещаясь вправо от валика керування панелі ВУ1 вместе з золотником Р3, но з постоянным отставанием от него на величину осьового зазору, плавно перекрывает выход масла из штоковой полости гідроцилиндра долбяка Ц1.1 через полость П13 і подвод масла в поршневую полость етого цилиндра через полость П14 реверсивного парораспределителя Р3. Происходит торможение долбяка з контролем по пути. На всем пути руху золотника Р1 от крайнего левого положения до среднего положения полости П5 і П18 остаются соединенными з напорной линией, а полости П7 і П10 - со сливом, поетому на золотники P1 і Р3 действуют зусилля, направленные против направления их руху і обеспечивающие надежный выбор зазоров в механізме керування і смещение золотників на величину осьового зазору при движении до среднего положения.

После перехода золотником PI через среднюю точку полость П5 отсоединяется от камеры П6 і соединяется со сливом через полость ЕГ2 в правой крышке і гідродроссель ДР2, а полость П7 отсоединяется от слива і в нее подводится масло под давлением из полости П1. При етом золотники P1 і Р3 начинают ускоренно перемещаться в правое положение, масло через полости П14 і П13 направляется в итоговую полость гідроцилиндра долбяка Ц1.1 і из поршневой полости Ц1.2 вытесняется через полости П15 і П16 і подпорный гідроклапан К3 в бак. Долбяк реверсируется і двигается вверх со скоростью обратного ходу, определяемой объемной подачей левой секции насоса НП1.1 і рабочей площадью штоковой полости гідроцилиндра долбяка Ц1.1.

Рабочая площадь штоковой полости гідроцилиндра долбяка равна половине рабочей площади поршневой полости, поетому обратный ход долбяка происходит со скоростью вдвое превышающей наибольшую скорость робочого ходу для данной ступени. Плавность разгона долбяка в начале обратного ходу достигается регулюванням скорости руху золотника Р3 во время ускоренного переміщення от средней точки до крайнего правого положения дросселированием потока масла, вытесняемого золотниками P1 і Р3 из общей торцовой камеры КТ2 в правой боковой крышке гідропанелі через гідродроссель ДР2. При проходе золотником Р3 і связанным з ним золотником Р2 средней точки полость П8 отсоединяется от полости П9 і соединяется со сливной камерой КТ1. При етом управляемая пружинная полость гідроклапана обратного ходу КП2 соединяется со сливом і при обратном ходе долбяка наибольшее давление в системе ограничивается гідроклапаном обратного ходу КП2.

После перехода через среднее положение золотник Р1 отсоединяет полость П4 от сливной полости П3 і соединяет її з полостью П6. Масло под давлением подводится в шоковую полость гідроцилиндра подачі Ц2.1. Одновременно полость П2 отсоединяется от полости П1 і соединяется со сливной полостью П3, поршневая полость гідроцилиндра подачі Ц2.2 - со сливом, шток гідроцилиндра подачі перемещается до упора поршня в крышку і происходит взвод механізма подачі стола. В кінці обратного ходу долбяка упор ПУ1 воздействует через механізм керування верстата на валик керування панелі ВУ1, поворачивает его і перемещает золотники P1 і Р3 влево, происходит торможение долбяка, срабатывает механізм подачі стола, золотники P1 і Р3 після прохождения через среднюю точку ускоренно перемещается в крайнее левое положение. Долбяк реверсируется і совершает рабочий ход. Плавность разгона долбяка в начале робочого ходу регулируется гідродросселем разгона ДР1.

Вторая ступень скорости

В положении "2" рукоятки переключения швидкостей гідрораспределитель Р7 находится в положении, которое соответствует:

Гідрораспределитель Р6 і демпфер ЧД1 находятся во второй позиции. При переключении гідрораспределителя Р7 в положении "2" левая секция насоса НП1.1 разгружается на слив, а правая секция з большей объемной подачей НП1.2 подключается к напорной линии системы, что соответствует второй ступени скорости руху долбяка.

Во второй позиции камера керування предохранительного гідроклапана КП1 соединяется со сливом, поетому давление в системе при рабочем ходе долбяка будет определяться неуправляемой камерой предохранительного гідроклапана, как при дервой ступени скорости.

Третья ступень скорости

В положении "3" рукоятки переключения швидкостей гідрораспределитель Р7 находится в положении, которое соответствует:

Гідрораспределитель Р6 і демпфер ЧД1 находятся в третьей позиции. При переключении гідрораспределителя Р7 в положение "3" обе секции насоса НП1.1 і НП1.2 подключаются к напорной линии, что соответствует третьей ступени скорости руху долбяка.

На третьей і четвертой ступенях скорости камера керування предохранительного гідроклапана КП1 соединяется з давлением, поетому давление в системе при рабочем ходе долбяка на етих ступенях будет определяться суммарной площадью, управляемой і неуправляемой камер. В положениях "1", "2", "3" гідрораспределитель Р7 гідроцилиндр долбяка Ц1 включен по обычной схеме і изменение скорости руху долбяка осуществляется подключением секций насоса НП1 к напорной линии гідросистемы в различных сочетаниях.

Четвертая ступень скорости

В положении "4" рукоятки переключения швидкостей гідрораспределитель Р7 находится в крайнем правом положении, которое соответствует:

Гідрораспределитель Р6 і демпфер ЧД1 находятся в четвертой позиции. При переключении гідрораспределителя в положение "4" обе секции насоса НП1.1 і НП1.2 остаются подключенными к напорной линии і поток масла из гідроклапана противодавления K1 во время робочого ходу долбяка через линию Л3 от гідрораспределителя Р7 дополнительно направляется в поршневую полость гідроцилиндра Ц1.2.

Гідроцилиндр долбяка Ц1 на четвертой ступени скорости включается по диференціальной схеме і скорость робочого ходу долбяка увеличивается в два раза до сравнению з третьей ступенью.

При работе на четвертой ступени скорости масло из штоковой полости гідроцилиндра долбяка Ц1 вытесняется в поршневую полость етого гідроцилиндра, минуя полости П14 і П15 реверсивного гідрораспределителя, что позволяет вдвое увеличить поток масла в поршневую полость гідроцилиндра без увеличения потока из гідролинии подвода в полость П14 реверсивного гідрораспределителя, т.е. без увеличения потерь мощности на дросселирование при протекании масла через ети полости.

Зарядка механізма подачі происходит во время обратного ходу долбяка, когда давление в системе ограничивается налаштуванням гідроклапана обратного ходу КП2. Давление налаштування етого гідроклапана определяется только сопротивлением перемещению долбяка на обратном ходу і работой механізма подачі, і не связано з величиной тягового зусилля на долбяке во время робочого ходу.

Пуск верстата і керування механізмом торможения долбяка осуществляется дистанционно з подвесной кнопочной станції кнопкой "Пуск долбяка" при помощи реверсивных гідрораспределителей Р8 і Р9 з електрическим керуванням.

Реверсивный гідрораспределитель Р8 управляет работой гідроцилиндра Ц3 механізма торможения долбяка.

При включении насоса НП1 і при обесточенном електромагните У1 золотник гідрораспределителя Р8 под действием пружины находится в крайнем правом положении і соединяет линию давления со штоковой полостью Ц1.1. гідроцилиндра долбяка через обратный гідроклапан К03, что обеспечивает компенсацию утечек в гідросистеме при длительных перерывах в работе верстата,

В указанном положения золотника гідрораспределителя Р8 штоковая полость Ц3.1. гідроцилиндра торможения долбяка сообщается о гідробаком, поршень гідроцилиндра Ц3 под действием пружины находится в левом положении, при етом зубчасті полумуфты тормоза находятся в зацеплении- долбяк фиксируется і удерживается в статическом состоянии (см. рис.20), конечный выключатель S6 разомкнут.

Реверсивный распределитель Р9 управляет работой гідрораспределителя панелі Р5, который осуществляет пуск і зупинка гідросистемы верстата.

Для обеспечения нормальной роботи механізма торможения долбяка електросхемой верстата предусмотрена следующая післядовательность роботи парораспределителей Р8 і Р9: гідрораспределитель P9 включается только після срабатывания гідроцилиндра Ц3 і контроля разобщения зубчатых полумуфт механізма торможения при помощи конечного выключателя S6(см.рис.23)

Подвод масла под давлением от насоса НИ к реверсивным гідрораспределителям Р8, Р9 осуществляется из проточки-сумматора распределителя Р7 при включении насоса.

В положении "Стоп" при выключенном електромагните У2 гідрораспределителя Р9 масло под давлением подводится под левый торец гідрораспределителя панелі Р5, его золотник перемещается вправо, сжимая пружину до тех пор, пока разность давлений на золотнике не станет равной нулю. При етом, на гідрораспределителе Р5 создается перепад давлений, необходимый для его керування от гідрораспределителей Р8 і P9. В етом случае распределитель Р5 работает в режиме обычного гідроклапана.

В положении "Стоп" гідрораспределителя Р5 секции насосов, подключенные в систему, разгружаются в бак под незначительным давлением.

В положении "Пуск долбяка" при включенном електромагните У2 гідрораспределителя Р9 гідрораспределитель панелі Р5 работает по обычной схеме і золотник его перемещается до упора влево, масло под давлением из проточки-сумматора распределителя Р7 поступает в гідросистему і осуществляется рабочий цикл верстата.

Для снижения вибраций і повышения качества обрабатываемой поверхности заготовок в гідросхеме верстата предусмотрен механізм автоматичного изменения скорости різання, который выполнен отдельным блоком в гідропанелі Г31-26-01. Полный цикл роботи механізма совершается за два возвратно-поступательных переміщення долбяка. В положении "Стоп" гідрораспределитель РМ1 перекрывает линию керування, связывающую бесштоковую полость гідроцилиндра подач Ц2.2 і правую торцовую камеру механізма МИ1.

В положении "Работа" механізма МИ1 масло под давлением из бесштоковой линии гідроцилиндра подачі через гідрораспределитель РМ1 подводится в правую камеру механізма MИ1, а левая камера механізма через полости П4 і П3 управляющего гідрораспределителя соединяется со сливом. Разностью давлений золотник механізма МИ1 смещается влево, по пути своими скосами встречается со скосами на левой крышке, поворачивается і заскакивает пазом в крышку. При етом открывается путь маслу на слив от регулятора потока РП1 через гідрораспределитель механізма РМ1, гідродроссель ДР5 і далее через подпорный гідроклапан К2. Происходит перемещение долбяка з одновременным сбросом частини масла в гідробак через гідродроссель ДР5 з регулятором РП1. Скорость долбяка будет постоянной. Она зависит от величины открытия гідродросселя ДР5 і не зависит от нагрузки при обработке заготовок.

В кінці робочого ходу правая торцовая камера механізма MИl соединяется со сливом, а левая - з давлением, поетому золотник механізма переместится вправо. При перемещении он повернется на угол 30° і перекроет линию подвода масла от регулятора РП1 к гідродросселю ДР5.

В кінці обратного ходу золотник механізма МИ1 переместится влево только на величину половины первоначального ходу, при етом лінія от регулятора РП1 к гідродросселю ДР5 будет, по-прежнему, перекрыта. После трехкратного поворота на реверсах в кінці обратного ходу золотник повернется на угол 90 і займет первоначальное положение. Цикл повторится. Таким образом, скорость робочого ходу долбяка при включении механізма изменяется через каждый двойной ход.

Рекомендації по еффективному применению механізма автоматичного изменения скорости різання для повышения качества обрабатываемой поверхности заготовок на неустойчивых режимах різання изложены в разделе 17 "Вказівки по експлуатации".

Очистка масла осуществляется фильтром Ф1, подключениям параллельно основной сливной магистрат. Необходимый для роботи фильтра Ф1 перепад давлении создается при помощи диафрагмы ДФ-1 в сливной трубе.


Налаштування гідроклапанов

Контрольный манометр верстата МН1 подключен к системе через двухпозиционный золотник Р4.В положении "I" кнопки золотника Р4 производится замер давления на всех гідроклапанах, кроме редукционного.

Замер давления на редукционном гідроклапане производится в положении "2" кнопки золотника Р4.

Внимание!

После налаштування гідроклапанов кнопку золотника необходимо установить в положении "0".

Длительное увімкнення манометра не рекомендуется во избежание преждевременного выхода его из строя!

Перед регулировкой гідроклапанов необходимо проверить правильность сборки трубопровода.

Регулировку гідроклапанов необходимо производить з учетом безусловного выполнения требований раздела в следующей післядовательности:

Налаштування предохранительного гідроклапана КП1

Предохранительный гідроклапан настраивается регулировочным винтом на давление 5,5 ..6,0 МПа (55-60 кгс/см2).

Налаштування гідроклапана производится на I ступени скорости в положении "Рабочий ход". При етом снимается задний упор і долбяку сообщается медленное рух вниз до упора.

Давление контролируется по манометру МН1, подключенному к бесштоковой полости гідроцилиндра Ц1.2. (при етом дроссели ДР4 і ДР5 панелі должны быть закрыты).

Налаштування гідроклапана реверса К2

Гідроклапан реверса настраивается регулировочным винтом на давление 1,5..4,0 МПа (15..40 кгс/см2).

Налаштування гідроклапана производится на 1 ступени скорости в положении "Обратный ход" на упоре. При етом регулировочный винт гідроклапана обратного ходу заворачивается до отказа.

Давление контролируется по манометру МН1, подключенному к штоковой полости гідроцилиндра Ц1.1.

После налаштування гідроклапана реверса производятся налаштування гідроклапана обратного ходу.

Налаштування гідроклапана обратного ходу КП2

Гідроклапан обратного ходу настраивается регулировочным винтом на давление 1,5..3,5 МПа (15..35 кгс/см2).

Давление налаштування клапана обратного ходу должно быть на 0,2..0,5 МПа (2..5 кгс/см2) ниже установленной величины давления на гідроклапане реверса К2.

Налаштування гідроклапана обратного ходу производится на 1 ступени скорости в положении "Обратный ход". При етом снимается передний упор і долбяку сообщается рух вверх до упора в крышку гідроцилиндра. Давление контролируется по манометру MHI, подключенному в штоковой полости гідроцилиндра Ц1.1.

Налаштування гідроклапана післядовательности з обратным клапаном К4

Гідроклапан настраивается регулировочным винтом на минимальное давление, необходимое для уравновешивания массы долбяка, но не более 1,2 МПа (12 кгс/см2).

Налаштування производится следующим образом: при движении долбяка вверх в наладочном режиме кнопкой нужно остановить долбяк, в случае опускания долбяка необходимо поднимать давление на гідроклапане до тех пор, пока долбяк не будет четко останавливаться.

При правильной налаштуванні гідроклапана долбяк останавливается четко, з небольшим ощущением гідравлічного удара в гідросистеме.

Налаштування редукционного гідроклапана KP1

Редукционный гідроклапан настраивается регулировочным винтом на давление 1,1..2,5 МПа (11..25 кгс/см2), обеспечивающее четкую работу реверсивного механізма гідропанелі і устойчивую подачу стола.

Налаштування производится на I ступень скорости в положения "Рабочий ход". При етом снимается задний упор і долбяку сообщается рух вниз до упора.

Редуцированное давление замеряется манометром МН1, кнопка золотника увімкнення манометра должна быть в положении "2".

Налаштування гідроклапана противодавления K1

Перед налаштуванням вывернуть пробку.

Налаштування производится регулировочным винтом на I ступени скорости в положении "Рабочий ход" при нормально отрегулированных зазорух вузлів стола і долбяка совместно з регулировкой подачі стола. Настраивается клапан на минимальное давление в диапазоне 0,8..1,2 МПа (8..12 кгс/см2), обеспечивающее устойчивую работу подачі. Давление контролируется во время руху долбяка на рабочем ходу по манометру МН1, который в етом положении показывает давление в бесштоковой полости гідроцилиндра Ц1.2.

Давление перед гідроклапаном будет на передаточное отношение цилиндра вше показаний манометра (т.е. примерно в 2 раза).

Налаштування подпорного гідроклапана К3

Подпорный гідроклапан отрегулирован на заводе-изготовителе гідропанелі на давление 0,04..0,09 МПа (0,4..0,9 кгс/см2). Однако, в процессе експлуатации усилие пружины клапана може несколько уменьшиться, что потребует дополнительной регулировки гідроклапана.

Налаштування производится на IV ступени скорости в положении "Обратная ход" подбором количества шайб под пружину. Чтобы подложить шайбы или убрать лишние, необходимо снять фланец, который крепится к корпусу клапана двумя гвинтами.

При демонтаже фланца необходимо соблюдать правила техники безопасности.

Давление можно замерить манометром з пределом измерения 0,5 МПа (5 кгс/см2) для чего необходимо к отводящей магистрали панелі Тх подключить дополнительный манометр (в комплект верстата не входит).

Регулювання плавности реверса долбяка

При разгоне і торможения долбяка плавность реверса достигается регулюванням потока масла конусами реверсивного золотника.

Плавность реверса долбяка регулируется гідродросселями разгона ДР1, ДР2, гідроклапаном обратного ходу КП2 і гідроклапаном реверса К2.

При регулировании плавности реверса необходимо:

При отладке верстата і в процессе експлуатации допускается дополнительная регулировка гідродросселей разгона ДР1, ДР2 і гідродросселя коробки подачі ДР3 в связи з изменением вязкости масла от температуры, а также при замене масла.

Регулювання гідродросселя подачі ДР3

Гідродроссель подачі ДР3 (см.рис.16, поз. 8, 9, 10 ) имеет двойную регулировку:

Оптимальное проходное сечение гідродросселя подачі в обоих случаях устанавливается по достижению стабильной роботи механізма подачі.


7405 Електрична схема долбежного верстата

7405 Схема електрична долбежного верстата

Електрична схема долбежного верстата 7405

Схема електрична долбежного верстата 7405. Дивитись у збільшеному масштабі





7405 Верстат долбежный з гідравлическим приводом. Відеоролик.




Технічні характеристики долбежного верстата 7405

Наименование параметра 7403 7405 7М430 7Д430
Основні параметри верстата
Класс точності верстата Н Н Н Н
Ход долбяка, мм 120..320 120..500 120..320 120..320
Диаметр стола, мм 630 800 630 630
Расстояние от плоскости стола до направляючих долбяка, мм 500 710 500 500
Расстояние от долбяка до станины (вылет), мм 615 710 590 615
Наибольшая высота обрабатываемого вироби при обработке наружной поверхности, мм 500 650 320 500
Наибольшая высота обрабатываемого вироби при обработке внутренней поверхности, мм 250 325 250 250
Долбежная головка верстата (долбяк)
Наибольшее перемещение долбяка в пределах рабочей зоны, мм 500 700 570 500
Наибольший угол поворота долбяка в направлении поздовжньої подачі, град 10° 10° 10° 10°
Наибольшее сечение резца, мм 32 х 20 40 х 25 40 х 25 32 х 20
Скорость долбяка под нагрузкой, м/мин 3..38 3..38 3..38
Рабочий стол верстата
Наибольшие переміщення стола продольные (по направляющим станины), мм 650 800 650 650
Наибольшие переміщення стола поперечные (по направляющим салазок), мм 510 650 500 510
Наибольшие переміщення стола круговые, град 360° 360° 360° 360°
Цена деления лимба при продольном і поперечном перемещении стола, мм 0,1 0,1 0,2 0,1
Перемещение стола за оборот лимба при продольном і поперечном перемещении стола, мм 0,7 1,4
Цена деления лимба при круговом перемещении стола, град
Перемещение стола за оборот лимба при круговом перемещении стола, град 0,86° 0,86°
Пределы подач за один двойной ход продольные, мм 0,1..2,5 0,1..2,5 0,2..2,4 0,1..2,5
Пределы подач за один двойной ход поперечные, мм 0,1..2,5 0,1..2,5 0,2..2,4 0,1..2,5
Пределы подач за один двойной ход круговые, град 0,1..1,4° 0,1..1,4° 0,1..1,4° 0,1..1,4°
Скорость швидкого переміщення стола продольная, мм/мин 2,8 2,8 2,5 2,8
Скорость швидкого переміщення стола поперечная, мм/мин 2,8 2,8 2,5 2,8
Скорость швидкого переміщення стола круговая, об/мин 4,5 4,5 4,07 4,5
Електроустаткування. Привод
Количество електродвигателей на станке 3 3 3 3
Електродвигун гідроприводу (головного руху), кВт (об/мин) 11 (970) 11 (970) 7 10
Електродвигун ускоренного переміщення стола, кВт 2,2 3,0 1,7 2,2
Електродвигун електронасоса СОЖ, кВт 0,12 0,12 0,12 0,12
Суммарная мощность всех електродвигателей, кВт 13,32 14,12
Габарити і масса верстата
Габарити верстата (длина ширина высота), мм 2850 х 2160 х 3010 3440 х 2760 х 3465 2650 х 1810 х 2890 3030 х 2175 х 3010
Масса верстата, кг 5660 8160 5200 5700


    Список литературы:

  1. Верстати долбежные з гідравлическим приводом 7405. Руководство по експлуатации 7403.00.000 РЭ, 1987

  2. Аврутин Р.Д. Справочник по гідроприводам металлорежущих верстатів,1965
  3. Гинсбург Е.Г. Производство зубчатых колес, 1978
  4. Калашников А.С. Технология изготовления зубчатых колес, 2004
  5. Копылов Р.Б. Работа на строгальных і долбежных верстатах, 1975
  6. Мильштейн М.З. Нарезание зубчатых колес, 1972.
  7. Овумян Г.Г., Адам А.И. Справочник зубореза, 1983.
  8. Сильвестров Б.Н., Захаров И.Д. Конструкція і наладка зуборезных і резьбофрезерных верстатів, 1979.
  9. Шавлюга Н.И. Расчет і примеры наладок зубофрезерных і зубодолбежных верстатів, 1978.
  10. Яковцев А.Д. Работа на строгальных і долбёжных верстатах, 1966









Подумай о своём будущем: положи сто рублей в карман зимней куртки.