metalinstryment.com
Довідник по металорізальних верстатів та пресовому обладнанні

7М36 Верстат поперечно-строгальный з гідравлическим приводом
опис, характеристики, схеми

Фото поперечно-строгального верстата 7М36







Відомості про виробника поперечно-строгального верстата 7М36

Изготовителем поперечно-строгального верстата 7М36 является Гомельский станкостроительный завод им. С. М. Кирова, СтанкоГомель, основанный в 1885 году.

Первые верстати были изготовлены заводом в 1934 году.

В настоящее время завод является крупнейшим производителем гаммы универсальных консольно-фрезерных верстатів моделей FW, FU, FSS. Эти верстати завод производит з 1993 года по лицензии немецкой фирмы HECKERT Chemnitzer Werkzeugmaschinen GmbH.

В ассортименте выпускаемой продукции по-прежнему долбежные верстати, правильно-отрезные автоматы і специальные верстати.





Верстати, выпускаемые предприятием Гомельский станкостроительный завод им. С. М. Кирова, СтанкоГомель


7М36 Верстат поперечно-строгальный з гідравлическим приводом. Назначение і область применения

Поперечно-строгальный верстат 7М36, 7М37 предназначен для обробки резцом плоских і фасонных поверхностей (горизонтальных, вертикальних, наклонных), а также для прорізання всевозможных пазов і канавок в деталях з длиной обробки до 700 мм. Он применяется в механических цехах машиностроительных заводов для индивидуального і мелкосерийного производства.

Верстат 7М36 предназначен для строгания плоских і фасонных поверхностей в условиях единичного і мелкосерийного производства.

Механические подачі стола і резцового суппорта, наличие механізма налаштування стола на ширину строгания і механізма автоматичного останова обеспечивает возможность многостаночного обслуживания.

Ползун верстата 7М36 имеет возвратно-поступательное рух от гідравлики. Направление руху ползуна і длина его ходу изменяются при помощи упоров, расположенных па ползуне.

Подача стола в вертикальном і горизонтальном направлениях осуществляется посредством гідромеханического пристроя коробки подач. Ускоренные переміщення стола осуществляются от отдельного електродвигуна, соединенного з коробкой подач при помощи фрикционной муфты, отключающей ланцюг быстрых перемещений стола при перегрузках і крайних его положениях. Предусмотрена возможность переміщення стола вручную.

Верстат 7М36 имеет автоматическую подачу суппорта і відведення резца от обрабатываемой поверхности при холостом ходе ползуна.

Смазка направляючих ползуна і станины автоматическая.

Верстат 7М36 является базовым для модификаций з универсальным поворотным столом і копировальным пристрійм.

По особому заказу за дополнительную плату верстат може быть укомплектован теплообменником для охлаждения масляной ванны.

Класс точності верстата Н.


Короткий опис конструкції поперечно-строгального верстата 7М36

Верстат имеет гідравлическое перемещение ползуна і гідравлическую подачу стола на каждый двойной ход ползуна. Быстрое перемещение стола в горизонтальном і вертикальном направлениях осуществляется отдельным електродвигуном малой мощности. Кроме механического переміщення, стол може также перемещаться і вручную как в горизонтальном, так і вертикальном направлениях.

Изменение направления руху ползуна происходит за счет переключения золотника керування упорами, помещенными на ползуне. Упорами же регулируется длина строгания, а также величина ходу ползуна.

Верстат имеет ступенчато-дроссельное регулювання скорости. Рабочая скорость под нагрузкой изменяется в диапазоне от 3-х до 48 м/мин при насосах производительностью 50 і 100 л/мин.

Рукоятка устанавливает четыре ступени скорости.

Рукоятка дросселя производит плавное регулювання скорости между ступенями. Величина подачі регулируется маховичком при положении ползуна только на холостом ходу (при движении і остановке), а её отсчет производится по лимбу (см. стр. 10-а).

Вертикальная подача резца осуществляется переміщенням суппорта вручную, а также механически от упора, установленного на станине.

Керування верстатом производится от кнопочной станції і рукоятками (см. стр. 10-а).

Верхня кнопка — пуск головного мотора верстата, средняя кнопка - ускоренное перемещение стола і нижняя кнопка — стоп.

Ускоренное перемещение стола происходит только при нажиме средней кнопки; как только кнопка отпущена, рух прекращается. Перемена направления переміщення стола производится рукояткой помещенной на коробке подач. Положение рукояток определяется соответствующими табличками.

Смазка направляючих ползуна і станины осуществляется» автоматически. Смазка всех остальных мест производится вручную.


Строгальные верстати. Загальні відомості

Основное назначение строгальных верстатів — ето обработка долблением плоских і фасонных линейчатых поверхностей, пазов і канавок в разнообразных деталях, а также штампов различных видов.

Строгальный верстат - металлорежущий верстат для обробки строгальными резцами горизонтальных, вертикальних і наклонных поверхностей з прямолинейными образующими.

Различают поперечно-строгальные і продольно-строгальные верстати.

Главное рух строгального верстата — прямолинейное возвратно-поступательное. У поперечно-строгального верстата оно сообщается резцу, закрепленному в суппорте, у продольно-строгального верстата — столу, на котором устанавливается изделие. Резание производится во время робочого ходу, затем следует холостой ход (с более високою скоростью), при котором різець (или изделие) возвращается в первоначальное положение. Скорость головного руху остается постоянной у всех продольно-строгальных верстатів і поперечно-строгальных верстатів з гідравлическим приводом і меняется (от нуля до максимальной і вновь до нуля) у поперечно-строгальных верстатів з приводом от кулисно-кривошипного механізма. В кінці каждого холостого ходу осуществляется рух подачі (в поперечном направлении относительно направления головного руху). У поперечно-строгальных верстатів оно сообщается столу і закрепленному на нём изделию, у продольно-строгальных — резцу, закрепленному в суппорте.

На поперечно-строгальных верстатах обрабатывают мелкие і средние вироби, на продольно-строгальных — относительно крупные вироби или одновременно несколько средних изделий, а также вироби з узкими длинными поверхностями, головним образом в индивидуальном і мелкосерийном производствах.

Так как обратный ход в строгальных верстатах холостой і высокие скорости різання недопустимы вследствие значительных сил инерции, развиваемых деталями верстата при возвратно-поступательном движении, то в условиях массового і крупносерийного производства обработка на строгальных верстатах заменяется более производительной обработкой на фрезерных или протяжных верстатах. Строгальные верстати в етих условиях применяются только в исключительных случаях.

Обычно строгальными верстатами пользуются для обробки изделий, изготовляемых в небольшом количестве, головним образом, в инструментальных, ремонтных, експериментальных цехах і в основних цехах заводов з индивидуальным или мелкосерийным производством.

Несмотря на то, что в большинстве случаев обработка на строгальных верстатах менее производительна, чем обработка на фрезерных или протяжных верстатах, строгальные верстати имеют і свои преимущества, заключающиеся в простоте і дешевизне применяемого инструмента і его заточке, возможности обробки сложных профилей простейшим универсальным инструментом (резцами) і високою производительности при обработке длинных узких поверхностей.


Виды поверхностей, обрабатываемых на строгальных верстатах

Виды поверхностей, обрабатываемых на строгальных верстатах

Виды поверхностей, обрабатываемых на строгальных верстатах:





Габарит робочого простору. Посадочные і присоединительные базы поперечно-строгального верстата 7М36

Габарит робочого простору. Посадочные і присоединительные базы поперечно-строгального верстата 7М36

Габарит робочого простору поперечно-строгального верстата 7м36


Загальний вигляд поперечно-строгального верстата 7М36

фото поперечно-строгального верстата 7М36

Фото поперечно-строгального верстата 7м36


7М36 Розташування складових частин поперечно-строгального верстата

16Б05А Розташування складових частин поперечно-строгального верстата

Розташування основних вузлів поперечно-строгального верстата 7м36

Розташування складових частин поперечно-строгального верстата 7М36. Дивитись у збільшеному масштабі



Основні вузли: станина 1, траверса 9, стол 8, ползун 24, супорт 20, коробка подач 3, гідропанель 27.

Главное рух сообщается ползуну 24, который совершает возвратно-поступательные руху по верхним горизонтальным направляющим г станины 1. Вместе з ползуном перемещается супорт 20, на котором установлен різець 12, обрабатывающий поверхность заготовки.

Обрабатываемые заготовки устанавливают і закрепляют либо непосредственно на столе 8, либо в тисках или других приспособлениях, предназначенных для етой цели.

Все подачі в станке происходят в поперечном направлении. Они осуществляются прерывисто в момент переключения руху ползуна з обратного на рабочий ход. Обработку чаще всего производят з горизонтальной подачей стола, при которой стол перемещается по направляющим б траверсы 9. Для более жесткой фиксации стола траверса должна быть закреплена гайками 10 на направляючих станины. Гайками 7 нужно закрепить стойку 6 в таком положении, чтобы она скользила по направляющим а станины, поддерживая переднюю выступающую часть стола.

При необходимости обработку заготовки производят при вертикальной подаче траверсы или салазок 17 суппорта. В первом случае гайки 7 і 10 должны быть отпущены, а во втором салазки 17 освобождены зажимом 16. При обработке, производимой без вертикальной подачі салазок 17, они должны быть закреплены зажимом 16.

Для осуществления движений ползуна і подач стола в станке применен гідравлический привод, что позволяет работать з более высокими скоростями обратного ходу ползуна і производить бесступенчатое изменение швидкостей робочого ходу ползуна.

Верстат имеет пристрій, поднимающее з помощью електромагнита откидную доску 13 на время обратного ходу ползуна 24 для того, чтобы різець 12 в етот период не касался обработанной поверхности детали.


Розташування органів керування строгальным верстатом 7М36

Розташування органів керування строгальным верстатом 7М36

Розташування органів керування строгальным верстатом 7м36

Розташування органів керування строгальным верстатом 7М36. Дивитись у збільшеному масштабі



Специфікація органів керування поперечно-строгального верстата 7М36

  1. Рукоятка вертикального переміщення суппорта
  2. Зажим поворотной частини суппорта
  3. Зажим салазок суппорта
  4. Гайка зажиму поворотной доски
  5. Точный подпор стола
  6. Гайка зажиму траверзы
  7. Рукоятка перемены направления подач
  8. Рукоятка увімкнення вертикальной или горизонтальной подачі
  9. Ручное горизонтальное перемещение стола
  10. Ручное вертикальное перемещение стола
  11. Регулювання величины подач стола
  12. Упор переключения ходу ползуна
  13. Рукоятка пуска і остановки верстата
  14. Рукоятка ступінчастого изменения скорости ползуна
  15. Рукоятка бесступінчастого изменения скорости ползуна между ступенями
  16. Рукоятка переключения ходу ползуна
  17. Пуск
  18. Быстрое перемещение стола
  19. Стоп
  20. Установка величины вертикальной подачі суппорта
  21. Подключение верстата к сети
  22. Увімкнення освещения
  23. Увімкнення електромагнита




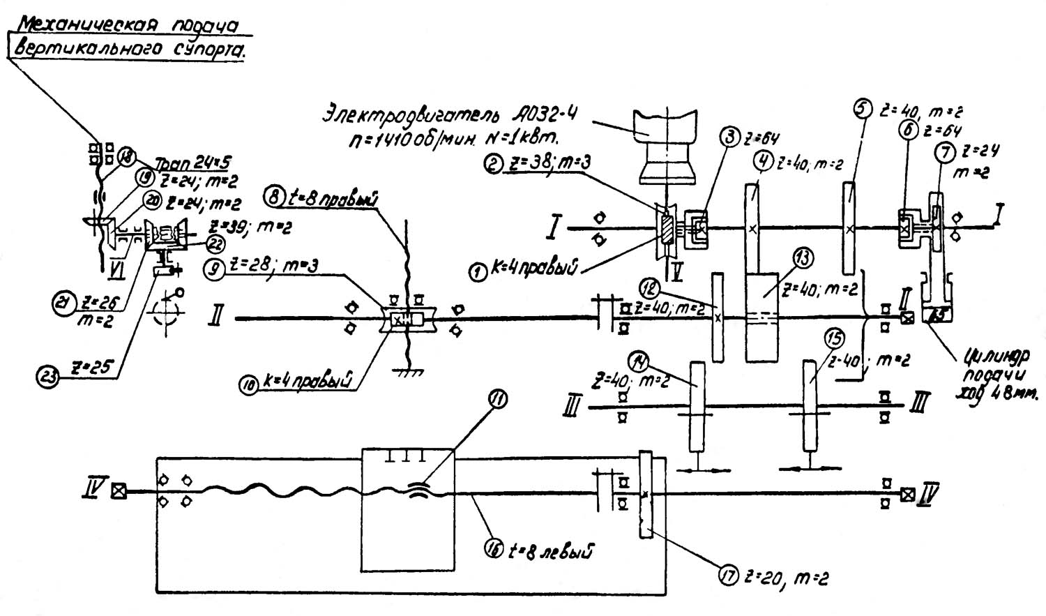
Кінематична схема поперечно-строгального верстата 7М36

7М36 Схема кінематична строгального верстата

Кінематична схема поперечно-строгального верстата 7м36

Схема кінематична строгального верстата 7М36. Дивитись у збільшеному масштабі



Кінематична схема верстата

Движения в станке:


Короткий опис конструкції і роботи верстата

Узел № 1. Станина (см. стр. III, черт. 15)

Станина верстата представляет собой корпус коробчатой формы, укрепленной на фундаментной плите. Внутри станины, разделенной ребром на две частини, помещается масло для гідропривода.

К задньої стенке станины крепится фланец з привернутыми к нему насосами. К правой боковой стенке крепится гідропанель.

В левой боковой стенке сделано окно для монтажа гідропривода.

На передньої стенке имеются направляющие для вертикального переміщення стола. Верхня часть станины имеет прямоугольные направляющие, по которым перемещается ползун. Между направляющими на платиках помещается гідравлический цилиндр для переміщення ползуна.

Електродвигун гідроприводу крепится на фундаментной плите.

Для отключения електродвигуна насосов, при кратковременной остановке верстата, на станине расположен конечный выключатель, срабатывающий при положении рукоятки пуска верстата в положении стоп.

Узел № 2. Коробка подач (см. стр. IV—V, черт. 16—17)

Коробка подач предназначена для осуществления поперечных подач стола на каждый двойной ход ползуна і ускоренного переміщення стола в горизонтальном і вертикальном направлениях.

При переключении ползуна на рабочий ход масло от насоса через золотник подачі поступает в цилиндр подачі (см. гідравлическую і кинематическую схеми верстата) і толкает поршень вверх.

Рейка, соединенная со штоком, вращает зубчатое колесо Z 24, от которого через храповую муфту, зубчасті колеса 40:40; 40:20 рух передається на винт поперечної подачі или при надобности через зубчасті колеса 40:40;. 40:40 і червячную пару 4:28 на винт вертикальной подачі.

Ускоренное перемещение стола в горизонтальном і вертикальном направлениях осуществляется електродвигуном. От електродвигуна рух передається через червячную пару 4:38 на корпус второй храповой муфты. Далее рух передається тем же путем, что і при подаче. Изменение направления подачі происходит переключением зубчатого колеса, расположенного на валу III, а увімкнення вертикальной или горизонтальной подачі производится переключением второго зубчатого колеса, перемещающегося на валу III.

Регулювання величины подачі производится изменением величины ходу поршня при помощи маховика і пары винтовых зубчатых колес, причем одно из них является упором. Отсчет величины установленной подачі осуществляется при помощи лимба, закрепленного на маховике.

Узел № 3. Цилиндр з ползуном (см. стр. VI, черт. 18)

Гідравлический цилиндр состоит из стальной трубы з крышками на концах. Внутри цилиндра помешается поршень со штоком, конец которого закреплен в стенке ползуна.

Подавая масло в полость без штока или в обе полости вместе, мы получаем рабочий ход ползуна, а подавая масло только в полость со штоком, а полость без штока соединяя з баком, мы получаем обратный (холостой) ход ползуна.

Для избежания утечек масла между торцами цилиндра і крышками кладутся кольцевые прокладки из капрона.

В передньої крышке помещаются также уплотнения из прорезиненной ткани, предохраняющие от утечек масла по периферии штока.

Ползун представляет из себя чугунную полую отливку з прямоугольными направляющими. Внутри ползун укреплен ребрами жесткости і имеет поперечную перегородку з отверстием для крепления штока. На переднем кінці ползуна имеется отверстие для центрирования суппорта. На левой стороне ползуна расположена троллея токосъёмника електромагнита для подъёма резцедержки, а справа механізм для механической подачі вертикального суппорта.

Узел № 4. Трубопровод (см. стр. VII, черт. 19)

Данный узел показывает разводку труб, их компановку в станине і размещение гідроапаратури для осуществления головного руху, подачі і змазки.

Узел № 5А. Суппорт (см. стр. 24, черт. 5)

Суппорт состоит из нижней круглой поворотной частини і верхних салазок з откидной доской.

Перемещение верхних салазок производится винтом от руки или механически. Величина переміщення при работе вручную отсчитывается по лимбу. Цена деления 0,05. Величина подачі при механической работе устанавливается винтом механізма подачі суппорта (см. стр. VIII, черт. 20). Строжка под углом производится поворотом всего суппорта. Отсчет угла поворота производится по делениям, нанесенным на круглой частини нижней каретки і риски, нанесенной на фланце ползуна.

Внутри суппорта встроен електромагнит, предназначенный для подъема резцедержки при обратном ходе ползуна. Увімкнення електромагнита осуществляется посредством замыкания контактов конечного выключателя, установленного на станине верстата, а подвод електрического тока к магниту осуществляется от троллеи, изолированной от массы верстата.

Для возврата резцедержки в исходное положение предусмотрена пружина сжатия.

Узел № 6. Стол (см. стр. 25, черт. 6)

Узел «Стол» состоит из:

  1. Стола коробчатой формы з Т-образными пазами для крепления обрабатываемых деталей і тисков
  2. Поперечины з вертикальными прямоугольными направляющими для вертикального переміщення её со столом по станине і горизонтальными прямоугольными направляющими для переміщення стола по поперечине
  3. Плиты для крепления стола з прикрепленной к ней гайкой горизонтального гвинта
  4. Редуктора з червячной парой з гайкой внутри червячного колеса для вертикального переміщення стола

С правой стороны к поперечине крепится коробка подач. Перемещение стола по поперечине можно осуществить от руки і механическим путем.

Вертикальное перемещение поперечини со столом также може быть осуществлено от руки і механически. Закрепление поперечини на вертикальних направляючих станины производится от pyки прижимными планками, находящимися в верхней частини направляючих.

Передня часть стола опирается на стойку.

Узел № 7А. Механізм механической подачі вертикального суппорта (см. стр. VIII, черт. 20)

Механическая подача вертикального суппорта осуществляется от регулируемого упора, расположенного на прижимной планке правой направляющей станины.

При ходе ползуна в крайнее правое положение ролик механізма находит на упор і через храповое колесо, коническую передачу 39:26; 24:24 вращение передається ходовому винту суппорта.

Установка подачі производится при помощи гвинта. Отсчет подачі производится по шкале.

Узел № 51. Электромагнит (см. стр. 26, черт. 7)

Электромагнит служит для відведення откидной доски з резцом во время холостого ходу ползуна.

Узел состоит из корпуса, якоря, катушки і подвижного сердечника, который имеет ход 5 мм. Корпус ввертывается в салазки суппорта і служит осью для поворотной доски.

При ходе ползуна «назад» поступает питание в катушку, сердечник передвигается в крайнее левое положение і своим упором отводит откидную доску з резцом.

Токосъемник (см. стр. 27. черт. 8)

Токосъемник состоит из корпуса з державкой, в которой крепится меднографитовая щетка, і троллеи.

Под действием пружины щетка і троллея находятся в постоянном контакте, что обеспечивает питание електромагнита при движении ползуна.

С помощью конечного выключателя ВК-211А при движении ползуна «назад» происходит увімкнення електромагнита, необходимое для відведення откидной доски.





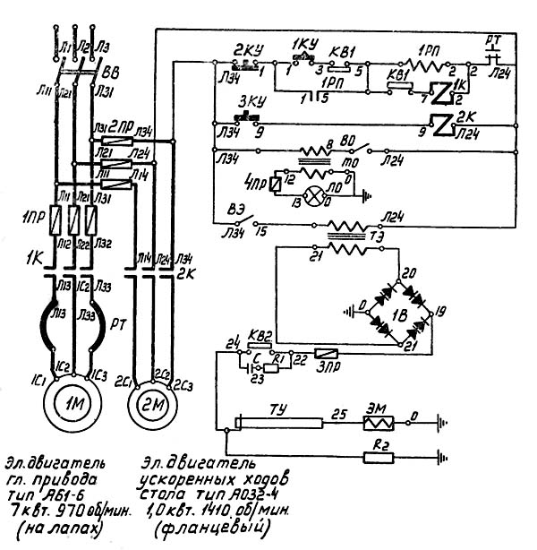
Схема електрична принципова строгального верстата 7М36

Схема електрична поперечно-строгального верстата 7М36

Електрична схема поперечно-строгального верстата 7м36

Електрична схема поперечно-строгального верстата 7М36. Дивитись у збільшеному масштабі



Електроустаткування. Опис електросхеми строгального верстата 7М36

На станке установлены два електродвигуна:

  1. 1М — електродвигатель головного приводу типа А61-6; 7 кВт. 970 об/мин, (на лапах)
  2. 2М — електродвигатель приводу ускоренных ходов стола типа АО32-4; 1.0 кВт. 1410 об/мин. (фланцевый)

В ланцюги живлення електромагнита ЭМ включен конечный выключатель КВ-2, который своим Н.О. контактом 22-24 включает ланцюг при движении ползуна «НАЗАД».

  1. Поворотом пакетного выключателя ВВ (установленного на задньої стенке шкафа), подается напряжение 380 вольт от сети трехфазного переменного тока к електродвигунам і на ланцюги керування.
  2. Лампа местного освещения питается пониженным напряжением 36 вольт переменного тока от вторичной обмотки трансформатора ТПБ-50. Лампа включается тумблером ВО, установленным на стенке електрошафи.
  3. Электромагнит ЭМ подъема резцедержки питается пониженным напряжением 36 вольт постоянного тока от вторичной обмотки трансформатора ТЭ, через селеновый выпрямитель 1В.

Конечный выключатель КВ1 является ограничителем холостого ходу і позволяет включать верстат в работу только в том случае, если рукоятка керування гідравликой находится в положении «СТОП». При етом Н.3. контакты конечного выключателя KBI в точках 3—5 будут закрыты. После нажатия на кнопку керування 1КУ включается промежуточное реле 1РП через ланцюг.

Л34—1—3—5—2—Л24

Последнее закрывает свои Н. О. контакты в точках 1—5 і становится на самопитание через ланцюг.

Л34—1—5—2—Л24

подготавливая к включению магнитный пускатель 1К.

Поворачивая рукоятку керування гідравликой в положение рабочий ход, Н.3. контакты конечного выключателя KBI в точках 3—5 размыкаются, а Н.О. контакты в точках 5—7 замыкаются.

Таким образом, через ланцюг Л34—1—5—7—2—Л24 включается магнитный пускатель 1К. Последний своими головними контактами в точках Л12—Л13, Л22—1С2 і Л32—ЛЗЗ включает електродвигатель головного приводу 1М.

Для отключения магнитного пускателя «1К» і промежуточного реле 1РП необходимо нажать кнопку керування 2КУ «СТОП», которая при етом размыкает свои Н. 3. контакты в точках Л34 -1. Нажатием на кнопку ЗКУ «ТОЛЧОК» включается електродвигатель 2М — ускоренный ход стола. Этот двигатель работает только в толчковом режиме.

  1. Захист от коротких замыканий осуществляется плавкими предохранителями 1Пр і 2Пр; ЗПр; 4Пр
  2. Захист приводу гідронасоса осуществляется тепловым реле РТ

Гідравлічна схема поперечно-строгального верстата 7М36

7М36 Схема гідравлічна строгального верстата

Гідравлічна схема поперечно-строгального верстата 7м36

1. Схема гідравлічна строгального верстата 7М36. Дивитись у збільшеному масштабі

2. Схема гідравлічна строгального верстата 7М36. Дивитись у збільшеному масштабі



Гідроконструктивная схема поперечно-строгального верстата моделі 7М36 (7М37)

  1. обратный клапан
  2. золотник
  3. крановый распределитель
  4. гідропанель
  5. дроссель з регулятором
  6. цилиндр ползуна
  7. золотник клапана реверса
  8. золотник остановки
  9. 9гідропанель
  10. золотник переключения
  11. дроссель подачі
  12. распределитель подачі
  13. насос
  14. насос
  15. цилиндр подачі
  16. 16обратный клапан
  17. дроссель
  18. золотник керування
  19. подпорный клапан
  20. 20дроссель
  21. а, б, в, г, д, е, ж, з, ц, к, л, м, н, п, р, с, т, у, ф, х, ч, ш, ю, я — проточки гідропанелей

Опис гідроприводу поперечно-строгального верстата моделі 7М36 (7М37)

Гідросистема верстата (рис. 57) обеспечивает следующий цикл роботи: возвратно-поступательное рух ползуна, поперечную і вертикальную подачі стола, пуск і зупинка верстата в любом положении.

Ниже описана робота гідроприводу при четырех положениях рукоятки переключения швидкостей.

I положение рукоятки переключения швидкостей. Золотник 10 находится в крайнем правом положении, которое соответствует первой скорости (рабочая скорость 3—8 м/мин, скорость обратного ходу 16 м/мин).

Масло от насоса 13 по проточкам а і б сливается в бак, а масло от насоса 14 по проточкам в і г лостуgает к крановому распределителю 3 гідропанелі 4 типа ЗГ31-16.

При положении рукоятки распределителя «Пуск» 3 і установці золотника 2 в положение, показанное на схеме, масло через проточки з і е поступает в рабочую (поршневую) полость цилиндра 6 ползуна. Происходит рабочий ход. Из штоковой полости цилиндра 6 ползуна масло подводится под торец золотника 8 остановки і отжимает его вниз. Проточки ж і з сообщаются между собой, благодаря чему возможен слив масла из штоковой полости цилиндра 6 ползуна.

Скорость робочого ходу ползуна в пределах от 3 до 8 м/мин регулируется дросселем 5 з регулятором.

В кінці робочого ходу упор, установленный на ползуне, через систему рычагов перемещает вправо золотник 18, который при своем перемещении разъединяет проточки к і и, притормаживая тем самым ползун.

В кінці ходу золотника 18 керування проточка л, соединенная через обратный клапан 1 з полостью у левого торца золотника 2, отсекается от проточки м і соединяется з проточкой н, находящейся под давлением. Золотник 2 начинает перемещаться слева направо. Из-под правого торца золотника 2 масло пойдет на слив через дроссель 17 і проточки я і п.

Регулювання швидкостей переміщення золотника осуществляется обратными клапанами 1 і 16 і дросселями 17 і 20.

При правом положении золотника 2 проточка д отсечется От проточки ю і соединится з проточкой с, а проточка е отсечется от проточки з і соединится з проточкой т. При етом масло будет поступать по проточкам з і д в штоковую полость цилиндра 6 ползуна і вытесняться из рабочей полости через проточки е, т, ф, х і клапан 19 типа Г51-26 на слив. Ползун возвратится в исходное положение. Одновременно левая полость распределителя 12 подачі сообщится со сливом і золотник распределителя переместится влево. При левом (по схеме) положении золотника распределителя 12 штоковая полость цилиндра 15 подачі будет находиться под давлением, а рабочая полость соединится со сливом, благодаря чему произойдет холостой ход цилиндра подачі. Обратное рух ползуна 6 будет происходить, пока кулачки не переместят золотник 18 влево.

Процесс реверсирования обратного ходу на рабочий аналогичен изложенному выше.

В момент реверсирования обратного ходу на рабочий от гідропанелі 4 подается команда на распределитель 12. Масло направляется под левый торец золотника распределителя 12 і давлением отжимает золотник в крайнее правое положение, при котором масло от насоса через дроссель 11 подачі попадает в рабочую полость цилиндра 15, а из штоковой полости — на слив. Происходит подача стола. Дроссель 11 подачі обеспечивает безударную работу механізма подачі і плавное реверсирование ползуна. Таким образом, гідросистема обеспечивает автоматическую подачу стола на каждый двойной ход ползуна. В момент реверсирования давление в системе возрастает, і масло, поступающее под золотник 7 клапана реверса, отожмет его і сообщит проточку р з проточкой у. Произойдет разгрузка насосов 14 і 13 на слив.

II положение рукоятки переключения швидкостей. Золотник 10 переключения находится на расстоянии 12 мм от крайнего правого положения, что соответствует второй скорости (рабочая скорость 8—16 м/мин,скорость обратного ходу 32 м/мин).

Масло от насоса 14 по проточкам в, г і б будет сливаться в бак, а масло от насоса 13 по проточкам а і ш поступит к распределителю 3 гідропанелі 4. Далее направление потока масла такое же, как при I положении рукоятки переключения швидкостей, і в цилиндр 6 ползуна попадает масло от насоса 13.

III положение рукоятки переключения швидкостей. Золотник 10 переключения находится на расстоянии 24 мм от крайнего правого положения, что соответствует третьей скорости (рабочая скорость 16—24 м/мин, скорость обратного ходу 48 м/мин).

Масло от насоса 14 попадает в проточку г. Масло от насоса 13 попадает также в проточку г, откуда, соединяясь з потоком масла от насоса 14, подводится к крановому распределителю 3 гідропанелі 4. Далее направление потока масла такое же, как при I положении рукоятки переключения швидкостей.

IV положение рукоятки переключения швидкостей. Золотник 10 переключения находится в крайнем левом положении, что соответствует четвертой скорости (рабочая скорость 24—48 м/мин, скорость обратного ходу 48 м/мин). Отличительной особенностью циркуляции масла является отсутствие слива масла в бак при рабочем ходе ползуна. Масло,вытесняемое из штоковой полости цилиндра 6 ползуна, поступает через проточки д, ю, и, к, отжимает золотник 8 остановки і через проточки ж, з попадает в проточку, откуда проходит через проточки в, гв проточку с. Таким образом к маслу, нагнетаемому в рабочую (поршневую) полость цилиндра 6 ползуна насоса 13 і 14, добавляется масло, вытесняемое из штоковой полости цилиндра 6 ползуна.


Возможные неисправности в гідроприводе верстата 7М36 (7М37) (рис. 58)

Перед отысканием неисправностей надо проверить і отрегулировать давление в системе на первой скорости:

  1. предохранительный клапан 6 настраивают на давление5-5,5 МПа
  2. клапан 4 реверса 6 настраивают на давление 2,8—3 МПа; приналаштуванні снимают задний упор і ползун доводят до упора поршня вкрышку
  3. золотник 5 остановки настраивают на давление 0,8 МПа

Гідроаппаратура поперечно-строгального верстата 7М36

7М36 Гідроаппаратура строгального верстата

Гідроаппаратура поперечно-строгального верстата 7м36

Гідроаппаратура строгального верстата 7М36. Дивитись у збільшеному масштабі







7М36 Верстат поперечно-строгальный з гідравлическим приводом. Відеоролик.



Технічні характеристики поперечно-строгального верстата 7М36

Наименование параметра 7М36 7М37
Основні параметри верстата
Класс точності верстата Н Н
Длина ходу ползуна, мм 150..710 150..1000
Наибольшее сечение резца, мм 25 х 40 30 х 45
Наибольшее расстояние от опорной поверхности резца до станины (вылет), мм 840 1140
Высота ползуна над рабочей поверхностью стола, мм 80..400 80..500
Стол
Розміри рабочей поверхности стола - верхней, мм 450 х 700 560 х 1000
Наибольшее перемещение стола - горизонтальное, мм 700 800
Наибольшее перемещение стола - вертикальное, мм 320 420
Число горизонтальных подач стола
Пределы горизонтальных подач стола, мм/дв.ход 0,2..5,0 0,2..5,0
Быстрое, горизонтальное перемещение стола, м/мин 2,38 2,38
Быстрое вертикальное перемещение стола, м/мин 0,168 0,168
Цена деления лимба горизонтального переміщення, мм 0,1 0,1
Цена деления лимба вертикального переміщення, мм 0,05 0,05
Ползун. Суппорт
Наибольшее вертикальное перемещение салазок суппорта (головки резца) от руки, мм 200 200
Цена деления лимба, мм 0,05 0,05
Розміри окна резцедержателя, мм 32 х 55 32 х 55
Наибольший угол поворота резцовой головки до входа в станину, град ±60 ±60
Наибольший угол поворота доски резцедержателя, град ±30 ±30
Наибольшее допустимое усилие різання, кН 28 28
Число ступеней швидкостей головного приводу (переміщення ползуна) 4 4
Числа двойных ходов ползуна в минуту
Диапазон швидкостей ползуна суппорта, мм/мин 3..8, 8..16, 16..24, 24..48 3..8, 8..16, 16..24, 24..48
Число подач суппорта
Подачи суппорта, мм/дв.ход 0,15..1,05 0,15..1,05
Електроустаткування. Привод
Количество електродвигателей на станке 2 2
Електродвигун головного руху, кВт 7,5 10
Електродвигун быстрых перемещений стола, кВт 1,1 1,1 -
Габарити і масса верстата
Габарити верстата (длина ширина высота), мм 2785 х 1750 х 11780 3600 х 1860 х 1945
Масса верстата, кг 3300 4500


    Список литературы:

  1. Копылов Р.Б. Работа на строгальных і долбежных верстатах, 1975
  2. Петруха П.Г. Резание конструкционных материалов, режущие инструменты і верстати, 1974
  3. Яковцев А.Д. Работа на строгальных і долбёжных верстатах, 1966