metalinstryment.com
Довідник по металорізальних верстатів та пресовому обладнанні

7М430 Електроустаткування верстата
Електросхема верстата

Фото долбежного верстата 7М430







Відомості про виробника долбежного верстата 7М430

Разработчиком і изготовителем долбежного верстата 7М430 является Гомельский станкостроительный завод им. С. М. Кирова СтанкоГомель, основанный в 1885 году.





Верстати, выпускаемые предприятием Гомельский станкостроительный завод им. С. М. Кирова, СтанкоГомель


7М430 долбежный верстат з гідравлическим приводом. Назначение і область применения

Гідрофицированный долбежный верстат моделі 7М430 предназначен для изготовления шпоночных пазов, шлицев і канавок на фасонных і плоских поверхностях, для долбления плоских і фасонных поверхностей, вырезов, канавок в цилиндрических і конических отверстиях і долбления з поднутрением до 10°.

Верстат предназначен для обробки наружных поверхностей изделий по высоте до 320 мм і обробки внутренних поверхностен изделий по высоте до 250 мм. Верстат пригоден для роботи в индивидуальном і мелкосерийном производстве, а также в ремонтных мастерских.

Наличие трёх видов подач стола (поздовжньої, поперечної і круговой) даёт возможность обробки на данном станке нескольких поверхностей з одной установки. Наличие механических подач стола, механізма автоматичного останова, дистанционного керування позволяет многостаночное обслуговування.

Верстат предназначен для обробки долблением плоских і фасонных поверхностей, пазов і канавок в разнообразных деталях, а также различных видов штампов, устанавливаемых непосредственно на столе или в приспособлениях. Возможность поворота рамы з долбяком позволяет обрабатывать наклонные плоскости, не меняя позиции детали.


Короткий опис конструкції верстата 7М430

Стол перемещается как вручную, так і механически. Круговая подача стола дает возможность обрабатывать на станке круглые детали і зубчасті колеса.

Верстат имеет гідравлическое перемещение долбяка і гідравлическую подачу стола на каждый его двойной ход. Кінематична схема верстата обеспечивает быстрое перемещение стола в продольном, поперечном і круговом направлениях от отдельного електродвигуна. Стол в указанных направлениях може перемещаться также вручную. В столе верстата имеется делительный механізм, позволяющий точно делить заготовку на нужное число частин.

Скорость руху долбяка по всей длине ходу постоянная. Верстат имеет ступенчато-дроссельное регулювання скорости долбяка і переміщення стола. Изменение направления руху долбяка происходит за счёт переключения золотника керування при помощи двух упоров, помещённых на крышке панелі керування. Этими же упорами регулируется длина і место ходу долбяка.

На правую сторону верстата выведены две рукоятки. Одна из них служит для переключения швидкостей руху долбяка, таких швидкостей в станке 4. Другой рукояткой производится плавное регулювання скорости в пределах каждой ступени.

В станке имеется механізм, позволяющий обрабатывать изделие на установленную длину обробки і автоматически выключающий верстат в кінці обробки; долбяк при етом останавливается в верхнем положении. Конструкція верстата обеспечивает автоматический отвод резца от вироби при обратном ходе. Верстат имеет дистанционное керування, осуществляемое от подвесной кнопочной станції. С кнопочной станції осуществляется пуск і зупинка головного двигуна, а также пуск, останов і налаштування долбяка. В станке имеется ограничитель холостого ходу — при останове долбяка останавливается главный двигатель. Верстат снабжен системой охлаждения инструмента. Смазка направляючих долбяка принудительная от отдельного резервуара при помощи плунжерного насоса і ручная от ручного лубрикатора.

Смазка стола — от 2-х ручных лубрикаторов.


Налаштування, наладка і режим роботи долбежного верстата 7М430

Выбор режима різання

Для выбора режима обробки на станке того или иного металла рекомендуется пользоваться справочниками по режимам різання.

Установка і наладка ходу долбяка

Налаштування величины ходу долбяка производится упорами. При заданной длине обробки упоры надо устанавливать так, чтобы разность на шкале между одним упором і другим определяла полную длину обробки з учетом перебегов резца на каждую длину.

Развод упоров обеспечивает обработку деталей по всей высоте.

Подвод резца к обрабатываемой детали производится кнопкой «Пуск долбяка», работающей в толчковом режиме, при етом переключатель цикла «Работа - наладка» должен находиться в положении «Наладка».

Установка подачі стола

Установка выбранной подачі стола осуществляется поворотом маховичка до момента, пока против риски указателя не установится необходимая цифра, соответствующая нужной подаче.

Регулювання верстата

В процессе експлуатации верстата возникает необходимость в регулировании окремих вузлів і елементів з целью восстановления их нормальной роботи.

Ниже указаны требующие регулювання, вузли і способы регулировки:

  1. Регулювання клина долбяка
  2. Регулювання клиньєв продольных і поперечных салазок стола
  3. Регулювання откидки резцовой головки осуществляется гайкой тормозного пристроя, а также гайками, непосредственно устанавливающими регулируемый зазор между откидной доской і долбяком;
  4. По истечении некоторого часу може оказаться необходимым регулювання підшибників качения, для чего требуется немного подтянуть круглые гайки или фланцы, создающие натяг в етих підшипниках;
  5. Регулювання предохранительной шариковой муфты осуществляется гайкой і контргайкой.
  6. Регулювання механізмов гідроприводу была рассмотрена в разделе «Гідропривід верстата»
  7. Тормозное пристрій коробки подач, служащее для предотобертання проворота вала в обратную сторону, регулируется тремя гайками.

Шероховатость обработанной поверхности не менее V 6

Класс точності верстата Н


Технічні характеристики долбежного верстата з гідравлическим приводом 7м430

Изготовитель Гомельский станкостроительный завод, СтанкоГомель.

Основні параметри верстата в соответствии з ГОСТ 1141-74.






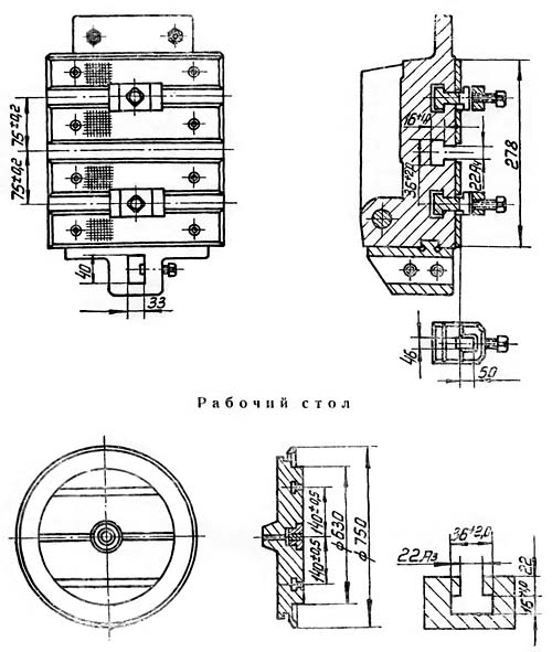
7М430 Посадочные і присоединительные базы долбежного верстата

Посадочные і присоединительные базы долбежного верстата 7М430

Посадочные і присоединительные базы долбежного верстата 7М430


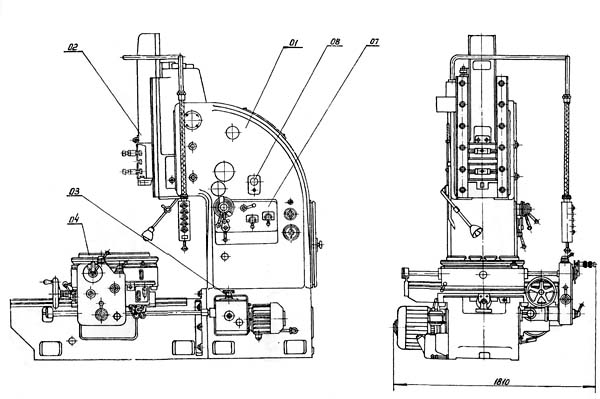
7М430 Загальний вигляд долбежного верстата

Загальний вигляд  і органы керування долбежного верстата 7М430

Фото долбежного верстата 7м430


7М430 Розташування складових частин долбежного верстата

7М430 Розташування складових частин долбежного верстата

Розташування складових частин долбежного верстата 7м430


7М430 Розташування складових частин долбежного верстата

Розташування складових частин долбежного верстата 7м430

Розташування складових частин верстата 7М430. Дивитись у збільшеному масштабі



Специфікація складових частин долбежного верстата 7М430


7М430 Розташування органів керування долбежным верстатом

Розташування органів керування долбежным верстатом 7М430

Розташування органів керування долбежным верстатом 7м430


Список органів керування долбежным верстатом 7М430

  1. Маховичок установки величины подачі
  2. Механізм налаштування переміщення стола на заданную величину обробки
  3. Маховичок для ручнoгo продольного переміщення стола
  4. Рукоятка увімкнення механической поздовжньої подачі
  5. Рукоятка реверса
  6. Рукоятка увімкнення механической круговой подачі
  7. Рукоятка увімкнення механической поперечної подачі
  8. Выключатель „Освещение"
  9. Кнопка „Пуск" швидкого переміщення стола
  10. Кнопка „Пуск" долбяка (дублированная з рукояткой 18)
  11. Кнопка „Пуск" головного двигуна
  12. Переключатель цикла „Работа — Наладка"
  13. Гайки для фиксации поворота салазок долбяка
  14. Квадрат для поворота салазок долбяка на угол
  15. Висящая кнопка „Стоп" головного двигуна
  16. Упоры для установки длины ходу долбяка
  17. Рукоятка для ручного переміщення ходу долбяка
  18. Рукоятка пуска і остановки долбяка
  19. Рукоятка бесступінчастого изменения скорости долбяка между ступенями
  20. Рукоятка ступінчастого изменения скорости долбяка
  21. Сигнальная лампочка подключения верстата к сети
  22. Пакетный выключатель електронасоса
  23. Пакетный выключатель сети
  24. Рукоятка прихвата поперечної салазки
  25. Рукоятка прихвата поздовжньої салазки
  26. Квадрат для ручного продольного переміщення стола
  27. Квадрат для ручного поперечного переміщення стола
  28. Рукоятка делительного механізма
  29. Гайки фиксации круглого стола





Електроустаткування долбежного з гідравлическим приводом верстата 7М430. 1961 год

Питание ланцюгів електроустаткування осуществляется следующими напряжениями:

Електроустаткування верстата предназначено для подключения к трехфазной сети переменного тока з глухозаземленным или изолированным нейтральным проводом.

На станке установлены четыре трехфазных короткозамкнутых асинхронных електродвигуна:


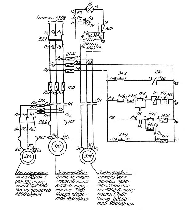
7М430 Електрична схема долбежного верстата

7М430 Схема електрична долбежного верстата

Електрична схема долбежного верстата 7м430

Електрична схема долбежного верстата 7м430. Дивитись у збільшеному масштабі



Условные обозначения долбежного верстата 7М430

Условные обозначения долбежного верстата 7М430

Условные обозначения долбежного верстата 7М430. Дивитись у збільшеному масштабі



Список елементів долбежного верстата 7М430

Список елементів долбежного верстата 7М430

Список елементів долбежного верстата 7М430. Дивитись у збільшеному масштабі



Список елементів долбежного верстата 7М430

Список елементів долбежного верстата 7М430

Список елементів долбежного верстата 7М430. Дивитись у збільшеному масштабі




Електроустаткування долбежного верстата 7М430

На станке установлены три електродвигуна.

В нише задньої частини верхней станины помещается електрошкаф. Дверцы шкафа имеют замковое пристрій і уплотнение из губчатой резины, что обеспечивает герметичность шкафа.

Аппаратура в шкафу крепится к панелі из стального листа з гетинаксовой прокладкой.

Монтаж панелі выполнен жестким проводом.

Подвесная кнопочная станція крепится на резиновом рукаве к кронштейну, который може поворачиваться относительно стойки, на которой он закреплен; ето даёт возможность устанавливать кнопочную станцию в любое положение, удобное для робочого.

Кронштейн местного освещения крепится з левой стороны станины к специальному платику.

Соединения електроустаткування между собой осуществляются з помощью газовых труб.

Опис принципиальной електросхеми

Електросхема верстата обеспечивает:

  1. Пуск і зупинка електродвигуна головного привода.
  2. Пуск і зупинка електронасоса.
  3. Пуск і зупинка електродвигуна ускоренных перемещений стола.
  4. Дистанционное керування долбяком з кнопочной станції (пуск і зупинка).
  5. Работу механізма отсчёта переміщення стола.
  6. Ограничение холостого ходу головного електродвигуна.
  7. Местное освещение верстата.

1. Пуск двигуна головного привода 1М осуществляется в следующей післядовательности: поворотом пакетного выключателя ВВ1 подается напряжение 380в от сети трехфазного переменного тока к електродвигунам і ланцюги керування. После нажатия на кнопку 1КУ (пуск) ток идет по ланцюги Л16-2-3-4-5-6-Л26.

Ток, пройдя через катушку магнитного пускателя 1К, включает главные контакты 1К в точках Л12-Л13, Л22-1С2,Л32-Лзз і пускает електродвигатель головного приводу 1М. Одновременно магнитный пускатель шунтирует кнопку 1КУ в точках 3—4.

Для виключення головного електродвигуна 1М необходимо нажать па кнопку 2КУ (стоп), которая при етом размыкает свои Н.З. контакты в точках 2—3 і обесточивает ланцюг катушки магнитного пускателя 1К.

2. Увімкнення і вимкнення електронасоса 2М осуществляется поворотом пакетного выключателя ВВ2.

3. Пуск і зупинка електродвигуна ускоренных перемещений «ЗМ» осуществляется кнопкой «ЗКУ» (пуск), работающей в толчковом режиме.

4. Дистанционное керування долбяком з кнопочной станції може осуществляться в двух режимах — наладочном і рабочем.

5. Конечный микропереключатель механізма отсчета перемещений стола «1KB» встроен в ланцюг керування головного електродвигуна «1М». При получении команды от механізма отсчета конечный выключатель «1KB» размыкает ланцюг Л16 2-3-4-5-6-Л26 в точках Л16—2 і обесточивает ланцюг катушки магнитного пускателя 1К.

6. Ограничение холостого ходу головного електродвигуна осуществляется кнопкой «2КУ», которая имеет (Н. 3.) контакты в ланцюги керування головного двигуна в точках 2—3 і Н.О. контакты в ланцюги останова долбяка в точках Л16—10. Таким образом, при останове долбяка произойдет также останов головного двигуна.

7. Лампа местного освещения питается пониженным напряжением 36 в переменного тока от вторичной обмотки трансформатора 380/36/6в. В ланцюги лампочки «Л1» имеется плавкий предохранитель «ЗПР» і выключатель «ВО». К выводу 6в подключается сигнальная лампочка Л, через гасящее сопротивление ПС.

Сигнальная лампочка Л2 зажигается при подаче напряжения от сети поворотом пакетного выключателя ВВ1.

Захист

  1. Захист головного електродвигуна «1М» от перегрузок осуществляется тепловым реле 1РТ.
  2. Захист електродвигателей «1М», «ЗМ» от коротких замыканий осуществляется плавкими предохранителями «1ПР», «2ПР», «4ПР».
  3. Захист електронасоса «2М» от перегрузок осуществляется тепловым реле «2РТ».
  4. Нулевая защита обеспечивается магнитными пускателями 1К і 2К






7М430 Верстат долбежный з гідравлическим приводом. Відеоролик.




Технічні характеристики долбежного верстата 7М430

Наименование параметра 7403 7405 7М430 7Д430
Основні параметри верстата
Класс точності верстата Н Н Н Н
Ход долбяка, мм 120..320 120..500 120..320 120..320
Диаметр стола, мм 630 800 630 630
Расстояние от плоскости стола до направляючих долбяка, мм 500 710 500 500
Расстояние от долбяка до станины (вылет), мм 615 710 590 615
Наибольшая высота обрабатываемого вироби при обработке наружной поверхности, мм 500 650 320 500
Наибольшая высота обрабатываемого вироби при обработке внутренней поверхности, мм 250 325 250 250
Долбежная головка верстата (долбяк)
Наибольшее перемещение долбяка в пределах рабочей зоны, мм 500 700 570 500
Наибольший угол поворота долбяка в направлении поздовжньої подачі, град 10° 10° 10° 10°
Наибольшее сечение резца, мм 32 х 20 40 х 25 40 х 25 32 х 20
Скорость долбяка под нагрузкой, м/мин 3..38 3..38 3..38
Рабочий стол верстата
Наибольшие переміщення стола продольные (по направляющим станины), мм 650 800 650 650
Наибольшие переміщення стола поперечные (по направляющим салазок), мм 510 650 500 510
Наибольшие переміщення стола круговые, град 360° 360° 360° 360°
Цена деления лимба при продольном і поперечном перемещении стола, мм 0,1 0,1 0,2 0,1
Перемещение стола за оборот лимба при продольном і поперечном перемещении стола, мм 0,7 1,4
Цена деления лимба при круговом перемещении стола, град
Перемещение стола за оборот лимба при круговом перемещении стола, град 0,86° 0,86°
Пределы подач за один двойной ход продольные, мм 0,1..2,5 0,1..2,5 0,2..2,4 0,1..2,5
Пределы подач за один двойной ход поперечные, мм 0,1..2,5 0,1..2,5 0,2..2,4 0,1..2,5
Пределы подач за один двойной ход круговые, град 0,1..1,4° 0,1..1,4° 0,1..1,4° 0,1..1,4°
Скорость швидкого переміщення стола продольная, мм/мин 2,8 2,8 2,5 2,8
Скорость швидкого переміщення стола поперечная, мм/мин 2,8 2,8 2,5 2,8
Скорость швидкого переміщення стола круговая, об/мин 4,5 4,5 4,07 4,5
Електроустаткування. Привод
Количество електродвигателей на станке 3 3 3 3
Електродвигун гідроприводу (головного руху), кВт (об/мин) 11 (970) 11 (970) 7 10
Електродвигун ускоренного переміщення стола, кВт 2,2 3,0 1,7 2,2
Електродвигун електронасоса СОЖ, кВт 0,12 0,12 0,12 0,12
Суммарная мощность всех електродвигателей, кВт 13,32 14,12
Габарити і масса верстата
Габарити верстата (длина ширина высота), мм 2850 х 2160 х 3010 3440 х 2760 х 3465 2650 х 1810 х 2890 3030 х 2175 х 3010
Масса верстата, кг 5660 8160 5200 5700


    Список литературы:

  1. Гідрофицированный долбежный верстат 7М430. Руководство к верстату, 1961

  2. Петруха П.Г. Резание конструкционных материалов, режущие инструменты і верстати, 1974, стр.438
  3. Яковцев А.Д. Работа на строгальных і долбёжных верстатах, 1966
  4. Копылов Р.Б. Работа на строгальных і долбежных верстатах, 1975









Подумай о своём будущем: положи сто рублей в карман зимней куртки.