metalinstryment.com
Довідник по металорізальних верстатів та пресовому обладнанні

6Р11 Верстат консольно-фрезерный вертикальний
схеми, опис, характеристики

6Р11 Верстат фрезерный консольный вертикальний



Відомості про виробника консольно-фрезерного верстата 6Р11

Производитель фрезерных верстатів 6Р11 Дмитровский завод фрезерных верстатів, основанный в 1940 году.

Основной продукцией завода является широкая гамма универсальных консольно-фрезерных верстатів з размером робочого стола от 250 x 630 мм до 400 x 1600 мм.





Верстати, выпускаемые Дмитровским заводом фрезерных верстатів, ДЗФС


6Р11 Верстат консольно-фрезерный вертикальний. Назначение, область применения

Універсальный консольно-фрезерный верстат 6Р11 предназначен для обробки различных изделий из стали, чугуна, цветных металлов і пластмасс цилиндрическими, торцовыми, дисковыми, угловыми і специальными фрезами.

Широкий диапазон швидкостей шпинделя і подач стола обеспечивает возможность обробки изделий на оптимальных режимах різання.

Класс точності верстата Н. Шероховатость обработанной поверхности V4—V5.

Для обертання шпинделя і механических подач стола предусмотрены приводы от окремих електродвигателей. Стол верстата 6Р11 може совершать быстрые переміщення в трех направлениях.

Ручной і механический приводы сблокированы. Выключение механических перемещений стола може осуществляться упорами і вручную. Для торможения шпинделя применяется електромагнитная муфта.

Повышенная мощность електродвигателей і жесткость верстата обеспечивают обработку изделий. на скоростных режимах різання твердосплавным инструментом.

Верстат 6Р11 може применяться в единичном мелкосерийном і серийном производстве.


Верстати консольно-фрезерные. Загальні відомості

Горизонтальные консольно-фрезерные верстати имеют горизонтально расположенный, не меняющий своего места шпиндель. Стол може перемещаться перпендикулярно к оси шпинделя в горизонтальном і вертикальном направлениях і вдоль оси, параллельной ей.

Універсальные консольно-фрезерные верстати отличаются от горизонтальных тем, что имеют стол, который може поворачиваться на требуемый угол.

Вертикальные консольно-фрезерные верстати имеют вертикально расположенный шпиндель, перемещающийся вертикально і в некоторых моделях поворачивающийся. Стол може перемещаться в горизонтальном направлении перпендикулярно к оси шпинделя і в вертикальном направлении.

Широкоуниверсальные консольно-фрезерные верстати в отличие от универсальных имеют помимо основного горизонтального шпинделя приставную головку со шпинделем, поворачивающимся вокруг вертикальной і горизонтальной осей.

Бесконсольно-фрезерные верстати имеют шпиндель, расположенный вертикально і перемещающийся в етом направлении. Стол перемещается только в продольном і поперечном направлениях.

Консольно-фрезерные верстати горизонтальные і вертикальные - ето наиболее распространенный тип верстатів, применяемых для фрезерных работ. Название консольно-фрезерные верстати получили от консольного кронштейна (консоли), который перемещается по вертикальным направляющим станины верстата і служит опорой для горизонтальных перемещений стола.

Типорозміри консольно-фрезерных верстатів принято характеризовать по величине рабочей (крепежной) поверхности стола. Консольно-фрезерные верстати могут мати горизонтальное, универсальное (широкоуниверсальные) і вертикальное виконання при одной і той же величине рабочей поверхности стола. Сочетание разных исполнений верстата при одинаковой основной размерной характеристике стола называют размерной гаммой верстатів.

В СССР было освоено производство консольно-фрезерных верстатів пяти типорозмірів:
№ 0; № 1; № 2; № 3 і № 4, причем по каждому размеру выпускалась полная гамма верстатів — горизонтальные, универсальные і вертикальные. Каждый верстат одной размерной гаммы имел в шифре одинаковое обозначение, соответствующее размеру рабочей поверхности стола.

В зависимости от размера рабочей поверхности стола различают наступні розміри консольно-фрезерных верстатів:

Размер Гамма верстатів Размер стола, мм
0 6Р10, 6Р80, 6Р80Г, 6Р80Ш 200 х 800
1 6Н11, 6Н81, 6Н81Г; 6Р11, 6Р81, 6Р81Г, 6Р81Ш 250 х 1000
2 6М12П, 6М82, 6М82Г; 6Р12, 6Р82, 6Р82Ш; 6Т12, 6Т82, 6Т82Г, 6Т82Ш 320 х 1250
3 6М13П, 6М83, 6М83Г; 6Р13, 6Р83; 6Т13, 6Т83, 6Т83Г 400 х 1600
4 6М14П, 6М84, 6М84Г 500 х 2000

В соответствии з размерами стола меняются габаритные розміри самого верстата і его основних вузлів (станины, стола, салазок, консоли, хобота), мощность електродвигуна і величина наибольшего переміщення (хода) стола в продольном, салазок в поперечном і консоли в вертикальном направлениях.


Обозначение консольно-фрезерных верстатів

6 - фрезерный верстат (номер группы по классификации ЭНИМС)

Р – серия (поколение) верстата (Б, К, Н, М, Р, Т)

1 – номер подгруппы (1, 2, 3, 4, 5, 6, 7, 8, 9) по классификации ЭНИМС (1 - вертикально-фрезерный)

1 – виконання верстата - типоразмер (0, 1, 2, 3, 4) (1 - размер робочого стола - 250 х 1000)


Буквы в кінці обозначения модели:

Г – верстат горизонтальный консольно-фрезерный з неповоротным столом

К – верстат з копировальным пристрійм для обробки криволинейной поверхности

Б – верстат з підвищеної производительностью (повышенный диапазон чисел оборотів шпинделя, подач стола і повышенная мощность двигуна головного руху).

П – точность верстата - (н, п, в, а, с) по ГОСТ 8-ХХ

Ш – верстат широкоуніверсальний

Ф1 – верстат з пристрійм цифровой индикации УЦИ і преднабором координат

Ф2 – верстат з позиционной системой числового керування ЧПУ

Ф3 – верстат з контурной (непрерывной) системой ЧПУ

Ф4 – верстат многоцелевой з контурной системой ЧПУ і магазином инструментов


Наиболее известные серии консольно-фрезерных верстатів, выпускаемых ДЗФС:


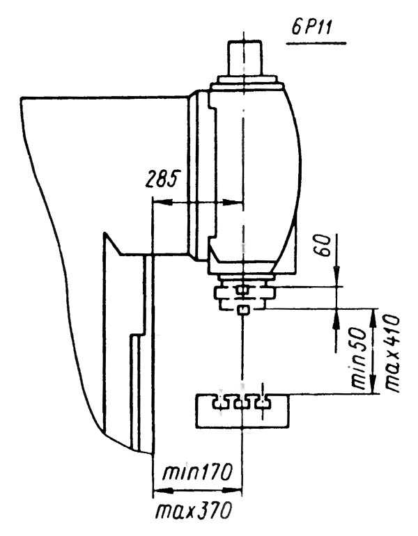
Габарит робочого простору фрезерного верстата 6Р11

6Р11 Габарит робочого простору фрезерного верстата

Габарит робочого простору фрезерного верстата 6р11


Загальний вигляд фрезерного верстата 6Р11

6Р11 Загальний вигляд  вертикального консольно-фрезерного верстата

Фото фрезерного верстата 6р11


6Р11 Загальний вигляд  вертикального консольно-фрезерного верстата

Фото фрезерного верстата 6р11


6Р11 Загальний вигляд  вертикального консольно-фрезерного верстата

Фото фрезерного верстата 6р11


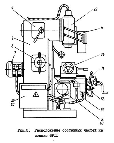
Розташування складових частин вертикального консольно-фрезерного верстата 6Р11

6Р11 составные частини універсального вертикального консольно-фрезерного верстата

Розташування основних вузлів фрезерного верстата 6р11

Складні частини вертикального консольно-фрезерного верстата 6Р11

  1. Станина - 6Р11-11.000
  2. Ограждение - 6Р11-12.000
  3. Привід шпинделя - 6Р11-21.01
  4. Коробка швидкостей - 6Р81Г-31.02
  5. Переключення коробки швидкостей - 6Р81Г-33.01
  6. Коробка подач - 6Н81Г-51.02А
  7. Редуктор - 6Н81Г-52.01
  8. Коробка реверса - 6Н81Г-53.01А
  9. Переключення подач - 6Н81Г-55.02
  10. Консоль - 6Н81Г-60.05
  11. Стол - 6Н81Г-70.01А
  12. Система змазки стола і консоли - 6Н81Г-83.02
  13. Система охлаждения - 6Р11-84.01
  14. Электрошкаф - 6Р81Г-95.02А
  15. Електроустаткування - 6Р11-99.06А
  16. Фрезерная головка - 6Р11-32.000

Розташування органів керування фрезерным верстатом моделі 6Р11

6Р11 Розташування органів керування фрезерным верстатом модели

Розташування органів керування фрезерным верстатом 6р11


Список органів керуванняя верстатом 6Р11 і их назначение

  1. Автоматический выключатель електросети
  2. Выключатель електронасоса охлаждения
  3. Переключатель направления обертання шпинделя
  4. Кнопка "Пуск шпинделя"
  5. Кнопка "Пуск подачі"
  6. Кнопка "Загальний стоп"
  7. Кнопка "Толчок шпинделя"
  8. Рукоятка переключения швидкостей шпинделя
  9. Рукоятка переключения перебора шпинделя
  10. Рукоятка переключения подач стола
  11. Рукоятка переключения перебора коробки подач
  12. Рукоятка увімкнення механической вертикальной подачі
  13. Рукоятка увімкнення механической поперечної подачі
  14. Рукоятка увімкнення механической поздовжньої подачі
  15. Маховик ручного продольного переміщення стола
  16. Рукоятка ручного вертикального переміщення стола
  17. Маховичок ручного поперечного переміщення стола
  18. Рукоятка увімкнення ускоренной подачі во всех направлениях
  19. Рукоятка закрепления стола от вертикального переміщення
  20. Рукоятка закрепления стола от продольного переміщення
  21. Рукоятка закрепления стола от поперечного переміщення
  22. Упоры виключення продольного механического переміщення стола
  23. Упоры виключення поперечного переміщення стола
  24. Упоры виключення вертикального переміщення стола
  25. Рукоятка приводу ручного насоса змазки
  26. Выключатель местного освещения
  27. Квадрат переміщення хобота
  28. Квадрат для закрепления хобота
  29. Винты і гайки закрепления верхних салазок от поворота (для верстата 6P81)
  30. Гайка закрепления серьги
  31. Маховичок переміщення пиноли
  32. Рукоятка зажиму пиноли
  33. Квадрат поворота головки
  34. Рукоятка переключения швидкостей поворотного шпинделя ползуна
  35. Переключатель направления обертання поворотного шпинделя
  36. Переключатель выбора роботи шпинделей (горизонтального, поворотного или обоих вместе)
  37. Маховичок увімкнення і регулювання подачі охлаждающей жидкости




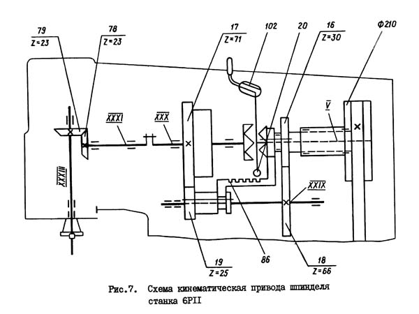
Кінематична схема вертикально-фрезерного верстата 6Р11

6Р11 Кінематична схема вертикально-фрезерного верстата

Кінематична схема вертикально-фрезерного верстата 6р11

Схема кінематична вертикально-фрезерного верстата 6Р11. Скачать в увеличенном масштабе



Кінематична схема приводу шпинделя верстата 6Р11

Кінематична схема приводу шпинделя верстата 6р11

6Р81 Схема розположення підшибників вертикально-фрезерного верстата

Схема розположення підшибників вертикально-фрезерного верстата 6р81

Схема розположення підшибників вертикально-фрезерного верстата 6Р81. Скачать в увеличенном масштабе



6р11 Схема розположення підшибників вертикально-фрезерного верстата

Схема розположення підшибників вертикально-фрезерного верстата 6р11

Схема розположення підшибників вертикально-фрезерного верстата 6р11. Скачать в увеличенном масштабе



Опис конструкції основних вузлів консольного верстата 6Р11


Привід шпинделя верстата 6Р11

Привід шпинделя і коробка швидкостей вертикально-фрезерного верстата 6р11

Привід шпинделя і коробка швидкостей фрезерного верстата 6р11

Привід шпинделя і коробка швидкостей вертикально-фрезерного верстата 6р11. Скачать в увеличенном масштабе



Вращение шпинделю передається от коробки швидкостей клиноременной передачей, которая размещается в задньої полости станины под крышкой. От шкива, соосного со шпинделем, вращение післяднему сообщается или прямым соединением их кулачковой муфтой или через две зубчасті передачи 16-18 і 19-17 (рис.9)

Опорами шпинделя служат підшипники качения: два радиально-упорных впереди і один шариковый в задньої опоре.

Регулювання зазору в підшипниках передньої опори возможно только при полной разборке шпинделя - раздел "Регулювання верстатів").

Фрезерная поворотная головка консольного верстата 6Р11

6Р11 Фрезерная головка консольного верстата

Фрезерная головка консольного верстата 6р11

Корпус поворотной головки имеет центрирующую шейку, которая при установці на верстат входит в расточку станины. Вращение от шлицевого вала XXX (см.рис.7 і 14) приводу передається на коническую пару колес 78, 79, далее - на вал XXXI і через пару цилиндрических колес 80, 81 на шпиндель ХХХII.

Шпиндель смонтирован в гильзе на радиальноупорных підшипниках.

Підшипники шпинделя консольно-фрезерного верстата 6р11

Шпиндель верстата 6Р11 смонтирован на 3-х підшипниках:


Технічні характеристики підшипника 46216

Подшипник 46216 - ето шариковый однорядный радиально-упорный подшипник з углом контакта 26°. Поскольку ряд шариков один, то осевую нагрузку данный тип способен воспринимать только в одну сторону. В случае необходимости фиксации вала в обе стороны підшипники устанавливают парами. На валы з високою точностью исполнения ставят притертые друг к другу на заводе підшипники з точно совпадающими углами контакта (так называемые «дуплексы»). Они продаются в комплекте і имеют маркировку 446216.

Основной завод по выпуску радиально-упорных підшибників в нашей стране — саратовский завод ОАО «СПЗ». Здесь изготавливают наступні модификации етого типа: Т-46216Л, 4-46216Л, 6-46216Л, 46216Л (Т, 4, 6 — классы точності. Нулевая точность в номере не отображается). Также сборка етого типа осуществляется і в Самаре на СПЗ-4 (ориентировочную цену можно посмотреть здесь). Підшипники етого производителя значительно дешевле, но і похуже.

Импортные підшипники (например, SKF і FAG), етого типа имеют маркировку по ISO - 7216A. Сепаратор из латуни отражается наличием в номере буквы М.

Розміри і характеристики підшипника 46216 (7216A):

Схема підшипника 46216

Схема підшипника 46216


Фото підшипника 46216

Фото підшипника 46216


Технічні характеристики підшипника № 216

Подшипник 216 - ето однорядный шариковый радиальный подшипник.

Этот подшипник, как і все другие шариковые однорядные підшипники производится в нескольких развновидностях и, соответственно, отличаются номера. Закрытый резиновыми заглушками з обеих сторон — 180216, закрытый металлическими шайбами з двух сторон — 80216 і з одной стороны — 60216, з канавкой под стопорное кольцо — 50216. Также підшипники могут в зависимости от области применения изготавливаться усиленные (216 А) — з увеличенным количеством тел качения, з латунным сепаратором (216 Л). Однако, зачастую не стоит заострять на додаткових обозначениях излишнее внимание і подойдут обычные підшипники. Класс точності — нулевой, 4, 5 і 6. Как правило, предлагают 6 класс точності. Серийно производятся только підшипники основного конструктивного исполнения. В закрытые вироби смазка вносится уже на заводе, а її тип кодируется в номере С17 (литол-24), С9 (ЛЗ-31).

Основні российские производители — 3 (Саратов), 23 (Вологда) заводы, также к ним можно отнести СПЗ-4 (Самара, производство из китайских комплектующих более-менее приемлемого качества). Также производит ХАРП, Украина (8 ГПЗ). Підшипники з другой маркировкой брать не рекомендуется — скорее всего они имеют китайское происхождение, либо є неликвидами, продукцией уже не существующих заводов, і не прослужат долго. Ориентировочная цена новых изделий не може быть меньше 340 (СПЗ-4) — 400 (российские заводы) рублей.

Импортные підшипники данного типоразмера обозначаются как 6216 /Рх (где х — класс точності изготовленного підшипника і варьирует от 2 до 6) з дополнительными обозначениями защитных шайб і заглушек как Z, ZZ или 2RS. Латунный сепаратор обозначается буквой М. Дополнительный тепловой зазор — буквой С3 (аналог нашего зазору 70). Самая дешевая марка — FBJ стоит около 600 рублей (если Вам предлагают «импортный» подшипник дешевле етой цены, то ето повод усомниться в его происхождении), наиболее же дорогие марки (FAG, SKF, KOYO і другие) имеют цену до 2000 рублей і выше (при етом открытые модификации, естественно, дешевле закрытых, также сильно влияет какой именно производитель і модификация вироби).

Розміри і характеристики підшипника 216 (6216)

Схема підшипника 216 (6216)

Схема підшипника 216 (6216)



Коробка швидкостей верстата 6Р11

Коробка швидкостей з електродвигуном на корпусе крепится к станине фланцем. Корпус її при етом входит в полость станины, залитую смазочным маслом. На корпусе установлен плунжерный смазочный насос, приводимый в действие от ексцентрика Для доступа к насосу на правой стороне станины имеется окно з крышкой.

Переключення швидкостей в коробке производится от кулачка 129 (см.рис.6) з криволинейными пазами на торцах. Вал кулачка муфтой соединяется з валом шкалы і рукояток переключения 101, расположенных снаружи станины. Соединительная муфта свободно снимается з вала кулачка, когда крышка переключения открепляется от станины.

При разборке коробки швидкостей следует отметить положение кулачка і положение шкалы частоти обертання, чтобы восстановить правильную их взаимосвязь при сборке.

Коробка подач. Редуктор верстата 6Р11

Коробка подач і редуктор вертикально-фрезерного верстата 6р11

Коробка подач і редуктор фрезерного верстата 6р11

Коробка подач і редуктор вертикально-фрезерного верстата 6р11. Скачать в увеличенном масштабе



Корпуса коробки подач і редуктора соединяются гвинтами в единый узел, після чего устанавливаются в полость консоли слева. Справа консоли, через окно з крышкой, выступает вал редуктора з рукояткой, включающей муфту ускоренного ходу.

Выходная шестерня редуктора 47 (рис. 10,11) сцепляется з шестерней 49 коробки реверса.

Переключення скользящих шестерен в коробке подач осуществляется так же как і в коробке швидкостей кулачком 130 (см.рис.6).

Вал его сцеплен со шкалой і рукояткой переключения 103 (см.рис.6) вузла 55 (см.рис.11) укрепленного спереди консоли.

Узел 55 свободно снимается після удаления крепежных винтов. Не следует забывать отметить взаимосвязь шкалы подач і положения кулачка в коробке при разборке, чтобы затем правильно собрать переключение.

Коробка реверса верстата 6Р11

Коробка реверса вертикально-фрезерного верстата 6р11

Коробка реверса фрезерного верстата 6р11

Коробка реверса вертикально-фрезерного верстата 6р11. Скачать в увеличенном масштабе



Механізм коробки реверса получает вращение от редуктора і через предохранительную муфту передает вращение к ходовым гвинтам продольного, поперечного і вертикального перемещений стола. Увімкнення обертання того или иного ходового гвинта, в прямом і обратном направлении, производится кулачковыми муфтами з помощью рукояток 105, 106, 107 (см.рис.6 і II).

Для ручных перемещений стола служат рукоятка 109 і маховичок 110, которые установлены на валах свободно, а в момент использования сцепляются з валами з помощью кулачковых муфт.

В коробке реверса предусмотрена блокировка, предупреждающая увімкнення механической подачі, если не расцеплены з валами рукоятка 109 і маховичок 110.

Блокировка обеспечивается шариками, вложенными в радиальные отверстия валов под ступицами рукоятки 109 і маховичка 110.

При снятии післядних шарики могут выпасть, необходимо установить их при сборке на место.

При установці коробки реверса в консоль следует соединить наступні елементы:

  1. ввести конец вала XIX (см.рис.6) со шпонкой в отверстие коническим зубчатым колесом 58;
  2. сланцюгить зубчасті колеса 57 і 49 з колесами 61 і 47;
  3. ввернуть винт ХVIII в гайку 55 поперечного переміщення.

Консоль верстата 6Р11

Консоль вертикально-фрезерного верстата 6р11

Консоль фрезерного верстата 6р11

Консоль вертикально-фрезерного верстата 6р11. Скачать в увеличенном масштабе



В консоли размещены вузли механізма подачі, описанные выше.

Винт поперечного переміщення стола имеет опори в коробке реверса і выходит из консоли наружу через отверстие.

Непосредственно, в отверстиях корпуса консоли установлены конические зубчасті колеса і винт вертикального переміщення стола.

Рух к винту продольного переміщення стола сообщается от зубчатого колеса 57 (см. рис.6) коробки реверса через вал XXI (см.рис.6 і 12) і паразитное зубчатое колесо 63. Вал XXI смонтирован в гильзе, установленной в отверстии корпуса консоли.

Зубчатое колесо 63 помещено в окне специальной пробки, посаженной в отверстие сверху консоли так, что зубья выступают над поверхностью направляючих.

Стол верстата 6Р11

Стол вертикально-фрезерного верстата 6р11

Стол фрезерного верстата 6р11

Стол вертикально-фрезерного верстата 6р11. Скачать в увеличенном масштабе



В нижней частини салазок стола установлено зубчатое колесо 64 (см.рис.6 і 13), сцепленное з зубчатым колесом консоли 63. Благодаря большой длине зубчатого колеса 64 в течение всего поперечного переміщення стола сохраняется зацепление і обеспечивается передача обертання к продольному винту стола.

Вращение гвинта продольного переміщення осуществляется коническими зубчатыми колесами 70 і 71 з кулачками на торцах. Между коническими колесами находится втулка со шпонкой внутри і кулачковой муфтой 143 снаружи. Увімкнення кулачковой муфты в ту или иную сторону производится рукояткой 107, чем і обеспечивается рух стола вправо і влево.

Гайка гвинта продольного переміщення стола снабжена пристрійм автоматичною выборки зазору. Гайка состоит из двух частин, опирающихся буртами (через шариковые подпятники) на торцы несущего их кронштейна.

На наружной цилиндрической поверхности обеих полугаек нарезаны зубья, сцепленные з рейками 145.

Рейки з свою очередь связаны между собой зубчатым колесом 75 і ограничиваются в своем перемещении в направлении от станины гвинтами, Эти винты з контргайками видны спереди салазок.

Во время попутного фрезерування усилие подачі на винте направлено в сторону противоположную движению стола. Оно вызывает трение в витках той гайки, которая при етом прижимается к кронштейну. За счет зусилля трения гайка поворачивается вместе з винтом на некоторый угол. Такой же поворот благодаря связи их реечной системой делает вторая полугайка, но в обратном направлении.

Таким образом, обе полугайки навинчиваются на винт и, упираясь буртами в подпятники, как бы растягивают винт, зазор в витках в ето время выбирается. При фрезеровании против подачі направление зусилля на витке не вызывает описанного выше еффекта і зазор в витках сохраняется.





Налаштування і наладка верстата 6Р11. Режими різання

Режими різання на верстатах назначаются по технологическим справочникам. При етом необходимо учесть:

Следует изменить режим різання (подачу на зуб) или инструмент (применить фрезу з неравномерным шагом зубьев).

Установка на верстатах необходимой частоти обертання шпинделя производится поворотом рукояток 101 (см.рис.3-5) до совмещения нужной цифры шкалы з указателем на крышке. Затем рукояткой 102 устанавливается высокий (315..1600 об/мин) или низкий (50..250 об/мин) ряд частот обертання.

Частота обертання поворотного шпинделя верстата 6Р81Ш устанавливается з помощью трех рукояток 127, имеющих следующее назначение:

При работе рукоятками следует доводить их всегда до фиксированного положения.

ВНИМАНИЕ!

Во избежание ошибочного увімкнення аварийных для верстата і инструмента режимов різання будьте особенно внимательны при установці рукояток 102 і 127-B, т.к. они изменяют частоту обертання шпинделей соответственно в 6,3 і 8 раз.

Установка требуемой величины подачі достигается вращением рукояток 103 до совмещения з указателем необходимой цифры шкалы. Рукояткой 104 устанавливается один из двух рядов рабочей подачі стола: 35..170 мм/мин или 210..1020 мм/мин.

ВНИМАНИЕ!

Будьте внимательны при установці рукоятки 104, т.к. ошибочное її увімкнення резко изменяет величину рабочей подачі.

Установка инструмента на верстат

Цилиндрические фрезы устанавливаются общеизвестным порядком на оправках, поддерживаемых одной или двумя поддержками (серьгами). При етом следует учитывать, что для нормального фрезерування і высокого качества поверхности необходимо обеспечить:

Обработка спиральных поверхностей з применением делительной головки

Плавность подачі при фрезеровании спиральных поверхностей находится в прямой зависимости от количества оборотів ходового гвинта, приходящихся на один оборот вироби: чем оно больше, тем более спокойно резание і наоборот. Исходя из етого, рекомендуется не превышать следующих величин угла наклона спирали:

Охлаждение фрез при резании (рис.27) Охлаждение применяется только к фрезам из быстрорежущей стали і при обработке стали. Охлаждающая жидкость подается из резервуара в основании верстатів електронасосом, который вместе з трубопроводом находится в нише сзади станины под крышкой. Наружная часть трубопровода снабжена металлическим наконечником з соплом і краном регулювання потока жидкости.

Использованная жидкость возвращается в резервуар основания, проходя через отстойники, задерживающие металлические частиницы.

Резервуар следует промывать і освобождать отстойники по мере необходимости.





Регулювання верстатів

В процессе експлуатации може возникнуть необходимость в регулировании некоторых складових частин верстатів і их елементів з целью восстановления их нормальной роботи. Ниже приводятся способы регулювання или указания на разделы руководства, где они описаны.

Клиноременная передача от коробки швидкостей к шпинделю помещается в нише сзади станин под крышкой (рис.28). При вытяжке ремней следует ослабить гайки 181 і вращением гайки 182 повернуть фланец, несущий шкив. Ремни натянутся, після чего нужно затянуть гайки 181.

Если наблюдаются "подрывы" стола при попутном фрезеровании, необходимо уменьшить зазор в резьбе ходового гвинта. Способ регулировки механізма выборки зазору описан в разделе "Стол" (см.рис.13).

Регулювання підшибників шпинделя може потребоваться только після длительной роботи, так как радиально-упорные підшипники в передньої опоре устанавливаются з предварительным натягом. Уменьшение зазору в підшипниках возможно только путем подшлифовки кольца і затяжки гайки, фиксируемой гвинтами. Для етой операции потребуется полная разборка шпинделя.

Регулювання клиньєв стола і салазок осуществляется одинаково подтягиванием винтов 187 (рис.29). После того, как установлен нормальный зазор в направляючих, клинья подпираются з тонкого кінця гвинтами 188. Затяжку винтов 188 не следует производить з силой, чтобы не деформировать клин 186.

Регулювання верхнего і нижнего клиньєв консоли производится подтягиванием винтов 189.

Регулювання предохранительной муфты механізма подачі осуществляется подтягиванием гайки, для чего необходимо вынуть узел из консоли (см.рис.II).

Предохранительная муфта отрегулирована на заводе-изготовителе так, чтобы она проскальзывала при фрезеровании чугунного образца цилиндрической фрезой со вставными ножами из быстрорежущей стали диаметром 100 мм, з числом зубьев 12 на режиме:

Без крайней нужды потребитель не должен нарушать регулировки предохранительной муфты, выполненной заводом-изготовителем. При необходимости регулировки муфты следует выдержать указанный выше предельный режим різання.


Особливості разборки верстатів 6Р11

На верстатах затруднен демонтаж коробки подач і редуктора из консоли. Для демонтажу необходима полная разборка консоли, которая должна осуществляться в следующем порядке:


Схема електрична блока живлення фрезерного верстата 6Р11

6Р11 схема електрична вертикального консольно-фрезерного верстата

Електрична схема консольного верстата 6р11


Розташування електроустаткування на фрезерном станке 6Р11

6Р11 Розташування електроустаткування на фрезерном станке

Розташування електроустаткування на фрезерном станке 6р11


Настановне креслення фрезерного верстата 6Р11

6Р11 Настановне креслення вертикального консольно-фрезерного верстата

Настановне креслення фрезерного верстата 6р11




6Р11 Верстат консольно-фрезерный вертикальний. Відеоролик.





Технічні характеристики верстата 6Р11

Наименование параметра 6К11 6К12 6Р11
Класс точності по ГОСТ 8-71 і ГОСТ 8-82 Н Н Н
Рабочий стол
Розміри рабочей поверхности стола (длина х ширина), мм 250 х 1000 320 х 1250 250 х 1000
Максимальная нагрузка на стол (по центру), кг
Число Т-образных пазов Розміри Т-образных пазов 3 3 3
Наибольшее перемещение стола продольное (ось X), мм 710 850 630
Наибольшее перемещение стола поперечное (ось Y), мм 250 250 200
Наибольшее перемещение стола вертикальное (ось Z), мм 400 400 350
Наименьшее і наибольшее расстояние от торца шпинделя до стола 50..400
Расстояние от оси вертикального шпинделя до направляючих стойки, мм 285
Наибольший угол поворота стола, град нет нет нет
Перемещение стола на одно деление лимба (продольное, поперечное), мм 0,05
Перемещение стола на одно деление лимба (вертикальное), мм 0,025
Перемещение стола на один оборот лимба продольное і поперечное, мм 6
Перемещение стола на один оборот лимба вертикальное, мм 3
Шпиндель
Ход гильзы шпинделя, мм 75 75 60
Частота обертання шпинделя, об/мин (число ступеней) 16..1600 (21) 16..1600 (21) 31,5..1600 (18)
Количество швидкостей шпинделя 21 21 18
Ескіз кінця шпинделя по ГОСТ 836-72 45
Конус шпинделя ISO 50 ISO 50
Угол поворота шпинделльной головки, град ±90° ±90°
Механіка верстата
Быстрый ход стола продольный/ поперечний, мм/мин 2900/ 2300 2900/ 2300 3150
Быстрый ход стола вертикальний, мм/мин 765 765 1050
Число ступеней рабочих подач стола 16 16 16
Пределы рабочих подач. Продольных/ поперечных, мм/мин (число ступеней) 31..1020 (16) 31..1020 (16) 25..800 (16)
Пределы рабочих подач поперечных, мм/мин (число ступеней) 27..790 (16) 27..790 (16) 25..800 (16)
Пределы рабочих подач. Вертикальных, мм/мин 9..264 9..264 8,3-266,7
Выключающие упоры подачі (поздовжньої, поперечної, вертикальной) есть есть есть
Блокировка ручной і механической подачі (поздовжньої) нет
Блокировка ручной і механической подачі (поперечної, вертикальной) есть есть есть
Торможение шпинделя (муфта) есть есть есть
Предохранение от перегрузки (шариковая пара) есть есть есть
Привод. Електроустаткування
Електродвигун приводу головного руху, кВт (об/мин) 5,5 5,5 5,5 (1450)
Електродвигун приводу подач, кВт (об/мин) 1,5 1,5 1,5 (1450)
Электронасос охлаждающей жидкости Тип Х14-22М
Электронасос охлаждающей жидкости, кВт 0,12
Производительность насоса СОЖ, л/мин 22
Габарит і масса верстата
Габарити верстата (длина ширина высота), мм 2135 х 1725х 2290 2135 х 1865х 2290 1480 х 2360 х 2360
Масса верстата, кг 2350 2380 2360

    Список литературы:

  1. Консольно-фрезерные верстати 6Р81Г, 6Р81, 6Р11, 6Р81Ш. Руководство по експлуатации, 1983

  2. Аврутин С.В. Основы фрезерного дела, 1962
  3. Аврутин С.В. Фрезерне дело, 1963
  4. Ачеркан Н.С. Металлорежущие верстати, Том 1, 1965
  5. Барбашов Ф.А. Фрезерне дело 1973, с.141
  6. Барбашов Ф.А. Фрезерные роботи (Профтехобразование), 1986
  7. Блюмберг В.А. Справочник фрезеровщика, 1984
  8. Григорьев С.П. Практика координатно-расточных і фрезерных работ, 1980
  9. Копылов Р.Б. Работа на фрезерных верстатах,1971
  10. Косовский В.Л. Справочник молодого фрезеровщика, 1992, с.180
  11. Кувшинский В.В. Фрезерование,1977
  12. Ничков А.Г. Фрезерные верстати (Библиотека станочника), 1977
  13. Пикус М.Ю. Справочник слесаря по ремонту металлорежущих верстатів, 1987
  14. Плотицын В.Г. Расчёты настроек і наладок фрезерных верстатів, 1969
  15. Плотицын В.Г. Наладка фрезерных верстатів,1975
  16. Рябов С.А. Современные фрезерные верстати і их оснастка, 2006
  17. Схиртладзе А.Г., Новиков В.Ю. Технологическое обладнання машиностроительных производств, 1980
  18. Тепинкичиев В.К. Металлорежущие верстати, 1973
  19. Чернов Н.Н. Металлорежущие верстати, 1988
  20. Френкель С.Ш. Справочник молодого фрезеровщика (3-е изд.) (Профтехобразование), 1978





6Р11 - верстат горизонтальный консольно-фрезерный, (pdf) 1,6 Мб, Скачать