metalinstryment.com
Довідник по металорізальних верстатів та пресовому обладнанні

6Д81Ш Верстат консольно-фрезерный широкоуніверсальний
схеми, опис, характеристики

Верстат широкоуніверсальний фрезерный консольный 6Д81Ш







Відомості про виробника консольно-фрезерного верстата 6Д81Ш

Производитель консольно-фрезерного широкоуніверсального верстата моделі 6Д81Ш - Дмитровский завод фрезерных верстатів, основанный в 1940 году.

Основной продукцией завода является широкая гамма универсальных консольно-фрезерных верстатів з размером робочого стола от 250 x 630 мм до 400 x 1600 мм.





Верстати, выпускаемые Дмитровским заводом фрезерных верстатів, ДЗФС


6Д81Ш Верстат фрезерный консольный широкоуніверсальний. Назначение і область применения

Консольно-фрезерный верстат моделі 6Д81Ш предназначен для фрезерування плоских і фасонных поверхностей всевозможных деталей из стали, чугуна і цветных металлов цилиндрическими, дисковыми, фасонными, угловыми, торцовыми, кінцівыми і другими фрезами в условиях индивидуального і серийного производства.

Возможность налаштування верстата 6Д81Ш на различные напівавтоматические і автоматические циклы позволяет успешно использовать верстати для выполнения работ операционного характера в поточных і автоматических лініях в крупносерийном производстве.

На станке 6Д81Ш можно обрабатывать вертикальные і горизонтальные плоскости, пазы, углы, рамки, зубчасті колеса, можно фрезеровать всевозможные спирали, для чего стол его поворачивается вокруг своей вертикальной оси.

На станке моделі 6Д81Ш можно успешно обрабатывать легкие сплавы.

Особливості конструкції верстата 6Д81Ш

Фрезерные верстати 6Д81Ш предназначены для выполнения различных фрезерных работ в условиях как индивидуального, так і крупносерийного производства. В условиях крупносерийного производства верстати могут быть успешно использованы также для выполнения работ операционного характера.

Широкоуніверсальний фрезерный верстат 6Д81Ш имеет два шпинделя, из которых один горизонтальный, второй расположен в поворотной головке і може быть установлен под углом ±90° в поздовжньої плоскости стола і под углом ±45° в поперечної плоскости стола.

Технічна характеристика і высокая жесткость верстатів позволяют полностью использовать возможности как быстрорежущего, так і твердосплавного инструмента.

Технологические возможности верстата могут быть расширены з применением делительной головки, поворотного круглого стола, накладной универсальной головки і других пристосувань.

Верстати автоматизированы і могут быть настроены на различные, автоматические циклы, что повышает производительность труда, исключает необходимость обслуживания верстатів рабочими високою квалификации і облегчает возможность организации многостаночного обслуживания.

Станина имеет жесткую конструкцию за счет развитого основания і большого числа ребер.

По вертикальным направляющим станины перемещается консоль, по горизонтальным направляющим перемещается хобот или ползун.

С правой стороны на станине установлен електрошкаф.

Коробка швидкостей смонтирована непосредственно в корпусе станины.

Соединение коробки з валом електродвигуна осуществляется упругой муфтой.

Шпиндель головного привода представляет собой двухопорный вал, смонтированный в расточках станины. Вращение шпинделю передається от коробки швидкостей через шестерни.

Ползун имеет установочное перемещение, а в рабочем положении закрепляется на горизонтальных направляючих станины.

В корпусе ползуна размещается механізм приводу поворотного шпинделя. Привід осуществляется от фланцевого електродвигуна через упругую соединительную муфту.

Шпиндель фрезерной головки може устанавливаться в разные положения поворотом его корпуса вокруг двух взаимно перпендикулярных осей, а также перемещаться имеете з ползуном параллельно оси горизонтального шпинделя.

Особенностями конструкції верстата являются:

Для сокращения вспомогательного часу і удобства керування в верстатах предусматриваются:


Пределы использования верстатів по мощности і силовым нагрузкам

При высоких і средних числах оборотів шпинделя пределы использования верстатів ограничиваются головним образом допустимыми значениями швидкостей різання для фрез і мощностью електродвигуна головного руху.

Во всех случаях обробки, где возможно применение скоростного фрезерування, рекомендуется использовать верстати на скоростных режимах как наиболее производительных і обеспечивающих спокойную, виброустойчивую работу верстатів.

Фрезерование цилиндрическими быстрорежущими фрезами разрешается з нагрузкой стола усилием подачі не более 1500 кг.

Как показала практика експлуатации консольно-фрезерных верстатів, при работе фрезами из быстрорежущей стали иногда при некотором соотношении параметров режимов різання возникают вибрации. В етих случаях рекомендуется увеличить подачу на зуб или применить фрезы конструкції Карасева з неравномерным шагом і крутой спиралью.

При работе верстата на тяжелых режимах різання лимитирующими факторами, как правило, є стойкость і прочность режущего инструмента.

С етой точки зрения можно рекомендовать в качестве предельных режимов фрезерування наступні:

Наиболее рациональным является использование полной мощности електродвигуна при работе на средних числах оборотів шпинделя і использование 70—75% мощности електродвигуна при работе на низких (4—-5 ступенях) числах оборотів.

Класс точності верстата П по ГОСТ 8—77.

Изделия, входящие в комплект і стоимость верстата 6Д81Ш

Изделия, поставляемые по требованию заказчика за отдельную плату


Наиболее известные серии консольно-фрезерных верстатів, выпускаемых ДЗФС:





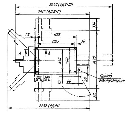
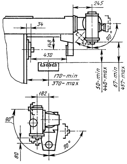
6Д81Ш Габарит робочого простору фрезерного верстата

6Д81Ш Габаритные розміри робочого простору широкоуніверсального консольно-фрезерного верстата

Габарит робочого простору фрезерного верстата 6д81ш


6Д81Ш Посадочные і присоединительные базы фрезерного верстата

6Д81Ш Посадочные і присоединительные базы широкоуніверсального консольно-фрезерного верстата. Кінець горизрнтального шпинделя

Кінець горизонтального шпинделя фрезерного верстата 6д81ш


6Д81Ш Посадочные і присоединительные базы широкоуніверсального консольно-фрезерного верстата. Кінець вертикального поворотного шпинделя

Кінець вертикального поворотного шпинделя фрезерного верстата 6д81ш


6Д81Ш Посадочные і присоединительные базы широкоуніверсального консольно-фрезерного верстата. Рабочий стол

Рабочий стол консольно-фрезерного верстата 6д81ш


6Д81Ш Загальний вигляд широкоуніверсального консольно-фрезерного верстата

Загальний вигляд  6Д81Ш cтанок широкоуніверсальний консольно-фрезерный

Фото консольно-фрезерного верстата 6д81ш


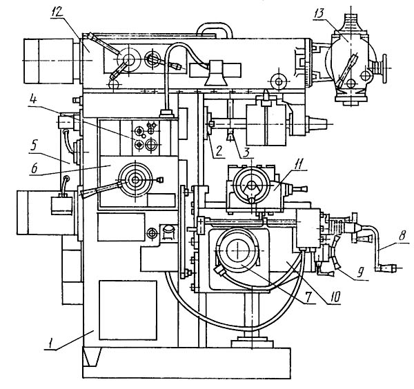
Розташування складових частин на фрезерном станке 6Д81Ш

Розташування складових частин консольного широкоуніверсального фрезерного верстата 6Д81Ш

Розташування основних частин на фрезерном станке 6д81ш

Список складових частин на станке 6Д81Ш

  1. Станина
  2. Коробка швидкостей
  3. Охлаждение
  4. Електроустаткування
  5. Станція керування
  6. Переключення швидкостей
  7. Коробка подач
  8. Коробка реверса
  9. Переключення подач
  10. Консоль
  11. Стол
  12. Ползун
  13. Фрезерная поворотная головка




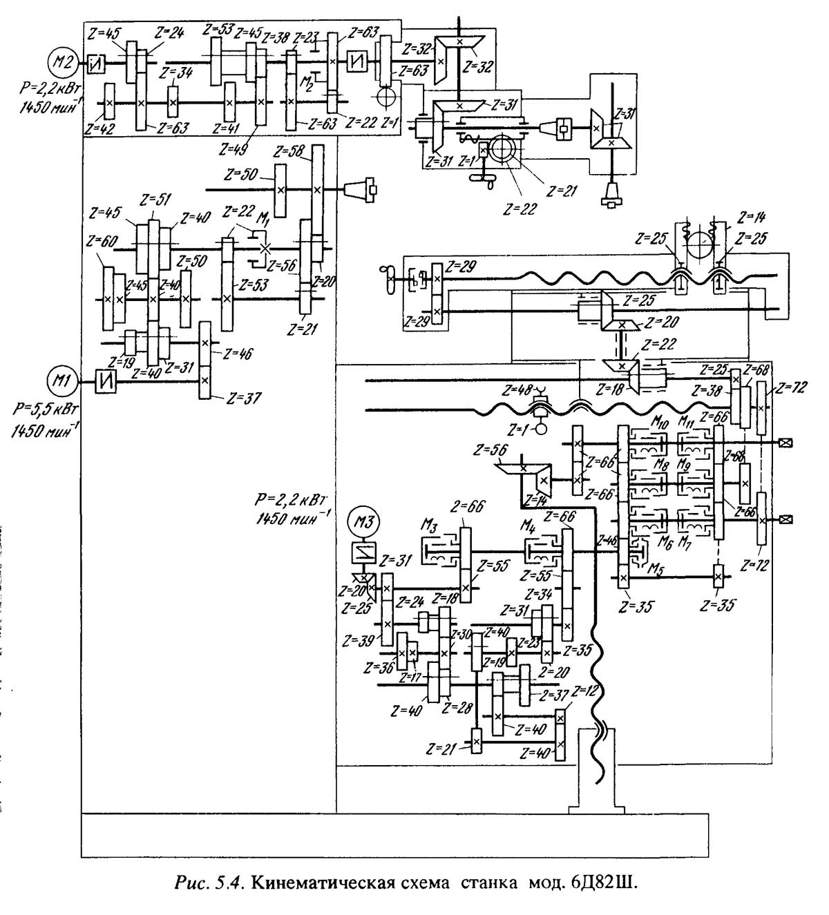
Кінематична схема фрезерного верстата 6Д81Ш

Кінематична схема консольно-фрезерного верстата 6Д81Ш

Кінематична схема фрезерного верстата 6д81ш

Кінематична схема консольно-фрезерного верстата 6Д81Ш. Скачать в увеличенном масштабе



Кінематична схема верстата мод. 6Д821Ш (рис. 5.4). Привід головного руху служит для обертання фрезы і осуществляется двигателем Ml. В приводе предусмотрен перебор з передачами 22/53 і 21/56, при етом двойной блок стоит всегда в правом положении (передача 20/58); при выключении перебора передвигают вправо колеса 21 і 22, причем післяднее входит в зацепление з внутренним зубчатым венцом і становится полумуфтой М1. В приводе от двигуна М2 перебор содержит передачи 23/63 і 22/63.

Привід подачі служит для переміщення заготовки по одной из трех координат і изменения скорости етого руху. Коробка подач получает вращение от двигуна М3 і содержит четыре двойных блока і перебор з передачами 19/40 і 21/40. Перебор выключают переміщенням вправо післяднего его колеса до зацепления з колесом Z = 19 (конец перебора соединяется з его началом) или переміщенням блока до зацепления колес 37/20. От коробки подач рух передається дальше при включенной муфте М4. При работе муфты М3 (М4 в етом случае выключена) рух от двигуна передається, минуя коробку подач, через передачу 55/66 для ускоренного переміщення. Одной из муфт М6, М8, M10 включается соответственно поперечное, продольное или вертикальное перемещение; муфты М7, М9 і М11 реверсируют соответствующие руху. Каждый ходовой винт може вращаться, а два из них - для стола і консоли - также движутся поступательно относительно неподвижных гаек. В гайках горизонтальных перемещений предусмотрено регулювання зазору, в гайке консоли зазор выбирается весом.


Конструкція вузлів горизонтально-фрезерного верстата

Механізм приводу верстата

Привід головного руху широкоуніверсального консольно-фрезерного верстата 6д81ш

Привід головного руху фрезерного верстата 6д81ш

Привід головного руху консольно-фрезерного верстата 6Д81Ш. Скачать в увеличенном масштабе



Характерной особенностью шпиндельного вузла любого фрезерного верстата является пристрій 1 (рис. 5.5) для крепления в шпинделе 4 хвостовика фрезы или оправки і торцовая шпонка 5 для передачи крутящего момента со шпинделя на фрезу. Хвостовик инструмента (оправка) втягивается в шпиндель резьбовым шомполом или тягой з отдельным приводом до контакта з центрирующим несамотормозящим (7:24) конусом шпинделя. Удельные давления в конусе определяют жесткость соединения. Для опор шпинделя применена простейшая комбинация підшибників качения з предварительным натягом: спереди - радиальный, двухрядный роликовый 3, сзади - пара радиально-упорных шариковых 2. Чтобы ускорить остановку приводу при выключении двигуна, используют електромагнитный тормоз 8, связывающий первый вал (и ротор двигуна) з корпусом. Механізми приводу смазываются з помощью насоса 7, на который нажимает ексцентричный подшипник 6.

Стол

Стол широкоуніверсального консольно-фрезерного верстата 6д81ш

Стол фрезерного верстата 6д81ш

Стол консольно-фрезерного верстата 6Д81Ш. Скачать в увеличенном масштабе



Стол 6 (рис. 5.6) имеет Т-образные пазы для крепления заготовки, направляющие ковзання типа "ласточкин хвост" і передачу винт-гайка для прямолинейного переміщення. Зазор в направляючих регулируют клином 13, а в передаче - червяком 14. Ходовая гайка 3 нерухомо закреплена на салазках 11, а ходовой винт 2 вращается в столе і перемещается вместе з ним. Винт получает вращение от маховичка 1 через муфту 12 или от двигуна коробки подач через коническую передачу 8, реверсирующий механізм з муфтой 4 і скользящую шпонку 5 (шпоночный паз на винте прорезает резьбу). У направляючих 9 салазок форма прямолинейная, а зазоры регулируют клином 7 і пригонкой планок 10.

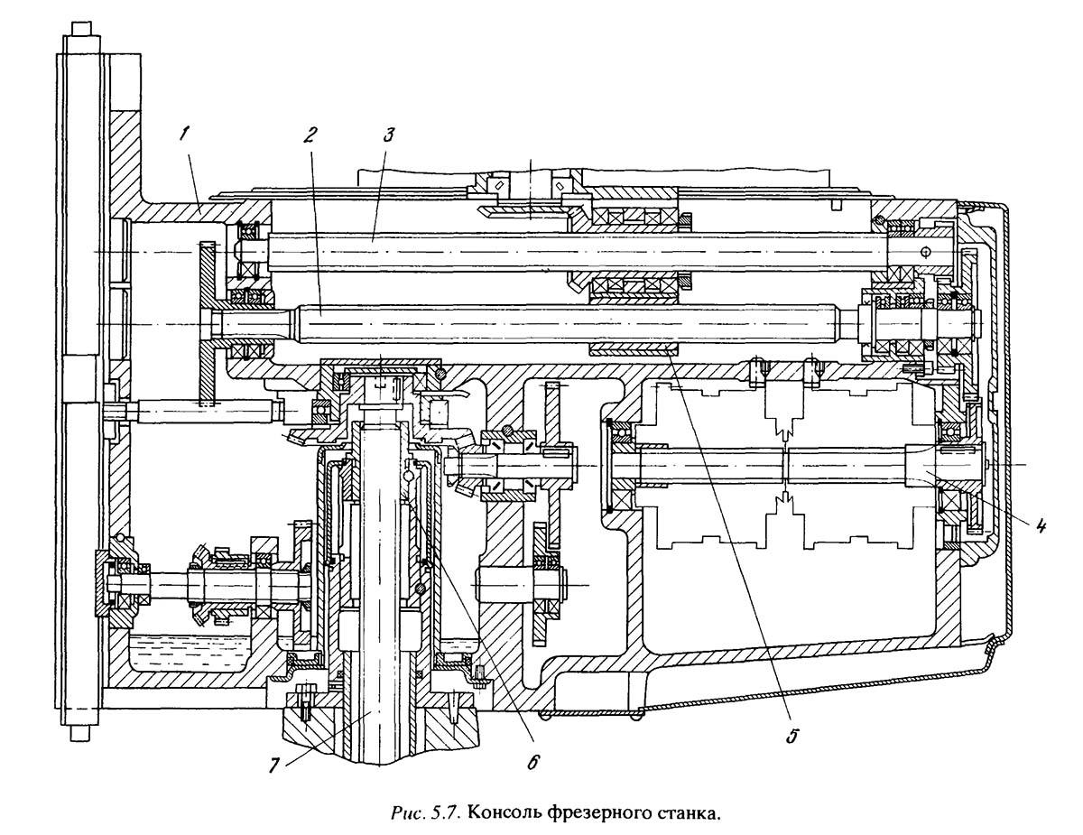
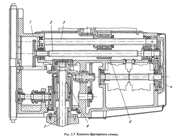
Консоль

Консоль широкоуніверсального консольно-фрезерного верстата 6д81ш

Консоль фрезерного верстата 6д81ш

Консоль фрезерного верстата 6Д81Ш. Скачать в увеличенном масштабе



Консоль 1 (рис. 5.7) содержит многоваловую конструкцию коробки подач, распределительно-реверсирующие механізмы з електромагнитными муфтами (например, на валу 4), передачу з ходовым винтом 7, который вращается і перемещается вертикально относительно гайки 6, ходовой винт 2, который вращается, перемещая гайку 5 салазок, шлицевый вал 3, который передает вращение через конические передачи ходовому винту стола.


6Д81Ш Установка і крепление фрез

6Д81Ш Установка і крепление фрез

Установка і крепление фрез фрезерного верстата 6д81ш


Настановне креслення фрезерного верстата 6Д81Ш

Настановне креслення 6Д81Ш cтанок широкоуніверсальний консольно-фрезерный

Настановне креслення фрезерного верстата 6д81ш






6Д81Ш Верстат консольно-фрезерный широкоуніверсальний. Відеоролик.



Технічні характеристики верстатів моделей 6Д81Ш

Наименование параметра 6Д81Ш 6Д82Ш
Основні параметри верстата
Класс точності по ГОСТ 8-82 П П
Розміри рабочей поверхности стола (длина х ширина), мм 250 х 1250 320 х 1250
Расстояние от оси горизонтального шпинделя до стола при ручном перемещении, мм 50..440 50..450
Расстояние от оси горизонтального шпинделя до хобота, мм 138 138
Расстояние от торца горизонтального шпинделя до торца поддержки, мм 430 440
Расстояние от торца шпинделя поворотной головки до стола, мм 67..457 155..555
Расстояние от оси шпинделя поворотной головки до направляючих станины (вылет), мм 125..760 125..810
Рабочий стол
Максимальная нагрузка на стол (по центру), кг
Число Т-образных пазов Розміри Т-образных пазов 3 3
Наибольшее продольное перемещение стола (ось X), мм 630 950
Наибольшее поперечное перемещение стола механическое (ось Y), мм 200 320
Наибольшее вертикальное перемещение стола (ось Z), мм 390 400
Перемещение стола на одно деление лимба (продольное, поперечное), мм 0,05 0,05
Перемещение стола на одно деление лимба (вертикальное), мм 0,025 0,05
Наибольший угол поворота стола, град ±45 ±45
Цена деления шкалы поворота стола, град 1 1
Скорость швидкого продольного переміщення стола (ось X), м/мин 2,9
Скорость швидкого поперечного переміщення стола (ось Y), м/мин 2,3
Скорость швидкого вертикального переміщення стола (ось Z), м/мин 1,15
Число ступеней рабочих подач стола 16
Пределы продольных рабочих подач стола, мм/мин 35..1020
Пределы поперечных рабочих подач стола, мм/мин 26..790
Пределы вертикальних рабочих подач стола, мм/мин 13..390
Горизонтальный шпиндель
Частота обертання горизонтального шпинделя, об/мин 20..2000
Количество швидкостей горизонтального шпинделя 21
Внутренний конус горизонтального шпинделя по ГОСТ 24644-81 40 50
Наибольший крутящий момент на горизонтальном шпинделе, кН*м 0,85
Наибольший допустимый диаметр фрез, мм 160
Торможение шпинделя есть есть
Предохранение шпинделя от перегрузки (муфта) есть есть
Шпиндель поворотной головки
Частота обертання шпинделя поворотной і накладной головок, об/мин 45..2000
Количество швидкостей шпинделя поворотной і накладной головок 12
Наибольшее перемещение гильзы вертикального шпинделя, мм 80 80
Угол поворота оси вертикального шпинделя в поздовжньої плоскости, град ±45 ±45
Угол поворота оси вертикального шпинделя в поперечної плоскости от станины, град 90 90
Угол поворота оси вертикального шпинделя в поперечної плоскости к станине, град 45 45
Внутренний конус шпинделя поворотной і накладной головок по ГОСТ 24644-81 40 40
Наибольший крутящий момент на поворотном шпинделе, кН*м 0,18
Наибольший допустимый диаметр фрез, мм 80
Механіка верстата
Выключающие упоры продольных подач есть есть
Выключающие упоры поперечных, вертикальних подач есть есть
Блокировка раздельного увімкнення подачі есть есть
Електроустаткування. Привод
Питающая електросеть 380 В, 50 Гц 380 В, 50 Гц
Напряжение местного освещения, В ~24 ~24
Напряжение ланцюги керування, В ~110, =24 ~110, =24
Количество електродвигателей на станке 4 5
Електродвигун приводу горизонтального шпинделя, кВт 5,5 5,5
Електродвигун приводу шпинделя поворотной головки, кВт 2,2 2,2
Електродвигун приводу подач, кВт 1,5 2,2
Електродвигун насоса охлаждающей жидкости, кВт 0,12 0,12
Електродвигун механізма зажиму инструмента, кВт нет 0,25
Суммарная мощность електродвигателей, кВт 9.32 10,27
Габарити і масса верстата
Габарити верстата (длина ширина высота), мм 2030 х 1480 х 1695 2275 х 2200 х 2115
Масса верстата, кг 2400 3250