metalinstryment.com
Довідник по металорізальних верстатів та пресовому обладнанні

692Р Верстат шпоночно-фрезерный вертикальний
схеми, опис, характеристики

692Р Верстат фрезерный шпоночный







Відомості про виробника шпоночно-фрезерного верстата 692Р

Производитель специального шпоночно-фрезерного верстата 692Р Дмитровский завод фрезерных верстатів, основанный в 1940 году.

Основной продукцией завода, в настоящее время, є универсальные консольно-фрезерные верстати гаммы «6К» і «6ДМ».





Верстати, выпускаемые Дмитровским заводом фрезерных верстатів, ДЗФС


692Р Верстат шпоночно-фрезерный вертикальний. Назначение, область применения

Специальный шпоночно-фрезерный верстат 692Р консольного типа з вертикально расположенным шпинделем сконструирован на базе моделі 692м.

Специализированные фрезерные верстати 692Р применяют в серийном производстве для обробки деталей, сходных по конфигурации, но различных по размеру.

Шпоночно-фрезерный верстат 692Р предназначен для обробки шпоночных пазов на валах мерными і немерными кінцівыми і шпоночными і фрезами.

На станке могут обрабатываться шпоночные пазы шириной от 4 до 25 мм в напівавтоматическом цикле за один установ вироби.

Обработка паза производится в несколько проходов з подачей на глубину при каждом проходе. После того как будет достигнута полная глубина паза, стол з изделием получает автоматическое рух в сторону одной стенки паза, а затем — в сторону другой на величину, заранее настроенную специальным жестким упором. Этим достигается более точная ширина і повышается класс чистоты поверхности стенок паза.

Обработка пазов от 4 до 6 мм ведется маятниковым циклом мерным инструментом, а з 6 до 25 мм – на полную глубину за один проход з післядующей калибровкой ширины немерным инструментом.

Применение имеющегося на станке пристроя калибровки обрабатываемого паза обеспечивается соблюдение точності ширины шпоночного паза независимо от точності диаметра применяемых фрез (начиная з диаметра 6 мм).

На станке 692Р диапазон частот обертання шпинделя позволяет вести обработку шпоночных пазов как быстрорежущими фрезами, так і твердосплавными на всем диапазоне ширины пазов з високою производительностью.

Особливості конструкції верстата

Продольная подача осуществляется переміщенням фрезерной головки по направляющим головки станины.

Вертикальная подача — пинолью шпинделя.

Калибровка паза осуществляется путем поперечного переміщення стола.

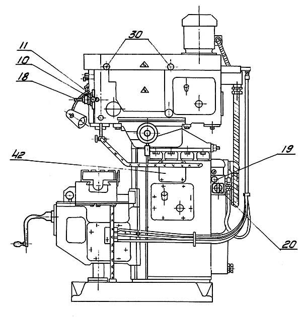
Привід всех перечисленных движений гідравлический. Кроме того, на станке имеются установочные ручні переміщення:

Привід шпинделя от асинхронного електродвигуна мощностью 2,2 кВт через коробку швидкостей і двухступенчатые шкивы клиноременной передачи. Регулювання частоти обертання шпинделя производится переключением рукояток коробки швидкостей і переводом клинового ремня на ступенчатых шкивах из одного ручья в другой.

Маятниковый цикл шпоночно-фрезерного верстата 692Р

Маятниковый цикл шпоночно-фрезерного верстата 692Р


Шпоночные пазы шириной 4—6 мм обрабатываются на станке з маятниковой подачей на врезание (маятниковый цикл).

Шпоночные пазы шириной 6—25 мм обрабатываются со сверлильной подачей на полную глубину і за один проход на длину паза (однопроходный цикл).

Для обробки точных шпоночных пазов верстат 692Р имеет цикл обробки паза з калибровкой его ширины по двум стенкам.

Для обробки менее точных пазов существует цикл обробки паза з калибровкой его ширины по одной стенке.

Верстат имеет также цикл обробки паза без калибровки, когда ширина паза обеспечивается фрезой.

При обработке пазов на полную глубину сверлильная подача може быть прерывистой, что предотвращает образование длинной сливной стружки і наматывание її на фрезу.

При маятниковом цикле фреза ускоренно подводится к заготовке і з рабочей подачей перемещается вдоль заготовки. При каждом реверсе продольного переміщення инструмент получает периодическую вертикальную подачу врізання, величина которой задается по лимбу і може мати величину от 0 до 0,5 мм/ход. После нескольких продольных проходов, число которых будет зависеть от величины вертикальной периодической подачі, паз будет прорезан на полную глубину. Имеется возможность обробки паза без калибровки, з калибровкой ширины паза по одной стенке, з калибровкой ширины паза по двум стенкам. Выбирается вигляд обробки переключателем на пульті верстата при наладке.

Цикл без калибровки заканчивается після прорезки паза на заданную глубину, когда инструмент ускоренно выводится из паза і перемещается в начало паза.

Цикл з калибровкой ширины паза по одной стенке заключается в том, что після прорезки паза на заданную глубину, заготовка смещается перпендикулярно своей оси на величину калибровки, затем включается продольная калибрирующая подача і инструмент обрабатывает одну стенку по всей її длине, після чего ускоренно выводится из паза.

Цикл з калибровкой паза по двум стенкам отличается от предыдущего тем, что після прорезки паза на заданную глубину, заготовка смещается на половину калибрующего переміщення, инструмент обрабатывает одну стенку на всю її длину, затем заготовка смещается в другую сторону на полную величину калибрующего переміщення і инструмент обрабатывает другую стенку шпоночного паза, після чего фреза ускоренно идет вверх, фрезерна головка ускоренно идет в исходное положение, заготовка перемещается в среднее положение, цикл закончен.

Однопроходный цикл отличается от маятникового тем, что инструмент після ускоренного подвода к валу з непрерывной подачей фрезерует вал на полную глубину паза, а затем з рабочей подачей прорезает паз на заданную длину.

После того как паз прорезан на заданную длину, имеются три возможности обробки, аналогичные тем, что имеются і в маятниковом цикле: без калибровки; з калибровкой ширины паза по одной стенке; з калибровкой ширины паза по двум стенкам шпоночного паза.

Продолжение циклов після прорезки паза такое, как і в маятниковом цикле.

Частота обертання і мощность приводу головного руху, диапазон подач і достаточная жесткость верстата позволяют обрабатывать шпоночные пазы немерными шпоночными фрезами, оснащенными твердым сплавом по типу фрез по ГОСТ 6396—78, что значительно повышает производительность по сравнению з обработкой пазов быстрорежущими фрезами.

Климатическое виконання і категория розміщення верстата УХЛ4 по ГОСТ 15150—69.


Модифікації шпоночно-фрезерного верстата 692

692д - 1990 год. Ширина шпоночного паза от 4 до 25 мм в напівавтоматическом цикл, диаметр вала 12..75 мм

692р-1 - 1976 год. Верстат шпоночно-фрезерный

6д92р-1 - верстат шпоночно-фрезерный з горизонтальным шпинделем

692р - 1975 год. Ширина шпоночного паза от 4 до 25 мм, глубина до 26 мм, длина 5..300 мм. Диаметр вала 12..75 мм

6д92 - 1973 год. Ширина шпоночного паза от 6 до 32 мм. Горизонтальный шпиндель. Диаметр вала до 120 мм.

692м - 1965 год. Ширина шпоночного паза от 4 до 24 мм, глубина до 40 мм, длина 5..300 мм

692а - 1954 год. Ширина шпоночного паза от 3 до 20 мм, глубина до 26 мм, длина 5..300 мм




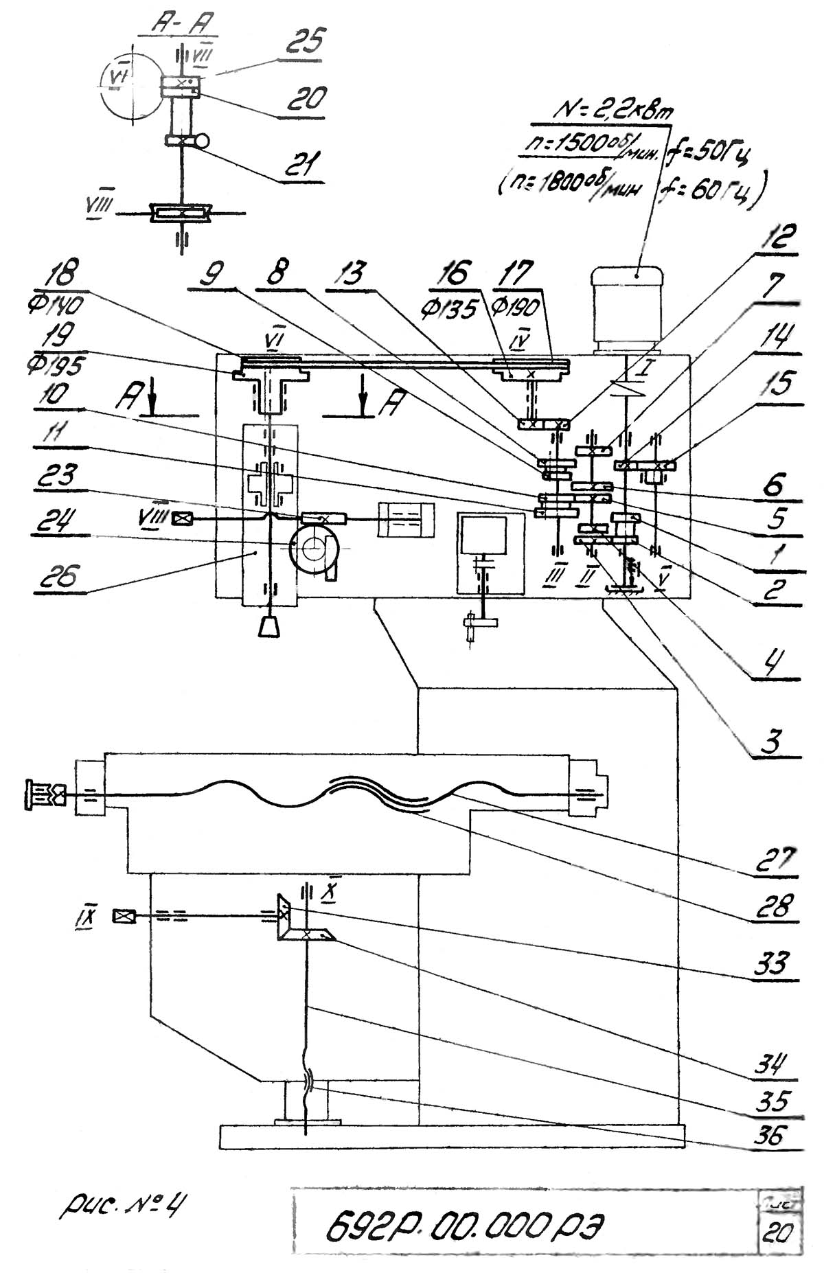
Габаритные розміри робочого простору і посадочные базы шпоночно-фрезерного верстата 692Р

Габаритные розміри робочого простору шпоночно-фрезерного верстата 692Р

Габаритные розміри робочого простору шпоночно-фрезерного верстата 692Р

Габаритные розміри робочого простору верстата 692Р. Скачать в увеличенном масштабе



Посадочные і присоединительные базы шпоночно-фрезерного верстата 692Р

Посадочные і присоединительные базы шпоночно-фрезерного верстата 692Р

Посадочные і присоединительные базы шпоночно-фрезерного верстата 692Р

Посадочные і присоединительные базы шпоночно-фрезерного верстата 692Р. Скачать в увеличенном масштабе



Загальний вигляд шпоночно-фрезерного верстата 692Р

692Р Фото шпоночно-фрезерного верстата

Фото шпоночно-фрезерного верстата 692Р



692Р Фото шпоночно-фрезерного верстата

Фото шпоночно-фрезерного верстата 692Р



692Р Фото шпоночно-фрезерного верстата

Фото шпоночно-фрезерного верстата 692Р

Фото шпоночно-фрезерного верстата 692Р. Скачать в увеличенном масштабе



692Р Фото шпоночно-фрезерного верстата

Фото шпоночно-фрезерного верстата 692Р







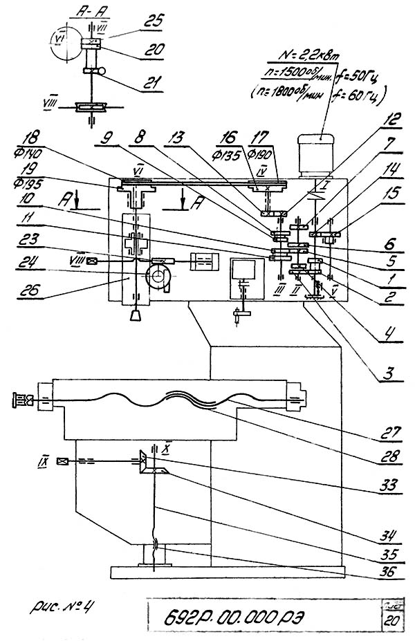
Розташування органів керування шпоночно-фрезерным верстатом 692Р

Розташування органів керування шпоночно-фрезерным верстатом 692Р

Розташування органів керування шпоночно-фрезерным верстатом 692Р



Розташування органів керування шпоночно-фрезерным верстатом 692Р

Розташування органів керування шпоночно-фрезерным верстатом 692Р



Розташування органів керування шпоночно-фрезерным верстатом 692Р

Розташування органів керування шпоночно-фрезерным верстатом 692Р




Мужчина считается толковым работником, пока не доказано противное; женщина считается бестолковой, пока не докажет обратное.

Закон Мерфи