metalinstryment.com
Довідник по металорізальних верстатів та пресовому обладнанні

6М13У Верстат вертикальний консольно-фрезерный
схеми, опис, характеристики

6М13У Загальний вигляд  консольного фрезерного верстата







Відомості про виробника консольно-фрезерного верстата 6М13У

Производитель фрезерных верстатів 6М13У СМЗ Савеловский машиностроительный завод, г. Кимры, основанный в 1931 году.





Верстати, выпускаемые Савеловским машиностроительным заводом СМЗ (ПО Прогресс)


6М13У Верстат консольно-фрезерный вертикальний з поворотной шпиндельной головкой. Назначение, область применения

Верстат вертикальний консольно-фрезерный 6М13У сконструирован на базе моделі 6М13.

Консольно-фрезерный верстат 6М13У предназначен для фрезерування всевозможных деталей из стали, чугуна і цветных металлов торцевыми, цилиндрическими, кінцівыми, радиусными фрезами в условиях индивидуального і серийного производства. В серийном производстве, благодаря наличию напівавтоматических і автоматических циклов, верстати могут успешно использоваться на работах операционного характера в поточных і автоматических лініях.

На верстатах 6М13У можно обрабатывать вертикальные і горизонтальные плоскости, пазы, углы, нарезать зубчасті колеса і прочее.

Принцип роботи і особливості конструкції верстата

Фрезерование зубчатых колес, разверток, спиралей, контура кулачков і прочих деталей, требующих периодического или непрерывного поворота вокруг своей оси, производятся на данных верстатах о применением делительной головки или накладного круглого стола.

Благодаря наличию механізма выборки люфта в винтовой паре поздовжньої подачі стола, на станке 6М13У можно производить встречное і попутное фрезерование, как в простых режимах, так і в режимах з автоматическими циклами.

Наиболее еффективное использование верстата достигается при обработке деталей методом скоростного фрезерування.

Класс точності верстатів Н.


Габаритные розміри робочого простору вертикального консольно-фрезерного верстата 6М13У

Габаритные розміри робочого простору вертикального консольно-фрезерного верстата 6М13У

Габаритные розміри робочого простору вертикального фрезерного верстата 6М13У


Посадочные і присоединительные базы фрезерного верстата 6М13У

Посадочные і присоединительные базы фрезерного верстата 6М13У

Посадочные і присоединительные базы фрезерного верстата 6М13У

Посадочные і присоединительные базы фрезерного верстата 6М13У. Дивитись у збільшеному масштабі



Посадочные і присоединительные базы фрезерного верстата 6М13У

Посадочные і присоединительные базы фрезерного верстата 6М13У

Посадочные і присоединительные базы фрезерного верстата 6М13У. Дивитись у збільшеному масштабі



Фото вертикального консольно-фрезерного верстата 6М13У

Фото вертикального консольно-фрезерного верстата 6М13У

Фото вертикального консольно-фрезерного верстата 6М13У


Фото вертикального консольно-фрезерного верстата 6М13У

Фото вертикального консольно-фрезерного верстата 6М13У


Фото вертикального консольно-фрезерного верстата 6М13У

Фото вертикального консольно-фрезерного верстата 6М13У


Фото вертикального консольно-фрезерного верстата 6М13У

Фото вертикального консольно-фрезерного верстата 6М13У


Фото вертикального консольно-фрезерного верстата 6М13У

Фото вертикального консольно-фрезерного верстата 6М13У

Фото вертикального консольно-фрезерного верстата 6М13У. Дивитись у збільшеному масштабі






Розташування основних вузлів вертикального фрезерного верстата 6М13У

Розташування основних вузлів вертикального фрезерного верстата 6М13У

Розташування основних вузлів вертикального фрезерного верстата 6М13У

Розташування основних вузлів вертикального фрезерного верстата 6М13У. Дивитись у збільшеному масштабі



Список складових частин консольно-фрезерного верстата 6М13У

  1. Станина 72019.016.01.000-01
  2. Коробка швидкостей 72019.016.02.000
  3. Коробка переключения швидкостей 72019.016.03.000
  4. Консоль 72019.016.04.000
  5. Стол і салазки 720I9.0I7.05.000
  6. Редуктор продольных подач 72019.017.06.000
  7. Редуктор поперечных подач 72019.017.07.000
  8. Фрезерная головка 72019.016.08.000
  9. Редуктор вертикальних подач 72019.019.00.000-02
  10. ПУЛЬТ керування 72019.065.01.000
  11. Електроустаткування 72019.065.11.000
  12. Охлаждение 72019.019.21.000
  13. Смазка 72019.019.22.000
  14. Ограждение 72.019.016.21.000
  15. Шкаф з електроаппаратурой 72019.065.12.000
  16. Шкаф з преобразователями 72019.065.13.000
  17. Короба 72019. 065.02.000
  18. Гідрообладнання 72019. 065.24.000

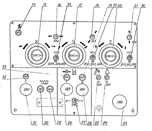
Розташування органів керування консольно-фрезерным верстатом 6М13У

Розташування органів керування консольно-фрезерным верстатом 6М13У

Розташування органів керування консольно-фрезерным верстатом 6М13У

Розташування органів керування консольно-фрезерным верстатом 6М13У. Дивитись у збільшеному масштабі



Розташування органів керування консольно-фрезерным верстатом 6М13У

Розташування органів керування консольно-фрезерным верстатом 6М13У

Розташування органів керування консольно-фрезерным верстатом 6М13У. Дивитись у збільшеному масштабі



Список органів керування консольно-фрезерным верстатом 6М13У

  1. Рукоятка ручного переміщення консоли
  2. Упоры ограничения продольного ходу стола
  3. Лимб установки чисел оборотів шпинделя
  4. Маховик ручного переміщення шпинделя
  5. Рукоятка ручной поздовжньої подачі
  6. Рукоятка ручной поперечної подачі
  7. Автоматический выключатель
  8. Упоры ограничения поперечного ходу стола
  9. Упоры ограничения вертикального ходу шпинделя
  10. Тумблер зажиму і разжима инструмента
  11. Кнопка перемещениЯ консоли вверх
  12. Кнопка кратковременного увімкнення електродвигуна для переключения скорости
  13. Кнопка переміщення консоли вниз
  14. Индикаторная лампа увімкнення живлення
  15. Механізм ручного переміщення стола
  16. Тумблер изменения направления переміщення стола
  17. Механізм ручного переміщення стола і салазок
  18. Тумблер изменения направления переміщення стола і салазок
  19. Индикаторная лампа "Шпиндель включен"
  20. Механізм ручного переміщення шпинделя головки
  21. Тумблер изменения направления переміщення шпинделя
  22. Кнопка "Стоп"
  23. Тумблер увімкнення освещения
  24. Тумблер увімкнення охлаждения
  25. Кнопка "Стоп шпинделя"
  26. Тумблер изменения обертання шпинделя
  27. Кнопка "Пуск шпинделя"
  28. Лампа "Сбой привода"
  29. Индикаторная лампа увімкнення приводов подач
  30. Кнопка "Увімкнення керування"
  31. Индикаторная лампа "Увімкнення керування"
  32. Индикаторная лампа "Инструмент зажат"
  33. Тумблер переключения режима подачі "X"
  34. Тумблер переключения режима подачі "У"
  35. Тумблер переключения режима подачі "Z"

Пульт керування консольно-фрезерным верстатом 6М13У

Пульт керування консольно-фрезерным верстатом 6М13У

Пульт керування консольно-фрезерным верстатом 6М13У. Дивитись у збільшеному масштабі







Схема кінематична консольно-фрезерного верстата 6М13У

6М13У Схема кінематична консольно-фрезерного верстата

Кінематична схема консольно-фрезерного верстата 6М13У

Схема кінематична консольно-фрезерного верстата 6М13У. Дивитись у збільшеному масштабі



6М13У Схема кінематична консольно-фрезерного верстата

Схема розположення підшибників консольно-фрезерного верстата 6М13У

Схема розположення підшибників консольно-фрезерного верстата 6М13У. Дивитись у збільшеному масштабі



Коробка швидкостей і график оборотів шпинделя фрезерного верстата 6М13У

Коробка швидкостей і график оборотів шпинделя фрезерного верстата 6М13У

Коробка швидкостей і график оборотів шпинделя фрезерного верстата 6М13У. Дивитись у збільшеному масштабі



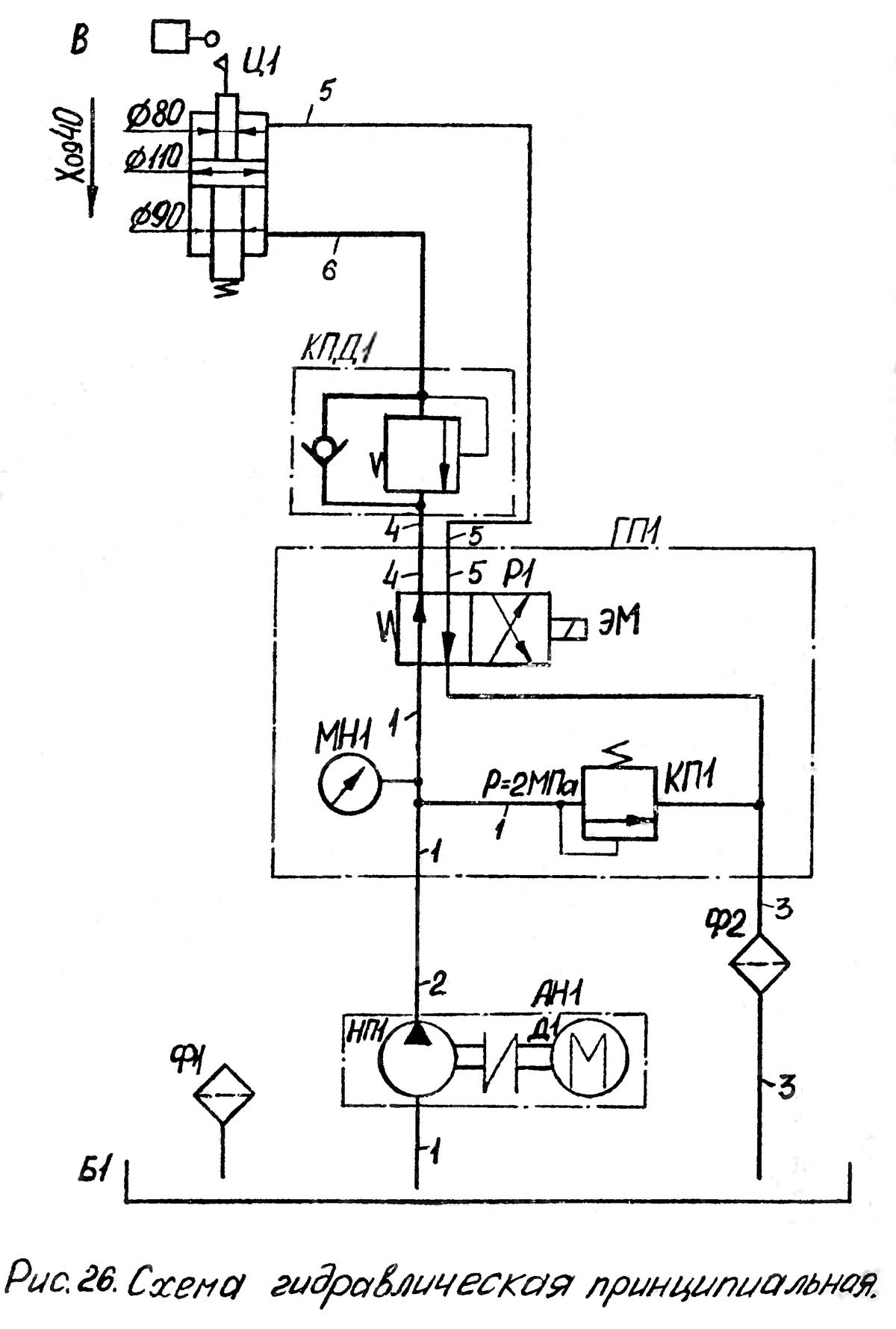
6М13У Схема Гідравлічна консольно-фрезерного верстата

Гідравлічна схема консольно-фрезерного верстата 6М13У

Схема Гідравлічна консольно-фрезерного верстата 6М13У. Дивитись у збільшеному масштабі



Ланцюг головного руху консольно-фрезерного верстата 6М13У

Верстат 6М13У имеет две раздельные кинематические ланцюги — ланцюг головного руху і ланцюг подач стола.

Шпиндель получает вращение от фланцевого електродвигуна мощностью 7,5 кВт, з 1450 об/мин через упругую соединительную муфту і зубчасті колеса механізма пятиваловой коробки швидкостей, сообщающие шпинделю 18 различных чисел оборотів в пределах от 40 до 2000 об/мин.


Опис конструкції основних вузлів вертикального консольно-фрезерного верстата 6М13У

Вертикально-фрезерный верстат выполнен по типу универсальных вертикально-фрезерных верстатів, выпускаемых станкостроительными заводами.

Верстат имеет рабочий стол размером 1600x400 мм, на котором устанавливается обрабатываемая деталь. Верстат оснащен вертикальной фрезерной головкой ползункового типа.

Перемещение стола, салазок і ползуна фрезерной головки осуществляется от електродвигателей постоянного тока з тиристорными преобразователями через редукторы подач і шариковые винтовые пары.

Передача обертання на шпиндель фрезерной головки осуществляется от асинхронного електродвигуна 4A132.

Датчиками обратной связи положения механізмов по координатам Х, У і Z є вращающиеся трансформаторы BTM-1B, связанные з ходовыми гвинтами. Один оборот вращающегося трансформатора соответствует линейному перемещению на 2 мм по каждой координате.

Керування верстатів осуществляется от пульта ручного керування.







6М13У Верстат консольно-фрезерный вертикальний. Відеоролик.





Технічні характеристики консольного фрезерного верстата 6М13У

Наименование параметра 6М13У 6М13 6Р13 6Т13
Основні параметри верстата
Класс точності по ГОСТ 8-71 і ГОСТ 8-82 Н, П Н, П Н, П Н
Розміри поверхности стола, мм 400 х 1600 400 х 1600 400 х 1600 400 х 1600
Наибольшая масса обрабатываемой детали, кг 800 300 630
Расстояние от торца шпинделя до стола, мм 70..450 30..500 30..500 70..500
Расстояние от оси шпинделя до вертикальних направляючих станины (вылет), мм 450 450 420 460
Точность обробки, мм ±0,1
Рабочий стол
Наибольший продольный ход стола от руки (по оси X), мм 890 800 1000 1000
Наибольший поперечний ход стола от руки (по оси Y), мм 310 320 320 400
Наибольший вертикальний ход стола от руки (по оси Z), мм 370 420 420 430
Наибольший вертикальний ход ползуна от руки (по оси Z), мм 140
Перемещение стола на одно деление лимба (продольное, поперечное, вертикальное), мм 0,05
Перемещение стола на один оборот лимба (продольное, поперечное/ вертикальное), мм 6/ 2
Пределы продольных подач стола (X), мм/мин 0..2400 25..1250 25..1250 12,5..1600
Пределы поперечных подач салазок стола (Y), мм/мин 0..2400 25..1250 25..1250 12,5..1600
Пределы вертикальних подач ползуна при программной работе (Z), мм/мин 0..1000
Пределы вертикальних подач консоли стола (Z), мм/мин 0..700 8,3..416,6 8,3..416,6 4,1..530
Количество подач продольных/ поперечных/ вертикальних Б/с 18 18 22
Скорость быстрых продольных перемещений стола (по оси X), м/мин 2,4 3 3 4
Скорость быстрых поперечных перемещений стола (по оси Y), м/мин 2,4 3 3 4
Скорость быстрых вертикальних перемещений стола (по оси Z), м/мин 2,4 1 1 1,33
Шпиндель
Частота обертання шпинделя, об/мин 40..2000 31,5..1600 31,5..1600 31,5..1600
Количество швидкостей шпинделя 18 18 18 18
Перемещение пиноли шпинделя, мм 85 80 80
Перемещение пиноли шпинделя на одно деление лимба, мм 0,05 0,05 0,05
Конус фрезерного шпинделя №3 ГОСТ 836-62 №3 ГОСТ 836-62
Кінець шпинделя ГОСТ 24644-81, ряд 4, виконання 6
Отверстие фрезерного шпинделя, мм 29
Диаметр переднего підшипника, мм
Поворот шпиндельной головки вправо і влево, град ±45 ±45 ±45
Механіка верстата
Выключающие упоры подачі (поздовжньої, поперечної, вертикальной) Есть Есть Есть Есть
Блокировка ручной і механической подач (поздовжньої, поперечної, вертикальной) Есть Есть Есть Есть
Блокировка раздельного увімкнення подач Есть Есть Есть Есть
Торможение шпинделя Есть Есть Есть Есть
Предохранительная муфта от перегрузок Есть Есть Есть Есть
Автоматическая прерывистая подача Есть Есть Есть (продольная) Есть
Електроустаткування, привод
Количество електродвигателей на станке 3 3 4
Електродвигун приводу головного руху, кВт (об/мин) 7,5 (1450) 10 10 11
Електродвигун приводу поздовжньої подачі, кВт (об/мин) 2 (3150), пост.тока - - -
Електродвигун приводу поперечної подачі, кВт (об/мин) 2 (3150), пост.тока - - -
Електродвигун приводу вертикальной подачі, кВт (об/мин) 1 (1600), 110 В - - -
Електродвигун приводу консоли, кВт (об/мин) 1,5 (1500) - - -
Електродвигун приводу подач, кВт (об/мин) - 3,0 3,0 3,0
Електродвигун зажиму инструмента, кВт (об/мин) нет нет нет 0,25
Електродвигун насоса охлаждающей жидкости, кВт (об/мин) 0,125 0,125 0,125 0,12
Суммарная мощность всех електродвигателей, кВт 13,125 14,37
Габарит і масса верстата
Габарити верстата (длина ширина высота), мм 4000 х 2875 х 3045 2565 х 2135 х 2235 2560 х 2260 х 2120 2570 х 2252 х 2430
Масса верстата, кг 6600 3120 4200 4300

    Список литературы:

  1. Верстат вертикально-фрезерный 6М13У. Руководство по експлуатации 2019.065.00.000 РЭ (Альбомы 1, 2), 1990

  2. Аврутин С.В. Основы фрезерного дела, 1962
  3. Аврутин С.В. Фрезерне дело, 1963
  4. Ачеркан Н.С. Металлорежущие верстати, Том 1, 1965
  5. Барбашов Ф.А. Фрезерне дело 1973
  6. Барбашов Ф.А. Фрезерные роботи (Профтехобразование), 1986
  7. Блюмберг В.А. Справочник фрезеровщика, 1984
  8. Григорьев С.П. Практика координатно-расточных і фрезерных работ, 1980
  9. Копылов Р.Б. Работа на фрезерных верстатах, 1971
  10. Косовский В.Л. Справочник молодого фрезеровщика, 1992
  11. Кувшинский В.В. Фрезерование,1977
  12. Ничков А.Г. Фрезерные верстати (Библиотека станочника), 1977
  13. Пикус М.Ю. Справочник слесаря по ремонту металлорежущих верстатів, 1987
  14. Плотицын В.Г. Расчёты настроек і наладок фрезерных верстатів, 1969
  15. Плотицын В.Г. Наладка фрезерных верстатів,1975
  16. Рябов С.А. Современные фрезерные верстати і их оснастка, 2006
  17. Схиртладзе А.Г., Новиков В.Ю. Технологическое обладнання машиностроительных производств, 1980
  18. Тепинкичиев В.К. Металлорежущие верстати, 1973
  19. Чернов Н.Н. Металлорежущие верстати, 1988
  20. Френкель С.Ш. Справочник молодого фрезеровщика (3-е изд.) (Профтехобразование), 1978








Заказать

Кто владеет информацией - тот владеет миром.

Натан Ротшильд