metalinstryment.com
Довідник по металорізальних верстатів та пресовому обладнанні

МА-655 Верстат фрезерный вертикальний з крестовым столом і ЧПУ
руководство, схеми, опис, характеристики

МА-655 Верстат фрезерный вертикальний з крестовым столом і ЧПУ







Производитель фрезерного вертикального бесконсольного верстата МА-655 - Савеловский машиностроительный завод СМЗ, основанный в 1915 году.

В 1946 году приказом министерства авиационной промышленности определен профиль предприятия, как завода по выпуску токарных прецизионных высокоточных верстатів.

В 1966 году предприятие преобразовано в Савеловский машиностроительный завод (СМЗ) п/я-4.

В 1979 году завод становится Савеловским производственным объединением "Прогресс" (СПО "Прогресс").





Верстати, выпускаемые Савеловским машиностроительным заводом СМЗ (ПО Прогресс)

МА-655 Верстат фрезерный вертикальний з крестовым столом з ЧПУ і АСИ. Назначение, область применения

Обозначение фрезерного верстата МА-655 - Многооперационный Автомат. Цифровое обозначение стандартное: 6 - фрезерные верстати, 5 - вертикальные бесконсольные (с крестовым столом)

Верстат фрезерный вертикальний МА655 специализированный з ЧПУ і автоматичною сменой инструмента (АСИ) предназначен для обробки деталей сложной криволинейной формы типа дисков, плит, рычагов, корпусных деталей і др. из сталей, титановых і легких сплавов в условиях механического цеха при отсутствии вблизи сварочных аппаратов установок ТВЧ і других источников помех і тепловой радиации, а также оборудования ударного дії, вызывающего вибрацию.

На станке МА655 можно производить фрезерование плоскостей і пазов, сверление, зенкерование, развертывание і предварительное растачивание отверстий.

Принцип роботи і особливості конструкції верстата МА655

Обработка производится по трем координатам по программе. Верстат осуществляет перемещение стола, салазок і фрезерной головки, переключение числа оборотів шпинделя, увімкнення і вимкнення шпинделя, выбор і смену инструментов.

Автоматическое керування верстатом МА655 по программе осуществляется пристрійм числового программного керування.

Компоновка верстата, рух исполнительных механізмов і керування верстатом

Верстат фрезерный вертикальний МА655 специализированный з числовым программным керуванням представляет собой бесконсольный вертикальний фрезерный верстат, оснащенный системой программного керування і магазином для инструментов типа «Корона».

Приспособление з обрабатываемой заготовкой крепится на рабочей поверхности стола. Базой для установки приспособления служат средний паз стола і калиброванное отверстие, расположенное в центре стола.

Стол в продольном направление перемещается вдоль салазок по закаленным направляющим на елементах качения типа «танкетки», салазки, в свою очередь, перемещаются в поперечном направлении на «танкетках» по направляющим станины.

Боковые направляющие стола, салазок – направляющие ковзання; зазор в боковых направляючих выбирается з помощью клиньєв.

На заднюю часть станины устанавливается стойка, по вертикальным направляющим которой перемещается фрезерна головка.

Таким образом, все три руху образуют в пространстве систему координат, где:

  1. координата X – продольное перемещение стола
  2. координата Y – поперечное перемещение салазок
  3. координата Z – вертикальное перемещение фрезерной головки

Перемещение стола, салазок і фрезерной головки осуществляется от вентильных електродвигателей і шариковых винтовых пар, установленных соответственно на салазках, станине і стойки.

Все три руху во время обробки детали автоматизированы.

Вращение шпинделя осуществляется от асинхронного електродвигуна з частотним преобразователем.

Переключення зубчатых передач коробки швидкостей фрезерной головки дает возможность получить 6 диапазонов чисел оборотів шпинделя.

Датчиками обратной связи положения механізмов по координатам X, Y і Z є оптико-електронные преобразователи угловых перемещений ЛИР158, связанные з ходовыми гвинтами.

Фрезерная головка оснащена коническим чашеобразным магазином на 8 инструментов, смонтированном на ползуне. Ось каждого гнезда для инструмента путем поворота магазина совмещается з осью шпинделя.

Автоматическая смена инструмента в общем цикле роботи верстата выделена в отдельный периодически повторяющийся цикл смены инструмента.

Для смены инструмента фрезерна головка должна быть отведена в верхнее положение для избегания удара инструмента о деталь при повороте магазина.

Двойной блок зубчатых колес фрезерной головки занимает среднее (нейтральное) положение, т.е. происходит разрыв кінематичної ланцюги головного руху. Затем шпиндель ориентируется в угловом положении при помощи механізма ориентации шпинделя, смонтированного во фрезерной головки. Одновременно происходит разжим ползуна магазина і разжим инструмента. По окончанию разжима инструмента ползун з магазином перемещается вниз, при етом оправка з инструментом выходит из конуса шпинделя і удерживается захватами в гнезде магазина. Поворот магазина осуществляется от гідродвигуна до выхода требуемого инструмента на исходную позицию з выходом магазина до упора. Затем ползун з магазином перемещается вверх, хвостик оправки входит в гнездо шпинделя і оправка освобождается от затворов в гнезде магазина. По окончании переміщення магазина происходит зажим инструмента і ползуна і опускание штока цилиндра ориентации шпинделя. Двойной блок зубчатых колес фрезерной головки из среднего положения в требуемое по программе положение. Цикл смены инструмента закончен.

Выбор і смена инструмента може осуществляться как по программе, так і в наладочном режиме.

На станке МА655 предусмотрен напівавтоматический цикл роботи, когда заготовка обрабатываемой детали устанавливается і выверяется оператором, а все остальные руху різання выполняются автоматически. Керування верстатом по етому циклу осуществляется от управляющего пристроя ЧПУ.

Пристрій ЧПУ является системой з возможностью одновременного керування по трем координатам при линейной интерполяции і одновременного керування по двум координатам при контурной обработке круговой интерполяцией. Пристрій позволяет выполнять коррекцию длинны инструмента і скорости подач, программировать выбор і смену инструмента, переключение чисел оборотів шпинделя, зажим і разжим.

Подробнее о возможности пристроя числового программного керування см. «Руководство по експлуатации УЧПУ NC-210».

Електроустаткування верстата, преобразователи приводов подач і головного приводу размещены в електрошкафу.

Переключення диапазонов чисел оборотів шпинделя осуществляется блоками шестерен фрезерной головки при помощи гідроцилиндров. Керування гідроцилиндрами переміщення блоков шестерен, гідроцилиндрами разжима инструмента, ориентации шпинделя, подъема магазина і разжима гвинта вертикальной каретки осуществляется от насосной станції.


Вертикально-фрезерные верстати з крестовым столом і ЧПУ МА655

Вертикальные фрезерные верстати МА-655 выпускаются в трех модификациях:

Наиболее известные моделі фрезерных верстатів МА655

Отличительные особливості некоторых моделей верстатів:





Габаритные розміри робочого простору вертикального бесконсольного фрезерного верстата МА-655

МА-655 Габаритные розміри робочого простору бесконсольного фрезерного верстата з крестовым столом

Габаритные розміри робочого простору верстата ма-655



Загальний вигляд вертикального бесконсольного фрезерного верстата МА-655

МА-655 Загальний вигляд  бесконсольного фрезерного верстата з крестовым столом

Фото бесконсольного фрезерного верстата ма-655лн

Фото бесконсольного фрезерного верстата МА-655. Дивитись у збільшеному масштабі



МА-655 Загальний вигляд  бесконсольного фрезерного верстата з крестовым столом

Фото бесконсольного фрезерного верстата ма-655а3

Фото бесконсольного фрезерного верстата МА-655. Дивитись у збільшеному масштабі



МА-655 Загальний вигляд  бесконсольного фрезерного верстата з крестовым столом

Фото бесконсольного фрезерного верстата ма-655



МА-655 Загальний вигляд  бесконсольного фрезерного верстата з крестовым столом

Фото бесконсольного фрезерного верстата ма-655нк

Фото бесконсольного фрезерного верстата МА-655. Дивитись у збільшеному масштабі



МА-655 Магазин интрумента бесконсольного фрезерного верстата з крестовым столом

Магазин интрумента фрезерного верстата ма-655



Розташування складових частин бесконсольного вертикально-фрезерного верстата МА-655

Розташування складових частин бесконсольного вертикально-фрезерного верстата МА-655

Розташування складових частин фрезерного верстата ма-655

Розташування складових частин вертикально-фрезерного верстата МА-655. Дивитись у збільшеному масштабі



Список складових частин бесконсольного вертикально-фрезерного верстата МА-655

  1. Стол і салазки - 72060.089.12.000
  2. Привід продольных подач - 72060.089.14.000
  3. Привід поперечної подачі - 72060.089.15.000
  4. Привід вертикальной подачі - 72060.089.13.000
  5. Головка фрезерна - 72060.064.10.000-01
  6. Стойка - 72060.089.02.000
  7. Гідроразводка - 72060.089.16.000
  8. Насосная станція змазки і охлаждения - 72060.089.07.000
  9. Датчик - 72060.089.02.810
  10. Электрошкаф
  11. Система охлаждения инструмента - 72060.071.01.000
  12. Оптический нониус - 72060.071.13.000
  13. Оптический нониус - 72060.071.14.000
  14. Электрошкаф
  15. Підвісний пульт з пристрійм ЧПУ
  16. Електроустаткування - СТС9999-0015
  17. Насосная станція - 72060.071.09.000
  18. Привід живлення левый - 72060.089.00.400
  19. Привід живлення правый - 72060.089.00.500
  20. Короб гибкий - 72060.089.00.100
  21. Станина - 72060.069.03.200
  22. Кожух - 72011.026.21.000

Розташування органів керування бесконсольным вертикально-фрезерным верстатом МА-655

Розташування органів керування бесконсольным вертикально-фрезерным верстатом МА-655

Розташування органів керування фрезерным верстатом ма-655

Розташування органів керування бесконсольным вертикально-фрезерным верстатом МА-655. Дивитись у збільшеному масштабі







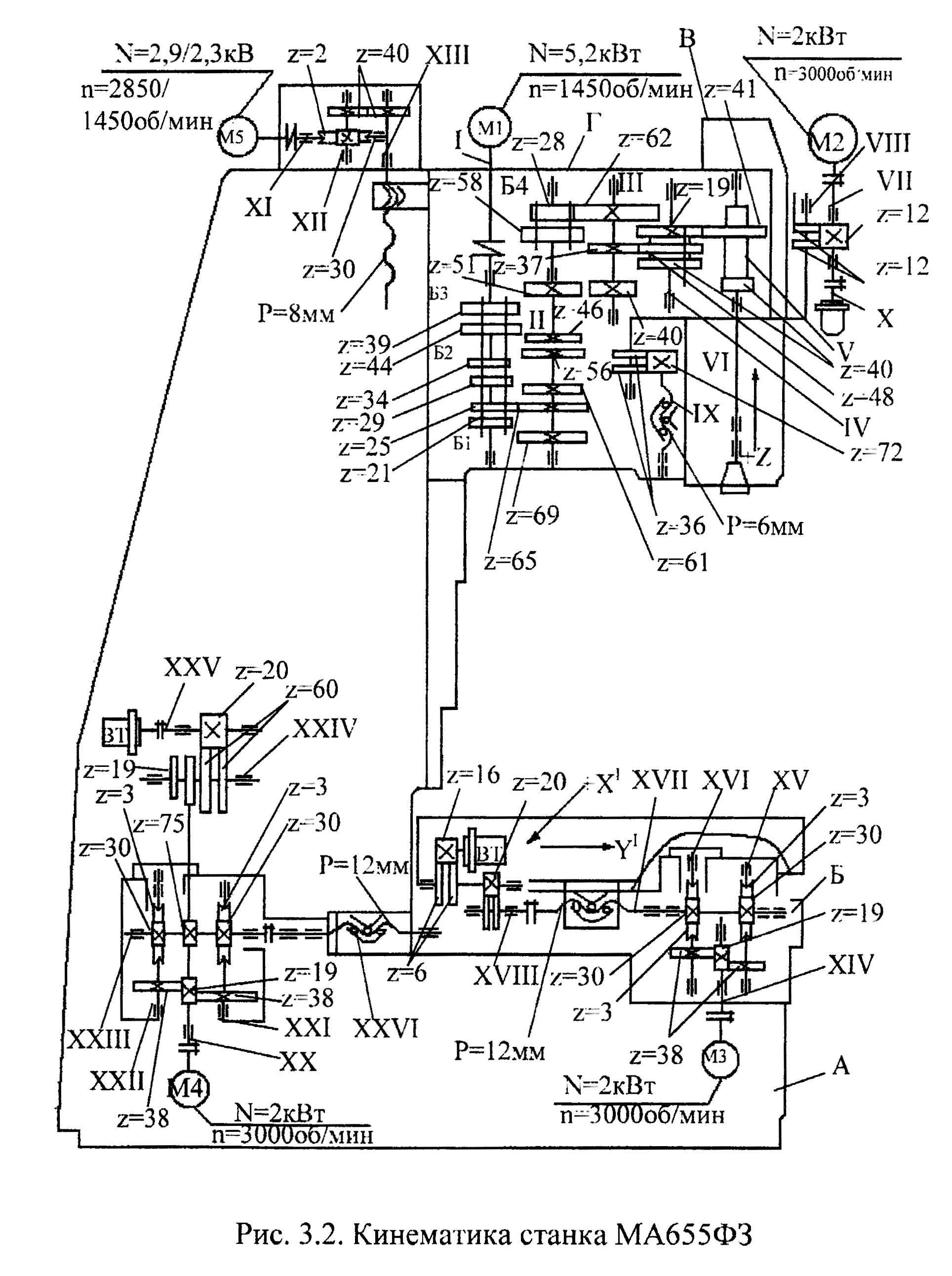
Кінематична схема бесконсольного вертикально-фрезерного верстата МА-655

Кінематична схема бесконсольного вертикально-фрезерного верстата МА-655

Кінематична схема вертикально-фрезерного верстата ма-655

1. Кінематична схема бесконсольного вертикально-фрезерного верстата МА-655. Дивитись у збільшеному масштабі

2. Кінематична схема бесконсольного вертикально-фрезерного верстата МА-655. Дивитись у збільшеному масштабі



Привід головного руху

Главное рух – вращение шпинделя осуществляется асинхронным електродвигуном АДФ2П132М4ПБТ з инвертором KEB 15.F5.M1E-35DA.

Выходной вал електродвигуна через еластичную муфту связан з входным валом 1 фрезерной головки. Вращение з вала 1 через систему зубчатых колес передається на шпиндель.

При переключении блоков шестерен 22-23 і 9-10, расположенных на валу Ш, і получает 6 различных диапазонов чисел оборотів при номинальном числе оборотів електродвигуна.

Мощность електродвигуна составляет 11 кВт, номинальное число оборотів 1500 об/мин.

Передаточные числа кінематичної ланцюги по диапазонам равны:

Обеспечивая приводом головного руху регулювання чисел оборотів в диапазоне: уменьшение і увеличение в 2 раза от номинальных чисел оборотів, шпиндель получает наступні обороты:

Переключення диапазонов осуществляется по программе или в наладочном режиме. Изменение числа оборотів шпинделя внутри диапазонов бесступенчатое.




Приводы подач по координатам X, Y, Z

Продольное перемещение стола (X) і поперечное перемещение салазок (Y) осуществляется от вентильного електродвигуна ДВУ2М215LT2 з модулем регулювання MR25M. Электродвигатели соединены з шариковыми гвинтами 30, 31 жесткой муфтой на прямую.

По координате Z перемещение каретки з фрезерной головкой осуществляется от такого же електродвигуна. Вал електродвигуна жестко связан з входным валом редуктора вертикальной подачі.

Далее вращение через косозубые шестерни 5 і 6 передаются ходовому винту 32 шариковой винтовой пары. Гайка етой пары крепится на вертикальной каретке. Передаточное число редуктора I = 1.5.

Валы електродвигателей всех координат соединены з датчиками обратной связи ЛИР158.


Пристрій бесконсольного вертикально-фрезерного верстата МА-655 і его складових частин

Станина і стойка

Станина і стойка (рис.5 і рис.6) образуют основной несущий узел, предназначенный для переміщення стола з салазками і фрезерной головки.

Узел состоит из следующих складових частин:

  1. станина
  2. стойка
  3. шариковая винтовая пара
  4. каретка

Станина представляет собой чугунную отливку коробчатой формы, усиленную внутренними поперечными і продольными ребрами. На верхней плоскости по бокам станины крепятся направляющие для салазок. Направляющие выполнены стальными закаленными.

Станина верстата имеет отсеки для сбора емульсии, соединенные з резервуаром для охлаждающей жидкости находится сзади верстата.

Для транспортировки станины і нижней частини предусмотрены четыре резьбовых отверстия М68×2 для грузовых болтов.

С правой боковой стороны станины закреплен кронштейн 7 для линейки отсчета перемещений по координате Y.

В верхней задньої частини станины крепится своим основанием стойка. Стойка выполнена литой коробчатого сечения і имеет вертикальные привертные направляющие для каретки 8. С боковых і задньої сторон стойки предусмотрены окна, закрытые крышками, для доступа к приводу перечного переміщення. Внутри стойки закреплены стальные трубки для подвода масла от насосных станций керування і змазки к поперечному приводу подач і к фрезерной головке. В нише передньої частини стойки на платиках закреплена шариковая винтовая пара переміщення каретки. Шариковая винтовая пара крепится к стойке двумя опорами 9. Корпус гайки 10 закреплен на каретке. Гайка ходового гвинта смонтирована в корпусе і состоит из двух частин, которые во время сборки разворачиваются друг относительно друга для создания натяга в паре винт-гайка.

Каретка 4 перемещается по вертикальным направляющим стойки і предназначена для крепления фрезерной головки.

На корпусе редуктора вертикальной подачі установлен зажим каретки, который предотвращает перемещение вертикальной каретки по направляющим стойки при отключении насосной станції і приводу вертикальной каретки. Зажим производится тарельчатыми пружинами за вал двигуна клеммой. Для разжима клеммы давление подается в цилиндр, который сжимает тарельчатые пружины.

Положение клеммы при разжиме і зажиме контролируется конечными выключателями.

Для отсчета перемещений по координате Z на стойке з правой стороны установлена линейка 11, оптический нониус установлен на каретке.

В нижней передньої частини стойки на платике крепления корпуса опори шариковой винтовой пары закрепляется корпус редуктора обратной связи 12.

Вращение от гвинта вертикальной подачі передається преобразователю угловых перемещений ЛИР158.

Вертикальные направление стойки привертные стальные. К направляющим каретки для уменьшения силы трения і износа крепятся накладка из бронзы.

Направляющие при работе верстата очищаются от пыли і грязи скребками. Верхня часть направляючих закрыта пристрійм защиты направляючих, выполненных в виде гармошки.

Смазка направляючих стойки і шариковой гайки автоматическая от импульсной насосной станції (см. раздел «Смазка верстата»). Через каретку і стойки при помощи телескопической трубы 13 производится слив масла из корпуса фрезерной головки в циркуляционную станцию змазки.




Механізм смены инструмента

Вращение механізма осуществляется от гідродвигуна Г15-22. Через пару конических зубчатых колѐс 12,13, червячную передачу 14,15 і пару цилиндрических зубчатых колѐс 16,17, вращение передаѐтся на корпус механізма.

В начале автоматичного цикла смены инструмента шпиндель на ползучей скорости предварительно ориентируется в определенном угловом положении, исключающем попадание зуба гідроцилиндра ориентации шпинделя на зуб копирной втулки. В етом положении происходит відключення двигуна приводу шпинделя.

Сигнал на відключення головного приводу подаѐтся от КВД, установленном на корпусе фрезерной головки і одновременно происходит разрыв кінематичної ланцюги переключением блока шестерен 22 – 23 в нейтральное положение.

Поворот шпинделя осуществляется следующим образом: зуб фиксатора механізма ориентации при осевом перемещении вверх от гідроцилиндра поворачивает копирую втулку і вместе з ней вал 1У фрезерной головки, і далее через зубчатую передачу 19,18 (i = 47/47) поворачивает шпиндель.

Головка фрезерна з магазином

Головка фрезерна з магазином (рис.4) представляет собой пристрій, обеспечивающее вращение шпинделя і автоматическую смену инструмента при обработке детали. Фрезерная головка крепится на каретке стойки верстата і вместе з кареткой перемещается по вертикальным направляющим стойки. Вертикальное перемещение осуществляется ходовым винтом от приводу вертикальних подач.

Фрезерная головка з магазином состоит из следующих основних механізмов:

В шпиндельном узле верстата смонтирован шпиндель, выполненный из стали 40ХНМА з закалкой внутреннего конуса і посадочных мест под підшипники до твѐрдости НРСе 46,5 – 51,5.

Передня опора шпинделя определяет собой комбинацию 2–х шариковых радиально–упорных підшибників 1 і роликового 2–х рядного радиального підшипника з конической расточкой внутренней обоймы 2. Підшипники смонтированы в стакане 4, в котором выполнены канавки і отверстия для подвода змазки.

Заданная опора шпинделя состоит из одного 2–х рядного роликового підшипника 3 з конической расточкой внутренней обоймы, на шпинделе закреплена ведомая шестерня 5, которая получает вращение от коробки швидкостей.

Во внутренней расточке шпинделя смонтирован захват инструмента, выполненный в виде рычагов, которые перемещаются тягой 7.

Тяга под действием набора тарельчатых пружин всегда находится в верхнем (от робочого торца шпинделя) крайнем положении, соответствующим зажиму инструмента. Перемещение тяги вниз для разжима инструмента осуществляется штоком 9 гідроцилиндра 8.

Для получения широкого диапазона швидкостей шпинделя внутри корпуса фрезерной головки смонтирована коробка швидкостей. Крутящий момент от електродвигуна еластичную муфту і систему зубчатых колѐс передаѐтся на шпиндель. Переключенням 2–х зубчатых блоков, расположенных на валу 25, получаем на шпинделе 6 швидкостей при постоянном числе оборотів електродвигуна. При изменении числа оборотів електродвигуна і переключении блоков шестерен, шпиндель получает от 20 до 2500 об/мин. Порядок передачи обертання з вала електродвигуна на шпиндель смотри в описании кінематичної схеми верстата.

Переключення блоков шестерен осуществляется гідроцилиндрами переключения. Положение гідроцилиндров і соответственно блоков шестерен контролируется кінцівыми выключателями, расположенными сверху фрезерной головки. Выбор диапазона швидкостей шпинделя (переключение блоков шестерен) осуществляется c пульта керування или УЧПУ. Смазка фрезерной головки проточная (см. раздел «смазка верстата»).

В верхней частини фрезерной головки расположен механізм ориентации шпинделя, состоящий из гідроцилиндра і копирной втулки 11. Втулка жѐстко закреплена на валу 12.

Перед каждой сменой инструмента шпиндель должен занять строго определѐнное угловое положение. Толкатель гідроцилиндра 10 при перемещении штока гідроцилиндра вверх, своим зубом находит на спираль, копирной втулки і поворачивает еѐ. Втулка через вал 12 шестерни 16 передаѐт вращение на шпиндель. Поворот шпинделя происходит от захода зуба толкателя в один из двух пазов копирной втулки.

Перед ориентацией шпинделя блок шестерен 23 -24, расположенный на валу 25, выходит из зацепления з шестерней, передающей вращение шпиндель, чем разрывается кінематична ланцюг – «електродвигатель – шпиндель».

Перемещение блока шестерен в среднее положение осуществляется от трѐхпозиционного гідроцилиндра. При етом давление подводится в верхнюю і нижнюю полости гідроцилиндра.

Магазин 20 закреплѐн на ползуне, который перемещается по вертикальным направляющим фрезерной головки. Перемещение магазина осуществляется гідроцилиндром 17, шток которого соединѐн з корпусом ползуна магазина.

Ползун в своей нижней частини имеет наклонный выступ, к которому крепится ось 18.

Ось наклонена под углом 60° к вертикали. На ось монтируется магазин і поджимается к плоскости наклонного выступа ползуна гайкой 19.

Магазин представляет собой конічний чашеобразный корпус, на наружной поверхности которого расположены 8 гнѐзд для инструментов.

Вращение магазина осуществляется от гідродвигуна типа Г15-22, закреплѐнного на подвижном диске. Через пару конических зубчатых колѐс, червячную передачу і пару цилиндрических зубчатых колѐс вращение передаѐтся на вращающуюся часть магазина. Оправка з инструментом в гнезде инструмента удерживается по наружной цилиндрической поверхности двумя подпружиненными рычагами 21. На рычагах расположены два конических фиксатора 22 , которые фиксируют определѐнное положение оправки в гнезде магазина.

В рабочем положении, когда производится обработка детали, магазин находится в верхнем положении. При етом рычаги 21 разведены в стороны клиновидной планкой, укреплѐнной на торце фрезерной головки; оправка з инструментом затянута в конус шпинделя і освобождена от контакта з рычагами.

При разжиме инструмента цанга в шпинделе верстата, перемещаясь вниз под действием гідроцилиндра разжима, своим торцевым находит на верхний торец оправки, выталкивает еѐ из конуса шпинделя. Оправка наружным торцевым поясом садится на торцы рычагов 21. Магазин перемещается по направляющим вниз под действием гідроцилиндра, при етом рычаги, освобождаясь от дії клиновидной планки, захватывают і фиксируют оправку в гнезде магазина.

На диске, закрепленном нерухомо на оси магазина, расположены 8 микропереключателей. На корпусе магазина смонтирован упор, который при вращении магазина воздействует на микропереключатели. Каждому гнезду магазина соответствует микропереключатель под тем же номером.

Микропереключатели осуществляют поиск і выбор инструмента, предусмотренного программой обробки.

При выборе инструмента корпус магазина вращается по часовий стрелке. Как только один из восьми микропереключателей будет отжат упором, подаѐтся команда на реверс корпуса магазина.

На корпусе магазина закреплено храповое колесо, которое при реверсе упирается своими зубами в собачку , нерухомо закрепленную на диске.

Итак, необходимый инструмент находится на исходной позиции і готов для приема в шпиндель. На диске, кроме 8 микропереключателей смонтирован девятый который, при вращении корпуса магазина по часовий стрелки отжат. В кінці реверса магазина зуб храпового колеса находит на ролик і далее через систему рычагов нажимается микропереключатель. Подается команда на рух магазина вверх.

Підвісний пульт керування

Керування верстата по программе і в наладочном режиме проводится з подвесного пульта керування, который содержит пристрій ЧПУ NC-210.

Підвісний пульт керування изображен на рисунке 7.

Розташування і назначение органів керування пульта содержится в Руководстве по експлуатации NC-210.




Стол і салазки

Стол і салазки (см. рис. 8) стоят из следующих складових частин: салазок, стола, ходовых винтов продольного і поперечного переміщення і елементів качения типа «танкетка».

Салазки 4 представляют чугунную отливку коробчатой формы з крестообразными направляющими.

Верхние направления продольного переміщення стола имеют привертные направляющие, выполненные из закаленной стали. По привертным направляющим в верхней частини салазок перемещается стол на елементах качения, типа «танкетки» 3.

Для создания натяга в направляючих, наряду з прижимными планками в нижней частини стола установлены подпружиненные прижимные ролики 6.

Перемещение стола в продольном направлении осуществляется ходовым винтом 1, который своими опорами крепится на платинах в верхней частини салазок, корпус гайки гвинта крепится к столу.

С левой стороны, салазок на платиках крепится привід поздовжньої подачі.

В поперечном направлении салазки перемещаются на «танкетках» по привертным направляющим станины. Для создания натяга в направляючих служат подпружиненные прижимные ролики. Салазки перемещаются ходовым винтом 2, корпус гайки которого закреплен к нижней частини салазок. Опори ходового гвинта крепятся к станине.

Стол і салазки имеют боковые направляющие ковзання, снабженные регулируемыми клиновыми планками для выборки зазору. Для защиты направляючих і ходовых винтов от стружки і емульсии предусмотрены телескопические щитки.

Ходовые винты продольного і поперечного переміщення выполнены шариковыми, что позволяет снизить зусилля, необходимые для переміщення стола і салазок, а также уменьшить зазоры в паре ходовой винт-гайка і увеличить долговечность передачи.

Привід поздовжньої подачі

Привід поздовжньої подачі (см. рис.9) предназначен для переміщення стола по координате Х і состоит из вентильного електродвигуна 1, кронштейна 2 для его установки і жесткой соединительной муфты 3, выполненной в виде трубы со шпоночным разом з одной стороны, для соединения з електродвигуном і бесшпоночным соединением 4 з другой стороны для соединения з шариковым винтом 5.

Привід поперечної подачі

Привід предназначен для переміщення салазок со смонтированным на них механізмом по координате «Y» і устанавливает в задньої частини станины.

Конструкція приводу аналогична приводу поздовжньої подачі.

Привід вертикальной подачі

Електродвигун 1 вертикальной подачі (рис.10) жестко соединен з входным валом 2 редуктора, который представляет собой пару косозубых зубчатых колес 3 і 4, одна из которых 4, выполнена разрезной для выборки зазору в зацеплении: выходной вал 5 редуктора соединяется з шариковым винтом бесшпоночным соединением 6.

В привід вертикальной подачі входит зажим каретки 7, который представляет собой клемму 8, закрепленную на корпусе редуктора 9 і охватывающею входной вал 2 в месте соединения его з двигателем.

Зажим клеммы производится з помощью тарельчатых пружин мгновенно при падении давления в силовой насосной станції, что обеспечивает надежное, удержание головки от падения в аварийных ситуациях і при выключении верстата.

Разжим клеммы осуществляется гідроцилиндром автоматически при включении насосной станції.

Гідроцилиндр уравновешивания

Для розвантаження вертикального приводу от веса каретки з фрезерной головкой і магазином предусмотрен гідроцилиндр розвантаження (рис. 11). Он устанавливает наверху стойки і крепится к корпусу редуктора вертикальних подач. Шток цилиндра шарнирно соединен з кареткой фрезерной головки.





Електроустаткування

Електроустаткування верстата предназначено для керування работой верстата.

Електроустаткування включает в себя наступні основні пристроя:

На станке имеются:

Комплектующие пристроя имеют свою експлуатационную документацию, в которой приводится опис их роботи і експлуатации.

Конструктивно елементы електроустаткування расположены непосредственно на станке, в електрошкафу і пульті керування.

Управління верстатом осуществляется з УЧПУ подвесного пульта.

Для живлення верстата используется 3-х фазная силовая ланцюг переменного тока 380В, 50Гц.

Общая мощность, потребляемая верстатом, не более 30 КВА. Подвод живлення на верстат вести гибкий приводом сечением 16 мм2 (провод N сечением 10 мм2).

Верстат должен быть заземлен согласно Правилам пристроя електроустановок.

Первоначальный пуск

При первоначальном пуске верстата необходимо проверить надежность заземления і качество клеммных і разъѐмных з'єднань електроустаткування.

Проверить сопротивление изоляции токоведущих частин относительно корпуса.

Убедиться в наличии плавких вставок в предохранителях.

Проверить правильность чередования фаз А, В, С.

Установить выключатель живлення верстата SA1 на електрошкафу в положение “ON”.

Включить пристрій ЧПУ.

Проверить направление обертання асинхронных двигателей і двигателей вентиляторов.

Произвести проверку приводу подач і шпинделя.

Проверить правильность і надежность срабатывания ограничивающих і аварийных кінцівых выключателей.

Проверить відключення верстата от аварийной кнопки, расположенной на підвісному пульті керування.

Опис роботи електроустаткування

Для роботи необходимо:

С помощью пристроя ЧПУ осуществляется:

Керування вращением шпинделя:

Для приводу шпинделя используется асинхронный електродвигатель АДФ2П132М4ПБТ з инвертором 15.F5.M1E-35DA. Их технические характеристики і опис приведены в експлуатационной документации.

Увімкнення шпинделя на рабочие обороты возможно только при выбранном диапазоне швидкостей.

Кроме того, шпиндель при смене диапазона і инструмента автоматически переходит на вращение по часовий стрелке на ползучий скорости.

При нажатии на кнопку аварийного останова происходит торможение шпинделя.

Керування переміщенням по координатам X, Y, Z:

При наезде на конечные выключатели ограничителей ходу SQ52, SQ53, SQ54, SQ46, SQ47, SQ48 УЧПУ запрещает перемещение в данном направлении.

При наезде на аварийные кінцівые включатели SQ55, SQ56, SQ57 отключается реле К1 і блокируется робота електроприводов подачі X, Y, Z.

Сход з аварийных кінцівых выключателей осуществляется в ручном режиме (см. Руководство оператора).

Выход в “0” стола, салазок, фрезерной головки происходит одинаково в соответствии з протоколом пристроя ЧПУ NC-210.

Керування выбором диапазонов:

Переключення диапазонов реализуется путем увімкнення соответствующих електромагнитов гідроклапанов і контроля кінцівиков.

Керування механізмом смены инструмента:

Циклограмма смены инструмента представлена в табл.3.

Цикл смены инструмента состоит из следующих операций:

Смена инструмента происходит следующим образом. Фрезерная головка отводится в положение «0». Шпиндель тормозиться до ползучей скорости, происходит предварительная ориентация шпинделя (срабатывает SQ19). После етого привід шпинделя отключается.

Включаются електромагниты ЭМ5, ЭМ10 і расцепляют кинематику. При етом срабатывает кінцівик SQ17 - “кинематика засцеплена”.

Затем включается електромагнит ЭМ9, происходит точная ориентация шпинделя і разжим инструмента (срабатывает SQ40).

Далее включается електромагнит ЭМ12, магазин опускается вниз і нажимает кінцівик SQ14.

Вращение магазина осуществляется включением електромагнита ЭМ11. Как только ось нужного инструмента пересечет ось шпинделя (совпадение текущего SQ21…SQ28 і заданного Т-кодов инструментов) при наезде на кінцівик SQ15 выключается ЭМ11. Вращение магазина прекращается.

Происходит реверс магазина до упора. В исходном положении магазина отпускается кінцівик SQ29.

Для руху магазина вверх включается електромагнит ЭМ13. В верхнем положении магазина нажимается кінцівик SQ13.

Отключается електромагнит ЭМ9 і инструмент зажимается. Шпиндель разориентирован.

Включается привід шпинделя, і на ползучей скорости происходит сцепление кинематика первоначального диапазона (ЭМ5 і ЭМ10).

Фрезерная головка опускается вниз і продолжается обработка детали.


Гідрообладнання

Загальні відомості

Гідросистема верстата предназначена для:

Cклад гідрооборудования:




МА-655 Верстат фрезерный вертикальний з крестовым столом і ЧПУ. Відеоролик.




Технічні характеристики бесконсольного фрезерного верстата МА-655

Наименование параметра МА-655 А7
Основні параметри верстата
Класс точності по ГОСТ 9726-72 і ГОСТ 8-82 н
Розміри поверхности стола, мм 500 х 1250
Высота поверхности стола над полом, мм 900
Расстояние от торца шпинделя до поверхности стола, мм 160…790
Расстояние от оси шпинделя до вертикальних направляючих (вылет), мм 560
Наибольшее перемещение в следящем режиме (продольное стола X/ поперечное салазок Y/ вертикальное фрезерной головки Z), мм 1000/ 500/ 630
Пределы рабочих подач, мм/мин 5…2400
Скорости быстрых перемещений, мм/мин. 4800
Наибольшая масса обрабатываемой детали, кг
Точность позиционирования стола по координатам Х, Y, мм ±0,02
Точность обробки деталей по контуру, мм ±0,05
Шероховатость поверхности при обработке деталей по ГОСТ 2789-73, мм Rz=20; Rа=2,5
Шпиндель. Бабка шпиндельна
Диаметр шпинделя по нижним підшипникам, мм
Частота обертання шпинделя, об/мин 20…2500
Число диапазонов швидкостей шпинделя 6
Ход гильзы шпинделя
Наибольший крутящий момент на шпинделе, Нм (кгс*м) 750 (75)
Наибольшее усилие різання, допускаемое механізмом подачі бабки, Н (кгс) 750 (75)
Конус отверстия шпинделя по ГОСТ 15945-70 7:24
Кінець шпинделя
Рабочий стол
Пределы продольных подач стола (б/с регулювання)(X), мм/мин 5..1500
Пределы поперечных подач стола (б/с регулювання) (Y), мм/мин 5..1500
Скорость быстрых перемещений стола продольных і поперечных, м/мин 4,800
Магазин инструмента
Количество инструментов в магазине 8
Електроустаткування і привід верстата
Штатная система ЧПУ (1982 год) NC-210
Штатная гідростанція ЗАМПГ48-83, 8Г12-22/АО2-42-6
Количество електродвигателей на станке 7
Електродвигун приводу головного руху, кВт 11,0
Електродвигун насоса гідростанції, кВт 4,0
Електродвигун приводов подач стола і бабки (X, Y, Z), Нм/ об/мин 35/ 2000
Електродвигун насоса змазки направляючих стола і салазок, кВт 0,018
Електродвигун насоса охлаждения, кВт 0,125
Габаритные розміри і масса верстата
Габаритные розміри (длина х ширина х высота), мм 2360 х 2660 х 3680
Масса верстата, кг 10000

    Список литературы:

  1. Аврутин С.В. Основы фрезерного дела, 1962
  2. Аврутин С.В. Фрезерне дело, 1963
  3. Ачеркан Н.С. Металлорежущие верстати, Том 1, 1965
  4. Барбашов Ф.А. Фрезерне дело 1973
  5. Барбашов Ф.А. Фрезерные роботи (Профтехобразование), 1986
  6. Блюмберг В.А. Справочник фрезеровщика, 1984
  7. Григорьев С.П. Практика координатно-расточных і фрезерных работ, 1980
  8. Копылов Работа на фрезерных верстатах,1971
  9. Косовский В.Л. Справочник молодого фрезеровщика, 1992
  10. Кувшинский В.В. Фрезерование,1977
  11. Ничков А.Г. Фрезерные верстати (Библиотека станочника), 1977
  12. Пикус М.Ю. Справочник слесаря по ремонту металлорежущих верстатів, 1987
  13. Плотицын В.Г. Расчёты настроек і наладок фрезерных верстатів, 1969
  14. Плотицын В.Г. Наладка фрезерных верстатів,1975
  15. Рябов С.А. Современные фрезерные верстати і их оснастка, 2006
  16. Схиртладзе А.Г., Новиков В.Ю. Технологическое обладнання машиностроительных производств, 1980
  17. Тепинкичиев В.К. Металлорежущие верстати, 1973
  18. Чернов Н.Н. Металлорежущие верстати, 1988
  19. Френкель С.Ш. Справочник молодого фрезеровщика (3-е изд.) (Профтехобразование), 1978









Заказать

Кто владеет информацией - тот владеет миром.

Натан Ротшильд