Виробник токарного верстата моделі ТС135М (ТС135М-491) - Державний Союзний завод, ДСЗ № 491 (до 1944 року ДСЗ № 288), в даний час Савелівський машинобудівний завод, СМЗ , м. Кімри, заснований в 1915 році.
Токарно-гвинторізний верстат ТС135М вироблявся з 1954 року. За основу конструкції було взято прецизійний токарний верстат 1612П та DL-1 німецької фірми G.Kärger (Густав Кергер).
Компанія Kärger була заснована в Берліні та займалася виробництвом прецизійних токарних верстатів для годинникової промисловості. У 1949 році на місці компанії G.Kärger створено державне підприємство "Берлінський верстатобудівний завод".
Подальший розвиток конструкції верстата Т135В .
Токарно-гвинторізний верстат ТС135М призначений для виконання різних токарних робіт і нарізування метричної, модульної, дюймової та різьб. Оброблювані деталі встановлюються у центрах чи патроні.
Основна відмінність верстата ТС135М від токарного верстата моделі 1612П : бронзові опорні підшипники ковзання шпинделя замінені на підшипники кочення та збільшено потужність електродвигуна.
Верстат ТС135М призначений для токарної обробки порівняно невеликих деталей з різних матеріалів як швидкорізальними, так і твердосплавними інструментами в умовах індивідуального та серійного виробництва. На верстаті можна нарізати різцем метричні, дюймові та модульні різьблення.
Двигун для приводу швидкого ходу не передбачено.

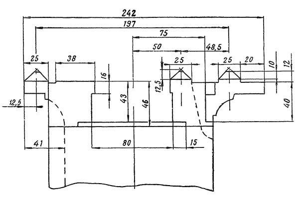
Габарити робочого простору токарного верстата Т-135

Кінець шпинделя токарного верстата ТС-135

Станина токарно-гвинторізного верстата ТС-135
Станина токарно-гвинторізного верстата ТС-135. Дивитись у збільшеному масштабі

Фото токарно-гвинторізного верстата ТС-135

Фото токарно-гвинторізного верстата ТС-135

Фото токарно-гвинторізного верстата ТС-135

Фото токарно-гвинторізного верстата ТС-135

Фото токарно-гвинторізного верстата DL-1 компании G.Kärger

Фото токарно-гвинторізного верстата DL-1 компании G.Kärger

Фото токарно-гвинторізного верстата DL-1 компании G.Kärger

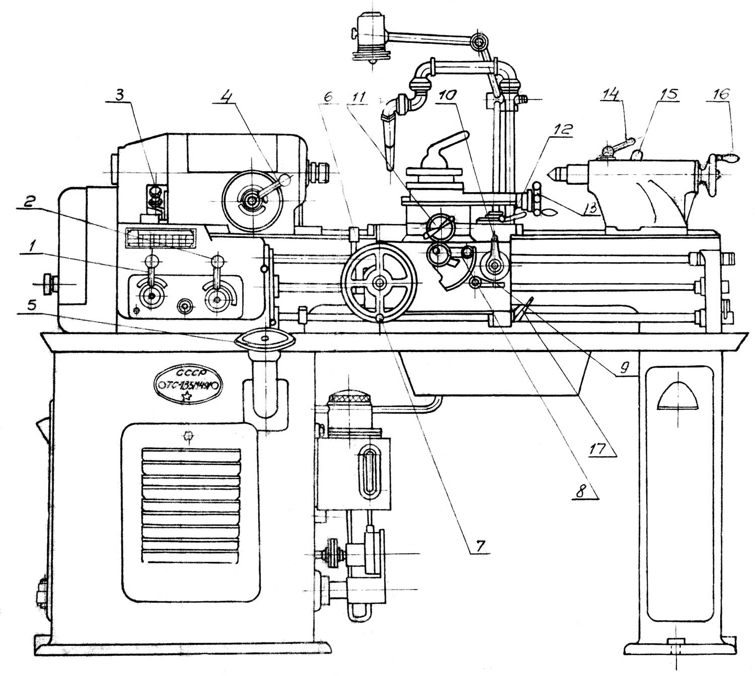
Розташування органів керування токарним верстатом ТС-135

Кінематична схема токарного верстата ТС-135
1. Схема кінематична токарно-гвинторізного верстата ТС-135. Дивитись у збільшеному масштабі
2. Схема кінематична токарно-гвинторізного верстата ТС-135. Дивитись у збільшеному масштабі
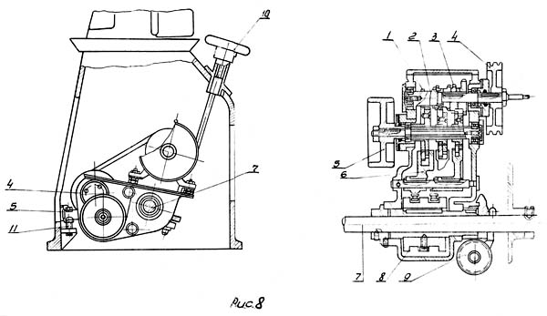
Приводом верстата є індивідуальний електродвигун, встановлений на коробці швидкостей. Електродвигун 1 за допомогою клинопасової передачі 2 повідомляє обертання першому валу коробки швидкостей. Перемикання блоків другого валика коробки швидкостей можна повідомити шість різних швидкостей. Від коробки швидкостей обертання передається приводному шківу передньої бабки за допомогою плоскочасної передачі 3.
Для розвантаження шпинделя від тиску ременя приводний шків 4 монтується на окремих опорах, не пов'язаних зі шпинделем. Обертання від шківа до шпинделя передається за допомогою зубчастої муфти 5.
Коли муфта знаходиться в крайньому правому положенні, обертання від приводного шківа передається через перебір зубчастому колесу 6 7 і далі шпинделю 8, який отримує шість ступенів швидкостей. При перемиканні муфти вліво остання безпосередньо з'єднується зубчастиним колесом 9 приводного валу, причому зубчасті колеса перебору виходять із зачеплення. У цьому випадку на шпиндель передається ще шість ступенів швидкостей. Таким чином, шпиндель може працювати на 12 різних швидкостях. Напрямок обертання шпинделя змінюється реверсуванням електродвигуна
Продольное или поперечное перемещение салазок суппорта передається от шпинделя 8 через трензель 10, коробку подач, ходовой валик 11, фартук з реечным зубчатым колесом рейке 12, закрепленной на станине (продольная подача), или через трензель 10, коробку подач, фартук, винт A3 і гайку 14 суппорту (поперечная подача). При нарезании різьби подача осуществляется через трензель і гітару подач посредством ходового гвинта 15 і маточной гайки 16, закрепленной в фартуке.
Масляный насос 17 получает вращение от первого вала коробки швидкостей через клиноременную передачу.
Станина имеет коробчатую форму, усиленную внутренними диагональными ребрами. В верхней частини, станины расположены плоские і призматические направляющие. По призматическим направляющим перемещается каретка суппорта. Станина устанавливается на двух тумбах і соединяется з післядними посредством болтов. В передньої тумбе находится коробка швидкостей з електродвигуном, в задньої тумбе — ящик для сменных зубчатых колес.

Передня бабка токарно-гвинторізного верстата ТС-135
Передня бабка токарно-гвинторізного верстата ТС-135. Дивитись у збільшеному масштабі
Правый рычаг 18 служит для переключения перебора, левый 19 для переключения трензеля.
Шпиндель 1 передньої бабки разгружен от изгибающих усилий, передающихся на шкив 2 от ременной передачи. Во избежание поломки; зубьев зубчатых колес перебора 3 предусмотрена блокировка, предохраняющая от увімкнення перебора при нерасцепленной муфте 4 прямого увімкнення.

Шпиндель токарно-гвинторізного верстата ТС-135

Коробка подач токарно-гвинторізного верстата ТС-135
Коробка подач токарно-гвинторізного верстата ТС-135. Дивитись у збільшеному масштабі
Коробка подач используется как для ряда продольных і поперечных подач, так і для нарізання стандартных метрических, дюймовых і модульных резьб.
Коробка подач передает вращение ходовому валику 2 или винту 1 от шпинделя через трензель или сменные зубчасті колеса.
Для выполнения всех токарных работ з автоматичною поздовжньої или поперечної подачей используется ходовой валик 2. При нарезании различных різьб используется ходовой винт 1 і сменные зубчасті колеса. Ходовой винт вращается в полом ведущем валике 6 коробки подач. Валик 3 служит для реверсирования, увімкнення і виключення електродвигуна. Установка подач производится при помощи двух рукояток 4 і 5 в соответствии з данными таблицы на корпусе коробки.

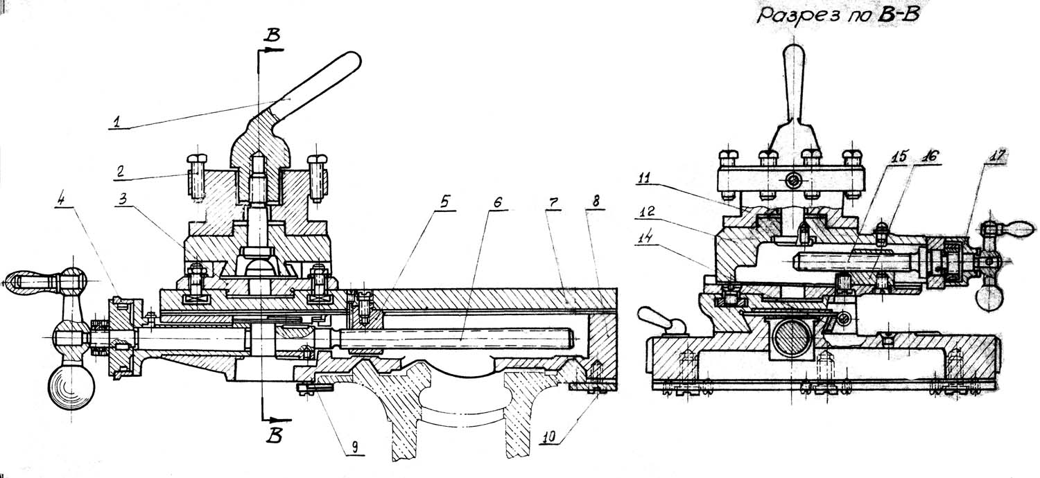
Задня бабка токарно-гвинторізного верстата ТС-135
Задня бабка токарно-гвинторізного верстата ТС-135. Дивитись у збільшеному масштабі
Задня бабка используется при обточке детали в центрах. Бабка устанавливается на средних направляючих станины (плоской і призматической) і закрепляется в нужном месте планкой 12, прижимаемой к станине при помощи рукоятки 8 і ексцентрика 11. Осевое перемещение пиноли 3 производится вращением гвинта 4 посредством рукоятки 7. Винт вращается в регулировочной гайке 6, не допускающей осьового переміщення гвинта. Гайка 5 гвинта подачі, закрепленная в корпусе 2 бабки, удерживает пиноль 3 от обертання.
В конусное отверстие пиноли 3 вставляется центр 1. Рукоятка 9 служит для зажиму пиноли. При точении конусов корпус 2 сдвигается относительно направляющей подушки 13 в поперечном направлении посредством двух винтов 10. Величина смещения корпуса отсчитывается по линейке з нониусом.

Суппорт токарно-гвинторізного верстата ТС-135
Суппорт токарно-гвинторізного верстата ТС-135. Дивитись у збільшеному масштабі
Суппорт состоит из следующих основних частин: каретки 5, плиты 7, поворотной частини 13, верхней каретки 12 і резцедержателя 11. Каретка 8 може передвигаться в продольном направлении по призматическим направляющим станины. Для закрепления каретки при поперечної обработке предусмотрена рукоятка 9. На верхней плоскости каретки 8 имеются направляющие в форме ласточкина хвоста, по которым перемещается плита 7.
На боковых сторонах каретки сделаны резьбовые отверстия для закрепления подвижного люнета.
Плита 7 получает поперечное перемещение посредством гвинта 6 і гайки 5. Износ направляючих компенсируется подтягиванием клина 14.
В плите 7 имеется круговой Т-образный паз, в который вставляются болты для крепления поворотной частини суппорта; два продольных Т-образных паза служат для установки различных пристосувань.
В поворотной частини 13 имеется кольцевой выступ, который вставляется в Т-образный паз плиты 7 і является направляющей при повороте в обе стороны (на 45°) поворотной частини суппорта. Угол поворота отсчитывается по лимбу. На верхней поверхности поворотной частини. 13 имеются направляющие в форме ласточкина хвоста, по которым посредством гвинта 15 і гайки 16 може перемещаться верхняя каретка 12.
Перемещение плиты 7 і верхней каретки 12 определяется по нониусам 4 і 10.
В четырехместном резцедержателе 11 имеется восемь болтов 2 для закрепления резцов. Отвинтив гайку 1, можно повернуть резцедержатель на 90, 180 или 270°. Нужное положение резцедержателя устанавливается при помощи фиксатора.
Верстат 1612П снабжен конусной линейкой, предназначенной для обтачивания і растачивания конических поверхностей.
При работе з конусной линейкой кронштейн 19, расположенный з задньої стороны верстата, устанавливается і закрепляется в нужном месте соответственно обрабатываемому участку детали. Скалка 20 конусной линейки зажимается в кронштейне 19. Затем отпускают две гайки 21 на концах линейки, винтом 18 устанавливают линейку по шкале 17 і затягивают гайки. Одно деление шкалы соответствует конусности 1 : 100.
Таким образом, верхняя каретка конусной линейки во время роботи остается нерухомою, а ползушка 3, соединенная через винт 6 поперечної подачі з резцедержателем, скользит вдоль паза линейки.

Фартук токарно-гвинторізного верстата ТС-135
Фартук токарно-гвинторізного верстата ТС-135. Дивитись у збільшеному масштабі
В фартуке имеется блокировка, предотвращающая возможность одновременного увімкнення маточной гайки і поперечного или продольного самоходов, а также падающий червяк, осуществляющий автоматический останов верстата в случае его перегрузки.
Останов происходит следующим образом.
Дойдя до упора, червяк 7 і сцепленное з ним червячное колесо 12 останавливаются; ходовой валик 17 і установленные на нем зубчасті колеса продолжают вращаться. Так как на торце зубчатого колеса 6 имеются кулачки со скосом, которым соответствуют такие же кулачки на торце остановившегося червяка 7, то зубчатое колесо 6 отойдет к пружине 4, смещая упор 10 з валиком 8 влево. Когда ето смещение достигнет определенной величины, валик 5 сдвинется з опори 9 і корпус 5 червяка, лишенный опори, повернется относительно ходового валика, вследствие чего расцепятся червяк 7 і червячное колесо 12. Чтобы снова сланцюгить червяк з червячным колесом, нужно повернуть рычаг 1 вверх. При етом правый конец валика 8 под действием пружины ляжет на опору 9.
Пружина 4 должна быть установлена на максимальное давление різання 300 кг. При превышении етого давления супорт автоматически останавливается і опасность поломки верстата предотвращается.
Если в результате продолжительной роботи или по другим причинам автоматический останов суппорта происходит недостаточно четко, следует подтянуть пружину 4. Для етого из фартука вывинчивается винт 2, контрвинт 11 освобождается, установочная гайка 5 поворачивается примерно на 1 оборот і контрвинт 11 снова затягивается.
Если подтягивание пружины 4 оказывается недостаточным, то следует повторить регулировку.
Регулировку автоматичного останова можно проверить двумя способами; либо на определенное давление з помощью динамометра, либо в процессе роботи верстата путем подсчета зусилля різання.
Рычаг 13 служит для увімкнення і виключення маточной гайки 14. Рычагом 15 включается продольная или поперечная подачі.
При переходе на работу з ручной поздовжньої подачей для отключения падающего червяка пользуются рукояткой 16.

Коробка швидкостей токарно-гвинторізного верстата ТС-135
Коробка швидкостей токарно-гвинторізного верстата ТС-135. Дивитись у збільшеному масштабі
Изменение швидкостей производится при помощи маховичка 10, приводящего во вращение винтовые зубчасті колеса 9, в результате чего поворачивается барабан 8, переключающий посредством трех вилок 6 зубчасті колеса коробки швидкостей.
Таким образом, движение, получаемое от двигуна посредством клиноременной передачи і шкива 4, передається через блоки зубчатых колес 1, 2 і 3 шкиву 5 і далее з помощью плоского ремня шпинделю верстата. Перебор передньої бабки удваивает число швидкостей. Маховичок 10 можно переключать только при выключенном двигателе. Если маховичок не поворачивается, следует на короткое время включить двигатель, затем выключить і во время его остановки установить маховичком нужное число оборотів шпинделя.
Натяжение приводного ремня, идущего от коробки швидкостей к передньої бабке, регулируется при помощи установочного болта 11, поворотом коробки швидкостей относительно оси 7.
При регулировании натяжения ремня необходимо строго соблюдать следующее правило: выступ коробки швидкостей не должен выходить из вилки ограничителя, привинченного з внутренней стороны стенки тумбы. Несоблюдение етого, правила може привести к поломке зубьев зубчатых колес из-за неполного сцепления.
Особенно необходимо соблюдать ето правило при перешивке ремня. Перемещение коробки швидкостей при регулировании натяжения ремня не должно превышать 15 мм вверх і 15 мм вниз.
Для обеспечения точной роботи шпинделя большое значение имеет качество ремня, передающего рух от коробки швидкостей шпинделю.
Рекомендуется применять кожаный (или равноценный) ремень однорядный толщиной 4—5 мм, склеенный внахлестку. Сшивать ремень не рекомендуется.

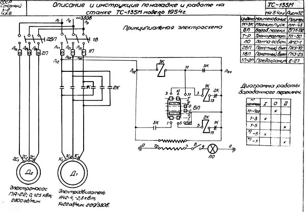
Електрична схема токарного верстата ТС-135
КСхема електрична принципова токарно-гвинторізного верстата ТС-135. Дивитись у збільшеному масштабі
Електроустаткування верстата запроектировано для роботи от сети трехфазного переменного тока напряжением 380 В. К електрооборудованию верстата относятся:
Електродвигун А 41-4 служит для сообщения верстату рабочих движений і установлен в передньої тумбе верстата.
Электронасос ПА-22 служит для подачі на різець охлаждающей жидкости і установлен на специальном бачке за передньої бабкой.
Панель з аппаратурой монтируется в специальном металлическом корпусе з торцевой стороны верстата.
Верстат оборудован местным освещением з арматурой типа АМО-1, закрепленной на кронштейне з задньої стороны верстата. Ланцюг местного освещения питается от понизительного трансформатора ТП-50, понижающего напряжение до 36 В. Увімкнення і вимкнення местного освещения производится выключателем, расположенным в патроне лампы со стороны низкого напряжения. Проводка по верстату выполняется проводом ПРГ-500, прокладываемым в металлических рукавах і газовых трубах.
| Наименование параметра | 1612п | 1612в | ТС135М |
|---|---|---|---|
| Основні параметри | |||
| Класс точності | П | В | П |
| Наибольший диаметр заготовки, обрабатываемой над станиной, мм | 260 | 260 | 260 |
| Наибольший диаметр заготовки, обрабатываемой над суппортом, мм | 140 | 140 | 140 |
| Наибольшая длина заготовки (РМЦ), мм | 500 | 500 | 500 |
| Наибольшая длина обточки, мм | 400 | 400 | 400 |
| Высота оси центров над плоскими направляющими станины (высота центров), мм | 135 | 135 | 135 |
| Высота от опорной поверхности резца до линии центров, мм | 16 | 16 | 16 |
| Наибольшее расстояние от линии центров до кромки резцедержателя, мм | 145 | 145 | 145 |
| Шпиндель | |||
| Тип опорных підшибників | Скольжения | Скольжения | Качения |
| Диаметр сквозного отверстия в шпинделе, мм | 20 | 20 | 20 |
| Число ступеней частот прямого обертання шпинделя (число рабочих швидкостей) | 12 | 12 | 12 |
| Частота прямого обертання шпинделя, об/мин | 33,5..1520 | 33,5..1520 | 47,5..2144 |
| Размер внутреннего конуса в шпинделе, М | Конус морзе 3 | Конус морзе 3 | Конус морзе 3 |
| Кінець шпинделя | М45 х 4,5 | ||
| Торможение шпинделя | нет | нет | нет |
| Блокировка рукояток | есть | есть | есть |
| Суппорт. Подачи | |||
| Наибольшее перемещение поздовжньої каретки суппорта от руки, мм | 560 | 560 | 560 |
| Наибольшее перемещение поперечної каретки суппорта, мм, мм | 180 | 180 | 180 |
| Перемещение поздовжньої каретки суппорта на одно деление лимба, мм | нет | нет | нет |
| Перемещение поперечної каретки суппорта на одно деление лимба, мм, мм | 0,02 | 0,02 | 0,01 |
| Число ступеней продольных і поперечных подач | 9 | 9 | 9 |
| Пределы продольных рабочих подач, мм/об | 0,008..0,2 | 0,008..0,2 | 0,018..0,46 |
| Пределы поперечных рабочих подач, мм/об | 0,003..0,075 | 0,003..0,075 | 0,0067..0,171 |
| Количество нарезаемых різьб метрических | 70 | 70 | 70 |
| Пределы шагов нарезаемых різьб метрических, мм | 0,2..12,7 | 0,2..12,7 | 0,2..12,7 |
| Количество нарезаемых різьб дюймовых | 25 | 25 | 25 |
| Пределы шагов нарезаемых різьб дюймовых | 2..24 | 2..24 | 2..24 |
| Количество нарезаемых різьб модульных | 12 | 12 | 12 |
| Пределы шагов нарезаемых різьб модульных | 0,25..3 | 0,25..3 | 0,25..3 |
| Скорость быстрых перемещений суппорта, м/мин | нет | нет | нет |
| Різьбопокажчик | нет | нет | нет |
| Блокировка рукояток | есть | ||
| Захист от перегрузки | есть | есть | есть |
| Выключающие упоры | есть | есть | есть |
| Резцовые салазки | |||
| Наибольшие розміри державки резца (ширина х высота), мм | 16 х 25 | 16 х 25 | 16 х 20 |
| Наибольшее перемещение резцовых салазок, мм | 95 | 95 | 95 |
| Перемещение резцовых салазок на одно деление лимба, мм | 0,05 | 0,05 | 0,05 |
| Наибольший угол поворота резцовых салазок, град | ±90° | ±90° | ±90° |
| Цена деления шкалы поворота резцовых салазок, град | 1° | 1° | 1° |
| Число резцов в резцовой головке | 4 | 4 | 4 |
| Задня бабка | |||
| Диаметр пиноли задньої бабки, мм | |||
| Конус отверстия в пиноли задньої бабки | Морзе №3 | Морзе №3 | Морзе №3 |
| Наибольшее перемещение пиноли, мм | 110 | 110 | 110 |
| Величина поперечного смещения корпуса бабки, мм | ±15 | ±15 | ±15 |
| Електроустаткування | |||
| Количество електродвигателей на станке | 2 | 2 | 2 |
| Мощность електродвигуна головного привода, кВт | 1,7 | 1,7 | 2,8 |
| Тип електродвигуна головного привода | А-41/4 | А-41/4 | А-42/4 |
| Мощность електродвигуна насоса охлаждения, кВт | 0,125 | 0,125 | 0,125 |
| Габарити і масса верстата | |||
| Габарити верстата (длина ширина высота), мм | 1725 х 860 х 1400 | 1725 х 860 х 1400 | 1725 х 860 х 1400 |
| Масса верстата, кг | 800 | 800 | 800 |