Виробник безцентрового круглошліфувального верстата 3М182 – Вітебський верстатобудівний завод Вістан , заснований у 1914 році.
У 1960 році рішенням уряду було прийнято рішення про випуск безцентрово-шліфувальних верстатів універсальних та спеціальних.
Вітебський верстатобудівний завод «Вістан» одне з провідних підприємств із виробництва круглошліфувальних, центрових та безцентрових верстатів, зубообробних, обробних центрів з ЧПУ, токарних, спеціальних, міні, деревообробних верстатів.
Верстат безцентрово-шліфувальний 3М182 призначений для шліфування гладких, ступінчастиних, конічних, а також різноманітних фасонних поверхонь тіл обертання діаметром від 0,8 до 25 мм, методом наскрізного та врізного шліфування.
Довжина шліфованої поверхні конічних і фасонних виробів може бути не більшою за ширину кіл: нормальною 95 мм, найбільшою 170 мм.
Шліфування можуть піддаватися вироби до та після термічної обробки з чавуну, сталі, кольорових металів та їх сплавів, а також вироби з різних неметалевих матеріалів (текстоліт, пластмаси, скло тощо).
Точність обробки деталей на верстаті: некруглість 1 мкм, похибка діаметра в поздовжньому перерізі 1,6 мкм, шорсткість поверхні V10.
Клас точності Ст.
Для забезпечення прецизійного шліфування установка верстата поблизу джерел вібрації не допускається.
За наявності спеціального пристрою на верстаті можливе шліфування довгих циліндричних виробів методом наскрізної подачі.
Круглошліфувальний верстат безцентровий 3М182 забезпечує перший і другий класи точності і високий клас шорсткості шліфувальної поверхні.
Верстат 3М182 має такі переваги:
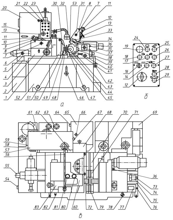
Загальний вигляд та компонування безцентрово-шліфувального верстата. Основні вузли верстата: станина, бабка шліфувального кола, бабка ведучого кола, супорт.
Верстат має два абразивні кола, що обертаються в одному напрямку: шліфувальний та ведучий. Заготовка, що шліфується, розташовується між колами і спирається на ніж. Провідне коло повідомляє заготівлі обертання (кругову подачу), а шліфувальне коло робить обробку поверхні.
Існують такі методи безцентрового шліфування:
Шліфування з наскрізною подачею (напрохід) . Для роботи цим методом вісь провідного кола встановлюють у вертикальній площині щодо осі шліфувального кола під кутом до 4° (рис. 58, б).
У процесі шліфування осі обох кіл та ніж нерухомі. У міру зношування кіл їх переміщають відносно один одного на величину зношування.
Матеріал ведучого кола внаслідок високого коефіцієнта тертя забезпечує хороше зчеплення провідного кола зі заготовкою, що шліфується. Тому встановлений під кутом а і провідний коло, що обертається з окружною швидкістю v повідомляє заготовці кругову подачу з окружною швидкістю Vo = V * cosa м / хв (рис. 58, б) і поздовжню подачу зі швидкістю Vn = Vsina м / хв.
Дійсна окружна швидкість Vo під впливом додаткового обертання заготівлі шліфувальним кругом дещо більша за теоретичну VO: Vo=(1,02..1,07)Vo (залежно від кута а).
Процес шліфування може бути безперервним, тому безцентрово-шліфувальні верстати зручно використовувати у потокових та автоматичних лініях.
Шліфування з поперечною подачею (на врізання) . Цим методом користуються при шліфуванні заготовок з фасонним, конічним або іншим, відмінним від циліндричного профілем, а також при шліфуванні циліндричних заготовок з буртом або будь-якою виступаючою частининою, діаметр якої більший за діаметр шліфованої поверхні.
Працюючи методом врізання осі кіл розташовують горизонтально, заготовку поміщають між ножем і провідним колом. Шліфування поверхні ведеться одночасно по всій довжині за рахунок поперечної подачі шліфувального (або в деяких верстатах провідного) кола. Наприкінці поперечної подачі виріб має заданий розмір.
Профіль обох кіл правиться відповідно до профілю заготовки, що шліфується. Довжина оброблюваної поверхні не може бути більшою за ширину шліфувального кола.
Шліфування з наскрізною подачею до упору . Цим методом використовують для шліфування циліндричних поверхонь заготовок з буртом або конічних поверхонь. Осьове переміщення заготовки обмежується упором, який після закінчення обробки виштовхує її.
Шліфування просувним методом . Характерною особливістю цього методу є рух опорного ножа разом із заготівлею в процесі її обробки. Для переміщення ножа використовують спеціальний пристрій, який встановлюють на опорний місток.
Цей метод застосовують замість шліфування з наскрізною подачею до упору, коли поздовжню подачу та відведення виробу зручніше здійснювати за допомогою опорного ножа.
Круглошліфувальні верстати безцентрові серії 3184:
Принцип безцентрового шліфування. При зовнішньому зовнішньому шліфуванні заготовку при обробці не закріплюють у пристосуванні, а вона контактує з завзятим ножем і двома колами, з яких 1 шліфувальний круг обробляє заготовку, а провідний коло 2 обертає заготовку. Шліфувальний і провідний кола обертаються з різними окружними швидкостями: швидкість шліфувального кола (30-50 м/с) у багато разів більша за швидкість провідного кола.
Безцентрове шліфування застосовується для обробки зовнішніх поверхонь деталей, які не мають центрових отворів.
Залежно від режимів шліфування і характеристики шліфувального кола при обробці на безцентровошліфувальних верстатах може бути досягнута точність обробки 1-3 класу і шорсткість поверхні V7-V10.
Основними перевагами безцентрового шліфування в порівнянні з круглим центровим шліфуванням є:

Методи безцентрового шліфування
Обробка деталей на безцентровошліфувальних верстатах здійснюється трьома способами:

Схема безцентрового шліфування
При всіх способах безцентрового шліфування оброблювана деталь 1 знаходиться в контакті з опорним ножем 2, кругом шліфувальним 3 і провідним колом 4.
При поздовжньому шліфуванні обробці піддаються гладкі деталі різних діаметрів та довжин. Поздовжня подача здійснюється за рахунок повороту ведучого кола або нахилу опорного ножа на певний кут
Врізним шліфуванням обробляються різні деталі: ступінчасті валики; вали, що мають конічні або сферичні поверхні, обмежені головками та ін. Довжина оброблюваних поверхонь повинна дорівнювати або менше висоти кола, якому правкою надається необхідна форма.
Шліфуванням до упору є проміжним між поздовжнім і врізним, обробляються деталі з поверхнями, що обмежують проходження деталей між колами і занадто довгі для врізного шліфування. При підході деталі до упору каретки супорта ведучий або шліфувальний круг відводиться і видаляється деталь із зони шліфування.

Габарит робочого простору верстата 3м182

Фото круглошліфувального безцентрового верстата 3м182.

Розташування органів керування безцентрово-шліфувальним верстатом 3м182

Кінематична схема круглошлифовального верстата 3м182
Схема кінематична круглошлифовального верстата 3М182. Дивитись у збільшеному масштабі
Рис. 3. Кінематична схема верстата:
Главное движение – вращение шлифовального круга – производится от електродвигуна М1 (7,5 кВт; 1450 об/мин) через клиноременную передачу 188/140 (рис. 3). Вращение ведущего круга осуществляется через червячную передачу 3/30 от електродвигуна М2 (0,85 кВт; 120–1650 об/мин, регулювання бесступенчатое).
Ускоренное поперечное перемещение бабки шлифовального круга по направляющим качения производится от двигуна М3, ручное перемещение – от маховика Р4. В обоих случаях з вала IV рух передаѐтся через червячную передачу 1/50 на ходовую гайку. При нерухомому винте з шагом 4 мм гайка вращается і перемещает бабку. Толчковая рукоятка РЗ при каждом нажатии обеспечивает поворот вала IV на одно деление лимба (через храповый механізм X з колесом 80).
При врезном шлифовании действует гідрофицированный механізм, перемещающий ходовой винт V вдоль его оси (без обертання) вместе со шлифовальной бабкой. У цилиндра Ц2 шток поршня жѐстко соединѐн з ходовым винтом V. В штоке сделан паз, сквозь который проходит клин К, і закреплѐн упирающийся в клин ролик. Давление в правой полости цилиндра Ц2 отводит бабку влево. При подаче масла в левую полость бабка быстро отводится до тех пор, пока ролик не упрѐтся в клин. Затем клин постепенно вытягивается цилиндром Ц1 из паза – бабка продолжает рух вправо і происходит врезание. Когда упорный буртик штока доходит до корпуса, бабка останавливается, начинается выхаживание (клин, оторвавшись от ролика, продолжает рух до своего упора). По окончании шлифования цилиндр Ц2 отводит бабку. Винты з рукоятками Р1 і Р2 регулируют ход поршней в обоих цилиндрах. При шлифовании «на проход» винт з рукояткой Р1 должен быть завѐрнут до упора в корпус. На бабках шлифовального і ведущего кругов установлены пристроя для правки кругов. Правка кругов производится унифицированными пристроями, каждое из которых сообщает алмазному карандашу А продольное перемещение от двигуна М4 (0,09 кВт; 1500 об/мин) или от рукоятки Р5 (шаг ходового гвинта 2 мм), поперечное рух – от рукоятки Р6 (шаг ходового гвинта 1,5 мм). Муфта М – предохранительная. Установка бабки ведущего круга на размер обрабатываемой детали при наладке осуществляется рукояткой Р7 з помощью гвинта з шагом 6 мм. Кроме того бабка ведущего круга поворачивается в горизонтальной плоскости. После необходимой установки бабка фиксируется при помощи зажимов. 7. Принцип роботи верстата моделі 3М182 Обрабатываемую деталь устанавливают между шлифующим і ведущим кругами на опорном ноже так, чтобы центры детали были несколько выше линии центров обоих кругов. Шлифующему кругу сообщается быстрое вращательное движение, окружная скорость которого должна соответствовать принятой для шлифовальной операции скорости різання і должна быть направлена в точке касания з деталью в сторону опорного ножа.
Ведущему кругу также сообщается вращательное рух в том же направлении, что і шлифующему кругу, но з меньшей скоростью круговой подачі детали (10–50 м/мин). Система сил, действующая на деталь со стороны абразивных кругов і опорного ножа, заставляет її вращаться з окружной скоростью практически равной скорости обертання ведущего круга. Салазки з опорным ножом і бабкой ведущего круга устанавливаются так, чтобы расстояние между абразивными кругами точно соответствовало заданному диаметру обрабатываемой детали. При работе методом поздовжньої подачі ось ведущего круга устанавливается под небольшим углом (при черновом шлифовании α = 1,5…6°, а при чистовом α = 0,5…l,5°) к оси детали, в результате чего появляется осевая составляющая окружного зусилля, под действием которого деталь перемещается вдоль своей оси. При работе методом поперечної подачі ось ведущего круга располагается параллельно оси детали или под незначительным углом наклона (не более 1°). Продольная подача в етому случае отсутствует. Радиальная подача сообщается бабке ведущего круга. На рис.1 показана схема шлифования на бесцентровошлифовальных верстатах наружной поверхности детали з поздовжньої подачей "на проход". Деталь 3, поддерживаемая ножом 4, располагается между двумя кругами 1 і 2, из которых 1 – шлифовальный, вращаясь з окружной скоростью 30–40 м/сек, снимает припуск з заготовки, а 2 – ведущий круг, вращающийся о окружной скоростью 10–50 м/мин сообщает заготовке вращение – круговую подачу. Продольная подача сообщается шлифуемой заготовке ведущим кругом в результате установки его под некоторым углом к оси шлифовального круга или вследствие наклона опорного ножа на угол α.

Гідравлічна схема круглошлифовального верстата 3м182
Електродвигун насоса гідроприводу включается нажатием на кнопку "Смазка" при установці переключателя режимов роботи в положение "Наладочный режим для шлифования врезанием", нажатием на рычаг "Пуск цикла врізання" осуществляется врезание. Скорость швидкого подвода шлифовальной бабки і післядовательность подвода еѐ з переміщенням копира отрегулированы при сборке. Скорость рабочей подачі регулируется дросселем з регулятором 12 (рис. 4).
С включением електродвигуна, приводящего во вращение сдвоенный лопастной насос 2 потоки масла подходят к напорным золотникам 4(1), 4(2) і через фильтры 3(1), 3(2) по магистралям 1 і 1’ подводятся к распределителям.

Циклограмма роботи круглошлифовального верстата 3м182
Нажатием на кнопку "Пуск цикла врізання" включается електромагнит 2ЭМ золотника 8(2). В результате увімкнення електромагнита 2ЭМ произойдет загрузка образца в зону шлифования і нажмется конечный выключатель 4ВК (рис. 5), который включит електромагнит 1ЭМ золотника 8(1). В результате увімкнення електромагнита 1ЭМ произойдет быстрый подвод шлифовальной бабки к изделию і срабатывают золотники 11 і 9. Поршень гідроцилиндра 14 копира получит возможность перемещаться со скоростью, соответствующей рабочей подаче шлифовального круга. Одновременно з включением електромагнита 1ЭМ включается реле часу PB (см. рис. 5), контролирующее время обробки детали в зоне шлифования. По окончании обробки реле часу срабатывает і отключает електромагнит 1ЭМ. Шлифовальная бабка і копир возвращаются в исходное положение, нажимается конечный выключатель 4ВК, отключающий електромагнит 2ЭМ золотника 8(2). Обработанная деталь выталкивается из зоны шлифования, отключается конечный выключатель 4ВК. Выталкиватель находится в зоне загрузки образца. Нажатием на рычаг "Пуск цикла врізання" цикл повторяется.
| Наименование параметра | 3М182 | 3М184 |
|---|---|---|
| Основні параметри | ||
| Класс точності по ГОСТ 8-82 | В | В |
| Диаметр устанавливаемого вироби наибольший гарантируемый, мм | 25 | 80 |
| Наибольший допустимый диаметр устанавливаемого вироби, мм | 0,8..25 | 3..80 |
| Наименьший диаметр рекомендуемый при врезном шлифовании | 2,5 | 10 |
| Наибольшая длина обрабатываемых изделий (ограничивается жесткостью і устойчивостью изделий) при сквозном шлифовании, мм | 170 | 250 |
| Наибольшая длина обрабатываемых изделий (ограничивается жесткостью і устойчивостью изделий) при врезном шлифовании, мм | 95 | 145 |
| Высота от основания верстата до оси кругов, мм | 1060 | 1060 |
| Высота от зеркала мостика до оси кругов, мм | 160 | 235 |
| Шлифовальный круг | ||
| Тип шлифовального круга | ПП | ПП |
| Наружный диаметр наибольший, мм | 350 | 500 |
| Наружный диаметр наименьший, мм | 280 | 400 |
| Наибольшая высота, мм | 100 | 150 |
| Диаметр отверстия, мм | 127 | 203 |
| Число оборотів в минуту | 1910 | 1370 |
| Окружная скорость, м/сек | 35 | 35 |
| Наибольшая окружная скорость, м/сек | 50 | 50 |
| Ведущий круг | ||
| Наружный диаметр наименьший/ наибольший, мм | 200..250 | 300..350 |
| Наибольшая высота, мм | 100 | 150 |
| Диаметр отверстия, мм | 127 | 203 |
| Наибольший угол наклона в вертикальной плоскости, град | ±5 | ±5 |
| Наибольший угол наклона в горизонтальной плоскости, мин | ±30 | ±30 |
| Число оборотів в минуту при работе (бесступенчатое регулювання) | 17..150 | 11..150 |
| Число оборотів в минуту при правке | 300 | 290 |
| Бабка шлифовального круга | ||
| Размер кінця шпинделя шлифовального круга по ГОСТ 2323—67, мм | 80 | 80 |
| Наибольшее установочное перемещение при снятых кругах, мм | 90 | 130 |
| Наибольшее ускоренное перемещение при врезном шлифовании, мм | 20 | 20 |
| Рабочее перемещение на одно деление лимба механізма подачі, мм | 0,001 | 0,001 |
| Рабочее перемещение на один оборот лимба механізма подачі, мм | 0,08 | 0,08 |
| Рабочее перемещение толчковой подачі от рукоятки, мм | 0,001 | 0,001 |
| Рабочее перемещение механізмом врізання, мм | До 0,95 | |
| Скорость подачі при врезном шлифовании наибольшая, мм/мин | 10 | 10 |
| Скорость подачі при врезном шлифовании наименьшая, мм/мин | 0,06 | |
| Бабка ведущего круга | ||
| Перемещение наибольшее при снятых кругах, мм | 80 | 300 |
| Перемещение на одно деление лимба гвинта подачі, мм | 0,05 | 0,05 |
| Перемещение на один оборот лимба иинта подачі, мм | 6 | 6 |
| Механізм правки кругов | ||
| Поперечное перемещение алмаза на одно деление лимба, мм | 0,01 | 0,01 |
| Поперечное перемещение алмаза на один оборот лимба, мм | 1,5 | 1,5 |
| Скорость переміщення алмаза в продольном направлении наибольшая, мм/мин | 250 | 250 |
| Скорость переміщення алмаза в продольном направлении наименьшая, мм/мин | 30 | 30 |
| Наибольший угол разворота копира, гра | ±2 | ±2 |
| Суппорт | ||
| Наибольшее установочное перемещение ножа суппорта по высоте, мм | 10 | |
| Гідропривід механізма врізання | ||
| Производительность насоса, л/мин | 12/8 (сдвоенный) | |
| Номинальное давление, кгс/см2 | 10 | |
| Емкость гідробака, л | 100 | |
| Агрегат змазки | ||
| Производительность насоса змазки підшибників шпинделя бабки шлифовального круга, л/мин | 5 | |
| Производительность насоса змазки підшибників шпинделя бабки ведущего круга, л/мин | 1,6 | |
| Емкость бака підшибників шлифовального круга, л | 65 | |
| Емкость бака підшибників ведущего круга, л | 15 | |
| Агрегат охлаждения | ||
| Производительность насоса, л/мин | 45 | |
| Пропускная способность магнитного сепаратора, л/мин | 50 | |
| Емкость, бака, л | 120 | |
| Привод, габарит і масса верстата | ||
| Род тока питающей сети | Переменный трехфазный, частота тока 50гц | Переменный трехфазный, частота тока 50гц |
| Напряжение питающей сети, в | 380 | 380 |
| Напряжение електроприводов, в | 380 | 380 |
| Напряжение ланцюгів керування, в | 110 | 110 |
| Напряжение ланцюгів местного освещения, В | 36 | 36 |
| Напряжение сигнализации, В | 5,5 | 5,5 |
| Напряжение постоянного тока, В | 110 | 110 |
| Количество електродвигателей на станке | 11 | 11 |
| Електродвигун приводу шлифовального круга - тип | АО2-51-4-С1 | |
| Електродвигун приводу шлифовального круга - мощность, кВт, | 7,5 | 15 |
| Електродвигун приводу шлифовального круга - число оборотів в минуту | 1460 | |
| Електродвигун приводу ведущего круга - тип | ПБСТ-22-В | ПБСТ-22-В |
| Електродвигун приводу ведущего круга - мощность, кВт | 0,85 | 0,85 |
| Електродвигун приводу ведущего круга - число оборотів в минуту | 2200 | 2200 |
| Електродвигун приводу електромашинного усилителя - тип | ЭМУ-12А-С1 | ЭМУ-12А |
| Електродвигун приводу електромашинного усилителя - мощность, кВт | 1,2 | 1,2 |
| Електродвигун приводу електромашинного усилителя - число оборотів в минуту | 2900 | 2900 |
| Електродвигун приводу гідронасоса - тип | АОЛ2-21-4-С1 | |
| Електродвигун приводу гідронасоса - мощность, кВт | 1,1 | 1,1 |
| Електродвигун приводу гідронасоса - число оборотів в минуту | 1400 | 1400 |
| Електродвигун приводу насоса змазки підшибників шпинделя шлифовального круга - тип | АОЛ21-4-С1 | |
| Електродвигун приводу насоса змазки підшибників шпинделя шлифовального круга - мощность, кВт | 0,27 | 0,25 |
| приводу насоса змазки підшибників шпинделя шлифовального круга - число оборотів в минуту | 1400 | |
| Електродвигун приводу насоса змазки підшибників шпинделя ведущего круга - тип | АОЛ11-4-С1 | |
| Електродвигун приводу насоса змазки підшибників шпинделя ведущего круга - мощность, кВт | 0,12 | 0,12 |
| приводу насоса змазки підшибників шпинделя ведущего круга - число оборотів в минуту | 1400 | |
| Електродвигун приводу насоса охлаждения - тип | ПА-45-С1 | |
| Електродвигун приводу насоса охлаждения - мощность, кВт | 0,15 | 0,6 |
| Електродвигун приводу насоса охлаждения - число оборотів в минуту | 2800 | |
| Електродвигун приводу магнитного сепаратора - тип | АОЛ11-4-С1 | |
| Електродвигун приводу магнитного - мощность, кВт | 0,12 | 0,12 |
| Електродвигун приводу магнитного - число оборотів в минуту | 1400 | |
| Електродвигун приводу правки шлифовального круга - тип | ПЛ-062-С1 | |
| Електродвигун приводу правки шлифовального круга - мощность, кВт | 0,09 | 0,09 |
| Електродвигун приводу правки шлифовального круга - число оборотів в минуту | 1440 | |
| Електродвигун приводу правки ведущего круга - тип | ПЛ-062-С1 | |
| Електродвигун приводу правки ведущего круга - мощность, кВт | 0,09 | 0,09 |
| Електродвигун приводу правки ведущего круга - число оборотів в минуту | 1440 | |
| Електродвигун приводу ускоренного переміщення шлифовальной бабки - тип | АОЛ12-4-С1 | |
| Електродвигун приводу ускоренного переміщення шлифовальной бабки - мощность, кВт | 0,18 | 0,25 |
| Електродвигун приводу ускоренного переміщення шлифовальной бабки - число оборотів в минуту | 1400 | 1400 |
| Суммарная мощность електродвигателей, кВт | 11,67 | 18,47 |
| Габаритные розміри і масса верстата | ||
| Габарит верстата (длина X ширина X высота), мм | 2230 х 1455 х 2120 | 2945 х 1885 х 2120 |
| Масса верстата з приставным обладнанням, кг | 3470 | 6850 |