metalinstryment.com
Довідник по металорізальних верстатах та пресовому обладнанні

На головну сторінку 🏠

3Е183 Верстат круглошліфувальний безцентровий (безцентровошліфувальний)
Схеми, опис, характеристики

3Е183 загальний вигляд універсального круглошліфувального верстата з горизонтальним шпинделем



class="content_stanki">



Відомості про виробника безцентрового круглошліфувального універсального верстата 3Е183

Виробник безцентрового круглошліфувального верстата 3Е183 - Вітебський верстатобудівний завод "Вістан" , заснований у 1914 році.

У 1960 році рішенням уряду було ухвалено рішення про випуск безцентро-вішліфувальних верстатів універсальних та спеціальних.

Вітебський верстатобудівний завод «Вістан» одне з провідних підприємств із виробництва круглошліфувальних, центрових та безцентрових верстатів, зубообробних, обробних центрів з ЧПУ, токарних, спеціальних, міні, деревообробних верстатів.





Продукція Вітебського верстатобудівного заводу Вістан



3Е183 Верстат круглошліфувальний безцентровий. Призначення та сфера застосування

Верстат безцентровошліфувальний 3Е183 призначений для шліфування тіл обертання з діаметром заготовок від 1,2 до 40 мм при обробці на прохід і обробці врізанням. Діаметр виробу, що допускається, на напівавтоматах 3Е183В і 3Е183А до 40 мм.

Напівавтомат 3Е183 забезпечує автоматичні цикли:

Для здійснення врізного шліфування на напівавтоматі передбачено встановлення завантажувального маніпулятора УЗ1-560, налагодженого на завантаження деталей діаметром 27-40 і довжиною до 245 мм.

Для завантаження деталей різноманітної конфігурації, діаметри та довжини яких відмінні від зазначених у паспорті напівавтомата, конкретний завантажувальний пристрій та налагодження завод виготовляє на особливе замовлення.

Бабка шліфувального кола і бабка ведучого кола рухливі. Супорт та опорний ніж нерухомі. Бабку провідного кола можна встановити у горизонтальній площині під кутом ±30°, а найбільший кут нахилу осі провідного кола у вертикальній площині ±8°. Шліфувальна бабка встановлена ​​на роликових направляючих зі сталевими загартованими планками. Бічні напрямні також роликові. Бабка провідного кола встановлена ​​на направляючих ковзання.

Клас точності верстатів за ГОСТ 8-82Е: мод. 3Е183В - В; мод. 3Е183А - А.

Принцип роботи та особливості конструкції верстата

Шліфування з наскрізною подачею (напрохід)

Для роботи цим методом вісь провідного кола встановлюють у вертикальній площині щодо осі шліфувального кола під кутом до 4° (рис. 58, б).

У процесі шліфування осі обох кіл та ніж нерухомі. У міру зношування кіл їх переміщають відносно один одного на величину зношування.

Матеріал ведучого кола внаслідок високого коефіцієнта тертя забезпечує хороше зчеплення провідного кола зі заготовкою, що шліфується. Тому встановлений під кутом α і обертовий з окружною швидкістю v провідний коло повідомляє заготівлі кругову подачу з окружною швидкістю v=v cosα м/хв (рис. 58, б) і поздовжню подачу зі швидкістю vп=v sinα м/хв.

Дійсна окружна швидкість v′о під впливом додаткового обертання заготовки шліфувальним кругом дещо більша за теоретичну vо: v′о=(1,02..1,07) vо (залежно від кута α).

Процес шліфування може бути безперервним, тому безцентрово-шліфувальні верстати зручно використовувати у потокових та автоматичних лініях.

Шліфування з поперечною подачею (на врізання)

Цим методом користуються при шліфуванні заготовок з фасонним, конічним або іншим, відмінним від циліндричного профілем, а також при шліфуванні циліндричних заготовок з буртом або будь-якою виступаючою частининою, діаметр якої більший за діаметр шліфованої поверхні.

Працюючи методом врізання осі кіл розташовують горизонтально, заготовку поміщають між ножем і провідним колом. Шліфування поверхні ведеться одночасно по всій довжині за рахунок поперечної подачі шліфувального (або в деяких верстатах провідного) кола. Наприкінці поперечної подачі виріб має заданий розмір.

Профіль обох кіл правиться відповідно до профілю заготовки, що шліфується. Довжина оброблюваної поверхні не може бути більшою за ширину шліфувального кола.

Шліфування з наскрізною подачею до упору. Цим методом використовують для шліфування циліндричних поверхонь заготовок з буртом або конічних поверхонь. Осьове переміщення заготовки обмежується упором, який після закінчення обробки виштовхує її.

Шліфування просувним методом

Характерною особливістю цього методу є рух опорного ножа разом із заготівлею в процесі її обробки. Для переміщення ножа використовують спеціальний пристрій, який встановлюють на опорний місток 4 (рис. 59, г).

Цей метод застосовують замість шліфування з наскрізною подачею до упору, коли поздовжню подачу та відведення виробу зручніше здійснювати за допомогою опорного ножа.


3Е183 Габарит робочого простору верстата, посадкові та приєднувальні бази

3Е183 посадочні місця та приєднувальні розміри круглошліфувального безцентрового верстата.  Габарит робочого простору круглошліфувального безцентрового верстата

Габарит робочого простору шліфувального верстата 3Е183

Габарит робочого простору шліфувального верстата 3Е183. Дивитись у збільшеному масштабі



Абразивні круги та планшайба безцентрового верстата 3Е183

Абразивні круги та планшайба безцентрового верстата 3Е183

Абразивні круги та планшайба безцентрового верстата 3Е183. Дивитись у збільшеному масштабі



3Е183 Загальний вигляд круглошліфувального безцентрового верстата

Фото круглошліфувального безцентрового верстата 3Е183

Фото круглошліфувального безцентрового верстата 3Е183

Фото круглошліфувального безцентрового верстата 3Е183. Дивитись у збільшеному масштабі



Фото круглошліфувального безцентрового верстата 3Е183

Фото круглошліфувального безцентрового верстата 3Е183

Фото круглошліфувального безцентрового верстата 3Е183. Дивитись у збільшеному масштабі



Фото круглошліфувального безцентрового верстата 3Е183

Фото круглошліфувального безцентрового верстата 3Е183

Фото круглошліфувального безцентрового верстата 3Е183. Дивитись у збільшеному масштабі



Фото круглошліфувального безцентрового верстата 3Е183

Фото круглошліфувального безцентрового верстата 3Е183

Фото круглошліфувального безцентрового верстата 3Е183. Дивитись у збільшеному масштабі



Фото круглошліфувального безцентрового верстата 3Е183

Фото круглошліфувального безцентрового верстата 3Е183

Фото круглошліфувального безцентрового верстата 3Е183. Дивитись у збільшеному масштабі



Розташування основних вузлів безцентрово-шліфувального верстата 3Е183

Розташування основних вузлів безцентрово-шліфувального верстата 3Е183

Розташування основних вузлів безцентрово-шліфувального верстата 3Е183

Розташування основних вузлів безцентрово-шліфувального верстата 3Е183. Дивитись у збільшеному масштабі



Розташування основних вузлів безцентрово-шліфувального верстата 3Е183

Розташування основних вузлів безцентрово-шліфувального верстата 3Е183

Розташування основних вузлів безцентрово-шліфувального верстата 3Е183. Дивитись у збільшеному масштабі








Розташування органів керування бесцентрово шлифовальным верстатом 3Е183

Розташування органів керування безцентрово-шліфувальним верстатом 3Е183

Розташування органів керування бесцентрово шлифовальным верстатом 3Е183

Розташування органів керування бесцентрово шлифовальным верстатом 3Е183. Дивитись у збільшеному масштабі



Розташування органів керування безцентрово-шліфувальним верстатом 3Е183

Розташування органів керування бесцентрово шлифовальным верстатом 3Е183

Розташування органів керування бесцентрово шлифовальным верстатом 3Е183. Дивитись у збільшеному масштабі






Кінематична схема круглошлифовального верстата 3Е183

Кінематична схема безцентрово-шліфувального верстата 3Е183

Кінематична схема круглошлифовального верстата 3Е183

Схема кінематична круглошлифовального верстата 3Е183. Дивитись у збільшеному масштабі




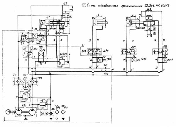
Гідравлічна схема круглошлифовального верстата 3Е183

Гідравлічна схема безцентрово-шліфувального верстата 3Е183

Гідравлічна схема круглошлифовального верстата 3Е183

Гідравлічна схема круглошлифовального верстата 3Е183. Дивитись у збільшеному масштабі



Гідравлічна схема безцентрово-шліфувального верстата 3Е183

Гідравлічна схема круглошлифовального верстата 3Е183

Гідравлічна схема круглошлифовального верстата 3Е183. Дивитись у збільшеному масштабі



Гідравлическое обладнання напівавтомату обеспечивает:


Настановне креслення круглошлифовального верстата 3Е183

Настановне креслення безцентрово-шліфувального верстата 3Е183

Настановне креслення круглошлифовального верстата 3Е183

Настановне креслення круглошлифовального верстата 3Е183. Дивитись у збільшеному масштабі






3Е183 Верстат круглошлифовальный бесцентровый (бесцентровошлифовальный). Відеоролик.





Технічні характеристики бесцентровошлифовального верстата 3Е183

Технічні характеристики безцентровошліфувального верстата 3Е183

Технічні характеристики бесцентровошлифовального верстата 3Е183

Технічні характеристики бесцентровошлифовального верстата 3Е183. Дивитись у збільшеному масштабі


Технічні характеристики безцентровошліфувального верстата 3Е183

Технічні характеристики бесцентровошлифовального верстата 3Е183

Технічні характеристики бесцентровошлифовального верстата 3Е183. Дивитись у збільшеному масштабі



    Список литературы:

  1. Полуавтоматы круглошлифовальные бесцентровые 3В193В, 3В193А. Руководство по експлуатации 3Е183В.00.000, 1983

  2. Альперович Т.А., Константинов К.Н., Шапиро А.Я. Конструкція шлифовальных верстатів, 1989
  3. Альперович Т.А., Константинов К.Н., Шапиро А.Я. Наладка і експлуатация шлифовальных верстатів, 1989
  4. Дибнер Л.Г., Цофин Э.Е. Заточные автоматы і напівавтоматы, 1978
  5. Генис Б.М., Доктор Л.Ш., Терган В.С. Шлифование на круглошлифовальных верстатах, 1965
  6. Кащук В.А., Верещагин А.Б. Справочник шлифовщика, 1988
  7. Куликов С.И. Хонингование, 1973
  8. Лісовий А.І. Пристрій, налагодження та експлуатація металорізальних верстатів, 1971
  9. Лоскутов В.В. Шліфувальні верстати, 1988
  10. Лур'є Г.Б. Шліфувальні верстати та їх налагодження,1972
  11. Лур'є Г.Б. Пристрій шліфувальних верстатів,1983
  12. Меніцький І.Д. Універсально-заточувальні верстати ,1968
  13. Муцянко В.І. Братчиков А.Я. Безцентрове шліфування, 1986
  14. Наєрман М.С., Наєрман Я.М. Посібник для підготовки шліфувальників. Навчальний посібник для ПТУ, 1989
  15. Наєрман Є.С. Довідник молодого шліфувальника, 1991.
  16. Попов С.А. Шліфувальні роботи, 1987
  17. Терган В.С. Шліфування на круглошліфувальних верстатах, 1972
  18. Шамов Б.П. Типи та конструкції основних вузлів шліфувальних верстатів, 1965