Виробник безцентрового круглошліфувального верстата 3Д180 – Вітебський верстатобудівний завод Вістан , заснований у 1914 році.
У 1960 році рішенням уряду було ухвалено рішення про випуск безцентро-вішліфувальних верстатів універсальних та спеціальних.
Вітебський верстатобудівний завод «Вістан» одне з провідних підприємств із виробництва круглошліфувальних, центрових та безцентрових верстатів, зубообробних, обробних центрів з ЧПУ, токарних, спеціальних, міні, деревообробних верстатів.
Верстат круглошліфувальний безцентровий 3Е180В (1974) був замінений на більш досконалу модель цієї ж серії 3Е180В (1984) з високим ступенем уніфікації основних вузлів і деталей.
Напівавтомат круглошліфувальний безцентровий 3Д180 призначений для шліфування тіл обертання з діаметром заготовок від 0,2 до 12 мм.
Верстат 3Д180 виконує операції шліфування гладких, ступінчастиних, конічних та фасонних поверхонь типу тіл обертання методом врізного або наскрізного шліфування. Шліфуються вироби з чавуну, сталі, кольорових металів та їх сплавів до та після термічної обробки, а також вироби з різних неметалевих матеріалів за відповідного підбору абразивного інструменту та матеріалу опорного ножа.
Круглошліфувальний безцентровий напівавтомат 3Д180 має компонування, при якому шліфувальна бабка нерухома, ведуча бабка - рухлива.
Шліфувальна бабка на віброопорах встановлюється на зварену станину.
На корпусі основи столу, на направляючих кочення розташований стіл, на якому кріпляться ведуча бабка (поворотна та неповоротна) та супорт. Стіл разом із супортом і ведучою бабкою переміщається по роликових направляючих у напрямку, перпендикулярному до осі шпинделя шліфувального кола.
Електродвигун приводу шліфувального кола кріпиться на кронштейні корпусу шліфувальної бабки.
Привід ведучого кола здійснюється від редуктора черв'ячного, розташованого в корпусі поворотної ведучої бабки.
Шпиндель шліфувального кола виконаний на гідродинамічних підшипниках ковзання.
Напівавтомати оснащені механізмами автоматичного виправлення шліфувального та провідного кіл, підналагодження шліфувальної бабки та мають електричний вузол обертання (за винятком ВСА180NC). На базі напівавтоматів при оснащенні завантажувально-розвантажувальним пристроєм можуть виготовлятися спеціальні верстати-автомати.
Напівавтомати комплектуються програмованими. Також випускаються напівавтомати на релейній схемі керування 3Е.
Для роботи цим методом вісь провідного кола встановлюють у вертикальній площині щодо осі шліфувального кола під кутом до 4°.
У процесі шліфування осі обох кіл та ніж нерухомі. У міру зношування кіл їх переміщають відносно один одного на величину зношування.
Матеріал ведучого кола внаслідок високого коефіцієнта тертя забезпечує хороше зчеплення провідного кола зі заготовкою, що шліфується. Тому встановлений під кутом α і обертовий з окружною швидкістю v провідний коло повідомляє заготівлі кругову подачу з окружною швидкістю v=v cosα м/хв (рис. 58, б) і поздовжню подачу зі швидкістю vп=v sinα м/хв.
Дійсна окружна швидкість v′о під впливом додаткового обертання заготовки шліфувальним кругом дещо більша за теоретичну vо: v′о=(1,02..1,07) vо (залежно від кута α).
Процес шліфування може бути безперервним, тому безцентрово-шліфувальні верстати зручно використовувати у потокових та автоматичних лініях.
Цим методом користуються при шліфуванні заготовок з фасонним, конічним або іншим, відмінним від циліндричного профілем, а також при шліфуванні циліндричних заготовок з буртом або будь-якою виступаючою частининою, діаметр якої більший за діаметр шліфованої поверхні.
Працюючи методом врізання осі кіл розташовують горизонтально, заготовку поміщають між ножем і провідним колом. Шліфування поверхні ведеться одночасно по всій довжині за рахунок поперечної подачі шліфувального (або в деяких верстатах провідного) кола. Наприкінці поперечної подачі виріб має заданий розмір.
Профіль обох кіл правиться відповідно до профілю заготовки, що шліфується. Довжина оброблюваної поверхні не може бути більшою за ширину шліфувального кола.
Шліфування з наскрізною подачею до упору. Цим методом використовують для шліфування циліндричних поверхонь заготовок з буртом або конічних поверхонь. Осьове переміщення заготовки обмежується упором, який після закінчення обробки виштовхує її.
Характерною особливістю цього методу є рух опорного ножа разом із заготівлею в процесі її обробки. Для переміщення ножа використовують спеціальний пристрій, який встановлюють на опорний місток 4 (рис. 59, г).
Цей метод застосовують замість шліфування з наскрізною подачею до упору, коли поздовжню подачу та відведення виробу зручніше здійснювати за допомогою опорного ножа.

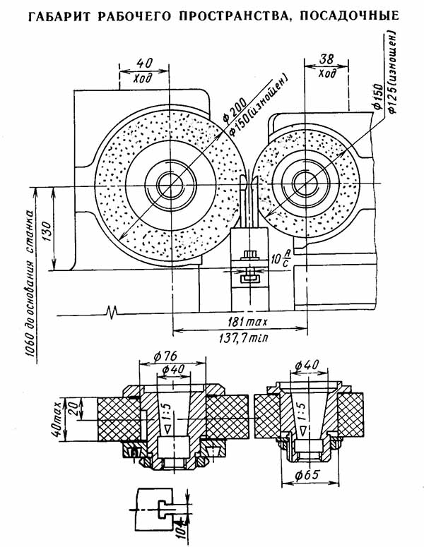
Габарит робочого простору шліфувального верстата 3Д180
Габарит робочого простору шліфувального верстата 3Д180. Дивитись у збільшеному масштабі

Фото круглошліфувального безцентрового верстата 3Д180

Фото круглошліфувального безцентрового верстата 3Д180

Настановне креслення круглошліфувального безцентрового верстата 3Д180

Технічні характеристики круглошліфувального безцентрового верстата 3Д180