metalinstryment.com
Довідник по металорізальних верстатів та пресовому обладнанні

2206ВМФ4 Верстат сверлильно-фрезерно-расточной горизонтальный з ЧПУ і АСИ
Схеми, опис, характеристики

Верстат сверлильно-фрезерно-расточной горизонтальный 2206ВМФ4 з ЧПУ і АСИ







Відомості про виробника сверлильно-фрезерно-расточного верстата 2206ВМФ4

Изготовитель сверлильно-фрезерно-расточного верстата 2206ВМФ4 - Витебский станкостроительный завод Вистан.

Витебский станкостроительный завод «Вистан» одно из ведущих предприятий по производству круглошлифовальных, центровых і бесцентровых верстатів, зубообрабатывающих, обрабатывающих центров з ЧПУ, токарных, специальных, мини, деревообрабатывающих верстатів





Продукция Витебского станкостроительного завода Вистан


2206ВМФ4 Верстат сверлильно-фрезерно-расточной горизонтальный високою точності з ЧПУ і АСИ. Назначение, область применения

Сегодня ета модель верстата производится под наименованием ВСМ-206ВМ-13CNC2.

Верстат 2206ВМФ4 сверлильно-фрезерно-расточной з крестовым поворотным столом горизонтальный з числовым программным керуванням (ЧПУ) і пристрійм автоматичною смены инструмента (АСИ) моделі 2206ВМФ4 предназначен для комплексной обробки плоских деталей средних размеров сложной формы.

Верстат 2206ВМФ4 предназначен для многооперационной обробки разнообразных деталей сложной конфигурации из стали, чугуна, цветных і легких сплавов.

На станке 2206ВМФ4 можно производить получистовое і чистовое фрезерование плоскостей, пазов і криволинейных поверхностей различными типами фрез, а также растачивание, сверление, зенкерование, развертывание отверстий і нарезание різьби метчиками і резцами по заданной программе.

Верстат може быть использован в мелкосерийном і серийном производствах различных отраслей промышленности.

Особливості конструкції і принцип роботи верстата

Компоновка верстата позволяет повысить его виброустойчивость і точностные параметри.

Применение в качестве елементів качения высокоточных роликовых опор, установленных з предварительным натягом, обеспечивает высокую жесткость стыков і их хорошие демпфирующие способности. Это гарантирует высокую точность позиционирования при резании даже на тяжелых режимах обробки.

Керування верстатом 2206ВМФ4 — от универсальной комплексной системы ЧПУ «Размер-2М-1300», позволяющей производить позиционную і контурную обработку, а также вручную з пульта керування. На станке программируются координатные переміщення стола і шпиндельной головки, скорости етих перемещений, частота обертання шпинделя, выбор і смена инструмента, смена обрабатываемой детали і циклы обробки.

На станке программируются координатные переміщення стола, шпиндельной головки, скорости етих перемещений, режими обробки, выбор, смена і коррекция инструмента, циклы обробки.

Привід ходовых винтов осуществляется непосредственно от высокомоментных двигателей постоянного тока, что сокращает длину кинематических ланцюгів, обеспечивая высокую точность перемещений і гибкость в управлении подачей.

В качестве приводу головного руху применен електродвигатель постоянного тока з широким диапазоном регулювання, что сокращает длину кинематических ланцюгів і улучшает експлуатационные качества верстата.

На станке 2206ВМФ4 имеется крестовый стол з Т-образными пазами. Установленный возле верстата на автономной опоре инструментальный магазин позволяет увеличить жесткость верстата і повышает его виброустойчивость, а также сводит к минимуму изменение его точностных параметров.

Наличие на станке пристроя для контроля угла поворота шпинделя дает возможность автоматически устанавливать ориентированный по углу инструмент.

Высокую точность перемещений і гибкость в управлении подачами обеспечивает привід ходовых винтов непосредственно от высокомоментных двигателей постоянного тока.

Применение на станке замкнутых роликовых направляючих качения типа «танкеток» і беззазорных передач «винт — гайка качения» повышают долговечность верстата, плавность переміщення рабочих органів і КПД их привода.

Привід головного руху осуществляется от електродвигуна постоянного тока Ml через коробку диапазонов, что позволяет получать широкий диапазон частот обертання шпинделя. Применение електродвигуна постоянного тока в качестве приводу головного руху улучшает експлуатационные показатели і упрощает кинематику верстата. Лобовое расположение шпиндельной головки на колонне повышает жесткость і точность верстата. Имеется пристрій для контроля угла поворота шпинделя, предназначенное для обробки винтовых поверхностей і выполнения переходов, требующих відведення (или подвода) резца от обрабатываемой поверхности при определенном угловом положении оправки.

Движения подач і поворот стола осуществляются от высокомоментных електродвигателей постоянного тока М2, М3, М4, М5, М6. Вращение ходовых винтов непосредственно от высокомоментных електродвигателей постоянного тока исключает длинные кинематические ланцюги, обеспечивая таким образом высокую точность перемещений і гибкость в управлении подачей, что необходимо для контурной обробки деталей.

Точность верстатів позволяет обрабатывать соосные отверстия післядовательно, поворачивая заготовку на 180°, короткими консольно закрепленными инструментами. Возможна обработка з линейной і круговой интерполяцией.

Инструментальный магазин установлен отдельно от верстата на индивидуальной опоре. Благодаря етому колебания, возникающие при работе его механізмов, не передаются верстату.

Производительность при работе на станке повышается в два — три раза за счет интенсификации режимов обробки, сокращения часу вспомогательных циклов і повышения уровня автоматизации.

Верстат може быть оснащен пристрійм автоматичною загрузки і выгрузки изделий, предназначенным для установки заготовки вне верстата на сменные столы (паллеты) і післядующей автоматичною загрузки столов на верстат, а также их выгрузки со верстата після окончания обробки. Использование сменных столов пристроя позволяет совместить загрузку заготовок или выгрузку обработанных изделий з работой верстата, что существенно сокращает холостые простои, повышает еффективность его использования і производительность, при етом исключается післядняя ручная операция—установка і снятие деталей со верстата.

Верстат може быть встроен в автоматическую линию.

Класс точності верстата В по ГОСТ 8—82.

Шероховатость обработанной поверхности R 2,5—1,5 мкм.

Категория качества верстата — высшая.

Разработчик — Одесское специальное конструкторское бюро прецизионных верстатів


Гамма фрезерных верстатів з крестовым столом і различной степенью автоматизации

Специальное конструкторское бюро прецизионных верстатів (СКБ ПС) при Одесском заводе прецизионных верстатів им. XXV съезда КПСС разработало гамму фрезерных верстатів различной степени автоматизации.

Верстати производились на Одесском заводе прецизионных верстатів им. XXV съезда КПСС, на Витебском станкостроительном заводе им. Кирова "Вистан" (2206ВМФ4) і Вильнюсском станкостроительном заводе "Жальгирис" (2202ВМ1Ф4).






Габаритные розміри робочого простору верстата 2206ВМФ4

2206ВМФ4 Габаритные розміри робочого простору горизонтального сверлильно-фрезерно-расточного верстата

Габаритные розміри робочого простору верстата 2206вмф4


Посадочные і присоединительные розміри верстата 2206ВМФ4

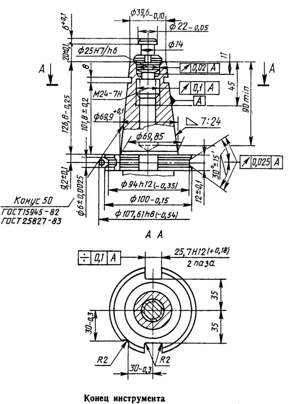
2206ВМФ4 Посадочные і присоединительные розміри горизонтального сверлильно-фрезерно-расточного верстата. Кінець шпинделя

Кінець шпинделя фрезерного верстата 2206вмф4


2206ВМФ4 Посадочные і присоединительные розміри горизонтального сверлильно-фрезерно-расточного верстата. Кінець инструмента

Крепление инструмента фрезерного верстата 2206вмф4


2206ВМФ4 Посадочные і присоединительные розміри горизонтального сверлильно-фрезерно-расточного верстата. Рабочий стол

Рабочий стол фрезерного верстата 2206вмф4


Система координат і компоновка верстата. Оси координат верстата 2206ВМФ4

2206ВМФ4 Система координат горизонтального сверлильно-фрезерно-расточного верстата. Оси координат верстата 2206ВМФ4

Система координат і компоновка верстата 2206вмф4


2206ВМФ4 Загальний вигляд горизонтального верстата

2206ВМФ4 Загальний вигляд  горизонтального сверлильно-фрезерно-расточного верстата

Фото горизонтального фрезерного верстата 2206вмф4





2206ВМФ4 Розташування складових частин горизонтального фрезерного верстата

2206ВМФ4 Розташування складових частин горизонтального сверлильно-фрезерно-расточного верстата

Розташування складових частин фрезерного верстата 2206вмф4

Список складових частин горизонтального верстата 2206ВМФ4

  1. защита поперечных направляючих
  2. зашита вертикальних направляючих
  3. механізм смены инструмента
  4. стол рабочий
  5. основа верстата
  6. шпиндельна головка
  7. колонна
  8. комплект инструмента і приладдя
  9. електрообладнання
  10. защита продольных направляючих
  11. защита зоны різання
  12. гідростанція
  13. транспортер для стружки
  14. щитки ограждения




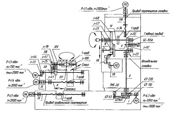
2206ВМФ4 Кінематична схема верстата

Кінематична схема 2206ВМФ4 горизонтального сверлильно-фрезерно-расточного верстата

Розташування складових частин фрезерного верстата 2206вмф4

Схема кінематична горизонтального сверлильно-фрезерно-расточного верстата 2206ВМФ4. Дивитись у збільшеному масштабі



Настановне креслення верстата 2206ВМФ4

Настановне креслення верстата горизонтального сверлильно-фрезерно-расточного верстата 2206ВМФ4

Настановне креслення фрезерного верстата 2206вмф4





. Відеоролик.




Основні технические данные і характеристики верстата 2206ВМФ4

Наименование параметра 2204ВМФ4 2206ВМФ4
Основні параметри
Класс точності по ГОСТ 8-82 В В
Модель пристроя ЧПУ Размер 2М1300-84, 2С42, Фанук 6М-Е Размер 2М1300-84, 2С42, Фанук 6М-Е
Количество управляемых координат 8 8
Количество одновременно управляемых координат при линейной/ круговой интерполяции 4/3 4/3
Наибольший диаметр сверления в стали 45, мм
Наибольший диаметр растачивания, мм
Пределы диаметров нарезаемой різьби, мм
Наибольший диаметр торцевой фрезы, мм
Наибольшая длина инструмента, устанавливаемого на станке, мм 350 400
Наименьшее і наибольшее расстояние от оси шпинделя до стола, мм 90..590 95..725
Расстояние от торца шпинделя до центра стола, мм 200..700 195..825
Рабочий стол
Розміри рабочей поверхности стола, мм Ø 630 630 х 800
Предельные розміри обрабатываемых поверхности (длина х ширина х высота), мм 400 х 400 х 300 700 х 600 х 500
Максимальная нагрузка на стол (по центру), кг 300 800
Число Т-образных пазов Розміри Т-образных пазов 7 7
Наибольшее продольное перемещение стола (X), мм 500 800
Наибольшее поперечное перемещение стола (Z), мм 500 630
Наибольшее вертикальное перемещение шпиндельной головки (Y), мм 500 630
Предел рабочих подач стола і ползуна, мм/мин 1..4000 1..6000
Скорость швидкого переміщення по координатам X, Z, мм/мин 10000 12000
Скорость швидкого переміщення по координате Y, м/мин 10000 12000
Допустимое усилие подачі по координате X, Y, Z, кН 9,806 15,000
Точность позиционирования по координате X, Y, Z, мм 0,012 0,016
Наибольшая частота обертання стола (координата B), об/мин 10 10
Шпиндель
Частота обертання шпинделя, об/мин 40..2500 10..3500
Количество швидкостей шпинделя Б/с Б/с
Номинальный крутящий момент на шпинделе, Нм 320
Конус шпинделя по ГОСТ 15945-70 50 50
Магазин инструмента
Емкость инструментального магазина, шт. 30 30
Время смены инструмента/ от реза до реза, с 5/ 16 5/ 16
Наибольший диаметр инструмента, устанавливаемого в магазине, мм (без пропуска гнезд) 160 (100) 200 (100)
Наибольшая длина инструмента, устанавливаемого в шпинделе верстата, мм 350 400
Максимальный диаметр сверла, мм 30
Наибольшая масса оправки, устанавливаемой в магазине, кг 12/ 16 10/ 15
Електроустаткування і привод
Електродвигун приводу головного руху, кВт 6,3 15
Електродвигун переключения швидкостей шпинделя, кВт 0,01
Электродвигатели приводу подач (X, Y, Z) і поворота стола, кВт 1,1
Электродвигатели зажиму инструмента, кВт 0,18
Электродвигатели зажиму стола і шпиндельной головки, кВт 0,01
Электронасос охлаждающей жидкости, кВт 0,12
Електродвигун обертання магазина, кВт 0,4
Електродвигун автооператора, кВт 0,37
Електродвигун перегружателя, кВт 0,18
Електродвигун насоса змазки, кВт 0,25
Суммарная мощность установленных на станке електродвигателей, кВт 11,2
Габарити і масса верстата
Габарити верстата (длина ширина высота), мм 3470 х 2900 х 2825 3807 х 3065 х 2937
Масса верстата, кг 7250 12000

    Список литературы:

  1. Грачев Л.Н. Конструкція і наладка верстатів з программным керуванням і роботизированных комплексов, 1986
  2. Панов Ф.С. Работа на верстатах з ЧПУ, 1984
  3. ГОСТ Р 50369—92. Электроприводы. Термины і определения, 1993. — 16 с.
  4. Завгороднев П.И. Работа оператора на верстатах з программным керуванням, 1981. — 136 с.
  5. Косовский В.Л. і др. Программное керування верстатами і промышленными роботами 1989
  6. Программное керування верстатами і промышленными роботами : учебник / [В.Л.Косовский, Ю.Г.Козырев, А.Н.Ковшов і др.], 1989. — 272 с.
  7. Сергиевский Л.В. Пособие наладчика верстатів з ЧПУ / Л. В. Сергиевский, В.В.Русланов, 1991. — 176 с.
  8. Соломенцев Ю.Н. Керування гибкими производственными системами / Ю. Н. Соломенцев, В.Л.Сосонкин, 1988. — 552 с.
  9. Сосонкин В.Л. Микропроцессорные системы числового программного керування верстатами / В.Л. Сосонкин, 1985. — 288 с.
  10. Черпаков Б.И. Металлорежущие верстати : Учебник для нач. проф. образования / Б. И. Черпаков, Т. А. Альперович, 2004. — 368 с.
  11. Числовое программное керування верстатами / [В.Л. Сосонкин, О. П. Михайлев, Ю. А Павлов і др.]; под ред. В. Л. Сосонкина, 1981. — 398 с.