metalinstryment.com
Довідник по металорізальних верстатів та пресовому обладнанні

2С150ПМФ4 Верстат сверлильно-фрезерно-расточной вертикальний з ЧПУ і АСИ
Схеми, опис, характеристики

Верстат сверлильно-фрезерно-расточной вертикальний 2С150ПМФ4 з ЧПУ і АСИ







Изготовитель сверлильно-фрезерно-расточного верстата моделі 2С150ПМФ4 - Стерлитамакский станкостроительный завод, основанный в 1941 году.

История Стерлитамакского станкостроительного завода начинается 3 июля 1941 года, когда началась евакуация Одесского станкостроительного завода в город Стерлитамак.

Уже 11 октября 1941 г. Стерлитамакский станкостроительный завод начал выпускать специальные агрегатные верстати для оборонной промышленности.

В настоящее время завод выпускает металообробне обладнання, среди которого - токарные і фрезерные верстати з ЧПУ, многофункциональные обрабатывающие центры.





Продукция Стерлитамакского станкостроительного завода


2С150ПМФ4 Верстат сверлильно-фрезерно-расточной вертикальний підвищеної точності з ЧПУ і АСИ. Назначение, область применения

Верстат сверлильно-фрезерно-расточной 2С150ПМФ4 з крестовым не поворотным столом вертикальний з числовым программным керуванням (ЧПУ) і пристрійм автоматичною смены инструмента (АСИ) моделі 2С150ПМФ4 предназначен для комплексной обробки плоских деталей средних размеров сложной формы.

Верстат 2С150ПМФ4 предназначен для многооперационной обробки разнообразных деталей сложной конфигурации из стали, чугуна, цветных і легких сплавов з обной установки.

На станке 2С150ПМФ4 можно производить получистовое і чистовое фрезерование плоскостей, пазов і криволинейных поверхностей различными типами фрез, а также растачивание, сверление, зенкерование, развертывание отверстий і нарезание різьби метчиками і резцами по заданной программе.

Верстат 2С150ПМФ4 може быть использован в мелкосерийном і серийном производствах различных отраслей промышленности.


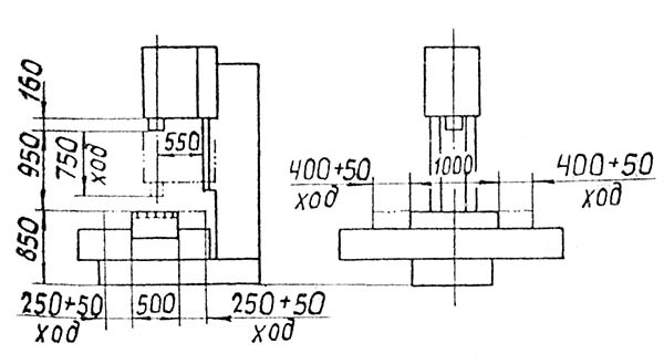
Габаритные розміри робочого простору сверлильно-фрезерного верстата 2С150ПМФ4

2С150ПМФ4 Габаритные розміри робочого простору вертикального сверлильно-фрезерно-расточного верстата

Габарити робочого простору верстата 2с150пмф4


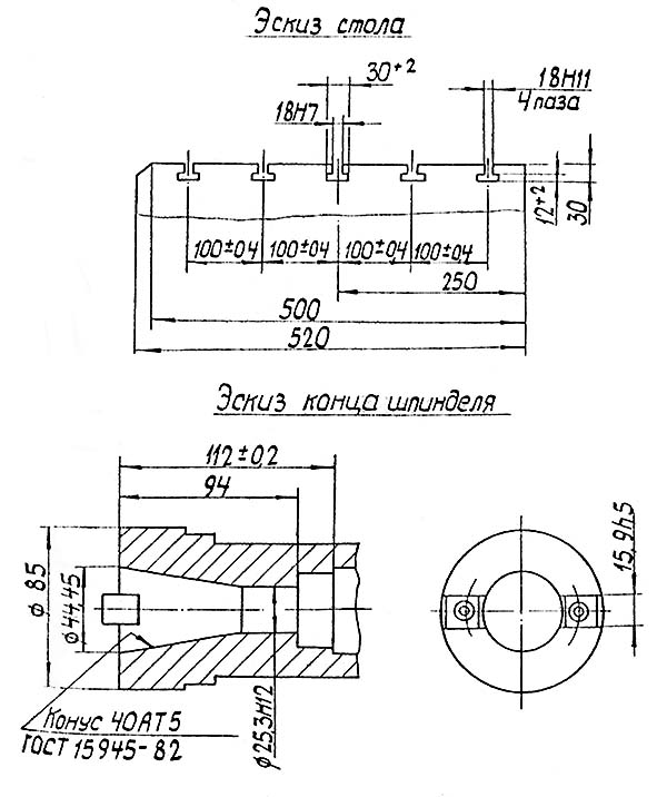
Посадочные і присоединительные розміри верстата 2С150ПМФ4. Кінець шпинделя. Кінець инструмента

2С150ПМФ4 Посадочные і присоединительные розміри вертикального сверлильно-фрезерно-расточного верстата. Кінець шпинделя. Кінець инструмента

Посадочные і присоединительные розміри верстата 2с150пмф4


2С150ПМФ4 Загальний вигляд сверлильно-фрезерного вертикального верстата

2С150ПМФ4 Загальний вигляд  вертикального сверлильно-фрезерно-расточного верстата

Фото сверлильно-фрезерного вертикального верстата 2с150пмф4


2С150ПМФ4 Загальний вигляд  вертикального сверлильно-фрезерно-расточного верстата

Фото сверлильно-фрезерного вертикального верстата 2с150пмф4


2С150ПМФ4 Загальний вигляд  вертикального сверлильно-фрезерно-расточного верстата

Фото сверлильно-фрезерного вертикального верстата 2с150пмф4


2С150ПМФ4 Загальний вигляд  вертикального сверлильно-фрезерно-расточного верстата

Фото сверлильно-фрезерного вертикального верстата 2с150пмф4


2С150ПМФ4 Розташування складових частин сверлильно-фрезерного вертикального верстата

Кінематична схема 2С150ПМФ4 вертикального сверлильно-фрезерно-расточного верстата

Розташування складових частин сверлильно-фрезерного верстата 2с150пмф4


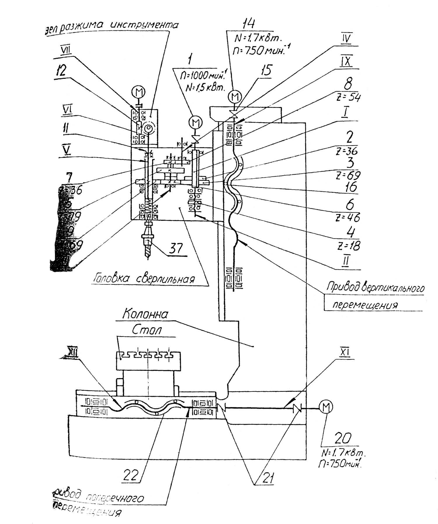
Список складових частин сверлильно-фрезерного вертикального верстата 2С150ПМФ4





2С150ПМФ4 Кінематична схема сверлильно-фрезерного вертикального верстата

Кінематична схема 2С150ПМФ4 вертикального сверлильно-фрезерно-расточного верстата

Кінематична схема сверлильно-фрезерного вертикального верстата 2с150пмф4

Схема кінематична вертикального сверлильно-фрезерно-расточного верстата 2С150ПМФ4. Дивитись у збільшеному масштабі



2С150ПМФ4 Пульт керування сверлильно-фрезерным вертикальным верстатом

Пульт керування сверлильно-фрезерным вертикальным верстатом 2с150пмф4

Пульт керування сверлильно-фрезерным вертикальным верстатом 2с150пмф4

Пульт керування сверлильно-фрезерным вертикальным верстатом 2с150пмф4. Дивитись у збільшеному масштабі



Пульт керування сверлильно фрезерным вертикальным верстатом 2с150пмф4

Пульт керування верстатом выполнен в одном конструктиве з пультом керування УЧПУ і представляет собой выносную панель, помещенную в корпус, который з помощью нижней подвески в виде поворотной консоли крепится к основанию верстата.

Функционально пульт разделен на три частини: дисплей, клавиатура УЧПУ і органы керування работой верстата.

Дисплей (блок розположення символьной информации), расположенный в левой частини пульта, используется для отображения геометрической информации по рабочим осям верстата, для вывода диагностических сообщений, для отображения значений различных параметров, коррекций, справочной информации і т.д.

Оператору предоставлена возможность по своему выбору вызвать любой из имеющихся 15 форматов индикации.

Правая верхняя часть пульта отведена под клавиатуру (см. рис. 2), которая служит для составления і редактирования управляющих программ; задания координат; ввода станочных параметров і значений корректоров; выбора режима верстата і формата индикации.

Нижний ряд клавиатуры состоит из 8-ми клавиш керування "Редактором" і 2х клавиш: выбора формата индикации к режима роботи верстата.


Список органів керування і индикации на пульті керування сверлильно фрезерным вертикальным верстатом 2с150пмф4






Основні технические данные і характеристики верстата 2С150ПМФ4

Наименование параметра 2С150ПМФ4
Основні параметри
Класс точності по ГОСТ 8-82 П
Пределы диаметров сверления, мм 5..50
Наибольший условный диаметр сверления в стали 45, мм 40
Расстояние от оси шпинделя до стойки (вылет), мм 550
Расстояние от торца шпинделя до поверхности стола, мм 200..950
Наибольшие розміри устанавливаемой заготовки (длина х ширина х высота), мм 800 х 500 х 620
Наибольший диаметр растачивания, мм 160
Пределы диаметров нарезаемой різьби, мм М6..М36
Наибольший диаметр торцевой фрезы, мм 125
Рабочий стол
Розміри рабочей поверхности стола, мм 500 х 1000
Максимальная нагрузка на стол (по центру), кг
Число Т-образных пазов Розміри Т-образных пазов 5
Наибольшее продольное перемещение стола (X), мм 800
Наибольшее поперечное перемещение стола (Y), мм 500
Наибольшее вертикальное перемещение шпиндельной головки (Z), мм 750
Предел рабочих подач стола і ползуна, мм/мин 1..5000
Скорость швидкого переміщення по координатам X, Y, Z, м/мин 12
Допустимое усилие подачі по координате X, Y, кН 6
Допустимое усилие подачі по координате Z, кН 15/ 20 (11/15 кВт)
Точность позиционирования по координате X, Y, мм 30
Точность позиционирования по координате Z, мм 50
Шпиндель
Частота обертання шпинделя, об/мин 28..3500
Количество швидкостей шпинделя Б/с
Наибольший крутящий момент на шпинделе при 11 кВт, Нм 200 (режим S1)
280 (режим S2)
Наибольший крутящий момент на шпинделе при 15 кВт, Нм 270 (режим S1)
370 (режим S2)
Конус шпинделя 7:24 40 АТ5
Система ЧПУ
Модель пристроя ЧПУ 2с42-65
Количество управляемых координат 4
Дискретность отсчета 0,001
Количество одновременно управляемых координат при линейной/ круговой интерполяции 4/2
Магазин инструмента
Емкость инструментального магазина, шт. 16
Время смены инструмента/ от реза до реза, с
Наибольший диаметр инструмента, устанавливаемого в магазине, мм (без пропуска гнезд) 90
Наибольшая длина инструмента, устанавливаемого в магазине, мм 350
Максимальный диаметр инструмента, устанавливаемого в магазине мм 90
Наибольшая масса оправки, устанавливаемой в магазине, кг
Електроустаткування і привод
Електродвигун приводу головного руху, кВт 11/ 15
Электродвигатели приводу подач (X, Y, Z), кВт 2,2
Электродвигатели зажиму инструмента, кВт 0,18
Электронасос охлаждающей жидкости, кВт 0,12
Електродвигун обертання магазина, кВт 0,18
Електродвигун автооператора, кВт
Суммарная мощность установленных на станке електродвигателей, кВт 17,9/ 21,9
Габарити і масса верстата
Габарити верстата (длина ширина высота), мм 3100 х 2450 х 3500
Масса верстата з приставным обладнанням, кг 6128

    Список литературы:

  1. Тепинкичиев В.К. Металлорежущие верстати, 1973
  2. Барун В.А. Работа на сверлильных верстатах,1963
  3. Винников И.З., Френкель М.И. Сверловщик, 1971
  4. Винников И.З. Сверлильные верстати і робота на них, 1988
  5. Лоскутов B.В Сверлильные і расточные верстати, 1981
  6. Попов В.М., Гладилина И.И. Сверловщик, 1958
  7. Сысоев В.И. Справочник молодого сверловщика,1962