Виробник свердлильних верстатів моделей 2Р135Ф2, 2Р118Ф2, 2Н125, 2Н135, 2Н150, 2Г175 - Стерлітамацький верстатобудівний завод , заснований в 1941 році.
Історія Стерлітамацького верстатобудівного заводу починається 3 липня 1941 року, коли почалася евакуація Одеського верстатобудівного заводу до міста Стерлітамак.
Вже 11 жовтня 1941 р. Стерлітамакський верстатобудівний завод почав випускати спеціальні агрегатні верстати для оборонної промисловості.
В даний час завод випускає металообробне обладнання, серед якого – токарні та фрезерні верстати з ЧПУ, багатофункціональні обробні центри.
Вертикальний свердлильний верстат 2Р135Ф2 з шестишпиндельною револьверною головкою, з хрестовим столом та числовим програмним керуванням (ЧПУ) призначений для свердління, розсвердлювання, зенкування, розгортання, нарізування різьблення та фрезерування у дрібносерійному та серійному виробництві різних галузей промисловості.
Свердлильний верстат 2Р135Ф2 застосовують для обробки корпусних деталей і деталей типу «фланець», «кришка», «плита», «важіль», «кронштейн».
Електросхема і ЧПУ дозволяють здійснити на верстаті такі технології:
Наявність на верстаті шестишпиндельної револьверної головки для автоматичної зміни інструменту, хрестового столу з програмним керуванням дозволяє здійснювати координатну обробку деталей типу кришок, фланців, панелей без попередньої розмітки та застосування кондукторів.
Вертикально-свердлильний верстат 2Р135Ф2 має великі діапазони частоти обертання шпинделя та подач, що повністю забезпечують вибір нормативних режимів різання при обробці різних конструкційних матеріалів.
Верстати 2Р135Ф2 забезпечують точність міжосьових відстаней отворів, що обробляються, до 0,10-0,15 мм і можуть працювати в автоматичному циклі (в цьому режимі виконується багатоопераційна обробка деталей з великим числом отворів).
Конструкція верстата 2Р135Ф2 . На підставі верстата змонтована колона, прямокутним вертикальним напрямним якої переміщається шпиндельна бабка (супорт), що несе револьверну головку. На колоні жорстко змонтовано коробку швидкостей та редуктора подач. Хрестовий стіл має основу, яким переміщаються в поперечному напрямі санки, що несуть власне стіл. Останній у свою чергу може переміщатися в поздовжньому напрямку напрямними санчатами. Переміщення санок та столу здійснюють від редукторів.
Система числового програмного керування . Верстат моделі 2Р135Ф2 оснащений пристроєм числового програмного керування " Координата С70-3 ", верстат моделі 2Р135Ф2-1 пристроєм ЧПУ 2П32-3 , які забезпечують одночасне переміщення столу по осях X і У при позиціонуванні керування переміщенням по осі (від координати), дає можливість керувати поворотом револьверної головки, вибирати величину робочої подачі та частоти обертання шпинделя. Пристрій має цифрову індикацію, передбачене введення корекцій на довжину інструменту.
Позиційна прямокутна система ЧПУ замкнута, як вимірювальний використовують кодові перетворювачі. Точність позиціонування столу та супорту становить 0,05 мм, дискретність програмування та цифрової індикації дорівнює 0,05 мм. Число керованих координат: всього - три; одночасно – дві.
Проектна організація - Експериментальний науково-дослідний інститут металорізальних верстатів (ЕНІМС) та Стерлітамацький верстатобудівний завод ім. В. І. Леніна.
Верстат 2Р135Ф2 прийнятий до серійного виробництва 1979 р.
Клас точності верстата - Н за ГОСТ 8-77. Категорія якості – найвища.

Габаритні розміри робочого простору верстата 2р135ф2

Фото вертикально-свердлильного верстата з ЧПУ 2р135ф2

Розташування основних вузлів верстата 2р135ф2
На підставі (станині) 1 Верстата розміщені санки 2 хрестового столу, що має телескопічний захист направляючих. По вертикальним напрямним колони переміщається шпиндельна бабка, на якій змонтована шестишпиндельна револьверна головка, що дозволяє здійснювати автоматичну зміну інструменту за програмою, що управляє. Для прискорення ручної заміни інструменту в револьверній головці передбачено спеціальний випресувальний пристрій. Керувати верстатом можна з підвісного пульта.
Для керування переміщеннями столу (координати X та Y) від програми, записаної на перфострічку, верстати обладнуються різними пристроями ЧПУ (один із найпоширеніших — УЧПУ «Координата С-70»). Подача координати Z здійснюється в режимі циклового керування. Для координатних переміщень столу може бути також використане ручне введення даних на пульті ЧПУ. Наявність цифрової індикації дає змогу вести візуальне спостереження за положенням столу, а також контролювати правильність запису програми на перфострічці.
У верстатах передбачено зворотний зв'язок за становищем робочих органів кожному з двох керованих від перфострічки переміщень. Як датчики зворотного зв'язку використовуються кругові електроконтактні кодові перетворювачі. Переміщення револьверної головки на швидких і робочих ходух в обох напрямках обмежуються кулачками, що настроюються, що впливають на перемикачі (електроупори).

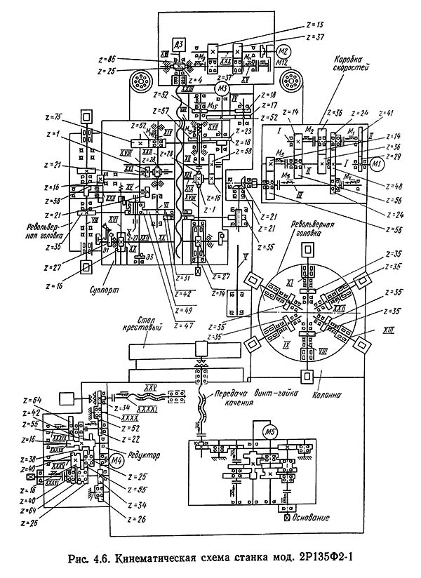
Кінематична схема свердлильного верстата 2р135ф2-1 з УЧПУ 2П32-3
1. Схема кінематична сверлильного верстата 2Р135Ф2. Скачать в увеличенном масштабе
2. Схема кінематична сверлильного верстата 2Р135Ф2. Скачать в увеличенном масштабе
Кінематична схема верстата (рис. 4.6) состоит из следующих независимых кинематических ланцюгів: приводу головного руху (вращение шпинделей револьверної головки); приводу подач крестового стола; приводу суппорта з револьверною головкою; поворота револьверної головки; выпрессовки инструмента из шпинделей.
Ланцюг головного руху: двухскоростной асинхронный електродвигатель M1 (N=4/4,5 кВт; n = 1470/990 об/мин) — зубчатая передача 29/41—вал I — вал II (через передачи 24/48 і 36/36 при включенных муфтах М1 і М2 или через передачу 14/36 при включенной муфте М3) —вал III (через передачи 14/36 і 48/24 при включенных муфтах М4 і М5) —вал V через коническую зубчатую передачу 21/21 — на один из шпинделей револьверної головки через передачи 35/42; 31/49; 49/47; 47/35.
Ланцюг приводу подач крестового стола имеет два редуктора, один из которых осуществляет рух стола по салазкам (ось X), а второй — рух салазок по станине (ось У).
Кинематическая ланцюг приводу салазок обеспечивает их быстрое, среднее і медленное переміщення. Быстрое перемещение (со скоростью 7000 мм/мин): електродвигатель М4 (N=0,6 кВт; п= 1380 об/мин) — передачи 16/40; 34/22; 22/52; 52/34 — шариковый винт.
Перемещение со средней скоростью (200 мм/мин): електродвигатель М4 — передачи 16/64; 25/55; 25/55; 38/42; 22/52; 52/34 — шариковый винт. Медленное перемещение (со скорость 50 мм/мин): електродвигатель М4 — передачи 16/64; 25/55; 25/55; 16/64; 22/52; 52/34 — шариковый винт. На шариковом ходовом винте смонтирован датчик обратной связи.
Перемещение стола по салазкам происходит от електродвигуна М5 (N = 0,6 кВт; n=1380 об/мин); кінематична ланцюг приводу етого переміщення аналогична кінематичної ланцюги приводу переміщення салазок.
Ланцюг приводу суппорта з револьверною головкою: електродвигатель М2 постоянного тока (N = l,3 кВт; n = 50..2600 об/мин) — передача 13/86 (или передача 37/37 — червячная передача 4/25 — ходовой винт, оснащенный тормозной муфтой (предотвращающей произвольное опускание суппорта при отключении електродвигуна) і датчиком обратной связи ДЗ.
Ланцюг приводу поворота револьверної головки: електродвигатель М3 (N=0,7/0,9 кВт; n= 1400..2700 об/мин) — передача 23/57 — червячная передача 1/28 — передача 16/58 — корпус револьверної головки.
Выпрессовка инструментов из шпинделей: електродвигатель М3 — передача 18/52 (при включенной муфте) — червячная передача 1/28 — передача 21/21 — ексцентрик, смонтированный в пазу оси поворота револьверної головки і выпрессовывающий инструмент.
Смазывание суппорта револьверної головки осуществляется принудительно по следующей схеме: електродвигатель МЗ — передачи 18/52; 52/75 — ексцентрик ЭЗ, приводящий в действие плунжерный насос.
Смазывание коробки швидкостей осуществляется от шестеренчатого насоса, приводимого в действие електродвигуном коробки швидкостей через клиновой ремень. Подаваемое насосом масло поступает в распределительную камеру, где оно распределяется для смазывания всех подвижных частин коробки швидкостей і електромагнітних муфт, а затем сливается в резервуар. Уровень масла контролируют маслоуказателем.
Смазывание редукторов подачі суппорта і крестового стола осуществляется разбрызгиванием масла зубчатыми передачами. Уровень масла контролируют визуально з помощью маслоуказателей.
Смазывание направляючих і винтовых пар крестового стола осуществляют вручную з помощью лубрикатора. Підшипники шпинделей револьверної головки смазывают пластичным смазочным материалом.
Подача охлаждающей жидкости осуществляется от центробежного насоса. Для охлаждения инструмента в зоне різання предусмотрен индивидуальный привод, позволяющий направлять струю охлаждающей жидкости в нужное место. Подача охлаждающей жидкости в автоматическом цикле начинается при движении суппорта вниз (начало рабочей подачі) і прекращается з началом возврата суппорта в исходное положение (при етом на пульті керування должен быть включен соответствующий тумблер).
Електроустаткування верстата состоит из отдельно стоящих шкафа релейной автоматики і УЧПУ, а также из елементів, установленных непосредственно на станке. Электрические соединения между вузлами верстата і УЧПУ выполнены жгутами в металлорукавах, оканчивающихся разъемами.
Електрична схема верстата обеспечивает наступні режими его роботи:
Режим выбирают з помощью переключателей, расположенных на пультах керування верстата і УЧПУ.
Независимо от положения переключателя режимов роботи на пульті УЧПУ наладочный режим включают переключателем 23, расположенным на пульті керування верстата (рис. 4.7). В наладочном режиме, осуществляемом посредством органів керування, расположенных на пульті верстата, производят: поворот револьверної головки в заданную позицию; выпрессовку инструмента; увімкнення і вимкнення обертання шпинделя; перемещение стола по осям X і Y в соответствии з выбранной скоростью і направлением; перемещение суппорта револьверної головки по оси Z в соответствии з заданием.

Пульт керування верстатом 2р135ф2-1
Пульт керування верстатом 2р135ф2. Скачать в увеличенном масштабе
Установку рабочих органів верстата в нулевое положение производят в автоматическом режиме перед командой «Ввод программы». При нажатии кнопки 15 супорт револьверної головки быстро поднимается до срабатывания конечного выключателя по координате Z. Стол движется до срабатывания конечных выключателей по координатам X і У, одновременно подаются команды в УЧПУ об исходном положении рабочих органів. Цикл установки закончен.
Для выбора позиции револьверної головки переключатель 24 устанавливают в нужную позицию. Нажатием кнопки 6 начинают цикл поворота револьверної головки в заданную переключателем 24 позицию. При нажатии на кнопку 6 і отсутствии задания головка совершает безостановочное движение.
Увімкнення шпинделя в режиме «Наладка» для всех операций, (кроме резьбонарізання) производят кнопкой 21, а вимкнення — кнопкой 22 (при резьбонарезании кнопки 21 і 22 не работают). Частоту обертання шпинделей устанавливают переключателем 27.
Перемещение рабочих органів по осям X, Y, Z. Выбор работающей оси производят переключателем 4.
Выбор швидкого, среднего или медленного переміщення производят переключателем 7, а выбор направления переміщення — переключателем 5.
Для налаштування начала программы в плоскости XY используют оправки-ловители или центроискатели. В ручном режиме совмещают ось шпинделя з началом программы, набирают на пульті УЧПУ такие значения смещения нуля по осям X і Y, которые дают нулевые показания цифровой индикации.
Настройку верстата по оси Z производят після установки режущего инструмента в шпинделе револьверної головки. В исходном положении суппорта проверяют, чтобы револьверна головка при вращении не задевала пристрій з зажатой в нем заготовкой.

Настановне креслення сверлильного верстата 2р135ф2
| Наименование параметра | 2Р135Ф2 | |
|---|---|---|
| Основні параметри верстата | ||
| Наибольший диаметр сверления в стали 45, мм | 35 | |
| Наибольший диаметр нарезаемой різьби в стали 45, мм | М24 | |
| Наименьшее і наибольшее расстояние от торца шпинделя до поверхности стола, мм | 40..600 | |
| Расстояние от оси вертикального шпинделя до направляючих стойки (вылет), мм | 450 | |
| Наибольший диаметр фрезы, мм | 100 | |
| Наибольшая глубина фрезерування, мм | 2 | |
| Наибольшая ширина фрезерування, мм | 60 | |
| Продольное перемещение стола по направляющим салазок (Ось Х), мм | 630 | |
| Поперечное перемещение салазок по направляющим станины по программе (Ось Y), мм | 360 | |
| Наибольшее перемещение шпиндельной бабки по программе (ось Z), мм | 560 | |
| Суппорт. Шпиндельная бабка. Шпиндель | ||
| Частота обертання шпинделя, об/мин | 45..2000 31..1400 | |
| Количество швидкостей шпинделя | 12 | |
| Скорость швидкого переміщення суппорта (шпиндельной бабки), м/мин | 4 | |
| Количество подач суппорта по оси Z, мм | 18 | |
| Подачи суппорта, мм | 10..500 | |
| Наибольший допустимый крутящий момент, Нм | 200 | |
| Конус шпинделя | ||
| Рабочий стол | ||
| Розміри рабочей поверхности стола, мм | 400 х 710 | |
| Максимальне навантаження на стіл (по центру), кг | ||
| Число Т-подібних пазів Розміри Т-подібних пазів | 3 | |
| Швидкість швидкого переміщення столу та санок, м/хв | 7 | |
| Швидкість подачі столу та санок при фрезеруванні, м/хв. | 0,22 | |
| Мінімальна швидкість переміщення столу, м/хв | 0,05 | |
| Точність позиціонування столу та санок на довжині ходу, мм | 0,05 | |
| Система ЧПУ 2П32-3 | ||
| Число керованих координат | 3 | |
| Число одночасно керованих координат | 2 | |
| Дискретність завдання переміщення столу, санок і супорта, мм | 0,01 | |
| Електроустаткування, привід | ||
| Електродвигун приводу головного руху, кВт | 3,7 | |
| Електродвигун приводу переміщення шпиндельної бабки (супорта), кВт | 1,3 | |
| Електродвигун приводу переміщення санок та столу, кВт | 1,1 | |
| Електродвигун приводу обертання револьверної головки, кВт | 0,75 | |
| Електронасос охолоджувальної рідини Х14-22М, кВт | 0,125 | |
| Стендовий калібр | ||
| Габарити верстата, мм | 1800 х 2170 х 2700 | |
| Маса верстата, кг | 5390 |