Виробник свердлильних верстатів моделей 2А125, 2А135, 2А150, 2Г175 - Стерлітамацький верстатобудівний завод , заснований в 1941 році.
Історія Стерлітамацького верстатобудівного заводу починається 3 липня 1941 року, коли почалася евакуація Одеського верстатобудівного заводу до міста Стерлітамак.
Вже 11 жовтня 1941 р. Стерлітамакський верстатобудівний завод почав випускати спеціальні агрегатні верстати для оборонної промисловості.
В даний час завод випускає металообробне обладнання, серед якого – токарні та фрезерні верстати з ЧПУ, багатофункціональні обробні центри.
Верстат свердлильний вертикальний 2А150 замінив у виробництві застарілу модель 2150 і був замінений на більш досконалу модель 2Н150 .
Верстат універсальний вертикально-свердлильний 2А150 використовуються на підприємствах з одиничним та дрібносерійним випуском продукції та призначені для виконання наступних операцій: свердління «розсвердлювання» зенкування, зенкерування, розгортання та підрізування торців ножами.
Універсальний вертикально-свердлильний верстат 2А150 з умовним діаметром свердління 50 мм, призначений для роботи в ремонтних та інструментальних цехах, а також у виробничих цехах із дрібносерійним випуском продукції; оснащений пристроями верстат може бути застосований в масовому виробництві (Найбільший умовний діаметр свердління дорівнює максимальному діаметру отвору, яке можна просвердлити на цьому верстаті, використовуючи стандартне спіральне свердло, в суцільній заготовці зі сталі з межею міцності 500-600 МПа).
Допускає обробку деталей у широкому діапазоні розмірів з різних матеріалів з використанням інструменту з високовуглецевих та швидкорізальних сталей та твердих сплавів.

Операції свердління на верстаті 2а150
Наявність на верстаті дев'ятишвидкісної коробки швидкостей з діапазоном регулювання 68-100-140-195-175-400-530-750-1100 оборотів за хвилину, 11-швидкісної коробки подач з діапазоном регулювання від 0,115 до 1,6 мм на оборот вибір нормативних режимів різання для діаметрів отворів до 35 мм при свердлінні, розсвердлюванні, зенкування, зенкеруванні, розгортанні, нарізанні різьблення, а також допускає використання ріжучого інструменту, оснащеного твердим сплавом.
Наявність на верстатах механічної подачі шпинделя при ручному керуванні циклами роботи.
Допускає обробку деталей у широкому діапазоні розмірів з різних матеріалів з використанням інструменту з високовуглецевих та швидкорізальних сталей та твердих сплавів.
Верстати забезпечені пристроєм реверсування електродвигуна головного руху» що дозволяє проводити на них нарізування різьблення машинними мітчиками при ручній подачі шпинделя»
Завдяки наявності електрореверсу, керованого вручну, можна проводити нарізання різьблення при ручному підведенні та відведенні мітчика. Допустиме число ходів реверсу електродвигуна трохи більше 30 на годину. При нарізанні різьблення слід застосовувати запобіжний патрон.
Категорія розміщення 4 за ГОСТ 15150-69.

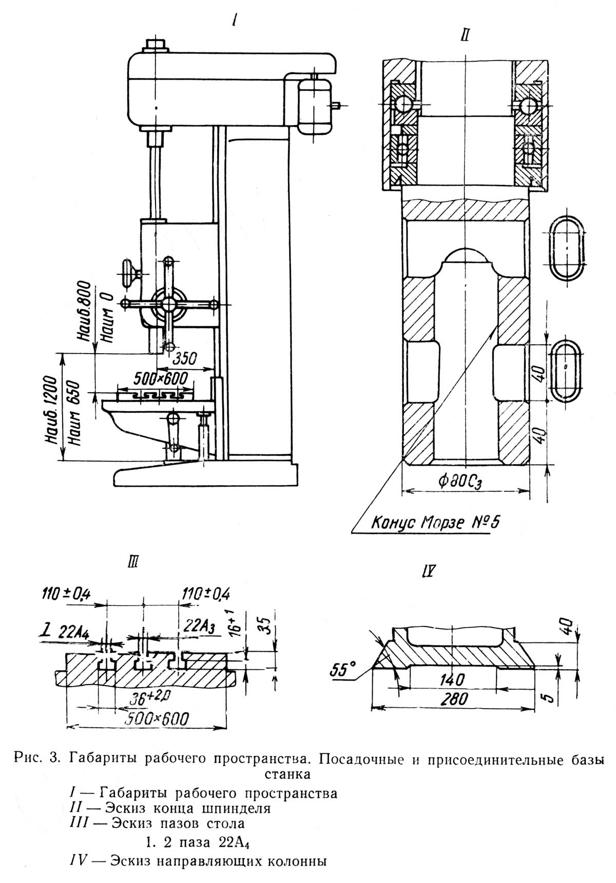
Габаритні розміри робочого простору свердлувального верстата 2а150

Фото вертикально свердлильного верстата 2а150

Розташування складових частинин свердлувального верстата 2а150
На фундаментній плиті 1 змонтована колона коробчатої 8 форми. У її верхній частинині розміщена шпиндельна головка 5, що несе електродвигун 6 та шпиндель 3 з інструментом. На вертикальних направляючих колони встановлена шпиндельна бабка 4, усередині якої розміщений механізм подачі, що здійснює вертикальне переміщення шпинделя. Піднімати і опускати шпиндель можна механічно і вручну, за допомогою штурвала 7. Для встановлення та закріплення пристрій з оброблюваними заготовками є стіл 2. Його встановлюють на різній висоті, залежно від розмірів оброблюваних деталей.

Розташування органів керування свердлильним верстатом 2а150
Розташування органів керування свердлильним верстатом 2А150. Дивитись у збільшеному масштабі

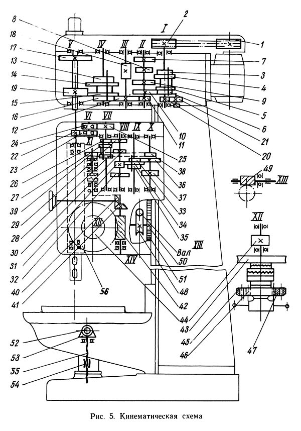
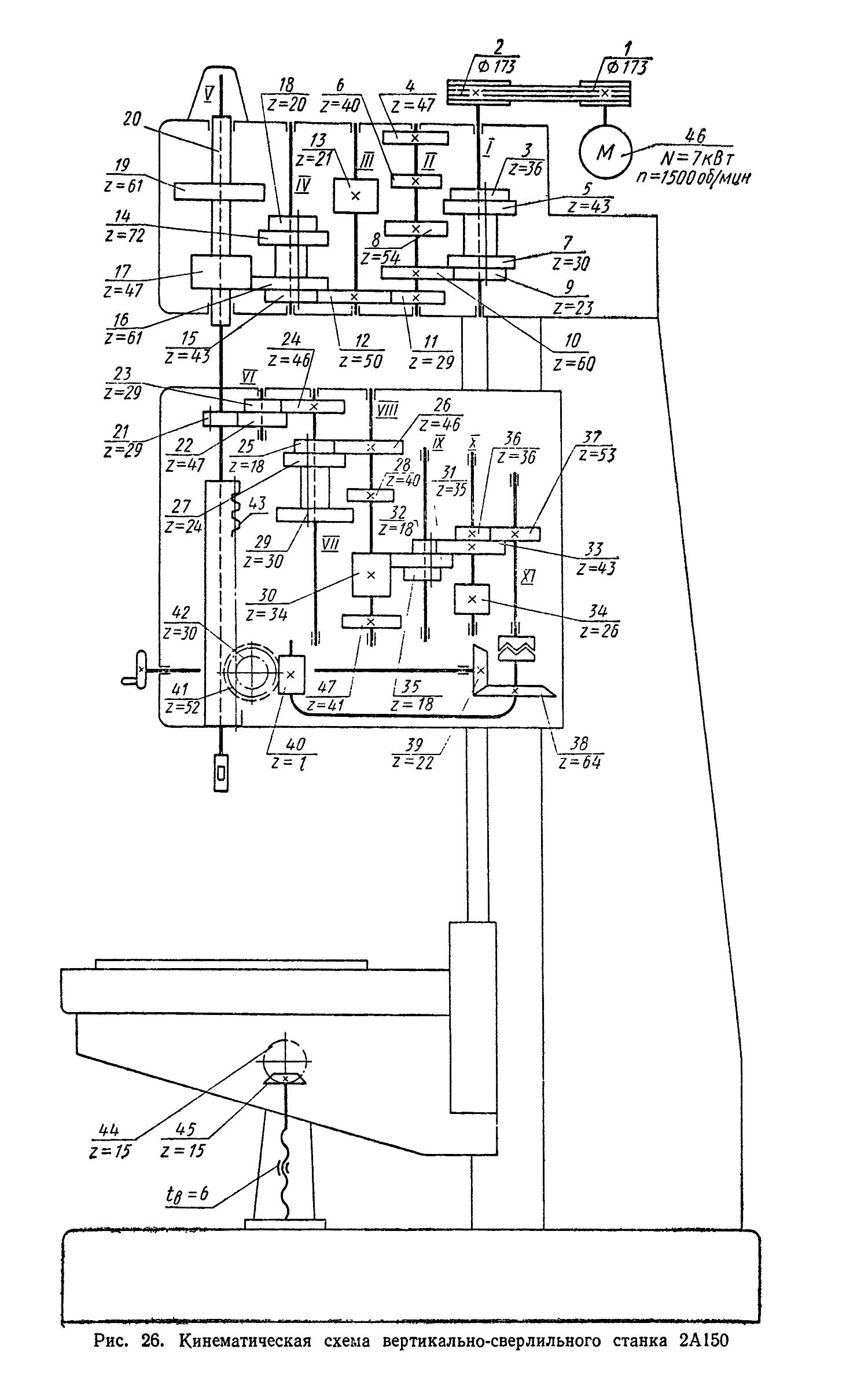
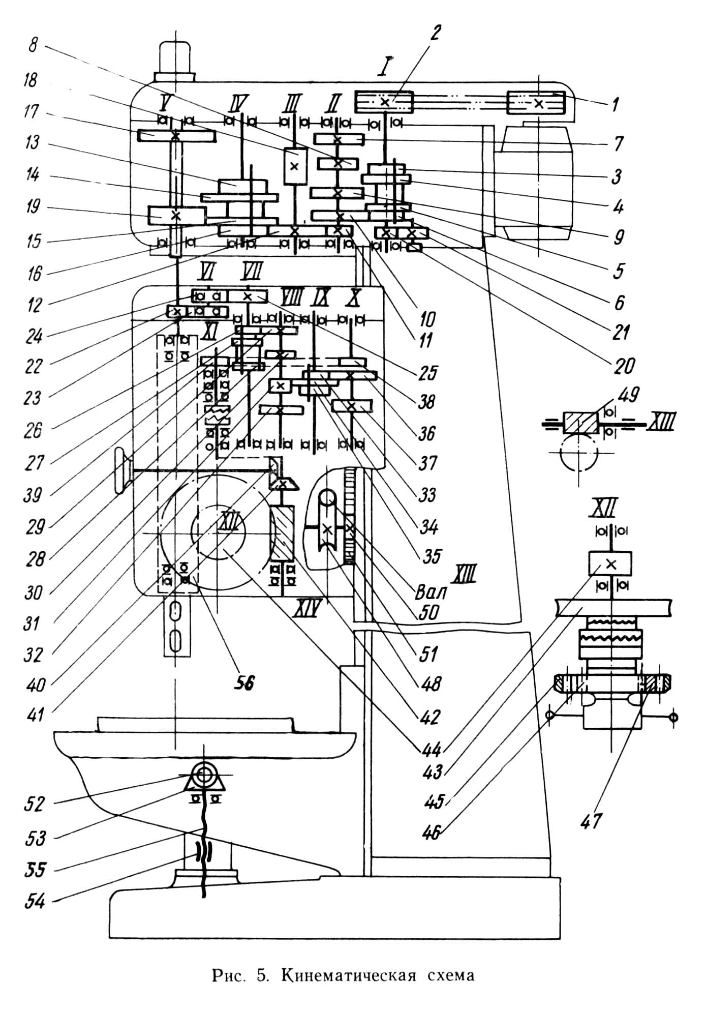
Кінематична схема свердлильного верстата 2а150
1. Схема кінематична вертикально свердлувального верстата 2А150. Дивитись у збільшеному масштабі
2. Схема кінематична вертикально свердлувального верстата 2А150. Дивитись у збільшеному масштабі
Кінематичний ланцюг верстата (рис. 5) служить для здійснення двох основних рухів - обертального руху шпинделя та вертикального переміщення (подачі) гільзи зі шпинделем.
Частота обертання шпинделя змінюється за допомогою коробки швидкостей.
Механізми верстата приводятся в действие от индивидуального електродвигуна мощностью 7,5 кВт посредством клиноременной передачи через шкивы 1 і 2 (клиновой ремень типа Б; L=1400; ГОСТ 1284-57). Шкив 2 (рис. 5) посажен на первом валу коробки швидкостей, на котором сидит подвижный блок из четырех шестерен (3, 4, 5, 6), передающий вращение второму валу через шестерни 7, 8, 9, 10. С вала II через нерухомо укрепленную шестерню II вращение передається через шестерню 12 валу III, з которого вращение через шестерни 12 і 18 передається валу IV. На валу IV сидит подвижный блок из четырех шестерен (13, 14, 15 і 16), передающий вращение через шестерни 17 і 19 валу V, представляющему собой пустотелую гильзу, по шлицевому отверстию которой свободно перемещается шлицевой конец шпинделя. Механізм подач получает рух по следующей ланцюги: от шестерни 22, сидящей на шлицевой частини шпинделя, через шестерни 23, 24 і 25 вращение передається валу VII, по которому перемещается подвижной тройной блок шестерен 26, 27, 28. Этот блок приводит во вращение вал VIII через шестерни 29, 30, 31. С вала VIII вращение передається на вал IX через шестерни 31, 32 і подвижной тройной блок шестерен 33, 34 і 35, который передает вращение через шестерни 36 і 37 валу X. Шестерня 38 посредством шестерни 39 передает вращение валу XI, откуда через кулачковую муфту вращение передається валу XIV і сидящему на нем червяку 42. Червяк вращает червячное колесо 43 на горизонтальном валу XII, выполненном заодно з реечной шестерней 44, которая сцеплена з рейкой 56, нарезанной непосредственно на гильзе шпинделя.
Таким образом, вращательное рух всего механізма преобразуется в поступательное рух шпинделя.
Рабочая подача шпинделя производится з помощью реечной передачи.
Шпиндель може перемещаться і вручную при помощи сидящего на горизонтальном валу XII штурвала. На валу XII сидит шестерня 46, которая через шестерню 47 передает вращение шестерне з внутренним зацеплением 45; на післядней укреплен лимб установки глубины сверления. Мелкая ручная подача шпинделя осуществляется маховичком через пару конических шестерен 40 і 41. Подъем шпиндельной бабки осуществляется вращением рукоятки на валу XIII, червяка 49, червячного колеса 48, реечной шестерни 50 і рейки 51, укрепленной на колонне верстата. Подъем стола производится вращением рукоятки через конические шестерни 52, 53, винт 55 і гайку 54.
Реверсирование шпинделя, необходимое при производстве резьбонарезных работ, осуществляется переключением полюсов електродвигуна.
Верстат моделі 2А150 состоит из следующих вузлів:
На фундаментную плиту устанавливается колонна, на верхней плоскости її крепится коробка швидкостей. По направляющим колонны могут перемещаться вручную стол і шпиндельна бабка, в которой смонтированы коробка подач і механізм подач.

Коробка швидкостей сверлильного верстата 2а150
Коробка швидкостей вертикально сверлильного верстата 2А150. Дивитись у збільшеному масштабі
Корпус коробки швидкостей (рис. 6) представляет собой цельную чугунную отливку, через боковые окна которой производится монтаж зубчатых колес. Коробка сообщает шпинделю двенадцать различных швидкостей, которые получаются благодаря перемещению двух блоков шестерен 1 і 2, устанавливаемых післядовательно двумя рукоятками 6 і 7 в соответствующее положение таблицы чисел оборотів. Рукоятки 6 і 7 расположены на левой крышке коробки швидкостей.
Выходной вал 5 коробки швидкостей представляет собой полую гильзу, через шлицевое отверстие которой передається вращение шпинделю верстата.
Привід коробки швидкостей осуществляется от вертикально расположенного електродвигуна через клиноременную передачу. Електродвигун укреплен на специальном кронштейне, который можно перемещать вдоль оси коробки, чтобы обеспечить соответствующее натяжение ремней. Зажим кронштейна осуществляется четырьмя болтами 3 і двумя планками, сидящими на специальном винте 4.
Смазка всего механізма коробки швидкостей осуществляется от специального насоса, установленного внутри коробки.

Коробка подач сверлильного верстата 2а150
Коробка подач вертикально сверлильного верстата 2А150. Дивитись у збільшеному масштабі
Коробка подач (рис. 7) установлена в корпусе шпиндельной бабки механической подачі на левой крышке. Имеется возможность разборки коробки подач независимо от других вузлів верстата. Привід коробки подач осуществляется от шлицевого кінця шпинделя через шестерню, расположенную в верхней частини шпиндельной бабки.
Коробка подач обеспечивает девять различных подач шпинделя переміщенням двух блоков шестерен 1 і 2. Увімкнення шпинделя на определенную подачу, соответствующую таблице величины подач, осуществляется поворотом двух рукояток 3 і 4 на левой крышке шпиндельной бабки. Коробка подач смазывается от самостоятельного масляного насоса, укрепленного на нижней плоскости коробки подач.

Механізм подач сверлильного верстата 2а150
Механізм подач вертикально сверлильного верстата 2А150. Дивитись у збільшеному масштабі
Механізм подач (рис. 8) приводится в рух коробкой подач через кулачковую муфту 3, которая служит как для виключення механической подачі от кулачка 24, установленного на лимбе 21, так і в качестве предохранительного пристроя при перегрузке. При помощи гвинта 1 і пружины 2 муфта настраивается на самовимкнення при усилии подачі, на 10% превышающем номинальное, то есть при 2750 кгс. Пружина обеспечивает также точное вимкнення подачі при перемещении муфты 3 от кулачка 24 на лимбе. Выключение механической подачі в любой момент можно произвести вимкненням муфты 3, сидящей на валу червяка 22, рукояткой 5 или вращением штурвала 4 от себя.
Для налаштування глубины сверления конец сверла доводится вручную до контакта з деталью, а край кулачка 24 совмещается з делением лимба 21, соответствующим полной глубине сверления, включая конусную часть заточки сверла.
Принцип роботи механізма подачі заключается в следующем. При вращении штурвала 4 на себя, соединенная з ним муфта 7 поворачивается на 20° относительно вала (угол 20° ограничивается прорезью на муфте і штифтом 8). При етом зубцы муфты 7 благодаря имеющемуся на них скосу сдвигают обойму 9 в осевом направлении и, входя торцом на торец зубцов обоймы, фиксируют ето смещение. На обойме посажен двухсторонний храповой диск 10, связанный з обоймой пружинными собачками 11.
При смещении обоймы зубцы диска входят в зацепление з зубцами второго диска 12, закрепленного на червячном колесе 13. Так как ланцюг замкнута торцами зубцов муфты 7 і обоймы 9, вращение червячного колеса передається на вал 14.
При дальнейшем вращении штурвала 4, уже при включенной подаче, собачки 11 проскакивают по зубцам внутренней стороны диска 10 і таким образом производится ручное опережение механической подачі. Выключение подачі вручную штурвалом 4 осуществляется поворотом его в обратную сторону на 20° относительно вала 14. Зубцы муфты 7 становятся против впадин обоймы 9. Обойма 9 вследствие осевой силы, возникающей благодаря наклону зубцов дисков 10 і 12 і под действием специальной пружины 15, смещается вправо і расцепляет диски. Механическая подача прекращается.
Механізм подачі допускает подачу шпинделя вручную штурвалом непосредственно через реечную шестерню на горизонтальном валу 14 і гильзу шпинделя 17, для чего необходимо выключить штурвалом 4 механическую подачу, а затем колпачок 18 переместить вдоль оси горизонтального вала 14 от себя. Имеющийся в колпачке 18 фиксатор 19 займет положение между прорезью муфты 7 і штифтом 8. Таким образом, вращение штурвала 4 передається непосредственно на горизонтальный вал.
Для расточки і подрезки имеется возможность применить мелкую подачу вручную, которая осуществляется при выключенной кулачковой муфте 3 через коническую пару 25 і 26. Увімкнення етой пары происходит при перемещении маховичка 27 мелкой ручной подачі з конической шестерней 25 вдоль оси от себя, штурвал 4 при етом находится в положении механической подачі.
Так как при выключении подачі кулачком лимба через муфту 5 горизонтальный вал 14 не освобождается, вращающийся инструмент не отходит от детали і производит зачистку обрабатываемой плоскости, что особенно важно при подрезных работах.
Благодаря наличию електрореверса, управляемого вручную, можно производить нарезание різьби при ручном подводе і отводе метчика. Допускаемое число ходов реверса електродвигуна не более 30 в час. При нарезании різьби следует применять предохранительный патрон.
Смазка підшибників червячной пары механізма подачі производится маслом, находящимся в нише корпуса шпиндельной бабки. Остальные опори і вузли механізма подач смазываются от специального насоса. Шпиндельную бабку можно легко перемещать по направляющим колонны вручную кривошипной рукояткой, благодаря наличию червячной і реечной пар. В случае необходимости переміщення шпиндельной бабки по направляющим, клин шпиндельной бабки должен быть предварительно отжат. Работа на станке должна производиться після зажатия всех болтов клина шпиндельной бабки.

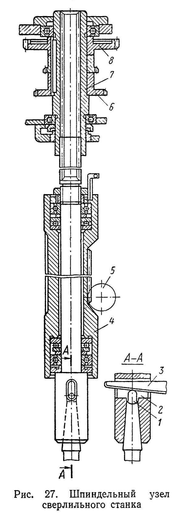
Шпиндель сверлильного верстата 2а150
Шпиндель 1 (рис. 9) вращается в шариковых підшипниках. Осевое усилие подачі воспринимается упорным подшипником, смонтированным в гильзе шпинделя у нижней опори шпинделя. Регулювання підшибників 2 производится путем подтягивания гайки, расположенной над верхней опорой шпинделя через окно в лобовой частини шпиндельной бабки.
Смазка підшибників шпинделя производится масленкой через окна на лобовой частини шпиндельной бабки один раз в смену.
Ланцюг 5, соединенная одним концом з гильзой шпинделя 4, через ролики проходит внутрь колонны і несет на своем втором кінці груз, являющийся противовесом гильзы шпинделя.
Для подачі охлаждающей жидкости к инструменту служит електронасос, установленный на фундаментной плите. Насос перекачивает емульсию из резервуара в плите, выполненного в форме лабиринтных камер для фильтрации жидкости, поступающей к инструменту. Эмульсия подводится по гибкому шлангу з краном для регулювання струи. Отработанная емульсия, стекая обратно в резервуар, очищается от стружки, проходя через сетку стола і лабиринтные камеры плиты, і попадает уже очищенной к електронасосу. Не реже одного раза в месяц необходимо через крышку плиты очищать отстойник фундаментной плиты от осевшей в нем грязи.
Електроустаткування верстата включает в себя:
На станке можно производить сверление з ручным или автоматическим отключением подачі, а также нарезание різьби з реверсированием шпинделя вручную. Отвод шпинделя вверх также производится вручную.
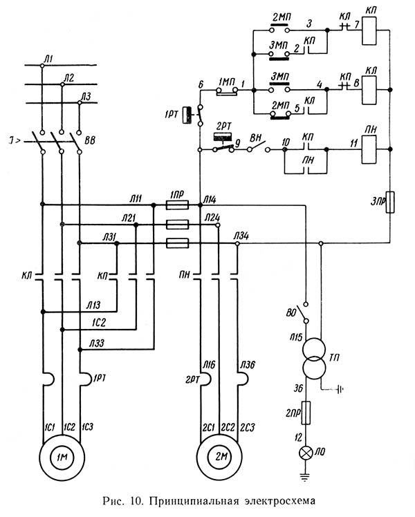
Электросхемой предусмотрена защита от коротких замыканий плавкими предохранителями і от перегрузок — тепловыми реле. Нулевая защита обеспечивается блок-контактами і катушками пускачів.

Електрична схема сверлильного верстата 2а150
1. Електрична схема сверлильного верстата 2А150. Дивитись у збільшеному масштабі
2. Електрична схема сверлильного верстата 2А150. Дивитись у збільшеному масштабі

Список елементів сверлильного верстата 2а150

Список елементів сверлильного верстата 2а150
Обычно верстат після установки его на рабочем месте, расконсервации, заливки масла і змазки, подключения к електрической сети, проверки роботи на всех оборотах і подачах не требует никакой регулировки.
Наладка верстата заключается в установці стола і шпиндельной бабки в необходимые для роботи положения і зажиму клина шпиндельной бабки, а также в установці необходимых чисел оборотів і подач. При подъеме шпиндельной бабки в нужное для роботи положение рукоятки переключения швидкостей должны стоять в положении «В».
Глубина сверления устанавливается при помощи кулачка следующим образом. Вращением штурвала на себя сверло доводится до соприкосновения з обрабатываемой деталью, а край кулачка 24 (см. рис. 8) устанавливается против деления лимба, соответствующего глубине сверления. Затем затягивается винт кулачка. При етом деление на лимбе соответствует полной глубине сверления, включая конусную часть сверла.
Изменение направления обертання шпинделя производится рукояткой 6. Колпачок з накаткой 18, расположенный в центре штурвала, служит для виключення механической подачі при необходимости работать з подачей вручную. Для етого колпачок необходимо сдвинуть вдоль оси от себя до отказа.
Предохранительная муфта з помощью гвинта і пружины настраивается на самовимкнення при усилии подачі, на 10% превышающем номинальное, то есть при 2750 кгс.
Натяжение ремней регулируется переміщенням специального кронштейна з установленным на нем електродвигуном, как ето указано в описании конструкції коробки швидкостей. Механізми верстата допускают усилие подачі 2500 кгс, і соответственно етому необходимо подбирать режими різання.
Переключення швидкостей і подач на ходу не допускается, его можно производить только після остановки електродвигуна.
Зазоры в підшипниках шпинделя выбираются подтяжкой гайки над верхним подшипником шпинделя. Регулювання производится через окно, расположенное на передньої стенке шпиндельной бабки, которое затем закрывается крышкой. Для осуществления регулировки необходимо шпиндель повернуть таким образом, чтобы винт регулировочной гайки находился в окне, а затем, ослабив винт, подтянуть гайку і вновь зажать его.
| Найменування параметру | 2A125 | 2A135 | 2A150 |
|---|---|---|---|
| Основні параметри верстата | |||
| Найбільший діаметр свердління сталі 45, мм | 25 | 35 | 50 |
| Найменша та найбільша відстань від торця шпинделя до столу, мм | 0… 700 | 0… 750 | 0… 800 |
| Найменша та найбільша відстань від торця шпинделя до плити, мм | 750… 1125 | 705… 1130 | 650… 1200 |
| Відстань від осі вертикального шпинделя до направляючих стійки (виліт), мм | 250 | 300 | 350 |
| Робочий стіл | |||
| Максимальне навантаження на стіл (по центру), кг | |||
| Розміри робочої поверхні столу, мм | 500 x 375 | 450 х 500 | 500 х 600 |
| Число Т-подібних пазів Розміри Т-подібних пазів | 3 | 3 | 3 |
| Найбільше вертикальне переміщення столу (вісь Z), мм | 325 | 325 | 325 |
| Шпиндель | |||
| Найбільше переміщення шпиндельної бабки (салазок шпинделя), мм | 200 | 200 | 250 |
| Найбільше переміщення (хід) шпинделя, мм | 175 | 225 | 300 |
| Частота обертання шпинделя, об/хв (кількість ступенів) | 97… 1360 (9) | 68… 1100 (9) | 32… 1400 (12) |
| Кількість швидкостей шпинделя | 9 | 9 | 12 |
| Найбільший допустимий момент, що крутить, Н*м (кгс*м) | 250 | 400 | 800 |
| Конус шпинделя | Морзе 3 | Морзе 4 | Морзе 5 |
| Механіка верстата | |||
| Число ступенів робочих подач | 9 | 11 | 9 |
| Межі вертикальних робочих подач на один оборот шпинделя, мм (кількість ступенів) | 0,1… 0,81 (9) | 0,115… 1,6 (11) | 0,12… 2,64 (9) |
| Найбільше зусилля подачі, Н (кгс) | 9000 (900) | 16000 (1600) | 25000 (2500) |
| Динамічне гальмування шпинделя | Є | Є | Є |
| Електроустаткування та привід верстата | |||
| Електродвигун приводу головного руху, кВт | 2,8 | 4,5 | 7,5 |
| Електронасос охолоджувальної рідини | Н14-22М | Н14-22М | Н14-22М |
| Габарити та маса верстата | |||
| Габарити верстата (довжина x ширина x висота), мм | 980 х 825 х 2300 | 1240 х 810 х 2500 | 1550 х 970 х 2865 |
| Маса верстата, кг | 870 | 1300 | 2250 |
Досвід накопичується прямо пропорційно до зруйнованого обладнання.
Закон Мерфі