Виробник свердлильних верстатів моделей 2С125 , 2С125-04, 2С125-1 (2С125-01) - Стерлітамацький верстатобудівний завод , заснований в 1941 році.
Історія Стерлітамацького верстатобудівного заводу починається 3 липня 1941 року, коли почалася евакуація Одеського верстатобудівного заводу до міста Стерлітамак.
Вже 11 жовтня 1941 р. Стерлітамакський верстатобудівний завод почав випускати спеціальні агрегатні верстати для оборонної промисловості.
В даний час завод випускає металообробне обладнання, серед якого – токарні та фрезерні верстати з ЧПУ, багатофункціональні обробні центри.
Вертикальний свердлильний верстат 2С125 призначений для виконання наступних видів робіт: свердління, розсвердлювання, зенкерування, зенкування, розгортання, нарізування різьблення та розточування отворів.
Промисловий вертикальний свердлильний верстат 2С125 здатний свердлити отвори від Ø 3 до Ø 25 мм і нарізати різьблення від М3 до М33 сталі 45. Вага верстата 430 кг.
Шпиндель отримує 9 швидкостей обертання (90...1400 об/хв) через коробку швидкостей електродвигуна потужністю 1,5 кВт.
Найбільша глибина свердління за один установ – 150 мм, найбільша висота заготовки – 500 мм.
Кінець шпинделя верстата 2С125 виконаний за ГОСТ 25557 (конуси інструментальні), конус Морзе 3, ступінь точності АТ8.
Обробка на верстаті 2С125 проводиться швидкорізальним та твердосплавним інструментами в деталях з різних конструкційних матеріалів.
Верстати 2С125 використовуються для роботи в умовах одиничного, дрібносерійного та серійного виробництва у ремонтних та складальних цехах.
Реверсування електродвигуна головного руху дозволяє проводити на верстатах нарізування різьблення машинними мітчиками.
Розточування отворів, у тому числі розташованих на відстанях з допусками по 11 квалітету, проводиться на верстатах мод. 2С125, 2С125-04.
Обробка проводиться швидкорізальним та твердосплавним інструментами в деталях з різних конструкційних матеріалів.
Верстати використовуються для роботи в умовах одиничного, дрібносерійного та серійного виробництва у ремонтних та складальних цехах.
Вид кліматичного виконання - УХЛ4 або ТЗ за ГОСТ 15150-69.
Клас точності верстатів моделі 2С125, 2С125-04 - Н за ГОСТ 8-82Е.
Категорія розміщення 4 за ГОСТ 15150-69.

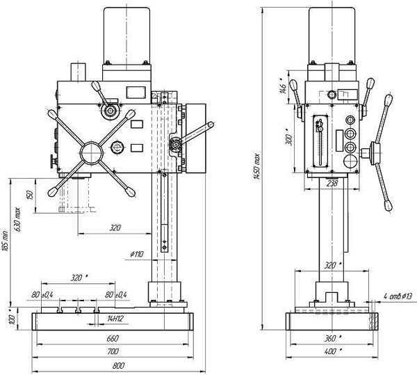
Габарит робочого простору свердлильного верстата 2С125

Фото вертикального свердлильного верстата 2С125-01

Фото вертикального свердлильного верстата 2С125-04

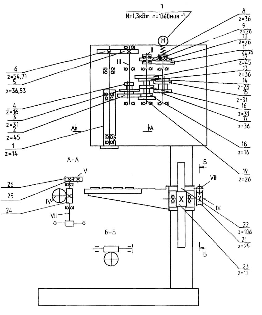
Кінематична схема свердлильного верстата 2С125
Кінематична схема свердлильного верстата 2С125. Дивитись у збільшеному масштабі

Таблиця графічних символів свердлувального верстата 2С125
Таблиця графічних символів свердлувального верстата 2С125. Дивитись у збільшеному масштабі

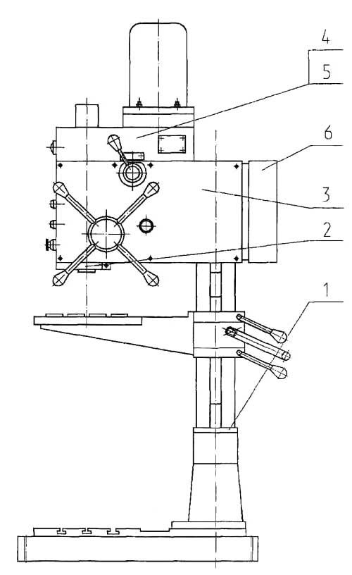
Основні вузли свердлильного верстата 2С125
Основні вузли свердлувального верстата 2С125. Дивитись у збільшеному масштабі

Органи керування свердлильного верстата 2С125
Органи керування свердлильного верстата 2С125. Дивитись у збільшеному масштабі
Основа включає круглу колону. Кругла колона являє собою підлогу трубу, якою вертикально переміщається і обертається навколо неї прямокутний стіл. Сама колона за допомогою напресованого знизу фланця встановлюється на оброблену плиту. Вертикальне переміщення столу на круглій колоні здійснюється черв'ячно-peeчною передачею.

Свердлильна головка свердлильного верстата 2С125
Свердлильна головка свердлувального верстата 2С125. Дивитись у збільшеному масштабі
Свердлильна головка є чавунним виливком коробчатої форми, в якій змонтовано шпиндель верстата, механізм переміщення шпинделя, противагу шпинделя.
Подача шпинделя здійснюється вручну штурвалом 1.
У верхній частинині корпусу свердлильної головки знаходиться коробка швидкостей (рис.7), підмоторна плита з електродвигуном. Перемикання швидкостей здійснюється рукояткам вручну.

Коробка швидкостей свердлильного верстата 2С125
Коробка швидкостей свердлувального верстата 2С125. Дивитись у збільшеному масштабі
Коробка швидкостей може виготовлятися у двох виконаннях на замовлення споживача.

Шпиндель свердлильного верстата 2С125
Шпиндель сверлильного верстата 2С125. Дивитись у збільшеному масштабі
Шпиндель установлен на двух радиальных і двух упорных підшипниках. Все підшипники расположены в пиноли 3, которая з помощью реечной пары перемещается вдоль оси. Регулювання зазоров в підшипниках производится гайкой 6.
Перемещение шпинделя контролируется по указателю 5, налаштування на определенную глубину сверления осуществляется переміщенням указателя 5 по скалке 4 з помощью гвинта.
Наладка верстата на работу заключается в установці стола в необходимое для роботи положение, в его зажиме, в установці необходимых частот обертання шпинделя.
На станке предусмотрена только ручная подача шпинделя, которая осуществляется штурвалом 6 (рис. 4).
Качество инструмента і оправок во многом определяет спокойную работу верстата, точность і чистоту обробки.
Для выбивки инструмента необходимо опустить пиноль 3, совместить паз шпинделя 7 з пазом пиноли (рис.8) і клином выбить инструмент.
| Наименование параметра | 2С125 | 2С125-04 | 2С125-01 (2С125-1) |
|---|---|---|---|
| Основні параметри верстата | |||
| Условный диаметр сверления в стали 45 по ГОСТ 1050-88, мм | 25 | 25 | 25 |
| Наибольший диаметр сверления в стали 45 по ГОСТ 1050-88, мм | 31 | 31 | 31 |
| Наибольшая высота заготовки на столе, мм | 500 | 500 | - |
| Наибольшая высота заготовки на плите, мм | 900 | 900 | 450 |
| Диаметр нарізання різьби в стали 45 по ГОСТ 1050-88, мм | М5...М22 | М5...М22 | |
| Рабочий стол | |||
| Розміри рабочей поверхности плиты (длина х ширина), мм | 320 х 320 | 320 х 320 | 320 х 320 |
| Розміри рабочей поверхности стола (длина х ширина), мм | 420 х 300 | 420 х 300 | - |
| Наибольший ход подъемного стола (ось Z), мм | 680 | 680 | - |
| Наибольшая масса заготовки на столе, кг | 100 | 100 | - |
| Наибольшее расстояние от торца шпинделя до стола, мм | 730 | 730 | - |
| Наибольшее расстояние от торца шпинделя до плиты, мм | 1210 | 1210 | 580 |
| Расстояние от оси шпинделя до направляючих стойки, мм | 320 | 320 | 320 |
| Шпиндель | |||
| Наибольшее перемещение (установочное) шпиндельной головки, мм | 400 | ||
| Наибольшее перемещение (ход) пиноли шпинделя, мм | 150 | 110 | 150 |
| Частота обертання шпинделя, об/мин | 90...1400 | 90...1400 | 90...1400 |
| Количество швидкостей шпинделя | 9 | 9 | 9 |
| Наибольший допустимый крутящий момент, Нм | 143 | ||
| Размер внутреннего конуса шпинделя по ГОСТ 25557-82 | Морзе 3 | Морзе 3 | Морзе 3 |
| Механіка верстата | |||
| Число ступеней рабочих подач | - | 3 | - |
| Пределы вертикальних рабочих подач на один оборот шпинделя, мм | вручную | 0,05...0,2 | вручную |
| Наибольшая допустимая сила подачі (осевое усилие на шпинделе)), Н | 7000 | ||
| Привод | |||
| Електродвигун приводу головного руху, кВт | 1,5 | 1,5 | 1,5 |
| Габарити і масса верстата | |||
| Габарити верстата (длина ширина высота), мм | 800 500 2050 | 800 500 2050 | 800 430 1450 |
| Масса верстата, кг | 430 | 450 | 400 |