metalinstryment.com
Довідник по металорізальних верстатів та пресовому обладнанні

16Д25 Верстат токарно-гвинторізний універсальний облегченный
паспорт, руководство, схеми, опис, характеристики

16Д25 Фотография токарно-гвинторізного верстата







Відомості про виробника токарно-гвинторізного верстата 16Д25

Разработчик і изготовитель токарно-гвинторізного верстата 16Д25 - Алма-Атинский станкостроительный завод, основанный в 1932 году как чугунолитейный завод № 1 областного отдела легкой промышленности.

С апреля 1942 года після объединения з литейно-механическим заводом "20 лет Октября”, евакуированным из Луганска, стал называться Алма-Атинским механическим заводом N21 им. 20-летия Октября Наркомата среднего машиностроения СССР.

В 1945 году переименован в Алма-Атинскии станкостроительный завод им. 20-летия Октября.

Завод выпускал верстати токарно-винторезные: 16Д20, 16Д20П, 16Д20ПФ1, ТВ16, 16Д25, 1Д95, 1Е95, 1М95.





Верстати завода Алма-Атинский станкостроительный завод им. 20-летия Октября


16Д25 Верстат токарно-гвинторізний універсальний. Назначение і область применения

Выпуск верстатів серии 16Д25 начался на Алма-Атинском станкостроительном заводе им. 20-летия Октября в 1986 году.

Токарно-винторезные верстати 16Д25 могут применяться в различных отраслях промышленности на всевозможных операциях для обробки разных материалов. Обслуговування верстатів следует осуществлять з учетом специфики их експлуатации.

Верстат предназначен для выполнения различных токарных работ і нарізання метрической, модульной, дюймовой і питчевой резьб. Обрабатываемые детали устанавливаются в центрах или патроне.

Особливості конструкції і принцип роботи верстата 16д25

Верстат заменяет модель 1К62. По всем качественным показателям (производительности, точності, долговечности, надежности, удобству обслуживания, безопасности роботи і т. д.) превосходит верстат моделі 1К62. Жесткая коробчатой формы станина з калеными шлифованными направляющими установлена на монолитном основании.

Шпиндель смонтирован на прецизионных підшипниках качения. На суппорте имеются масштабные линейки з визирами для удобства определения величины переміщення резцовых і поперечных салазок в процессе роботи. Новая конструкция резцедержателя улучшает стабильность фиксации. Фартук верстата снабжен оригинальным механізмом виключення подачі суппорта, обеспечивающим высокую точность останова на жестком упоре. Комплекс ограждающих і блокировочных устройств гарантирует безопасность роботи на станке.

Наиболее целесообразно использовать верстат в инструментальных і ремонтных службах в условиях мелкосерийного і единичного производства на чистовых і получистовых работах.

Верстати 16Д25 выполнены на базе основной моделі 16Д20 з максимальной унификацией, имеют одинаковые кинематические схеми і унифицированную конструкцию:

Различия в технических характеристиках отражены в разделе основних данных верстатів.

Верстати должны експлуатироваться в закрытых отапливаемых помещениях, климатические условия УXЛ4 для стран з умеренным климатом і 04 для стран з тропическим климатом по ГОСТ 15150-69.

Класс точності верстата Н. При чистовой обработке деталей из конструкционных сталей шероховатость обработанной поверхности V6б.

Отклонение от цилиндричности 7 мкм, конусности 20 мкм на длине 300 мм, отклонение от прямолинейности торцевой поверхности на диаметре 300 мм — 16 мкм.


Обозначение універсального токарно-гвинторізного верстата 16Д25

1 - токарний верстат (группа)

6 – токарно-гвинторізний верстат (подгруппа)

Д – поколение верстата (А, Б, В, Д, К, Л)

25 – высота центров над станиной (250 мм)

Г – виконання верстата з выемкой в станине

П – виконання верстата з підвищеної точностью по ГОСТ 8-82

Ф1 – виконання верстата з пристрійм цифровой индикации УЦИ

Ф3 – виконання верстата з системой ЧПУ


Габарити робочого простору токарного верстата 16Д25. Ескіз суппорта

16Д25 Верстат токарно-гвинторізний. Габарити робочого простору

Габарити робочого простору токарного верстата 16д25


Загальний вигляд токарно-гвинторізного верстата 16Д25

16Д25 Верстат токарно-гвинторізний. Загальний вигляд

Фото токарно-гвинторізного верстата 16д25

Фото токарно-гвинторізного верстата 16д25. Дивитись у збільшеному масштабі



16Д25 Верстат токарно-гвинторізний. Загальний вигляд

Фото токарно-гвинторізного верстата 16д25

Фото токарно-гвинторізного верстата 16д25. Дивитись у збільшеному масштабі



16Д25 Верстат токарно-гвинторізний. Загальний вигляд

Фото токарно-гвинторізного верстата 16д25

Фото токарно-гвинторізного верстата 16д25. Дивитись у збільшеному масштабі



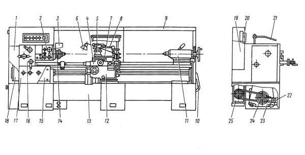
Схема розположення складових частин токарно-гвинторізного верстата 16Д25

16Д25 Верстат токарно-гвинторізний. Схема розположення складових частин

Розташування основних вузлів токарно-гвинторізного верстата 16д25

Специфікація складових частин токарно-гвинторізного верстата 16Д25

  1. Кожух левый КД25.422000.000
  2. Пульт керування 16Д20.182000.000
  3. Ограждение патрона 16Д20.421000.000
  4. Каретка 16Д20.050000.000; 16Д20П.050000.000
  5. Резцедержатель четырехпозиционный 16Д20.041.001
  6. Електроустаткування 16Д25.185000.000
  7. Суппорт 16Д20.040000.000; 16Д20П.040000.000
  8. Охлаждение 16Д20.410000.000; 16Д25.412000.000
  9. Ограждение заднее 16Д20.425000.000; 16Д25.426000.000
  10. Пневмообладнання задньої бабки 16Д20.120000.000
  11. Бабка задня 16Д25.031000.000
  12. Фартук 16Б20П.061000
  13. Основание 16Д20.016000.000; 16Д20Г.018.000.000; 16Д25.017000.000
  14. Бабка шпиндельна 16Д25.02100.000
  15. Коробка подач 16Д20.070000.000
  16. Коробка переборная 16Д20.028000.000
  17. Облицовка коробки подач 16Д25.072000.000
  18. Коробка передач 16Д25.082 000.000
  19. Шкаф керування 16Д20.190000.000
  20. Панель 16Д20.200000.000
  21. Ограждение суппорта 16Д20.423000.000
  22. Станція змазки 16Д20.401000.000
  23. Установка моторная 16Д20.150000.000
  24. Шкивы і таблицы 16Д20.157000.000
  25. Автоматическая коробка передач 16Д20.083000.000

Розташування органів керування токарно-гвинторізним верстатом 16Д25

16Д25 Розташування органів керування токарно-гвинторізним верстатом

Розташування органів керування токарно-гвинторізним верстатом 16д25


Список органів керування токарно-гвинторізного верстата 16Д25

  1. Рукоятка установки подач і правых різьб (рукоятка F)
  2. Выключатель освещения
  3. Лампа сигнальная змазки АКП
  4. Рукоятка установки диапазона частот обертання шпинделя (рукоятка Е)
  5. Лампа сигнальная (указатель увімкнення електроживлення)
  6. Рукоятка установки левых різьб (рукоятка G)
  7. Кнопки "Пуск" і "Стоп" насоса охлаждения
  8. Кнопки "Пуск" і "Стоп" насоса охлаждения
  9. Указатель нагрузки
  10. Таблиця частоти обертання шпинделя
  11. Рукоятка установки частоти обертання шпинделя (галетный переключатель)
  12. Выключатель аварийный
  13. Дублирующая рукоятка керування головним приводом
  14. Кнопка подачі масла для змазки поперечных салазок і прижимных планок
  15. Рукоятке поворота і крепления резцовой головки
  16. Рукоятка ручной поперечної подачі суппорта
  17. Выключатель аварийный
  18. Блок керування головним приводом
  19. Рукоятка ручного переміщення резцовых салазок
  20. Кнопка увімкнення быстрых ходов каретки і суппорта
  21. Рукоятка фиксации пиноли задньої бабки
  22. Рукоятка крепления задньої бабки к станине
  23. Рукоятка переміщення пиноли задньої бабки
  24. Винт поперечного переміщення задньої бабки
  25. Рукоятка керування ходуми каретки і суппорта
  26. Рукоятка увімкнення гайки ходового гвинта
  27. Табличка з символами увімкнення гайки ходового гвинта
  28. Болт закрепления каретки к станине
  29. Рукоятка увімкнення і виключення реечной шестерни
  30. Маховик ручного переміщення каретки
  31. Рукоятки установки величины подачі или різьби
  32. Рукоятка выбора подач і типа різьби
  33. Рукоятки установки величины подачі или різьби
  34. Таблиця різьб і подач
  35. Таблиця додаткових і точных резьб
  36. Вводный выключатель




Схема кінематична токарно-гвинторізного верстата 16Д25

Схема кінематична токарно-гвинторізного верстата 16Д25

Кінематична схема токарно-гвинторізного верстата 16д25

Схема кінематична токарно-гвинторізного верстата 16Д25. Дивитись у збільшеному масштабі



Кінематична схема приведена для понимания связей і взаимодействия основних елементів верстата. На выносках проставлены числа зубьев (г) шестерен (звездочкой обозначено число заходов червяка).

Вращение шпинделя осуществляется от реверсивного електродвигуна Ml через АКП і переборную коробку соединенными поликлиновыми ременными передачами. Установленная на станке АКП имеет шесть електромагнітних муфт, увімкнення которых в определенной післядовательности позволяет получить девять ступеней скорости і тормозить шпиндель верстата. Переборная коробка дает з помощью включений зубчатых колес 16, 19, 20 і 22 -первую ступень, зубчатых колес 18, 25, 26 і 21 -вторую ступень, зубчатых колес 17, 24, 26 і 21 -третью ступень частоти обертання. Таким образом, шпиндель имеет 27 швидкостей обертання.

Кинематическая ланцюг подачі начинается от шпинделя верстата. Величина подачі или шаг різьби определяется на один оборот шпинделя. От шпинделя через передачу 21, 26, 23, 29 і основной набор сменных шестерен К, L, М, N вращение передається на входной вал коробки подач.

Далее рух подачі проходит через коробку подач і приводит во вращение ходовой винт при нарезании різьби или ходовой вал при всех остальных видах обробки.

Через передачу 23, 28 і 27, 29 получаем все левые різьби. Через передачу 26, 32 получаем удвоение подач і правых резьб. Через передачи 17, 24 і 23, 29 при выведенной из зацепления шестерни 26 получаем подачі, увеличенные в 16 раз. Дополнительно при зацеплении 23, 30, получаем II ниток на I"; при 23, 31, получаем 19 ниток на I".

Вращательное рух ходового гвинта или ходового вала преобразуется механізмом фартука в продольные і поперечные подачі. Пользуясь табл.4, 5, производят установку величин подач і налаштування верстата для нарезки различных резьб.


Механіка головного руху і подач

Механізм головного руху - разделенный і состоит из следующих вузлів:

Автоматическая коробка передач переключается з помощью галетного переключателя II (см.рис.10) і позволяет мати 9 швидкостей, которые включаются без остановки шпинделя в одном диапазоне. Переборная группа позволяет получить три диапазона чисел оборотів шпинделя з помощью рукоятки 4 (Е).

Положение рукояток при выборе частоти обертання должно соответствовать значению, указанному в табл.1, 2. В положении 0 шпиндель не вращается.

Наибольшие крутящие моменты, КПД і наиболее слабое звено в различных диапазонах обертання шпинделя приведены в табл.4.


Механізм подач

Механізм подач состоит из унифицированной коробки подач 16Б20П.070, которая обеспечивает подачі при точении, нарезание різьб метрических, модульных, дюймовых, питчевых нормального ряда і дюймовых різьб II і 19 ниток на дюйм.

Конструкція верстата позволяет нарезать многозаходные різьби.

Подачи і все правые різьби нормального ряда можно получить з обычным шагом, удвоенным і увеличенным в 16 раз.

Все левые різьби нормального ряда получают з обычным шагом і з шагом, увеличенным только в 16 раз.

Дюймовые різьби II і 19 ниток на I" получают з шагом, увеличенным в 2 раза, і з шагом, уменьшенным в 2 раза.

Требуемое положение рукояток переборной коробки для налаштування верстата на любой тип різьби і подачі, приведено в табл.3 при соответствующих положениях рукояток 31, 32, 33 (рис.10).





Короткий опис сборочных единиц

Основание верстата

Основание верстата состоит из станины, установленной на двух і на трех (для верстатів з РМЦ = 2000 мм) тумбах.

Станина

Станина верстата коробчатой формы з П-образными ребрами, имеет две призматические і две плоские направляющие. На станине устанавливаются шпиндельна бабка, коробка подач, кронштейн 5 ходового гвинта 2 і ходового велика 4, а также рейка 3.

В нише правого торца станины размещен на подмоторной плите 6 електродвигатель быстрых перемещений суппорта. Плита може перемещаться по скалкам 7.

У верстатів 16Д20Г і 16Д25Г станина выполнена з выемкой, позволяющей обработать детали соответственно диаметром 630 і 700 мм. В етом случае станина имеет вкладыш I. При необходимости обробки деталей большего диаметра вкладыш снижается. Для етого нужно вывернуть пробки I (рис.13), удалить винты 2 і штифты 4. Во избежание нанесения забоин вкладыш 3 необходимо положить на подкладку из мягкого материала і для предотобертання коррозии покрыть тонким слоем масла. Перед установкой вкладыша на станину следует тщательно протереть посадочные поверхности станины і вкладыша, осмотреть і убедиться в отсутствии на них забоин.

Для обробки деталей над выемкой в станине необходимо пользоваться специальным удлиненным резцом или резцовой оправкой, устанавливаемыми в резцедержателе, как показано на рис.14. Оправка 3 устанавливается в резцедержателе 4, різець I крепится гвинтами 2.

ВНИМАНИЕ! При обработке деталей над выемкой : частота обертання шпинделя не должна превышать 400 мин-1.

Тумбы

Тумбы верстата - литые, пустотелые. В тумбе левой установлен електродвигатель головного руху, а з правого торца прикреплен масляный бак для централизованной змазки.

В тумбе правой установлен насос і бак для смазочно-охлаждающей жидкости.

Между тумбами на роликах установлено выдвижное корито для сбора стружки і охлаждающей жидкости.

Моторная установка

Моторная установка состоит из електродвигуна головного руху, моторной плиты 9 і направляющей штанги 3.

Моторная плита крепится на левой торце правой тумбы двумя прихватами 7 і гвинтами 4, 8. Вращение от електродвигуна головного руху передається поликлиновым ремнем на автоматическую коробку передач - АКП309-16, которая крепится на задньої стенке тумбы.

Переборная коробка

Переборная коробка крепится к заднему торцу шпиндельной бабки і представляет собой редуктор, в котором в качестве выходного вала служит шпиндель верстата. Шестеренный механізм переборной коробки позволяет получить три диапазона частот обертання шпинделя; увеличивать в 2 і в 16 раз передаточные отношения между ланцюгю подач і шпинделем; нарезать правые і левые різьби; дополнительно нарезать дюймовые різьби II і 19 ниток на I", производить деление при нарезании многозаходных різьб на 2, 3, 4, 5, 6, 12, 15, 20, 30, 60 заходов.

Переключення шестерен осуществляется з помощью рукояток через кулачки і рычаги.

Подвижные шестерни перемещаются по шлицевым валам з базированием по внутреннему диаметру.

Смазка переборной коробки централизованная, описана в разделе 8

Шпиндельная бабка

Шпиндельная бабка крепится на горизонтальной плоскости направляючих станины в її левой частини шестью болтами. Шпиндельная бабка представляет собой жесткую чугунную отливку з одной расточкой, в которой смонтирован шпиндель верстата в цилиндрических конусно-роликовых підшипниках:

ВНИМАНИЕ! Шпиндельные підшипники отрегулированы на заводе-изготовителе верстата і не требуют дополнительного регулювання.






16Д25 Верстат токарно-гвинторізний універсальний облегченный. Відеоролик.



Технічні характеристики токарного верстата 16Д25

Наименование параметра 16К20 16Д20 16Д25
Основні параметри верстата согласно ГОСТ 440-81
Наибольший диаметр заготовки обрабатываемой над станиной, мм 400 400 500
Наибольший диаметр заготовки обрабатываемой над суппортом, мм 220 220 290
Наибольший диаметр заготовки обрабатываемой над выемкой (обозначение Г), мм 310 630 700
Наибольшая длина устанавливаемой детали РМЦ, мм 710, 1000, 1400, 2000 750, 1000, 1500 1000, 1500, 2000
Наибольшая масса обрабатываемого вироби в центрах, кг 1300
Шпиндель
Диаметр отверстия в шпинделе, мм 52 63 63
Инструментальный конус шпинделя, мм Морзе 6 М80 М80
Фланец шпинделя, мм
Мощность приводу головного руху, кВт 10 11 11
Частота обертання шпинделя, об/мин 12,5..1600 8,5..2000 8,5..2000
Количество прямых швидкостей шпинделя 22 27 27
Количество швидкостей, переключаемых без остановки шпинделя 9 9
Наибольший крутящий момент на шпинделе, кН*м 2 2
Суппорт. Подачи
Высота резца, мм/об 25 25
Диапазон продольных подач, мм/об 0,05..2,8 0,05..10,7 0,05..10,7
Диапазон поперечных подач, мм/об 0,025..1,4 0,025..5,35 0,025..5,35
Количество подач продольных/ поперечных 22/ 24 32/ 32 32/ 32
Скорость быстрых перемещений продольных/ поперечных, м/мин 3,8/ 1,9 4/ 2 4/ 2
Количество резьб, мм
Пределы шагов метрических резьб, мм 0,5..112 0,5..112 0,5..112
Пределы шагов дюймовых резьб, ниток/дюйм 0,5..112 0,25..56 0,25..56
Пределы шагов модульных резьб, модуль 0,5..56 0,5..112 0,5..112
Пределы шагов питчевых резьб, питч диаметральный 56..0,5 56..0,25 56..0,25
Задня бабка
Центр пиноли задньої бабки по ГОСТ 13214-79 М5 М5 М5
Наибольшее перемещение пиноли, мм 150 150 150
Електроустаткування і привод
Количество електродвигателей на станке 4 3 3
Електродвигун головного руху, кВт 10 11 11
Електродвигун быстрых перемещений, кВт 0,75 0,75 0,75
Електродвигун насоса СОЖ, кВт 0,12 0,125 0,125
Електродвигун гідростанції, кВт 1,1 - -
Габарити і масса верстата (РМЦ = 1000)
Габарити верстата (длина ширина высота) (РМЦ = 1000), мм 2795 х 1190 х 1500 2880 х 1270 х 1605 2880 х 1320 х 1605
Масса верстата, кг 3005 2800 2880


    Список литературы:

  1. Верстати токарно-винторезные 16Д20, 16Д20П, 16Д20Г, 16Д25, 16Д25Г. Руководство по експлуатации 16Д20.000.000.000 РЭ, 1966

  2. Ачеркан Н.С. Металлорежущие верстати, Том 1, 1965
  3. Батов В.П. Токарные верстати., 1978
  4. Белецкий Д.Г. Справочник токаря-универсала, 1987
  5. Денежный П.М., Стискин Г.М., Тхор И.Е. Токарное дело, 1972. (1к62)
  6. Денежный П.М., Стискин Г.М., Тхор И.Е. Токарное дело, 1979. (16к20)
  7. Модзелевский А. А., Мущинкин А.А., Кедров С. С., Соболь А. М., Завгородний Ю. П., Токарные верстати, 1973
  8. Пикус М.Ю. Справочник слесаря по ремонту верстатів, 1987
  9. Схиртладзе А.Г., Новиков В.Ю. Технологическое обладнання машиностроительных производств, 1980
  10. Тепинкичиев В.К. Металлорежущие верстати, 1973
  11. Чернов Н.Н. Металлорежущие верстати, 1988









Заказать

Кто владеет информацией - тот владеет миром.

Натан Ротшильд