Навчальний токарно-гвинторізний верстат ТВ-16 випускався в СРСР з 50-х років минулого століття і на даний час виробництво їх припинено на всіх підприємствах.
Настільний токарно-гвинторізний верстат TOS MN-80a випускався в Чехословаччині підприємством TОС Челаковіце (TOS Celakovice, TOS ČELÁKOVICE) у 50-х роках минулого століття і наразі виробництво їх припинено.
У СРСР виробляли копії верстата mn-80 відразу на кількох заводах:
S1-85 - токарно-гвинторізний верстат випускався КНДР (Північна Корея) і поставлявся до СРСР
Виробництвом токарно-гвинторізного верстата ТВ-16 займалися кілька заводів та навчальних закладів:
Усі верстати, випущені цими підприємствами, були ідентичні і відрізнялися переважно лише формою лиття станин.
За основу конструції токарного верстата ТВ-16 було взято чехословацький токарно-гвинторізний верстат TOS MN-80 a .
Токарний верстат ТВ-16 є настільним універсальним токарно-гвинторізним верстатом і призначається для всіляких токарних робіт у майстернях шкіл для політехнічного навчання.
Основним призначенням верстата ТВ-16 було навчання токарній справі у школах, профтехучилищах, технікумах.
Нижче наведено опис настільного токарно-гвинторізного верстата ТВ-16 виробництва Машинобудівного заводу ім. С.М.Кірова , м. Алма-Ата.
Настільний токарно-гвинторізний верстат ТВ-16 має спрощену конструкцію:
Незважаючи на урізану конструкцію верстат може виконувати такі види токарних робіт по металу:
Привід верстата здійснюється від асинхронного електродвигуна ~380 або 220В через 2-ступінчастиний шків контрприводу і 3-ступінчастиний шків шпинделя. За рахунок перекидання клинових ременів можна знизити частоту обертання шпинделя і отримати одну з 6-ї швидкостей, необхідну для різьблення мітчиками, а також для важких робіт, що вимагають підвищеного крутного моменту. Підвищена швидкість шпинделя використовується для чистових робіт. Напрямок обертання шпинделя визначається двигуном.
Шпиндель токарного верстата ТВ-16 отримує 6 ступенів обертання (160, 250, 400, 630, 1000, 1600 об/хв) від приводу верстата.
Передній кінець шпинделя танка ТВ-16 має різьблення М39х4, тому для встановлення токарного патрона на шпиндель необхідний проміжний фланець (його називають також план-шайба) (див. статтю Токарні патрони ). Стандартний патрон для верстата ТВ-16 – Ø100 мм.
Від шпинделя рух передається на гітару і від гітари на ходовий гвинт.

Габаритні розміри робочого простору верстата тв-16

Шпиндель токарного верстата тв-16

Фото токарного верстата ТВ-16 Алма-атинского завода им. С.М.Кирова
Фото токарно-гвинторізного верстата ТВ-16. Дивитись у збільшеному масштабі

Фото токарно-гвинторізного верстата ТВ-16

Фото токарного верстата ТВ-16 Алма-атинского завода им. С.М.Кирова

Фото токарного верстата ТВ-16 Алма-атинского завода им. С.М.Кирова

Фото токарного верстата ТВ-16 Алма-атинского завода им. С.М.Кирова

Фото токарного верстата ТВ-16 МИНВУЗ" г. Витебск

Фото токарного верстата ТВ-16 МИНВУЗ" г. Витебск

Фото токарного верстата ТВ-16 Кобринського інструментального заводу

Фото токарного верстата ТВ-16 Кобринського інструментального заводу

Фото токарно-гвинторізного верстата ТВ-16

Фото токарно-гвинторізного верстата ТВ-16

Розташування складових частинин токарно-гвинторізного верстата ТВ-16

Розташування органів керування токарно-гвинторізним верстатом ТВ-16

Таблиця різьб і подач токарно-гвинторізного верстата ТВ-16
Таблиця різьблення та подач токарно-гвинторізного верстата ТВ16. Дивитись у збільшеному масштабі

Таблиця різьб і подач токарно-гвинторізного верстата ТВ-16
Таблиця різьблення та подач токарно-гвинторізного верстата ТВ16. Дивитись у збільшеному масштабі

Кінематична схема токарно-гвинторізного верстата ТВ16
Кінематична схема токарно-гвинторізного верстата ТВ16. Дивитись у збільшеному масштабі

Станина токарно-гвинторізного верстата ТВ16
Станина служить підтримки, закріплення і взаємного з'єднання всіх вузлів верстата. Станина чавунна лита коробчастої форми.
Прямокутний напрямний паз 3 (рис. 1) служить для спрямування переміщення супорта, призматичний паз 1 для спрямування переміщення задньої бабки. Т-подібний паз 2 служить кріплення задньої бабки.
На передній стороні станини встановлений ходовий гвинт 4 (рис. 2) та зубчаста рейка 5.
Люфт ходового ггвинта усувається гайкою та контргайкою 6.
Станина разом із коритом 2 на підставках 8 кріпиться до дерев'яного столу шістьма болтами 3.

Передня бабка токарного верстата ТВ-16
Передня бабка токарного верстата ТВ-16. Дивитись у збільшеному масштабі
Передня бабка (рис. 3) складається з корпусу - 1 з кришкою - 2, шпинделя - 3 і трензеля - 20 для реверсу подачі за допомогою рукоятки - 19,
Шпиндель із посадженим на нього шківом - 4 змонтований на двох підшипниках ковзання - передньому - 9 і задньому - 12.
Підшипники ковзання являють собою вкладиші (втулки) з конічною зовнішньою поверхнею. Вкладиші надрізані вздовж трьох утворюючих і розрізані вздовж четвертої.
Зазор між шпинделем і вкладишем регулюється осьовим переміщенням останнього в корпусі за допомогою передньої гайки 5 з повстяним ущільненням - 15 і задньої - 7.
При затягуванні гайок 5 і 7 вкладиші стискаються з деяким спотворенням внутрішньої поверхні. Для усунення цього спотворення передбачені гвинти – 13, які мають клиноподібні головки – 14, вставлені в похилі прорізи вкладишів.
При регулюванні головка 14 розпирає вкладиш, щільно притискаючи його до конічної поверхні корпусу (або до втулки - 11 заднього підшипника).
Змонтований на шпинделі шків - 4 кріпиться за допомогою гайки - 8 і стопора - 17.
Для змащування шпинделя передбачено дві прессмасленки - 16 і повстяні подушки - 21.
Шпиндель верстата ТВ-16 смонтирован на 3-х підшипниках:
Підшипник 36207 - це кульковий однорядний радіально-упорний підшипник. Сприймає навантаження як радіального, так і осьового (в одному напрямку) характеру. Застосовують такі підшипники у швидкохідних та високоточних вузлах, наприклад, у шпинделях шліфувальних верстатів. Для забезпечення високої точності обробки необхідно, щоб шпиндель мав високу жорсткість. Для цього створюється попередній натяг.
Притерті один до одного і підшипники цього типу, що встановлюються парою, називають дуплексними, продаються вони в комплекті, виготовляються з високим ступенем точності. Мають позначення 436207.
У РФ виробляється у Самарі на СПЗ-4 (6-36207 Е чи Л) і Саратові на 3 ГПЗ (Т-36207Е5. 6-36207Е5, 6-36207Л). Ціни на саратівські підшипники значно вищі, втім як і якість продукції.
Підшипники іноземного виробництва цього типу мають номер 7207CD.

Схема підшипника 36207 (7207) токарного верстата ТВ-16

Регулювання токарного верстата ТВ-16
Регулювання токарного верстата ТВ-16. Дивитись у збільшеному масштабі
Затягування підшибників шпинделя проводиться гайкою 32. Осьовий люфт шпинделя усувається шляхом створення попереднього натягу підбором розпірних втулок 33.
Регулювання натягу ременів клинопасової передачі здійснюється ексцентриковим механізмом. Ступінь натягу ременів регулюється положенням тяги в ексцентриці і фіксується гвинтом 20. Натяг ременів не повинен бути надмірним, але повинен бути таким, щоб ремені не прослизали на шківах. При перестановці ременя з одного шківа на інший необхідно повернути ручку 1 і звільнити ремені від натягу.
Залежно від необхідної подачі встановлюють змінні шестірні. Шестерні перед встановленням слід прочистити та змастити.
Регулювання зазорів у направляючих каретках супорта, поперечних санок і верхніх санок здійснюється за допомогою клинів і гвинтів 19, 17 і 16-(див. стор. 8).
Обмеження зазору між гвинтом і гайкою поперечних санчат проводиться гвинтом 26. Для обмеження зазору між гвинтом і гайкою верхніх санок слід відпустити два гвинти 29, що кріплять гайку і підвернути гвинт 27 до усунення зазору, потім назад затягують гвинти 29.
Осьовий люфт ггвинта поперечних санчат і ггвинта верхніх санок регулюється шляхом вибірки зазору між заплечиком ггвинта і шайбою за допомогою гвинтів 31.
При конусній обробці виробу в центрах поперечне зміщення корпусу задньої бабки по відношенню до плити задньої бабки проводиться гвинтом 11. Ггвинтами 18 фіксують це положення задньої бабки (див. стор 8).

Привід токарного верстата ТВ-16
Привід токарного верстата ТВ-16. Дивитись у збільшеному масштабі
Привід верстата мал. 4 змонтований у лівій тумбі столу і наводиться в рух від індивідуального електродвигуна б, встановленого на санках 13, прикріплених до дерев'яної кришки столу ггвинтами 14.
Передача руху електродвигуна до шпинделя здійснюється двома клиновими ременями через 7 проміжний вал 3.
Натяг ременя, що передає рух електродвигуна на проміжний вал 3, регулюється шляхом переміщення в санках електродвигуна. Натяг ременя, що передає рух від проміжного валу на шпиндель, регулюється гвинтом 11 і тяги 9.
Ослаблення та натяг ременів при перекиданні ременів здійснюється рукояткою 8 за допомогою ексцентрикового механізму.
Проміжний вал 3 змонтований у корпусі 1 на роликових підшипниках 4. Для регулювання натягу ременя проміжний вал спільно з корпусом повертається щодо осі основи 2. Поворот здійснюється рукояткою 8 і фіксується в крайніх положеннях ексцентриковим пристроєм.
На валу 3 з одного боку укріплений 2-ступінчастий шків для зв'язку з електромотором і з іншого боку 3-ступінчастий шків для зв'язку зі шпинделем верстата.
Змащення підшибників валу 3 і осі основи 2 здійснюється за допомогою пресмаслянок 12.

Механізм подач токарного верстата ТВ-16
Механізм подач токарного верстата ТВ-16. Дивитись у збільшеному масштабі

Механізм подач токарно-гвинторізного верстата ТВ16
Механізм подач служить для передачі руху на ходовий гвинт і налаштувань поздовжніх подач точення та нарізування різьблень.
Механізм подач знаходиться в коробці 1 (рис. 5), прикріпленій до передньої бабці, і закритий дверцятами 2. Ходовий гвинт 10 отримує рух від шпинделя верстата 8 через трензельну передачу 11 і змінні шестерні а, с, d.
Змінна шестерня „а” кріпиться на втулці трензеля 13 гвинтом 9. Змінні шестерні „в” і „с” кріпляться на гітарі 4 гвинтом 5. Після встановлення змінних шестерень для забезпечення нормального зчеплення зубів, гітара закріплюється в коробці 1 гвинтом 6. для нарізування різьблення на ходовий гвинт встановлюється змінна шестерня „d” з числом зубів - 100. При налаштуванні верстата на точення замість змінної шестерні „d” на ходовий гвинт встановлюється планетарна передача.
Для нарізування різьблень у гітарі використовується 4-е шестерні - a, b, c, d = 100. Формула налаштування гітари на необхідний крок різьблення:
T = a/b x c x 3/100
де a, b, c, d – число зубів змінних зубчастих коліс гітари. Т - крок нарізання різьблення в мм.
Для налаштування поздовжніх подач у гітарі використовується 3-ї шестерні - a, b, c і планетарна передача. Формула налаштування гітари на необхідну швидкість подачі:
S = a/b x c x 3/2000
де a, b, c – число зубів змінних зубчастих коліс гітарі. S - подача у мм на оборот.

Фартук токарного верстата ТВ-16
Фартук токарного верстата ТВ-16. Дивитись у збільшеному масштабі
Фартух призначений для передачі руху від ходового ггвинта до супорта, Корпус фартуха кріпиться ггвинтами до коробки супорта.
Роз'ємна гайка 3 фартуха з'єднується з ходовим гвинтом.
Вмикання та вимикання гайки здійснюється рукояткою 5.
При включеній гайці фартуха поздовжня подача супорта здійснюватматися механічно від ходового ггвинта. При відключеній гайці фартуха перерух супорту проводиться вручну обертанням маховичка з лімбом 6, при цьому переміщення супорта здійснюється через шестерню фартука 4 і рейку 5 (рис. 2) на станині верстата.
Супорт призначений для закріплення та подачі різального інструменту. Супорт складається з 4-х основних вузлів (рис. 7): каретки – 1, санчат поперечних – 2, санок верхніх – 4, поворотного кола – 3 і різцетримача – 5.
Каретка переміщається у поздовжньому напрямку напрямними станини, як механічно від ходового ггвинта, так і вручну за допомогою маховичка, розташованого на фартуху.
Кріплення супорта на станині здійснюється за допомогою ггвинта з ручкою - 19.
Поперечні санки переміщаються перпендикулярно до осі верстата по верхнім напрямним каретки. Переміщення здійснюється за допомогою ггвинта - 7 та розрізної гайки-9, яка стягується гвинтом - 10, за допомогою якого можна ліквідувати „мертвий хід” ггвинта, що виникає внаслідок зношування гайки.
Верхні санки, змонтовані на поворотному колі - 3, можуть повертатися в обидві сторони і закріплюються в необхідному положенні двома ггвинтами - 20. Поворот санок проводиться при обточуванні конусів.
Лінійне переміщення верхніх санчат здійснюється гвинтом - 8 і розрізною гайкою - 11. Регулювання зазору між гвинтом і гайкою проводиться гвинтом - 12.
Гвинти переміщення верхніх і поперечних санок забезпечені лімбами - 22 та 24.
Для регулювання зазорів у направляючих служать клини - 13, 15, 17 і регулювальні гвинти - 14, 16 і 18.
Чотирьохсторонній різцетримач - 5 може повертатися на 360 ° з фіксацією повороту на 45 °. Закріплення різцетримача здійснюється рукояткою – 6.
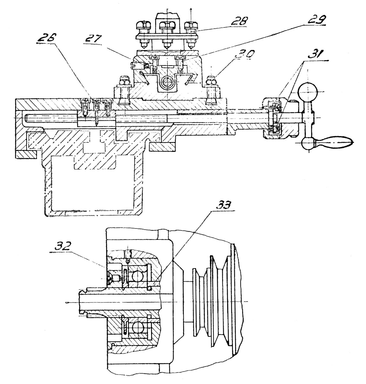
Задня бабка (рис. 8) складається з корпусу – 1, плити – 2, пінолі – 4, ггвинта – 3, гайки – 5 і маховичка з рукояткою – 12.
Задня бабка вручну переставляється вздовж станини по призматичній направляючій і кріпиться у необхідному положенні пазовим болтом - 14 і гайкою - 6. Піноль 4 може висуватися з корпусу бабки на 65 мм.
При обертанні маховичка з рукояткою - гвинт 12 3, обертаючись в гайці 5, пересуває піноль. У необхідному положенні піноль кріпиться ручкою - 13.
Для точення конусів передбачена можливість поперечного переміщення корпусу задньої бабки – 1 по плиті – 2 на 5 мм вперед і назад від лінії центрів.
Переміщення здійснюється за допомогою ггвинта – 7.
Повернення задньої бабки на лінію центрів провадиться шляхом поєднання рисок, нанесених на задніх торцях корпусу та плити.
Для змащування поверхонь задньої бабки, що труться, передбачені пресмасленки -9; для змащення центру передбачена голкова пробка - 11, яка міститься в отворі, наповненому маслом.
Верстат встановлюється на дерев'яному столі та кріпиться до нього шістьма болтами 3 (рис. 2). У лівій тумбі столу розміщується привід верстата та електроустаткування.
У середній частині столу змонтовано кнопкову станцію та пакетний перемикач, а також вміщено ящик.
У правій тумбі столу є полиці для зберігання інструменту та змінних шестерень.
На дверцятах лівої тумби столу і зверху на столі біля дверцят механізму подач з метою безпеки встановлені кінцеві вимикачі, які при відкриванні дверцят автоматично вимикають електродвигун.
Тумби столу та середня скринька забезпечені врізними замками.
Надійність роботи верстата значною мірою залежить від своєчасної змазки всіх деталей, що труться.
Змащення верстата слід проводити згідно з таблицею 3 і рис. 10.
Примітка: Кулькопідшипники, змонтовані в приводі верстата, слід 1 раз на рік прочищати і наповнювати свіжим солідолом „Т” або технічним вазеліном.
Електроустаткування призначене для включення верстата, реверсу електродвигуна, захисту від коротких замикань та зниження напруги в мережі, а також для блокування.

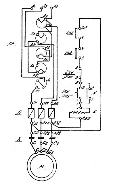
Електрична схема токарно-гвинторізного верстата ТВ16
Електроустаткування верстата ТВ-16 складається з наступних апаратів (див. принципову електричну схему стор. 12 – 13); реверсивного пакетного перемикача „пп" призначеного для включення верстата в мережу, а також для реверсу електродвигуна; запобіжників „п" службовців для захисту верстата від коротких замикань; магнітного пускача „к” призначеного для пуску та зупинки верстата, за допомогою кнопки „пуск” (1КУ) та кнопки „стоп” (2КУ).
Крім того, магнітний пускач „к” здійснює нульовий захист.
Блокконтакти „1KB” та „2KB”, що вимикають станок при відкритті дверцята столу або дверцят механізму подач. Повторний пуск верстата можна здійснити лише при закритих дверцятах. Напруга від мережі підводиться до клемної колонки до клем з написами Л1; Л2; Л3.
Для безпеки роботи станок має бути заземлений, для чого на бічній стінці столу передбачена колодка для підведення заземлюючого дроту. Вона має бути з'єднана із заземлюючими ггвинтами обох панелей і зі станком.
Електроустаткування призначене для включення та відключення верстата, реверсу електродвигуна, захисту від коротких замикань та від зниження напруги в мережі, а також для блокування.
Електроустаткування верстата складається з наступних апаратів (див. монтажну електросхему):
Перед початком роботи станок необхідно підключити до електричної мережі за допомогою пакетного перемикача „ПП". Пуск електродвигуна здійснюється натисканням кнопки „Пуск", яка замикає ланцюг живлення магнітної котушки пускачі Котушка під впливом струму, що проходить по ній, притягує сердечник якоря і замикає механічно пов'язані з ним.
Зупинка електродвигуна здійснюється натисканням кнопки „СТОП” яка розмикає ланцюг котушки та розмикає всі контакти пускача.
Нульовий захист електродвигуна здійснюється котушкою контактора, яка при зниженні напруги до 50-60% відключає електродвигун від мережі.
Для безпеки роботи станок має бути заземлений. Для цієї мети на бічній стінці верстата передбачена колодка для підведення заземлювального дроту, яка повинна бути з'єднана із ггвинтами заземлюючих панелей і зі станком.
Відеообзор верстата ТВ-16
| Найменування параметру | МН-80а | ТС-1 | ТВ-16 | S1-85 |
|---|---|---|---|---|
| Основні параметри верстата | ||||
| Класс точності | Н | Н | ТУ ТВ-16-0001 | |
| Найбільший діаметр заготовки над станиною, мм | 160 | 155 | 160 | 150 |
| Найбільший діаметр заготовки над супортом, мм | 90 | 80 | 90 | 100 |
| Висота центрів, мм | 80 | 82 | 85 | 85 |
| Найбільша довжина заготовки у центрах (РМЦ), мм | 300 | 260 | 250 | 250 |
| Найбільша висота тримача різця (ш х в), мм | 10 х 10 | 10 х 10 | 12 х 15 | 10 х 10 |
| Висота від опорної поверхні різця до лінії центрів, мм | 10 | |||
| Найбільша відстань від осі центрів до кромки різцетримача, мм | 90 | |||
| Ширина станини, мм | 120 | |||
| Шпиндель | ||||
| Різьбовий кінець шпинделя, мм | М39 х 4 | М39 х 4 | М39 х 4 | |
| Діаметр стандартного 3-х кулачкового патрона, мм | 100 | 100 | 100 | 85 |
| Діаметр стандартного 4-х кулачкового патрона, мм | 150 | |||
| Діаметр наскрізного отвору в шпинделі, мм | 18 | 18 | 18 | |
| Діаметр і довжина переднього підшипника ковзання у шпинделі, мм | 38 х 50 | 38 х 50 | ||
| Центрувальний діаметр переднього кінця шпинделя, мм | 40 х 5 | 40f4 | ||
| Найбільший діаметр прутка, мм | 17 | 17 | 17 | |
| Конус отвору шпинделя | 1:20 | Морзе №3 | Морзе №3 | |
| Число ступенів частот прямого обертання шпинделя | 9 | 6 | 6 | 6 |
| Частота обертання шпинделя, об/хв | 150..2000 | 160..1600 | 160..1600 | 240..1710 |
| Гальмування шпинделя | ні | ні | ні | |
| Блокування рукояток | ні | ні | ні | |
| Супорт. Подання | ||||
| Найбільше поздовжнє переміщення супорта, мм | 300 | 260 | 260 | |
| Переміщення супорта поздовжнє на один поділ лімба, мм | 0,5 | |||
| Ходовий гвинт (діаметр x крок) | 16 х 3 | 16 х 3 | 16 х 3 | |
| Найбільше поперечне переміщення супорта, мм | 100 | 100 | 100 | |
| Переміщення супорта поперечне на один поділ лімба, мм | 0,05 | |||
| Число ступенів поздовжніх подач супорта | 18 | 20 | ||
| Межі поздовжніх робочих подач супорту, мм/про | 0,01..0,15 | 0,01..0,15 | 0,01..0,15 | 0,01..0,15 |
| Межі робочих поперечних подач супорта, мм/про | ні | ні | ні | |
| Кількість нарізних різьблень метричних | 19 | 20 | 18 | |
| Межі кроків різьб метричних, що нарізаються, мм | 0,2..3 | 0,2..3 | 0,2..3 | 0,2..3 |
| Межі кроків різьблення дюймових | ні | ні | ні | |
| Різьбопокажчик | ні | ні | ні | |
| Запобігання перевантаженням | є | є | є | |
| Блокування | є | є | є | |
| Прискорене переміщення супорту | ні | ні | ні | |
| Вимикаючі упори | ні | ні | ні | |
| Різцеві санки (верхній супорт) | ||||
| Найбільше переміщення різцевих санчат, мм | 100 | 100 | 100 | |
| Крок різьблення ходового ггвинта різцевих санчат, мм | 1,5 | 1,5 | ||
| Діаметр різьблення ходового ггвинта різцевих санчат, мм | М10 ліва | |||
| Переміщення різцевих санок на один поділ лімба, мм | 0,05 | 0,05 | 0,05 | |
| Переміщення різцевих санчат на один оборот лімба, мм | 1,5 | 1,5 | 1,5 | |
| Кут повороту різцевих санчат, град | ±60° | |||
| Задня бабка | ||||
| Диаметр пиноли задньої бабки | 20 | 20 | 20 | |
| Конус отверстия пиноли задньої бабки | Морзе №1 | Морзе №1 | Морзе №1 | Морзе №1 |
| Найбільше переміщення пінолі, мм | 80 | 70 | 65 | 80 |
| Ціна поділу лінійки переміщення пінолі, мм | 1 | |||
| Ціна поділу лімба переміщення пінолі, мм | 0,05 | 0,05 | 0,05 | |
| Поперечне переміщення задньої бабки, мм | ±5 | |||
| Електроустаткування | ||||
| Напруга мережі живлення, В | ~380 В/ ~220 В | ~380 В/ ~220 В | ~380 В/ ~220 В | ~380 В/ ~220 В |
| Електродвигун головного приводу, кВт | 0,37 | 0,25 | 0,4 | 0,6 |
| Габарити та маса верстата | ||||
| Габарити верстата (довжина ширина висота), мм | 1170 х 610 х 1310 | 1160 х 540 х 1200 | 1150 х 600 х 1200 | 600 х 100 х 1020 |
| Маса верстата, кг | 135 | 135 | 180 | 170 |