Виробник настільно-свердлильного верстата моделі СНС-12 - Алапаєвський верстатобудівний завод, АСЗ та Чебоксарський інструментальний завод .
Верстат призначений для свердління отворів у дрібних деталях із чавуну, сталі, кольорових сплавів та неметалічних матеріалів в умовах промислових підприємств, ремонтних та побутових майстерень.
Верстати СНР-12 дозволяють виконувати наступні операції:
Відлік глибини свердління провадиться за плоскою шкалою або упором.
П'ятиступінчасті шківи приводу дозволяють отримувати п'ять швидкостей обертання шпинделя, що забезпечує вільний вибір швидкостей різання.
Оригінальна конструкція натягу ремінної передачі дозволяє швидко змінювати положення ременя на шківах для отримання потрібної швидкості різання.
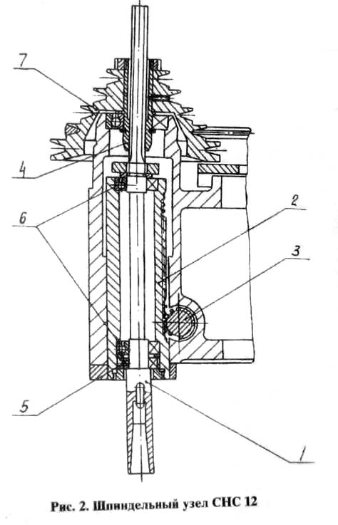
Шпиндельний вузол свердлувального верстата СНС-12 - найскладніший і найточніший вузол у верстаті. Шпиндельний вузол монтується у шиндельній бабці. Основні деталі шпиндельного вузла:
Верхня частинина шпинделя має шліци, щоб одержати обертання від приймального шківа, нижня частинина має конус Морзе для кріплення свердлильного патрона.
Шпиндель верстата СНС-12 отримує п'ять швидкостей обертання від п'ятиступінчастиних шківів приводу, що забезпечує вільний вибір швидкостей різання 450, 800, 1410, 2490, 4430 об/хв.
Піноль, всередині якої обертається шпиндель, має хід 100 мм і врівноважена спіральною пружиною, яка повертає піноль у верхнє положення. Піноль піднімається та опускається за допомогою зубчастої рейки та шестерні. Найбільше зусилля різання, яке допускається механізмом - 70 кг.
Кінець шпинделя свердлувального верстата СНС-12 – внутрішній конус Морзе №1, D = 12,065 мм за ГОСТ 25557 (Конуси інструментальні). Щоб встановити на верстат стандартний патрон з укороченим конусом, необхідно встановити оправку за ГОСТ 2682 (Оправки з конусом Морзе для свердлильних патронів).
На верстат СНР-12 можна встановити одну з 4-х оправок за ГОСТ 2682:
Так, використовуючи одну з 4-х оправок, на верстат СНР-12 можна встановити свердлильний патрон одного з 6 типорозмірів за ГОСТ 8522 (Патрони свердлильні трикулачкові).
Приклад умовного позначення свердлильного 3-х кулачкового патрона, типорозміру 16, з конусним приєднувальним отвором В18:
Патрон 16-Б18 ГОСТ 8522-79
Конус інструментальний - Конус Морзе - одне з найбільш застосовуваних кріплень інструменту. Був запропонований Стівеном А. Морзе приблизно 1864 року.
Конус Морзе підрозділяється на вісім розмірів - від КМ0 до КМ7 (англійською: MT0-MT7, німецькою: MK0-MK7).
Стандарти на конус Морзе: ГОСТ 25557 (Конуси інструментальні. Основні розміри), ISO 296, DIN 228. Конуси, виготовлені за дюймовими та метричними стандартами, взаємозамінні у всьому, крім різьблення хвостовика.
Для багатьох застосувань довжина конуса Морзе виявилася надмірною . Тому було введено стандарт на дев'ять типорозмірів укорочених конусів Морзе (B7, B10, B12, B16, B18, B22, B24, B32, B45), ці розміри отримані видаленням більш товстої частинини конуса. Цифра позначення короткого конуса — діаметр товстої частинини конуса в мм.
Російський стандарт на укорочені конуси ГОСТ 9953 Конуси інструментів укорочені .
Російський стандарт на свердлильні патрони ГОСТ 8522 Патрони свердлильні трикулачні .
Де D – діаметр конуса в основній площині.

Фото свердлувального верстата СНС-12

Фото свердлувального верстата СНС-12

Фото свердлувального верстата СНС-12

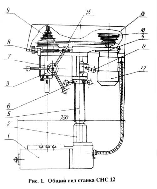
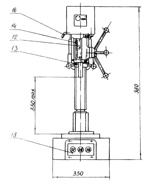
Розташування складових частинин свердлувального верстата СНС-12

Розташування складових частинин свердлувального верстата СНС-12

Схема розташування підшипників свердлувального верстата СНС-12
Основу шпиндельної бабки складає чавунний корпус.
В корпусе смонтированы шпиндельный узел і механізм натяжения ремня. Сзади к бабке прикреплен електродвигатель. Шпиндельная бабка може перемещаться по винт-стойке і фиксироваться в нужном положении. Для переміщення шпиндельной бабки по винт-стойке 5 (Рис. 1.1а) надо освободить рукоятку зажимного пристроя 11.
Поворотом гайки 6 влево или вправо можно поднять шпиндельную бабку 3.

Шпиндель сверлильного верстата СНС-12
Шпиндельный узел (Рис. 2, 2а) смонтирован в корпусе, а шпиндель 1 - в пиноль-рейке 2 на шарикопідшипниках 5 і 6. Шпиндель получает вращение от втулки 4 і шкива 7 через шлицевое соединение. Подача шпинделя - ручная, осуществляется вращением штурвала при помощи вал-шестерни 3 в пиноли-рейки 2.
В станке СНС-12-01 фиксирование соответствующего положения шпинделя производятся поворотом рукоятки зажиму пиноли поз. 23 (Рис. 1а) через сухарики поз. 8 (Рис. 2а).
Стол представляет собой отливку, имеющую корито для сбора і відведення стружки. Внутри стола располагается електрообладнання верстата. Блок керування располагается на передньої і задньої стенках стола. На рабочей плоскости стола имеются Т-образные пазы, которые служат для крепления различных пристосувань, а также фрезерного стала к верстату СНС-12-01.
К верхнему платику стола в кронштейне 2 (Рис. 1. 1а) крепится винт-стойка, для исп. 2 Верстата СНС-12, см. приложение 1. крепятся рейка-стойка, по которой перемещается шпиндельна бабка. Винт-стойка з кронштейном соединены неподвижно.
Стол представляет собой сборочную единицу, состоящую из деталей, перемещающихся во взаимоперпендикулярных направления і соединенных в направляючих типа "ласточкин хвост".
| Наименование параметра | НС-12 | СНС-12 | СНС-12-01 |
|---|---|---|---|
| Основні параметри верстата | |||
| Наибольший диаметр сверления, мм | 12 | 12 | 12 |
| Наибольший диаметр фрезерування, мм | - | - | 12 |
| Наибольшее расстояние от торца шпинделя до стола | 20..420 | 350 | 350 |
| Расстояние от оси вертикального шпинделя до направляючих стойки (вылет), мм | 185 | ||
| Рабочий стол | |||
| Ширина рабочей поверхности стола, мм | 360 х 360 | 250 | 250 |
| Число Т-образных пазов Розміри Т-образных пазов | 3 | 3 | 3 |
| Наибольшее перемещение стола, продольное х поперечное, мм | - | - | 250 х 190 |
| Шпиндель | |||
| Наибольшее перемещение шпиндельной головки, мм | 300 | ||
| Ход гильзы шпинделя, мм | 100 | 100 | 100 |
| Частота обертання шпинделя, об/мин | 450, 710, 1400, 2500, 4500 | 400..4500 (5) | 400..4500 (5) |
| Количество швидкостей шпинделя | 5 | 5 | 5 |
| Конус шпинделя | Морзе 2 | Морзе 1 | В18 |
| Привод | |||
| Електродвигун приводу головного руху, кВт (об/мин) | 0,65 | 0,55 (1370) | 0,55 (1370) |
| Габарит і масса верстата | |||
| Габарити верстата (длина ширина высота), мм | 770 х 465 х 700 | 750 х 350 х 980 | 750 х 350 х 980 |
| Масса верстата, кг | 121 | 120 | 155 |