Виробником настільного свердлувального верстата С-155 є Кіроваканський завод прецизійних верстатів м. Кіровокан (сьогодні м. Ванадзор), Вірменія.
На даний час випуск верстатів припинено.
Верстат свердлильний настільний С-155 та СА-155 підвищеної точності запущено у виробництво у 1961 році за СТУ-107-08-02-61.
Свердлильний верстат С-155 має кінець шпинделя, виконаний під цангу, модель СА-155 має кінець шпинделя, виконаний під патрон свердлильний Ø 6.
Верстат настільно-свердлильний моделі С-155 призначений для свердління отворів діаметром до 3 мм у дрібних деталях деталях з чавуну, сталі, кольорових сплавів та неметалічних матеріалів в умовах промислових підприємств, ремонтних майстерень та побутових майстерень.
Верстати С-155 дозволяють виконувати такі операції:
Верстат С-155 та СА-155 складається з двох вузлів: свердлильної головки з електродвигуном (вузол 01) та основи (вузол 02).
Фланцевий електродвигун, встановлений на корпусі головки верстата, за допомогою змінних шківів передає обертання шпинделя від натягу ременя.
Натяг ременя здійснюється перестановкою фланця з електродвигуном.
Шпиндель верстата обертається у шарикопідшипниках.
Глибина свердління встановлюється мікрометричним гвинтом, що слугує упором пінолі шпинделя.
Підйом головки на колонці здійснюється за допомогою ручного ггвинта.
Цанги за нормаллю НДІ часпрому № 4 НМП5-105-56.
Стіл верстата прямокутної форми з Т-подібним пазом.

Основні дані свердлильного верстата С-155

Фото свердлильного верстата С-155

Фото свердлильного верстата С-155

Фото свердлильного верстата С-155

Фото свердлильного верстата С-155

Фото свердлильного верстата С-155

Фото свердлильного верстата С-155

Розташування органів керування свердлильним верстатом С-155

Кінематична схема свердлильного верстата С-155

Гільза шпинделя (піноль) свердлильного верстата С-155
Гільза шпинделя (піноль) свердлильного верстата С-155. Дивитись у збільшеному масштабі

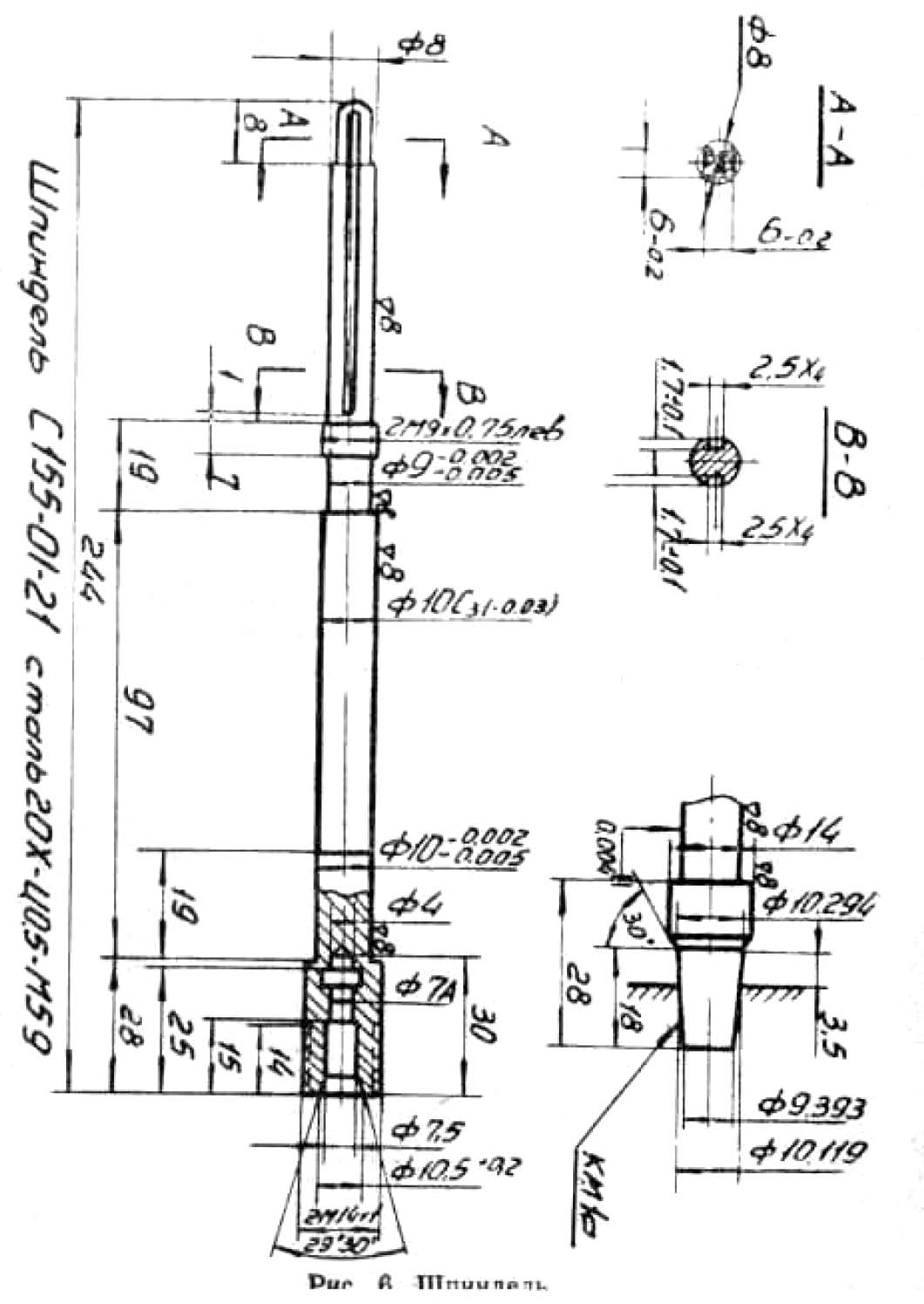
Креслення шпинделя свердлильного верстата С-155
С-155 Креслення шпинделя свердлильного верстата. Дивитись у збільшеному масштабі
Верстат встановлюється на столі. Перед затягуванням болтами верстат необхідно точно вивірити, для чого на стіл вздовж і впоперек ставиться рівень. Після вивіряння болти необхідно щільно затягнути, спостерігаючи за рівнем.
| Найменування параметру | С-155 | 2g103p | С-106 |
|---|---|---|---|
| Основні параметри верстата | |||
| Найбільший умовний діаметр свердління, мм | 3 | 3 | 3 |
| Найменша та найбільша відстань від торця шпинделя до столу | 30..120 | 45..160 | 85 |
| Відстань від осі вертикального шпинделя до направляючих стійки (виліт), мм | 100 | 110 | 140 |
| Робочий стіл | |||
| Розміри робочої поверхні столу, мм | 125 х 170 | 140 х 140 | 150 х 150 |
| Число Т-подібних пазів Розміри Т-подібних пазів | 1 | 1 | 2 |
| Шпиндель | |||
| Найбільше переміщення шпиндельної головки по колоні, мм | |||
| Хід гільзи шпинделя, мм | 40 | 40 | 40 |
| Частота обертання шпинделя, об/хв (Кількість швидкостей шпинделя) | 1900..12000 (9) | 2500..16000 (5) | 2800..16800 (6) |
| Конус шпинделя | 29° під кангою | B10 | |
| Привід | |||
| Електродвигун приводу, кВт (об/хв) | 0,18 (2860) | 0,18 (2800) | 0,18 (2800) |
| Габарит та маса верстата | |||
| Габарити верстата (довжина ширина висота), мм | 475 х 200 х 530 | 450 х 225 х 480 | 490 х 230 х 370 |
| Маса верстата, кг | 35 | 50 | 32 |