Токарно-гвинторізний верстат 1603 р. випускався підприємством Кіроваканський завод прецизійних верстатів м. Кіровокан (сьогодні м. Ванадзор), Вірменія.
Токарно-гвинторізні верстати підвищеної точності моделей 1603 призначені для виконання різних токарних робіт у центрах, у цангу, у патроні, для нарізування метричних, модульних та дюймових різьблень.
Токарно-гвинторізний верстат 1603 є універсальним токарно-гвинторізним верстатом і призначається для всіляких токарних робіт.
Виробник – Кіроваканський завод прецизійних верстатів м. Кіровокан (сьогодні м. Ванадзор), Вірменія.

Габаритні розміри робочого простору верстата 1603

Фото токарно-гвинторізного верстата 1603

Фото токарно-гвинторізного верстата 1603

Фото токарно-гвинторізного верстата 1603

Розташування складових частинин токарного верстата 1603

Розташування органів керування токарним верстатом 1603

Кінематична схема токарного верстата 1603
Схема кінематична токарно-гвинторізного верстата 1603. Дивитись у збільшеному масштабі
Схема розташування підшипників токарного верстата 1603. Дивитись у збільшеному масштабі
Тумба лита, чавунна, монолітна конструкція. На поперечній стінці лівої частинини тумби за допомогою шпильок кріпиться варіатор. На корпусі варіатора встановлюється натяжний пристрій ремінної передачі.
На передній стінці лівої частинини тумби розміщено маховик керування числами оборотів варіатора.
Справа на стінці тумби розміщена рукоятка для пуску, реверсу та гальмування шпинделя.
У правій частинині тумби розташована панель електроапаратури. На правому торці тумби розміщено пульт керування, штепсель приводу пристроїв, а також нішу з полицями для інструменту. До передньої стінки лівої частинини тумби зсередини кріпиться мастильний агрегат.
Станина встановлюється та кріпиться на тумбі верстата. Напрямні станини виконані у вигляді однієї призми та площини для супорта та однієї призми та площини для задньої бабки.
Ліворуч на станині встановлена передня бабка, зліва спереду до обробленої площини станини кріпиться коробка подач.
Справа спереду кріпиться кронштейн для опор ходового ггвинта, ходового валика та тяги вимикання муфти фартуха.
Під передньою призмою станини укріплена рейка поздовжнього переміщення супорта.

Розгортка передньої бабки токарного верстата 1603
Развертка передньої бабки токарно-гвинторізного верстата 1603. Дивитись у збільшеному масштабі
На рис. 7 представлена розгортка передньої бабки та гітари.
Передня бабка встановлюється та закріплюється зліва зверху на верстаті. Обертання шпинделя 2 передається від шківа 7 безпосередньо через муфту 6 з внутрішніми зубами, або через перебір. Перебір та муфта керуються однією рукояткою. У передній опорі шпинделя встановлені два радіально-упорні шарикопідшипники, що сприймають радіальні та осьові навантаження. Регулювання зазору здійснюється кільцями 3 і 4. Фіксація шпинделя здійснюється гайкою 5. У задній опорі шпинделя встановлений радіальний шарикопідшипник. Приймальний шків 7 розвантажений і розташований між опорами шпинделя. Привід подачі здійснюється від шестерні I, що сидить на кінці шпинделя.
Опори шпинделя змащуються і охолоджуються маслом, що надходить від мастильного агрегату. Для контролю надходження мастила на передній стінці бабки встановлено маслопокажчик.
Механізм передньої бабки змащується розбризкуванням.
Гітара передає обертання від передньої бабки до коробки подач. Вона складається з алюмінієвого корпусу 8, прикріпленого до передньої бабці, 10 кронштейна, кришки II і змінних шестерень.
Кронштейн гітари повертається на фланці коробки подач і закріплюється в потрібному положенні гвинтом 12. У пазу кронштейна закріплюється вісь 9 змінних шестерень.
Мастило гітари здійснюється від мастильного агрегату.

Креслення коробки подач токарного верстата 1603
Креслення коробки подач токарно-гвинторізного верстата 1603. Дивитись у збільшеному масштабі
Коробка подач забезпечує регулювання величин поздовжніх подач в межах 0,01-0,3 мм/про два налаштування гітари. При першому налаштуванні можливе отримання восьми подач від 0,01 до 0,10, другий від 0,025 до 0,3 мм/об. При другому налаштуванні, при необхідності, можливе отримання шести кроків метричних різьб, що найбільш вживаються (0,25; 0,5; 0,75; 1,0; 1,5; 2,0).
Для нарізування точних різьблень є можливість прямого з'єднання ходового ггвинта за допомогою кулачкової шестерні I (рис. 8). Керування коробкою подач здійснюється ручками, розташованими на передній стінці коробки.
Реверсивний механізм для отримання лівого різьблення у вигляді циліндричного трензеля 2 поміщений у коробці подач. Керування здійснюється кнопкою, розташованою правому торці коробки.
Підшипники та механізм коробки змащуються маслом, що зливається з передньої бабки.

Креслення суппорта токарного верстата 1603
Креслення суппорта токарно-гвинторізного верстата 1603. Дивитись у збільшеному масштабі
Поздовжні санки супорта 10 (рис. 9) переміщуються призматичною і плоскою напрямною станини. Зверху по направляючих поздовжніх санчат переміщаються за допомогою ггвинта 6 поперечні санки 2, ззаду зверху на поперечних санках виконані Т-подібні пази для установки заднього тримача. Зверху на поперечних санках встановлені поворотні санки 3 з верхньою кареткою 8. Резцетримач 4 встановлений на верхній каретці, яка переміщається гвинтом 9.
Мастило направляючих супорта здійснюється за допомогою плунжерного насоса.

Креслення фартуха токарного верстата 1603
Креслення фартука токарно-гвинторізного верстата 1603. Дивитись у збільшеному масштабі
Фартух повідомляє супорту поздовжнє переміщення. При нарізанні різьблення рух передається ходовим гвинтом і матковою гайкою 4 (рис. 10), а при проточці - рейковою передачею 6. Обертання рейкової шестерні від ходового ггвинта передається перевантажувальним механізмом 10 і проміжними шестернями.

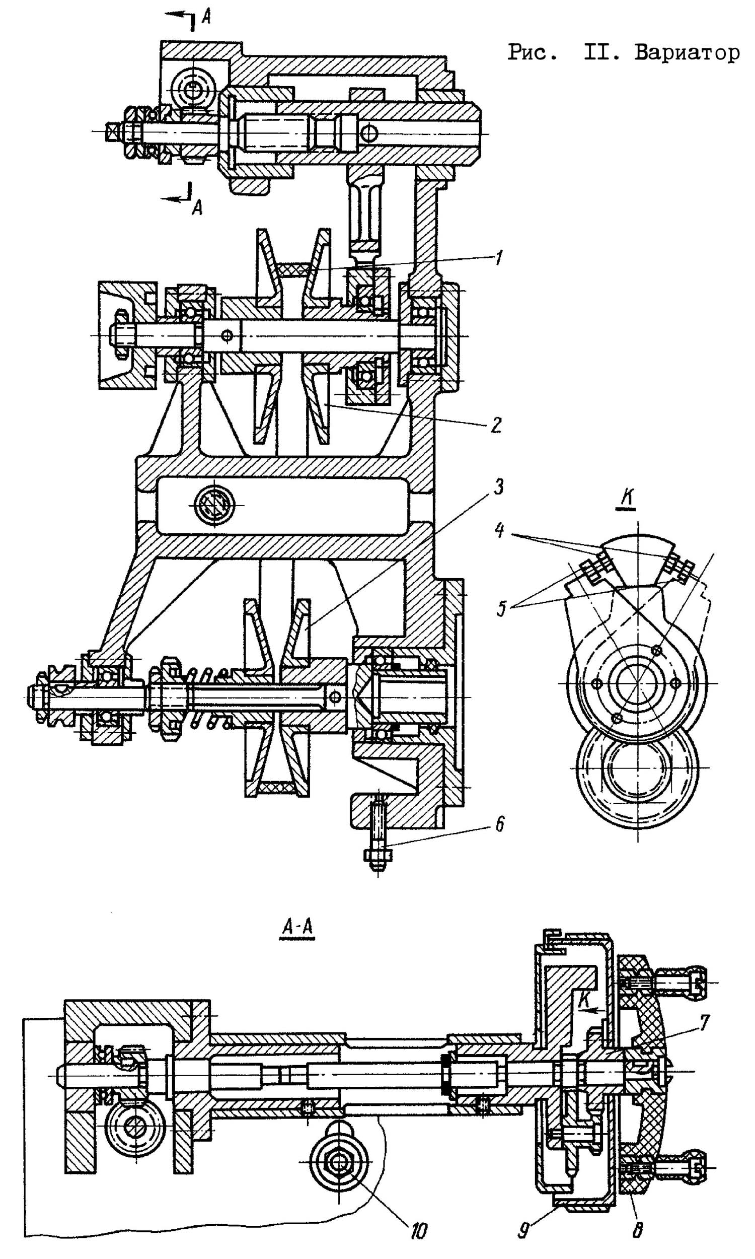
Креслення варіатора токарного верстата 1603
Креслення варіатора токарно-гвинторізного верстата 1603. Дивитись у збільшеному масштабі
Привід обертання шпинделя виконаний у вигляді безступінчастого варіатора з широким ременем клином 1 (рис. II). Верхній шків 2 - керований, нижній 3 - пружний. Натяг ременя здійснюється натяжним роликом. Зміна чисел оборотів шпинделя здійснюється поворотом маховика 8 з лімбом 9. Регулювання крайніх положень дисків здійснюється ггвинтами 5 які контряться гайками 4.
Корпус варіатора кріпиться до лівої поперечної стінки тумби. До корпусу варіатора прикріплено електродвигун.
Задня бабка встановлюється на плоску та призматичну направляючі станини та притискається до них за допомогою ексцентрикового затиску.
Корпус задньої бабки для обточування конусів може переміщатися в поперечному напрямку (+6 мм) нижньою плитою двома ггвинтами. Піноль задньої бабки переміщається від маховика за допомогою гвинтової пари і може фіксуватися в потрібному положенні рукояткою.
Для мастила бабки встановлені кулькові маслянки.

Креслення шпинделя токарного верстата 1603
Креслення шпинделя токарно-гвинторізного верстата 1603. Дивитись у збільшеному масштабі

Електрична схема токарного верстата 1603
Опис роботи електросхеми
Натисканням на кнопку автоматичного вимикача подається напруга, при цьому загоряється сигнальна лампочка ЛЗ. Натисканням педалі барабанного перемикача ПР вниз або вгору включається магнітний пускач, і здійснюється пуск електродвигуна головного приводу ДГ відповідно вперед або назад. Поверненням педалі в середнє положення магнітний пускач відключається і відбувається зупинка електродвигуна.
Електродвигун пристрою ДП включається поворотом пакетного вимикача ВП на панелі електрообладнання.
Електроустаткування верстата включає:
| Найменування параметру | 1603 рік | 1E604 | 16U03P | 16U04P |
|---|---|---|---|---|
| Основні параметри верстату | ||||
| Клас точності | П | П | П | П |
| Найбільший діаметр заготовки над станиною, мм | 160 | 200 | 160 | 200 |
| Найбільший діаметр заготовки над супортом, мм | 80 | 100 | 90 | 118 |
| Висота центрів, мм | 85 | 100 | 86 | 108 |
| Найбільші заготовки в центрах (РМЦ), мм | 250 | 350 | 250 | 350 |
| Найбільша висота тримача різця, мм | ||||
| Висота від опорної поверхні різця до лінії центрів, мм | 10 | 12 | 10 | 12 |
| Найбільша відстань від осі центрів до кромки різцетримача, мм | 90 | 110 | ||
| Найбільші розміри перерізу державки різця, мм | 10 х 10 | 12 х 12 | ||
| Шпиндель | ||||
| Діаметр наскрізного отвору в шпинделі, мм | 20 | 20 | 20,2 | 20,2 |
| Найбільший діаметр прутка в патроні, мм | 18 | 18 | 20 | 20 |
| Найбільший діаметр прутка в цангу, мм | 12 | 12 | 10 | 10 |
| Конус отвори у шпинделі | Морзе 3 | Морзе 3 | Морзе 3 | Морзе 3 |
| Число ступенів частот прямого обертання шпинделя | Б/ст | Б/ст | Б/ст | Б/ст |
| Частота прямого обертання шпинделя, об/хв | 56..3150 | 56..3150 | 80..4000 | 70..3500 |
| Число ступенів частот зворотного обертання шпинделя | Б/ст | Б/ст | Б/ст | Б/ст |
| Частота зворотного обертання шпинделя, об/хв | 56..3150 | 56..3150 | 80..4000 | 70..3500 |
| Гальмування шпинделя | ні | ні | ні | ні |
| Блокування рукояток | ні | ні | ні | ні |
| Супорт. Подання | ||||
| Найбільше поздовжнє переміщення супорта, мм | 250 | 250 | 232 | 350 |
| Переміщення супорта поздовжнє на один поділ лімба, мм | 0,1 | 0,1 | 0,5 | 0,5 |
| Переміщення супорта поздовжнє на один оберт лімба, мм | 20 | 20 | 100 | 100 |
| Найбільше поперечне переміщення супорта, мм | 95 | 115 | 110 | 135 |
| Переміщення супорта поперечне на один поділ лімба, мм | 0,02 | 0,02 | 0,025 | 0,025 |
| Переміщення супорта поперечне на один оберт лімба, мм | 2 | 2 | 2 | 2 |
| Найбільше переміщення різцевих санчат, мм | 60 | 60 | 100 | 120 |
| Переміщення різцевих санок на один поділ лімба, мм | 0,02 | 0,02 | 0,02 | 0,02 |
| Переміщення різцевих санчат на один оборот лімба, мм | 2 | 2 | 2 | 2 |
| Кут повороту різцевих санчат, град | ±90° | ±90° | ±45° | ±45° |
| Число ступенів поздовжніх подач супорта при постійному налаштуванні гітари | 8 | 8 | 4 | 4 |
| Межі поздовжніх робочих подач супорту, мм/про | 0,01..0,3 | 0,01..0,3 | 0,04..0,32 | 0,04..0,32 |
| Межі робочих поперечних подач супорта, мм/про | ні | ні | ні | ні |
| Діаметр ходового валу, мм | 18 | 18 | ||
| Діаметр та крок ходового ггвинта, мм | 26 х 5 | 26 х 5 | ||
| Кількість нарізаних різьблень метричних | 18 | 18 | ||
| Межі кроків різьб метричних, що нарізаються, мм | 0,2..3,0 | 0,2..3,0 | 0,25..3 | 0,25..3 |
| Межі кроків різьблення дюймових | 40..8 | 40..8 | 80..10 | 80..10 |
| Межі кроків різьблення нарізаних модульних | 0,3..1,0 | 0,3..1,0 | 0,1..1,25 | 0,1..1,25 |
| Межі кроків різьблення питних | ні | ні | ні | ні |
| Задня бабка | ||||
| Діаметр пінолі, мм | 35 | 35 | ||
| Конус отвору пінолі задньої бабки | Морзе 2 | Морзе 2 | Морзе 2 | Морзе 2 |
| Найбільше переміщення пінолі, мм | 55 | 55 | 35 | 70 |
| Переміщення пінолі на один поділ лінійки, мм | 1 | 1 | 1 | 1 |
| Переміщення пінолі на один поділ лімба, мм | 0,04 | 0,04 | ||
| Поперечне зміщення задньої бабки, мм | ±6 | ±6 | ||
| Електроустаткування | ||||
| Електродвигун головного приводу, кВт (об/хв) | 1,1 (1400) | 1,1 (1400) | 0,6 (1370) | 0,8 (1370) |
| Електродвигун насоса СОЖ, кВт | 0,125 | 0,125 | ||
| Габарити та маса верстату | ||||
| Габарити верстата (довжина ширина висота), мм | 1080 х 560 х 1170 | 1180 х 590 х 1185 | 1270 х 725 х 1250 | 1380 х 730 х 1250 |
| Маса верстата, кг | 500 | 525 | 670 | 750 |