Токарний верстат 16Т04А випускався в СРСР підприємством Кіроваканський завод прецизійних верстатів м. Кіровокан (сьогодні м. Ванадзор), Вірменія.
Токарно-гвинторізні верстати особливо високої точності 16Т04А призначені для виконання різних токарних робіт у центрах, патроні, цангу і на планшайбі. На верстатах можливе виконання інших видів обробки, таких як шліфування, фрезерування, розточування та ін. при застосуванні спеціальних пристроїв.
Можливе також виконання робіт при встановленні виробу на супорті, а ріжучого інструменту в верстаті шпинделя.
Область застосування токарних верстатів 16Т04А - підприємства годинної, інструментальної та радіотехнічної промисловості.
Малогабаритний токарний верстат 16Т04а сконструйований на базі верстата моделі 16т04п , він також не має механічних подач і можливості нарізування різьблення.

Габаритні розміри робочого простору верстата 16т04а

Фото токарного верстата 16т04а
Схема кінематична токарного верстата 16Т04А. Дивитись у збільшеному масштабі

Фото токарного верстата 16т04а

Фото токарного верстата 16т04а

Розташування органів керування токарним верстатом 16т04а

Кінематична схема токарного верстата 16т04а
Схема кінематична токарного верстата 16Т04А. Дивитись у збільшеному масштабі
Станіна являє собою жорстку чавунну виливок, на якій встановлена широка призма 1 для передньої та задньої бабок, У призмі є паз 2 для сухарів затискача передньої та задньої бабок.
У місці встановлення передньої бабки станина розширено. Для проходу ременів у верхній частинині є вікно.
Станина встановлюється та кріпиться на тумбі верстата.
У тумбі розміщені окремі вузли верстата. Ліворуч у тумбі на нижній рамі кріпиться варіатор.
У правій секції тумби розташована шафа електроустаткування, між ним та варіатором – бак охолодження з електронасосом.
У верхній частинині тумби встановлений лоток для збору стружки та рідини, що охолоджує при роботі з охолодженням. Охолодна рідина через фільтр лотка зливається в бак охолодження.
У передній частинині тумби зроблено отвір для розміщення ніг робітника.
Спереду зверху на тумбі розташований пульт керування верстатом, поруч із яким знаходиться висувна скринька для зберігання приладдя.
Прорізи тумби закриті швидкознімними кришками із пружинними засувками.
Тумба кріпиться до фундаменту п'ятьма болтами.

Варіатор токарного верстата 16т04а
Варіатор токарного верстата 16Т04А. Дивитись у збільшеному масштабі
Узел состоит из варіатора з широким клиновым ремнем і двухступенчатой коробки швидкостей. Первый вал варіатора 1 приводится во вращение фланцевым електродвигуном 9. На первом валу варіатора расположен подпружиненный шкив 2. На втором валу 4 находится управляемый шкив 5. Второй вал варіатора одновременно является ведущим валом коробки швидкостей, на нем расположены две шестерни. Малая шестерня 7 перемещается вдоль вала і переключает скорости коробки швидкостей. Корпус коробки швидкостей б установлен на стакане 8, прикрепленном к корпусу варіатора 3.
При помощи резьбовой втулки і двух винтов корпус 6 поворачивается относительно корпуса варіатора для натяжения ременной передачи, соединяющей вариатор з передньої бабкой.
Механізм керування вариатором і коробкой швидкостей (рис.12) расположен сверху на корпусе варіатора.
Маховичок керування 1 переводит диск варіатора. При помощи рукоятки 2, расположенной на фланце лимба, осуществляется переключение швидкостей коробки швидкостей. Маховичок керування связан планетарной передачей со шкалой налаштування чисел оборотів шпинделя. На детали 3 нанесены две шкалы, соответствующие прямому включению шпинделя і включению шпинделя через перебор передньої бабки.
Передня бабка верстата установлена на станине (рис. 6, 7).
В корпусе передньої бабки собраны приемный шкив і шпиндель. В опорах шпинделя установлены реверсивные гідродинамические підшипники ковзання.
Приемный шкив 7 установлен на втулке 6, соосной со шпинделем 1, имеющей собственные опори в корпусе бабки. Вращение шпинделю от шкива передається еластичной диафрагмой, 8, защищенной от разрушения при пусках, реверсах шпинделя і перегрузок жесткой зубчатой муфтой з повышенными боковыми зазоруми.
Смазка підшибників шпинделя осуществляется при помощи покупной станції змазки. Вращение от варіатора передньої бабке передається двумя клиновыми ремнями 0—1400Ш ГОСТ 1284—68.

Шпиндельная бабка токарного верстата 16т04а
Шпиндельная бабка токарного верстата 16Т04А. Дивитись у збільшеному масштабі

Шпиндельная бабка токарного верстата 16т04а
Шпиндельная бабка токарного верстата 16Т04А. Дивитись у збільшеному масштабі

Шпиндельная бабка токарного верстата 16т04п
Шпиндельная бабка токарного верстата 16Т04п. Дивитись у збільшеному масштабі
Передня бабка устанавливается і закрепляется слева сверху на станине.
В корпусе 1 передньої бабки смонтированы шпиндель 5, перебор і механізм керування.
Приемный шкив 3 передньої бабки установлен на втулке 4, соосной шпинделю.
Вращение шпинделя передається от шкива непосредственно при включении зубчатой муфты б или через перебор з передаточным отношением 1:4.
В передньої опоре шпинделя установлен роликовый двухрядный подшипник, воспринимающий радиальные нагрузки.
Задние опори шпинделя і приводного шкива расположены в стакане 2.
В задньої опоре шпинделя установлены два радиально-упорных підшипника, воспринимающих осевые нагрузки.
С левой стороны передньої бабки на опорном бурте фланца 10 устанавливается рычажный цанговый зажим. В шпинделе имеется коническое отверстие для установки цанги.
Керування передвижными шестернями і муфтами производится рукояткой, расположенной на крышке, укрепленной на передньої стенке корпуса бабки.
Смазка в передньої опоре осуществляется разбрызгиванием, в задньої опоре - смазка фитильная.
Задня бабка устанавливается на широкой призме станины і закрепляется да нужном положении рукояткой 3.
Пиноль 1 имеет постоянное направление в корпусе і перемещается маховичком 2, на її правом кінці.
Отсчет величины переміщення пиноли производится по шкале на пиноли. Пиноль зажимается рукояткой, стягивающей клеммы.
Для змазки установлены шариковые масленки.
Продольные салазки суппорта 1 пригоняются по направляющим станины і крепятся к ней зажимами.
Сверху на направляючих продольных салазок перемещаются при помощи гвинта 2 поперечные салазки 3.
На поперечных направляючих установлены поворотные салазки 5 з верхней кареткой 4. На верхней каретке суппорта выполнены пазы для закрепления четырехпозиционного или однопозиционного резцедержателя.

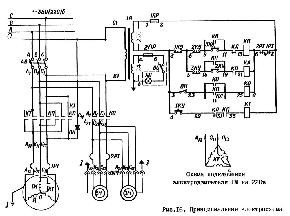
Електрична схема токарного верстата 16т04а
Електрична схема токарного верстата 16т04а. Дивитись у збільшеному масштабі
Електроустаткування верстата содержит:
Поворотом автоматичного выключателя АВ подается напряжение на рабочие ланцюги і ланцюги керування.
При нажатая на кнопку 2КУ включается вращение електродвигуна 1M вправо посредством пускателя КП.
При нажатии на кнопку 1КУ контактом 3-5, разрывается ланцюг живлення пускателя КП, а контактом 3-29 - включается ланцюг пускателя КТ, осуществляющего своими контактами индукционно-динамическое торможение двигуна. Контакт КТ (О-В11) закорачивает первую обмотку статора, контактом (С1-С12) подает пульсирующий ток во вторую обмотку через силовой диод ВК, контакт (А1-А11) подает переменный ток в третью обмотку.
При нажатии на кнопку 3КУ включается вращение двигуна 1M влево посредством пускателя КЛ.
В точках 23-25 н.о. контакты пускачів КП или КЛ подготавливают к включению пускатель КО.
Поворотом переключателя ВН включается пускатель КО. Пускатель КО своими силовыми контактами, включает електродвигатель 2М или 3М либо оба електродвигуна одновременно, в зависимости от того, подключены ли они к силовой ланцюги посредством штепсельных разъемов ШР1 или ШР2.
Электросхемой верстатів предусмотрена защита от токов короткого замыкания, осуществляемая предохранителями і автоматическим выключателем.
Захист от перегрузки, обеспечиваемая тепловыми реле;
Нулевая защита при помощи магнитного пускателя

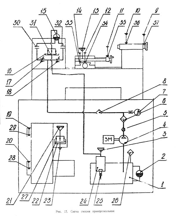
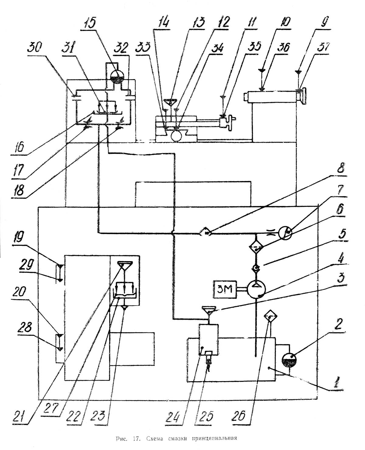
Гідросхема токарного верстата 16т04а
Гідросхема токарного верстата 16т04а. Дивитись у збільшеному масштабі
| Наименование параметра | 16Т03А | 16Т04А | 16У03П | 16У04П |
|---|---|---|---|---|
| Основні параметри верстата | ||||
| Класс точності | А | А | П | П |
| Наибольший диаметр заготовки над станиной, мм | 160 | 200 | 160 | 200 |
| Наибольший диаметр заготовки над суппортом, мм | 90 | 118 | 90 | 118 |
| Высота центров, мм | 86 | 108 | 86 | 108 |
| Наибольший размер заготовки в центрах (РМЦ), мм | 250 | 350 | 250 | 350 |
| Высота от опорной поверхности резца до линии центров, мм | 10 | 12 | 10 | 12 |
| Наибольшее расстояние от оси центров до кромки резцедержателя, мм | 90 | 110 | ||
| Наибольшие розміри сечения державки резца, мм | 10 х 10 | 12 х 12 | 10 х 10 | 12 х 12 |
| Шпиндель | ||||
| Диаметр сквозного отверстия в шпинделе, мм | 15 | 20,2 | 20,2 | 20,2 |
| Наибольший диаметр прутка в патроне, мм | 18 | 18 | 20 | 20 |
| Наибольший диаметр прутка в цанге, мм | 10 | 14 | 10 | 10 |
| Конус отверстия в шпинделе | Морзе 3 | Морзе 3 | Морзе 3 | Морзе 3 |
| Число ступеней частот прямого обертання шпинделя | Б/ступ | Б/ступ | Б/ступ | Б/ступ |
| Частота обертання шпинделя, об/мин | 80..4000 | 70..3500 | 80..4000 | 70..3500 |
| Торможение шпинделя | нет | нет | нет | нет |
| Суппорт. Подачи | ||||
| Наибольшее продольное перемещение суппорта, мм | 250 | 250 | 232 | 350 |
| Перемещение суппорта продольное на одно деление лимба, мм | 0,1 | 0,1 | 0,5 | 0,5 |
| Перемещение суппорта продольное на один оборот лимба, мм | - | - | 100 | 100 |
| Наибольшее поперечное перемещение суппорта, мм | 110 | 135 | 110 | 135 |
| Перемещение суппорта поперечное на одно деление лимба, мм | 0,025 | 0,02 | 0,025 | 0,025 |
| Перемещение суппорта поперечное на один оборот лимба, мм | 2 | 2 | 2 | 2 |
| Резцовые салазки | ||||
| Наибольшее перемещение резцовых салазок, мм | 100 | 120 | 100 | 120 |
| Перемещение резцовых салазок на одно деление лимба, мм | 0,02 | 0,02 | 0,02 | 0,02 |
| Перемещение резцовых салазок на один оборот лимба, мм | 2 | 2 | 2 | 2 |
| Угол поворота резцовых салазок, град | ±45° | ±45° | ±45° | ±45° |
| Задня бабка | ||||
| Диаметр пиноли, мм | 35 | 35 | 35 | 35 |
| Конус отверстия пиноли задньої бабки | Морзе 2 | Морзе 2 | Морзе 2 | Морзе 2 |
| Наибольшее перемещение пиноли, мм | 55 | 70 | 35 | 70 |
| Перемещение пиноли на одно деление линейки, мм | 1 | 1 | 1 | 1 |
| Електроустаткування | ||||
| Електродвигун головного привода, кВт (об/мин) | 0,8 (1500) | 0,8 (1500) | 0,6 (1370) | 0,8 (1370) |
| Електродвигун насоса СОЖ, кВт | 0,125 | 0,125 | 0,125 | 0,125 |
| Габарити і масса верстата | ||||
| Габарити верстата (длина ширина высота), мм | 1210 х 725 х 1190 | 1380 х 730 х 1215 | 1270 х 725 х 1250 | 1380 х 730 х 1250 |
| Масса верстата, кг | 580 | 640 | 670 | 750 |