metalinstryment.com
Довідник по металорізальних верстатів та пресовому обладнанні

2М103п верстат сверлильный настільний підвищеної точності
Опис, характеристики, схеми

2М103п вертикальний сверлильный верстат







Відомості про виробника настільного сверлильного верстата 2М103п

Производителем настільного сверлильного верстата 2м103п является Кироваканский завод прецизионных верстатів г. Кировокан (сегодня г. Ванадзор), Армения.

В настоящее время выпуск верстатів прекращен.





Верстати, выпускаемые Кироваканским заводом прецизионных верстатів


2М103п верстат сверлильный настільний підвищеної точності. Назначение і область применения

Верстат настольно-сверлильный моделі 2М103П підвищеної точності з патронным зажимом инструмента предназначен для сверления отверстий диаметром до 3 мм в мелких деталях деталях из чугуна, стали, цветных сплавов і неметаллических материалов в условиях промышленных предприятий, ремонтных мастерских і бытовых мастерских.

Верстати 2М103П позволяют выполнять наступні операции:

Опис і особливості конструкції верстата 2М103п

Оригинальная конструкция натяжения ременной передачи позволяет быстро менять положение ремня на шкивах для получения нужной скорости різання.

Верстат 2М103п состоит из корпуса з електромотором, колонки і стола, в котором монтируется електрообладнання верстата.

Фланцевый електродвигатель установлен на корпусе верстата. Через сменные шкивы вращение передається шпинделю, разгруженному от натяжения ремня верхней втулкой з підшипниками.

Натяжение ремня перестановкой фланца електродвигуна.

Шпиндель верстата 2М103п вращается на индивидуальных шарикопідшипниках.

Подача шпинделя — ручная, производится посредством чувствительного рычага, шестерни і верстата шпинделя.

Шпиндель уравновешен, расположенной во фланце плоской пружиной, которая находится в связи з шестерней і рычагом.

Для установки шпинделя на определенную глубину сверления служит, сидящий: на валу шестерни, спеціальний упор, ограничителем которому является упорный винт на корпуса.

Корпус устанавливается на высоту соответственно размеру вироби, посредством гвинта подъема і гайки вручную і зажимается при помощи рукоятки на колонке.

Стол верстата 2М103п прямоугольной формы з Т-образным пазом для крепления пристосувань. По периметру стола имеется канавка для стока охлаждающей жидкости.

Шпиндель верстата 2М103п получает 10 швидкостей обертання от 5-и сменных шкивов привода, что обеспечивает свободный выбор швидкостей різання в диапазоне от 1900 до 16000 об/мин.

Отсчет глубины сверления производится по упору.

Смазка верстата

Перед началом роботи необходимо произвести смазку трущихся поверхностей верстата согласно схеме змазки. Для змазки шпинделя і гильзы необходимо снять винт шкива шпинделя я капнуть несколько капель индустриального масла в отверстие вала шкива. Схема змазки верстата приведена на рис. 4 і в табл. 2.





2М103п Посадочные места і присоединительные розміри сверлильного верстата

2М103п Посадочные места і присоединительные розміри сверлильного верстата

Посадочные места і присоединительные розміри сверлильного верстата 2м103п


2М103п Загальний вигляд сверлильного верстата

2М103п Загальний вигляд  сверлильного верстата

Фото сверлильного верстата 2м103п


2М103п Загальний вигляд  сверлильного верстата

Фото сверлильного верстата 2м103п


2М103п Загальний вигляд  сверлильного верстата

Фото сверлильного верстата 2м103п


2М103п Загальний вигляд  сверлильного верстата

Фото сверлильного верстата 2м103п


2М103п Загальний вигляд  сверлильного верстата

Фото сверлильного верстата 2м103п


2М103п Розташування органів керування сверлильным верстатом

2М103п РРозташування органів керування настольно-сверлильным верстатом

Розташування органів керування сверлильным верстатом 2м103п


2М103п Специфікація органів керування верстата

  1. винты регулировки натяжения ремня;
  2. рукоятка вертикального переміщення шпинделя;
  3. рукоятка зажиму сверлильной головки;
  4. лимб установки глубины сверления;
  5. кнопки "Пуск" і "Стоп"




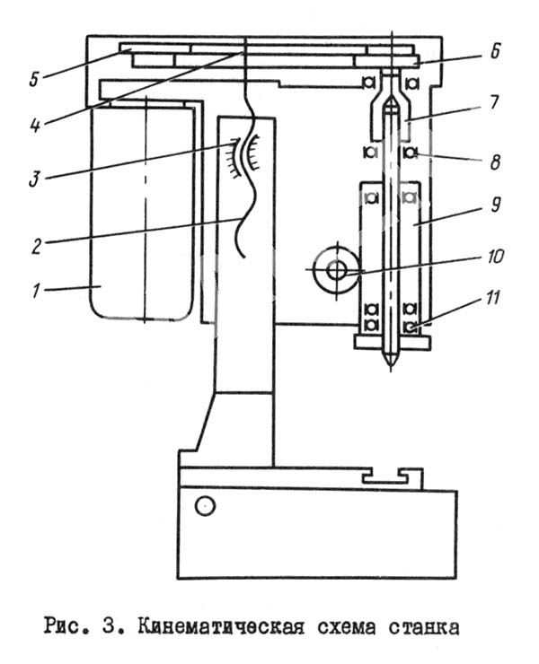
2М103п Кінематична схема сверлильного верстата

2М103п Схема кінематична сверлильного верстата

Кінематична схема сверлильного верстата 2М103п

  1. Електродвигун А0Л-11-2
  2. Винт подъема сверлильной головки
  3. Гайка
  4. Ремень плоский 1,0x12x710; 1,0x12x750
  5. Шкив Ø 120/90; Ø 100/70; Ø 80/56
  6. Шкив Ø 82/45; Ø 54/22
  7. Втулка
  8. Подшипник 7000103 ГОСТ 8338-75
  9. Гильза
  10. Шестерня подъема шпинделя
  11. Подшипник 4-6101 ГОСТ 831-75



2М103п верстат сверлильный настільний підвищеної точності. Відеоролик.




Технічні характеристики верстата 2М103п

Наименование параметра 2м103п 2г103п
Основні параметри верстата
Наибольший условный диаметр сверления, мм 3 3
Наименьшее і наибольшее расстояние от торца шпинделя до стола, мм 160 45..160
Расстояние от оси вертикального шпинделя до направляючих стойки (вылет), мм 100 110
Рабочий стол
Розміри рабочей поверхности стола, мм 140 х 140 140 х 140
Число Т-образных пазов Розміри Т-образных пазов 1 1
Шпиндель
Наибольшее перемещение шпиндельной головки по колонне, мм
Ход гильзы шпинделя, мм 40 40
Частота обертання шпинделя, об/мин 1900..16000 2500..16000
Количество швидкостей шпинделя 10 5
Конус шпинделя Морзе 1а 29° под цангу
Привод
Електродвигун привода, кВт (об/мин) 0,18 (2800) 0,18 (2800)
Габарит і масса верстата
Габарити верстата (длина ширина высота), мм 380 х 200 х 535 450 х 225 х 480
Масса верстата, кг 40 50


    Список литературы

  1. Cтанок yастольный вертикально-сверлильный підвищеної точності 2М103П. Руководство по експлуатации 2М103П.00.000 РЭ, 1982

  2. Барун В.А. Работа на сверлильных верстатах,1963
  3. Винников И.З., Френкель М.И. Сверловщик, 1971
  4. Винников И.З. Сверлильные верстати і робота на них, 1988
  5. Лоскутов B.В Сверлильные і расточные верстати, 1981
  6. Панов Ф.С. Работа на верстатах з ЧПУ, 1984
  7. Попов В.М., Гладилина И.И. Сверловщик, 1958
  8. Сысоев В.И. Справочник молодого сверловщика,1962