metalinstryment.com
Довідник по металорізальних верстатів та пресовому обладнанні

7Б55 Верстат горизонтально-протяжной
опис, характеристики, схеми

Фото протяжного верстата 7Б55







Відомості про виробника протяжного верстата 7Б55

Разработчиком і изготовителем горизонтально-протяжного верстата 7Б55 является Минский станкостроительный завод имени С.М.Кирова, основанный в 1881 году.





Верстати, выпускаемые Минским станкостроительным заводом имени С.М.Кирова


7Б55 Верстат протяжной горизонтальный для внутреннего протягивания. Назначение і область применения

Верстат протяжной горизонтальный 7Б55 производился начиная з 1973 года. Верстат снят з производства і был заменен на более совершенную модель 7523. В настоящее время заводом выпускаются более совершенные горизонтальные протяжные автоматы і напівавтоматы: 7А523, 7А534, 7А545, 7555.

Горизонтально-протяжной верстат 7Б55 предназначен для обробки методом протягивания предварительно обработанных или черновых сквозных отверстий различной геометрической формы і размеров деталей из черных і цветных металлов і сплавов. При помощи специальных пристосувань можно обрабатывать наружные поверхности.

Протяжной верстат 7Б55 отличается большой производительностью, високою точностью обробки.

Наиболее еффективно использование верстата 7Б55 — в массовом і крупносерийном производстве. Простота переналагодження верстата позволяет применять его в мелкосерийном і единичном производстве.

Конструктивные особливості протяжного горизонтального верстата 7Б55:

По согласованию з заказчиком верстат 7Б55 поставляется как в универсальном виконанні, так і со специальными приспособлениями і инструментом для обробки одной или нескольких определенных деталей.

При оснащении автоматизированными приспособлениями для подачі і съема обрабатываемых деталей верстат 7Б55 може работать в автоматическом цикле, а также встраиваться в автоматические линии.

Привід верстата 7Б55 гідравлический, регулювання скорости робочого і обратного ходов бесступенчатое.

Отвод і подвод протяжки к рабочему патрону, а также процесс різання механизированы.

Для удобства обслуживания в станке предусмотрены механізм регулировки длины ходу рабочих салазок, централизованная принудительная смазка направляючих, сигналізація о затуплении протяжки при помощи електроконтактного манометра, фильтрация масла в гідросистеме.

Пусковая і предохранительная електроаппаратура размещена в отдельном електрошкафу, что облегчает її обслуговування і увеличивает срок службы.

Применение бесконтактных путевых переключателей, слаботочной електроапаратури керування і електроапаратури керування і електромагнитов постоянного тока обеспечивает высокую надежность роботи електроустаткування.

Повышенная жесткость і виброустойчивость конструкції верстата позволяет работать во всем диапазоне рабочих швидкостей і тяговых усилий, сохраняя при етом высокий класс чистоты обработанной поверхности і стойкость протяжки.

По особому заказу за отдельную плату верстат комплектуется поддерживающей призмой, позволяющей компенсировать массу обрабатываемой детали і упростить процесс її установки относительно оси протягивания і грузоподъемником для установки і снятия тяжелых обрабатываемых деталей і протяжек.

По желанию заказчика верстат може быть изготовлен в одном из двух исполнений: з приставной станиной или без нее (модель 7Б55У), а также поставляться как в универсальном виконанні, так і со специальным пристрійм і инструментом для обробки одной или нескольких определенных деталей.

Верстат аттестован по первой категории качества.

Шероховатость обработанных поверхностей Rz20—Ra 0,63 мкм (V5 — V8).

Класс точності верстата Н по ГОСТ 8—77.

Корректированный уровень звуковой мощности LpA не превышает 108 дБА.

Проектная организация — Минское специальное конструкторское бюро протяжных верстатів.


Основні технические характеристики горизонтального протяжного верстата 7Б55

Проектная организация — Минское специальное конструкторское бюро протяжных верстатів.

Минский станкостроительный завод имени С.М.Кирова. Начало серийного производства 1973 год.


7Б55 Габарит робочого простору протяжного верстата

Габарит робочого простору протяжного верстата 7Б55

Габарит робочого простору протяжного верстата 7Б55

Габарит робочого простору протяжного верстата 7Б55. Дивитись у збільшеному масштабі



7Б55 Фото протяжного горизонтального верстата

Фото протяжного горизонтального верстата 7Б55

Фото протяжного верстата 7Б55


Фото протяжного горизонтального верстата 7Б55

Фото протяжного верстата 7Б55



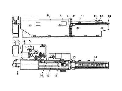
7Б55 Розташування складових частин протяжного горизонтального верстата

Розташування складових частин протяжного верстата 7Б55

Розташування складових частин протяжного верстата 7Б55


7Б55 основні вузли протяжного верстата

  1. основной (рабочий) гідроцилиндр
  2. електрошкаф
  3. електродвигатель головного гідропривода
  4. гідробак
  5. електродвигатель вспомогательного гідропривода
  6. основная станина
  7. пульт керування
  8. опорная плита
  9. планшайба
  10. поддерживающий ролик
  11. вспомогательный патрон
  12. вспомогательные салазки
  13. вспомогательная (приставная) станина
  14. вспомогательный гідроцилиндр
  15. рабочий патрон
  16. рабочие салазки
  17. ползун-шток
  18. механізм регулювання ходу ползуна




7Б55 Гідравлічна схема протяжного горизонтального верстата

7Б55 Гідравлічна схема протяжного горизонтального верстата

Гідравлічна схема протяжного горизонтального верстата 7Б55

Гідравлічна схема протяжного горизонтального верстата 7Б55. Дивитись у збільшеному масштабі



Принципиальная гідравлічна схема горизонтально-протяжного верстата 7Б55

Поршневой насос высокого давления 30 типа 2Г13-36АС на рисунке показан условно. Трубопровод 28 связан со всасывающей полостью насоса, а трубопровод 29 — з нагнетательной. Насос обеспечивает работу верстата, осуществляя рабочий і обратный ходы рабочих салазок при помощи гідроцилиндра 19. Вспомогательный гідропривід состоит из шестеренного насоса 1, встроенного в корпус поршневого насоса, і из вспомогательного гідроцилиндра 12 для подвода і відведення протяжки.

Масло от насоса 1 подается в подпорный цилиндр 31, к центральному золотнику 33 і к механізму керування, в котором расположены четыре золотника-пилота, управляющие соленоидами 24—27. Центральный золотник 33 вместе з закрепленным на его кінці диском 35 под действием пружины 34 отжимается влево. В диске имеется п'ять отверстий для прохода винтов 37, которые регулируют подачу насоса 30 (смещение статора). При давлении под поршнем 36 он упрется штоком в регулировочный винт 37 і ограничит прорух диска 35 з центральным золотником 33, который соединен з поршнем 32 цилиндра.

Рассмотрим работу гідросистемы для полного цикла. В исходной позиции рабочие салазки находятся в крайнем правом положении, протяжка — в отведенном положении Нажатием кнопки «Пуск» на пульті керування включаются насосы. При етом все четыре електромагнита 24 — 27 выключены, а поршневой насос 30 не подает масло, так как ротор і статор кінцінтричны.

Подвод протяжки осуществляется нажатием кнопки керування на пульті. При етом включается електромагнит 9, вспомогательный золотник 7 передвигается влево і соединяет трубопроводы 3 і 8. Масло от шестеренного насоса 1 по трубопроводу 2 через расточку в корпусе золотника, трубопроводы 3 і 8 поступает под правый торец основного золотника 4 і перемещает его в крайнее левое положение, соединяя трубопроводы 2 і б. Масло поступает в бесштоковую полость вспомогательного цилиндра і перемещает протяжку. В кінці подвода протяжки срабатывает путевой выключатель 13, который выключает електромагнит 9 і включает електромагнит 27. В результате етого масло идет под поршень 36 і смещает влево статор насоса в положение, отрегулированное винтом 37 (как показано на схеме). Одновременно з етим левый конец протяжки своим хвостовиком попадает в автоматический патрон, установленный на правом кінці штока поршня робочого цилиндра 19.

Медленный рабочий ход. В результате указанного выше переміщення полость 1 становится нагнетательной, полость 11 — всасывающей. Масло по трубопроводу 29 поступает под правый торец диференціального золотника 25 і смещает его влево до упора. Трубопровод 29 сообщается з трубопроводом 21, масло поступает в штоковую полость робочого цилиндра 19 і смещает его влево до упора. Масло, вытесняемое из бесштоковой полости, по трубопроводам 20 і 28 поступает во всасывающую полость насоса 50. Излишки масла, обусловленные разностью объемов штоковой і бесштоковой полостей, сливаются через золотник 22, который поддерживает постоянный подпор в полости робочого цилиндра.

Быстрый рабочий ход осуществляется при нажатии кулачка на путевой выключатель 17. При етом включается електромагнит 25, происходит дальнейшее смещение статора насоса 32 влево, увеличиваются его подача і скорости переміщення рабочих салазок. В кінці робочого ходу, при входе первых калибрующих зубьев протяжки в заготовку кулачок нажимает на путевой выключатель 16, который выключает електромагнит 25. Начинается замедленный рабочий ход в результате снижения подачі насоса, так как ексцентриситет блока насоса уменьшается. В кінці робочого ходу срабатывает путевой выключатель 15 і выключает електромагнит 27 — происходит остановка.

Обратный ход осуществляется при включении електромагнита 26. Блок поршневого насоса смещается влево, трасса 28 становится нагнетательной, а трасса 29 — всасывающей. Масло по трубопроводу 28 поступает под левый торец диференціального золотника 23 і перемещает его в крайнее правое положение. Трубопровод 28 соединяется з трубопроводами 20 — 21, і обе полости робочого цилиндра 19 сообщаются таким образом з линией нагнетания насоса. Ввиду разности площадей, находящихся под давлением, поршень перемещается вправо. При дальнейшем перемещении рабочих салазок кулачок нажимает на путевой выключатель 17, который включает електромагнит 24. При етом начинается замедленный ход вследствие уменьшения подачі насоса. В кінці обратного ходу срабатывает путевой выключатель 18, выключающий електромагниты 26 і 24. Происходит остановка салазок, автоматическое освобождение левого кінця протяжки і зажим правого її кінця в патроне 4 (см. рис. 51), находящегося у корпуса 5.

Отвод протяжки осуществляется в кінці замедленного обратного ходу. Нажатием кулачка на путевой выключатель 18 (рис. 52) включается електромагнит 10. Золотник, управляемый етим магнитом, занимает 82 правое положение і соединяет трубопроводы 3 і 5. Масло от насоса 1 по трубопроводу 2 через расточку в корпусе золотника, трубопроводы 3 і 5, поступает под левый торец золотника 4 і перемещает его в крайнее правое положение, соединяя трубопроводы 2 і 11. По етим трубопроводам масло поступает в штоковую полость вспомогательного цилиндра 12 і перемещает протяжку. В кінці відведення протяжки срабатывает путевой выключатель 14, который выключает електромагнит 10. Происходит остановка салазок вспомогательного патрона. После установки очередной детали для обробки цикл повторяется.

Простой цикл отличается от описанного тем, что при нем в работе не участвуют механізм подвода і відведення протяжки.





7Б55 Схема протяжной операции

Схема протяжной операции 7Б55

Схема протяжной операции горизонтального верстата 7Б55

Рух протяжки осуществляется з помощью гідропривода, имеющего два насоса. Один из них производительностью 200 л/мин служит для подачі масла в основной (рабочий) гідроцилиндр, другой - производительностью 25 л/мин - подает масло во вспомогательный гідроцилиндр. Гідропривід позволяет осуществлять три цикла роботи: полный цикл, простой цикл і наладочный. Работу на полном цикле производят длинными протяжками (1200-1300 мм) з задним хвостовиком. Протяжку устанавливают хвостовиком во вспомогательный патрон, получающий рух от штока вспомогательного цилиндра. Протяжка перемещается, поддерживаемая роликом, к рабочему патрону. Патрон захватывает передний хвостовик протяжки» перемещает її вместе со вспомогательным патроном до его раскрытия от копира, осуществяет рабочий і обратный ходу, після которых вспомогательный патрон захватывает задний хвостовик протяжки і отводит її в исходное положение.

Простой цикл применяют при использовании коротких протяжек. В етом случае протяжку закрепляют вручную в патроне, смонтированном на салазках, получающих горизонтальное перемещение от основного гідроцилиндра по направляющим станины. Перемещения вспомогательных салазок при етом цикле не происходит.

Наладочный режим используют при налаштуванні верстата. Этот режим включает необходимые для подготовки процесса протягивания руху инструмента.

Верстат работает как напівавтомат, но при оснащении его автоматизированными приспособлениями для подачі і съема деталей може работать в автоматическом цикле і може быть встроен в автоматические линии. Применяется верстат в крупносерийном і массовом производстве, а з учетом простой переналагодження его можно использовать і в единичном і мелкосерийном производстве.

Одна из схем протягивания показана на рис. 50. Хвостовик протяжки 5 пропускают через отверстие обрабатываемой детали 7 і втулку 8 приспособления 6, установленного в опорной плите 9.

Лівий конец протяжки закрепляют в автоматическом патроне, состоящем из корпуса 4, специальной втулки 10 з внутренним диаметром, соответствующим протяжке, і двух сухарей 3. В показанном положении пружина 2, распирая деталь 1, связанную со штоком силового цилиндра, і корпус 4, сдвигает сухари 3, вследствие чего післядние захватывают хвостовик протяжки.

Когда протяжка перемещается влево, происходит обработка отверстия. Во время холостого ходу протяжка возвращается в исходное положение.

Корпус 4, подойдя к приспособлению 6, упирается в него і останавливается.

Шток поршня і муфта 1, продолжая рух і сжимая пружину 2, сдвигают втулку 10 вправо, сухари 3 попадают в выточку а, і рух прекращается. Теперь хвостовик протяжки можно свободно вытащить из отверстия втулки 10, вставить в следующую деталь и, установив снова, начинать обработку.

Верстат работает з полным і простым циклом. При полном цикле прямого ходу осуществляется подвод протяжки, замедленный рабочий ход, настроенный рабочий ход — замедленный рабочий ход при работе калибрующих зубьев і стоп. При обратном ходе осуществляется замедленный ход і отвод протяжки. Простой цикл отличается от полного отсутствием подвода і відведення протяжки.

Полный цикл верстата передбачає:

  1. быстрый подвод протяжки к рабочему патрону і захват ее
  2. замедленный ход з большей скоростью (которая обеспечивает полное использование мощности привода)
  3. замедленный рабочий ход (для получения требуемой шероховатости при работе калибрующих зубьев протяжки)
  4. раскрытие вспомогательного патрона і вывод протяжки из детали
  5. остановка верстата для выгрузки детали
  6. обратный ход рабочих салазок після повторного нажатия кнопки «Пуск цикла»
  7. захват заготовки вспомогательным патроном в начале обратного ходу
  8. замедление скорости в кінці обратного ходу і раскрытие робочого патрона
  9. отвод протяжки вспомогательными салазками
  10. останов

Возможен неполный цикл без подвода і відведення протяжки, когда вспомогательные вузли не действуют.

Во избежание провисания свободного кінця протяжки, когда она закреплена только в одном из патронов, предусмотрены поддерживающие ролики, которые могут быть отведены.


7Б55 Пример протяжных работ внутреннего протягивания

Пример протяжных работ внутреннего протягивания 7Б55

Пример протяжных работ внутреннего протягивания 7Б55





Сучасний горизонтально-протяжной верстат




Технічні характеристики протяжного верстата 7Б55

Наименование параметра 7Б55 7Б56 7Б57
Основні параметри верстата
Класс точності верстата Н Н Н
Номинальное тяговое усилие, кН(тс) 100 (10) 200 (20) 400 (40)
Наибольшая длина ходу рабочих салазок, мм 1250 1600 2000
Наибольшая настроенная длина ходу рабочих салазок, мм 1200 1550 1950
Расстояние от станины до оси отверстия под планшайбу в опорной плите, мм 250 280 320
Максимальный наружный диаметр обрабатываемой детали, мм 600 600 800
Розміри рабочей поверхности передньої опорной плиты верстата, мм 450 х 450 450 х 450 560 х 560
Диаметр отверстия под планшайбу в опорной плите, мм 160 200А 250А
Диаметр отверстия в планшайбе, мм 125А 160А 200А
Диаметр планшайби, мм 280 360 400
Конусное отверстие под рабочий патрон метр 80 метр 80
Конусное отверстие в кронштейне вспомогательных салазок Морзе 5 Морзе 5 метр 80
Расстояние от основания верстата до оси протяжки, м 975 975 1060
Скорость робочого ходу, м/мин 1,5..11,5 13 1..6,15
Регулювання скорости робочого ходу бесступенчатое бесступенчатое бесступенчатое
Рекомендуемая скорость обратного ходу, м/мин 20..25 20..25 10..12
Длина подвода і відведення протяжки, мм 455 455 755
Длина сопровождения протяжки 455 455 755
Скорость подвода і відведення протяжки, м/мин 15 15 15
Длина протяжки, мм 400..1365 400..1415 900..2170
Наибольшее давление налаштування предохранительного клапана робочого ходу, кгс/см2 100 115 115
Електроустаткування. Привод
Количество електродвигателей на станке 3 4 4
Електродвигун приводу головного руху (гідронасоса гідростанції), кВт (об/мин) 18,5 (1465) 30 (980) 37 (980)
Електродвигун приводу вспомогательного руху, кВт (об/мин) - 2,2 (950) 2,2 (950)
Електродвигун насоса змазки, кВт (об/мин) 0,09 (2740) 0,09 (2740) 0,09 (2740)
Електродвигун насоса охлаждения, кВт (об/мин) 0,15 (2800) 0,15 (2800 0,15 (2800
Насос головного приводу (Производительность л/мин) 2Г13-36АС (200) НР4М-450-10 (400) НР4М-450-10 (400)
Насос вспомогательного приводу (Производительность л/мин) - Г12-33АМ (25) Г12-33АМ (25)
Габарити і масса верстата
Габарити верстата (длина ширина высота), мм 6340 x 2090 x 1740 7200 х 2135 х 1950 9400 х 2500 х 1950
Масса верстата, кг 5100 7000 13000

    Список литературы:

  1. Верстат потяжной горизонтальный 7Б55, 7Б56, 7Б57, 7б56у, 7Б55у. Руководство по експлуатации, 1981

  2. Ашихмин В.Н. Протягивание, 1981, стр.90.
  3. Кацев П.Г. Протяжные роботи, 1968
  4. Кацев П.Г., Епифанов Н.П. Справочник протяжника, 1963
  5. Схиртладзе А.Г., Новиков В.Ю. Технологическое обладнання машиностроительных производств, 1980, стр.248.
  6. Тепинкичиев В.К. Металлорежущие верстати, 1973, стр.76.