metalinstryment.com
Довідник по металорізальних верстатів та пресовому обладнанні

7534 Верстат горизонтально-протяжной
опис, характеристики, схеми

Фото протяжного верстата 7534







Відомості про виробника протяжного верстата 7534

Разработчиком і изготовителем горизонтально-протяжного верстата 7534 является Минский станкостроительный завод имени С.М.Кирова, основанный в 1881 году.





Верстати, выпускаемые Минским станкостроительным заводом имени С.М.Кирова


7534 Верстат протяжной горизонтальный для внутреннего протягивания. Назначение і область применения

Верстат протяжной горизонтальный для внутреннего протягивания 7534 предназначен для обробки протягиванием сквозных отверстий (предварительно обработанных і необработанных) различной конфигурации: -круглых, шлицевых, прямоугольных, со шпоночными пазами і пр. Используется в массовом, крупносерийном, мелкосерийном і единичном производстве.

Конструктивные особливості горизонтального протяжного верстата 7534:

При оснащении напівавтомату 7534 специальными приспособлениями на нем можно производить обработку протягиванием также і наружных поверхностей различной формы. При оснащении автоматизированным загрузочно-разгрузочньм пристрійм напівавтомат може работать в автоматическом режиме, а также встраиваться в автоматические линии.

Полуавтомат 7534 выпускается взамен верстата моделі 7Б56 і входит в состав новой унифицированной гаммы протяжных верстатів.

Более высокая производительность обусловлена повышением коеффициента технического использования верстата 7534, повышением уровня механизации і автоматизации, увеличением тягового зусилля (250 кН против 200 кН у моделі 7Б56).

Повышенную надежность напівавтомату обеспечивают:

Удобство обслуживания напівавтомату улучшено за счет:

По требованию заказчика за отдельную плату з напівавтоматом поставляются:

По заказу напівавтомат моделі 7534 може поставляться з наладкой для обробки одной или нескольких определенных деталей, а также без приставной станины (модификация 7534—002).

Шероховатость обработанных поверхностей Rz20—Ra 0,63 мкм.

Класс точності верстата Н по ГОСТ 8—77.

Корректированный уровень звуковой мощности LpA не превышает 108 дБА.

Проектная организация — Минское специальное конструкторское бюро протяжных верстатів.


Основні технические характеристики горизонтального протяжного верстата 7534





7534 Габарит робочого простору протяжного верстата

Габарит робочого простору протяжного верстата 7534

Габарит робочого простору горизонтального протяжного верстата 7534

Габарит робочого простору протяжного верстата 7А534. Дивитись у збільшеному масштабі



7534 Фото горизонтального протяжного верстата

Фото горизонтального протяжного верстата 7534

Фото горизонтального протяжного верстата 7534





Циклограмма роботи протяжного верстата 7534 в режиме полного і простого полуцикла

Циклограмма роботи протяжного верстата 7534 в режиме полного і простого полуцикла

Циклограмма роботи протяжного верстата 7534

В режиме полного полуцикла (см. рис. 70,а) післядовательность роботи верстата будет следующей. В исходном состоянии рабочие і вспомогательные салазки будут находиться в крайнем правом положении. Исходное положение поршня робочого гідроцилиндра на рис. 69 показано тонкими лініями. Переключатель режима роботи верстата на пульті керування 4 (см. рис. 67) установлен в положение «Полный полуцикл».

После нажатия кнопки керування (КУ) «Пуск цикла» реверсивный золотник направляет масло от лопастного насоса 10 (см. рис. 69) в бесштоковую полость вспомогательного цилиндра 8. Поршень вспомогательного цилиндра перемещается влево, осуществляется подвод протяжки, в кінці которого срабатывает конечный выключатель 6ПВ. Этот выключатель дает команду на увімкнення гідрораспределителя, направляющего масло от радиально-поршневого насоса в штоковую полость робочого цилиндра. Начинается рабочий ход. Одновременно реверсивным гідрораспределителем отключается подача масла во вспомогательный цилиндр.

Конечный выключатель ЗПВ настраивается так, чтобы срабатывание его происходило в момент входа калибрующих зубьев протяжки в обрабатываемую деталь. При етом в системе керування радиально-поршневым насосом включается гідрораспределитель, уменьшающий производительность насоса, что приводит к снижению скорости різання. Конечный выключатель 1ПВ, срабатывающий в кінці робочого ходу, дает команду на прекращение подачі масла в штоковую полость робочого цилиндра, верстат останавливается.

Для начала обратного руху необходимо снова нажать кнопку «Пуск цикла». При етом включается гідрораспределитель, направляющий масло от радиально-поршневого насоса в бесштоковую полость робочого цилиндра. При обратном ходе масла из штоковой полости через обратный клапан 12 (см. рис. 69) будет вытесняться в бесштоковую полость. Срабатывание конечного выключателя 4ПВ дает команду на увімкнення золотника, уменьшающего производительность радиально-поршневого насоса, что приводит к снижению скорости обратного ходу. Конечный выключатель 2ПВ, который срабатывает в кінці обратного ходу, дает команду на прекращение подачі масла в рабочий цилиндр, і одновременно дается команда на подачу масла в штоковую полость вспомогательного цилиндра. Начинается отвод протяжки. Конечный выключатель 5ПВ срабатывает в кінці відведення протяжки і дает команду на прекращение подачі масла во вспомогательный цилиндр. Верстат останавливается.

Режим простого полуцикла отличается тем, что в работе не участвует механізм подвода і відведення протяжки. В наладочном режиме гідросистема верстата позволяет независимо управлять рухуми рабочих і вспомогательных салазок.

Скорости робочого і обратного ходов рабочих салазок настраивают з помощью четырех винтов механізма керування насосом. Налаштування швидкостей должна производиться только на наладочном режиме. Двумя гвинтами настраивается скорость робочого ходу і скорость робочого замедленного ходу. Другими двумя гвинтами настраивается скорость обратного ходу і обратного замедленного ходу. Величина скорости робочого ходу определяется оптимальной стойкостью инструмента применительно к конкретным условиям обробки. При етом необходимо учитывать, что величина скорости робочого ходу ограничивается не только заданной стойкостью, но і силами різання при протягивании конкретной детали. О силах різання в процессе протягивания можно судить по показаниям манометра. В паспорте верстата приведены графики режимов роботи верстата в зависимости от величины силы різання при протягивании. Поскольку вся ранее выпущенная документація основана на старой системе единиц, в Приложениях 2 і 3 приведены соотношения етих единиц з обязательными в настоящее время единицами системы СИ. Например, для верстата мод. 7534 номинальная сила тяги 200 кН будет соответствовать показанию манометра примерно 8,2 МПа. Наибольшая скорость різання допускается при силе різання до 100 кН. При силе різання 200 кН допустимая скорость різання будет составлять только 8,5 м/мин.

Следует мати ввиду, что скорость робочого ходу обычно регулируется на наладочном режиме без нагрузки. При протягивании деталей, когда гідросистема работает под нагрузкой, наблюдается «посадка», т. е. уменьшение скорости по сравнению з отрегулированной скоростью. Величина посадки зависит от давления в системе на рабочем ходе. При давлении 10 МПа под нагрузкой посадка составляет 1,2 м/мин. Для меньших рабочих давлений величину посадки нужно пропорционально уменьшить.

Скорость обратного ходу і замедленная скорость обратного ходу настраиваются заводом-изготовителем. В процессе експлуатации ети скорости изменять не рекомендуется.





Схема протяжной операции горизонтального верстата 7534

Схема протяжной операции горизонтального верстата 7534

Схема протяжной операции горизонтального верстата 7534

Рух протяжки осуществляется з помощью гідропривода, имеющего два насоса. Один из них производительностью 200 л/мин служит для подачі масла в основной (рабочий) гідроцилиндр, другой - производительностью 25 л/мин - подает масло во вспомогательный гідроцилиндр. Гідропривід позволяет осуществлять три цикла роботи: полный цикл, простой цикл і наладочный. Работу на полном цикле производят длинными протяжками (1200-1300 мм) з задним хвостовиком. Протяжку устанавливают хвостовиком во вспомогательный патрон, получающий рух от штока вспомогательного цилиндра. Протяжка перемещается, поддерживаемая роликом, к рабочему патрону. Патрон захватывает передний хвостовик протяжки» перемещает її вместе со вспомогательным патроном до его раскрытия от копира, осуществяет рабочий і обратный ходу, після которых вспомогательный патрон захватывает задний хвостовик протяжки і отводит її в исходное положение.

Простой цикл применяют при использовании коротких протяжек. В етом случае протяжку закрепляют вручную в патроне, смонтированном на салазках, получающих горизонтальное перемещение от основного гідроцилиндра по направляющим станины. Перемещения вспомогательных салазок при етом цикле не происходит.

Наладочный режим используют при налаштуванні верстата. Этот режим включает необходимые для подготовки процесса протягивания руху инструмента.

Верстат работает как напівавтомат, но при оснащении его автоматизированными приспособлениями для подачі і съема деталей може работать в автоматическом цикле і може быть встроен в автоматические линии. Применяется верстат в крупносерийном і массовом производстве, а з учетом простой переналагодження его можно использовать і в единичном і мелкосерийном производстве.

Одна из схем протягивания показана на рис. 50. Хвостовик протяжки 5 пропускают через отверстие обрабатываемой детали 7 і втулку 8 приспособления 6, установленного в опорной плите 9.

Лівий конец протяжки закрепляют в автоматическом патроне, состоящем из корпуса 4, специальной втулки 10 з внутренним диаметром, соответствующим протяжке, і двух сухарей 3. В показанном положении пружина 2, распирая деталь 1, связанную со штоком силового цилиндра, і корпус 4, сдвигает сухари 3, вследствие чего післядние захватывают хвостовик протяжки.

Когда протяжка перемещается влево, происходит обработка отверстия. Во время холостого ходу протяжка возвращается в исходное положение.

Корпус 4, подойдя к приспособлению 6, упирается в него і останавливается.

Шток поршня і муфта 1, продолжая рух і сжимая пружину 2, сдвигают втулку 10 вправо, сухари 3 попадают в выточку а, і рух прекращается. Теперь хвостовик протяжки можно свободно вытащить из отверстия втулки 10, вставить в следующую деталь и, установив снова, начинать обработку.

Верстат работает з полным і простым циклом. При полном цикле прямого ходу осуществляется подвод протяжки, замедленный рабочий ход, настроенный рабочий ход — замедленный рабочий ход при работе калибрующих зубьев і стоп. При обратном ходе осуществляется замедленный ход і отвод протяжки. Простой цикл отличается от полного отсутствием подвода і відведення протяжки.

Полный цикл верстата передбачає:

  1. быстрый подвод протяжки к рабочему патрону і захват ее
  2. замедленный ход з большей скоростью (которая обеспечивает полное использование мощности привода)
  3. замедленный рабочий ход (для получения требуемой шероховатости при работе калибрующих зубьев протяжки)
  4. раскрытие вспомогательного патрона і вывод протяжки из детали
  5. остановка верстата для выгрузки детали
  6. обратный ход рабочих салазок після повторного нажатия кнопки «Пуск цикла»
  7. захват заготовки вспомогательным патроном в начале обратного ходу
  8. замедление скорости в кінці обратного ходу і раскрытие робочого патрона
  9. отвод протяжки вспомогательными салазками
  10. останов

Возможен неполный цикл без подвода і відведення протяжки, когда вспомогательные вузли не действуют.

Во избежание провисания свободного кінця протяжки, когда она закреплена только в одном из патронов, предусмотрены поддерживающие ролики, которые могут быть отведены.


7534 Пример протяжных работ внутреннего протягивания

Пример протяжных работ внутреннего протягивания 7534

Пример протяжных работ внутреннего протягивания 7534


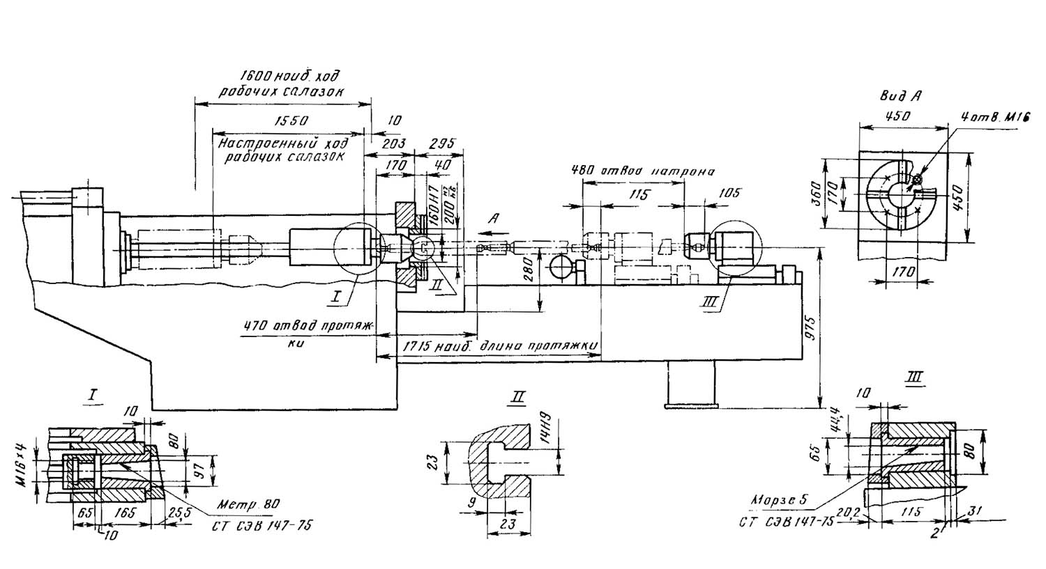
Настановне креслення протяжного верстата 7534

Настановне креслення протяжного верстата 7а534

Настановне креслення протяжного верстата 7534


Протяжной инструмент





Сучасний горизонтально-протяжной верстат




Технічні характеристики протяжного верстата 7534

Наименование параметра 7Б55 7Б56 7534
Основні параметри верстата
Класс точності верстата Н Н Н
Номинальное тяговое усилие, кН(тс) 100(10) 200(20) 250(25)
Наибольшая длина ходу рабочих салазок, мм 1250 1600 1600
Наибольшая настроенная длина ходу рабочих салазок, мм 1200 1715 1550
Расстояние от станины до оси отверстия под планшайбу в опорной плите, мм 250 280 280
Максимальный наружный диаметр обрабатываемой детали, мм 600 600 600
Длина протяжки, мм 400..1715
Розміри рабочей поверхности передньої опорной плиты верстата, мм 450 х 450 450 х 450 450 х 450
Диаметр отверстия под планшайбу в опорной плите, мм 160 200Н7 200Н7
Диаметр отверстия в планшайбе, мм 125 130H7 160H7
Диаметр планшайби, мм 280 360
Скорость робочого ходу, м/мин 1,5..11,5 1,5..11,5 1..13
Регулювання скорости робочого ходу бесступенчатое бесступенчатое бесступенчатое
Рекомендуемая скорость обратного ходу, м/мин 20..25 20..25 20
Рекомендуемая скорость подвода протяжки, м/мин 15 15 11,2
Рекомендуемая скорость відведення протяжки, м/мин 15 15 18,8
Електроустаткування. Привод
Количество електродвигателей на станке 3
Електродвигун приводу головного руху (гідронасоса головного привода), кВт 18,5 37
Електродвигун приводу насоса охлаждения, кВт 0,15
Електродвигун насоса теплообменника, кВт 0,12
Суммарная мощность електродвигателей установленных на станке, кВт
Габарити і масса верстата
Габарити верстата (длина ширина высота), мм 6340 x 2090 x 1910 7205 х 2200 х 1810
Масса верстата, кг 5200 6250

    Список литературы:

  1. Ашихмин В.Н. Протягивание, 1981, стр.90.
  2. Кацев П.Г. Протяжные роботи, 1968
  3. Кацев П.Г., Епифанов Н.П. Справочник прояжника, 1963
  4. Схиртладзе А.Г., Новиков В.Ю. Технологическое обладнання машиностроительных производств, 1980, стр.248.
  5. Тепинкичиев В.К. Металлорежущие верстати, 1973, стр.76.