metalinstryment.com
Довідник по металорізальних верстатів та пресовому обладнанні

7А33 Верстат поперечно-строгальный
опис, характеристики, схеми

Фото поперечно-строгального двухстоечного верстата 7А33







Відомості про виробника поперечно-строгального верстата 7А33

Разработчиком і изготовителем поперечно-строгального верстата 7А33 является Оренбургский станкостроительный завод, ОСЗ, основанный в 1941 году.

В 1943 году на заводе освоен выпуск первых поперечно-строгальных верстатів моделі 736, а в 1945 году завод выпустил первые восемь долбежных верстатів моделі 7417.

в 1956 году Оренбургский станкостроительный завод освоил серийное производство нового поперечно-строгального верстата моделі 7Б35, долбежного верстата моделі 7А450. К 1960 году выпуск станочной продукции достиг 2000 штук в год.





Верстати, выпускаемые Оренбургским станкостроительным заводом, ОСЗ


7А33 Верстат поперечно-строгальный з механическим приводом. Назначение і область применения

Поперечно-строгальный верстат 7А33 - небольшой і относительно простой предназначен для обробки строгальным резцом горизонтальных, вертикальних; наклонных, плоских і фасонных поверхностей, а также для прорізання всевозможных прямолинейных пазов, канавок і выемок в деталях з длиной обробки до 320 мм. Он применяется в единичном і мелкосерийном производстве.

Верстат 7А33 отлично заменит фрезерный

Стол перемещается ускоренно в горизонтальной і вертикальном направлениях.

Величину подачі суппорта устанавливают по лимбу.

Механические подачі стола і суппорта, также автоматический отскок резца, при обратном ходе ползуна позволяют применять многостаночное обслуговування.

Верстати 7А33 в основном виконанні изготовляются з прямоугольным неповоротным столом, а по особому заказу, за дополнительную плату, — з универсальным поворотным столом і неповоротным столом з гідрокопировальным пристрійм, значительно расширяющим експлуатационные возможности при обработке поверхности деталей со сложным профилем.


Габарит робочого простору поперечно-строгального верстата 7А33

Габарит робочого простору поперечно-строгального верстата 7А33

Габарит робочого простору верстата 7А33

Габарит робочого простору верстата 7А33. Дивитись у збільшеному масштабі



Посадочные і присоединительные базы поперечно-строгального верстата 7А33

Посадочные і присоединительные базы поперечно-строгального верстата 7А33

Посадочные і присоединительные базы поперечно-строгального верстата 7А33

Посадочные і присоединительные базы поперечно-строгального верстата 7А33. Дивитись у збільшеному масштабі



Загальний вигляд поперечно-строгального верстата 7А33

фото поперечно-строгального верстата 7А33

Фото поперечно-строгального верстата 7А33



фото поперечно-строгального верстата 7А33

Фото поперечно-строгального верстата 7А33

Фото поперечно-строгального верстата 7А33. Дивитись у збільшеному масштабі



фото поперечно-строгального верстата 7А33

Фото поперечно-строгального верстата 7А33



фото поперечно-строгального верстата 7А33

Фото поперечно-строгального верстата 7А33



фото поперечно-строгального верстата 7А33

Фото поперечно-строгального верстата 7А33



7А33 Розташування складових частин поперечно-строгального верстата 7А33

16Б05А Розташування складових частин поперечно-строгального верстата

Розташування складових частин на поперечно-строгальном станке 7А33

Список складових частин поперечно-строгального верстата 7А33 (7А311)

  1. Станина 331001 (А111001)
  2. Привід 332001 (Al12001)
  3. Ползун 333001 (Al13001)
  4. Суппорт 333101 (Al13101)
  5. Кулисный механізм 334001 (Al14001)
  6. Коробка подач 335001А (А115001)
  7. Стол 336001 (А116001)
  8. Узел змазки 337001 (А117001)
  9. Електроустаткування 338001 (А118001)

Розташування органів керування строгальным верстатом 7А33

Розташування органів керування строгальным верстатом 7А33

Розташування органів керування строгальным верстатом 7А33

Розташування органів керування строгальным верстатом 7А33. Дивитись у збільшеному масштабі



Специфікація органів керування поперечно-строгального верстата 7А33

  1. Винт крепления резца
  2. Рукоятка зажиму салазок суппорта
  3. Гайка зажиму поворотной доски суппорта
  4. Рукоятка вертикального переміщення суппорта
  5. Рукоятка тормоза гвинта суппорта
  6. Квадрат зажиму корпуса суппорта
  7. Винт виключення автоматичного откидывания резца
  8. Кнопка «Стоп» виключення електродвигуна
  9. Кнопка «Пуск» увімкнення електродвигуна
  10. Квадрат перестановки ползуна
  11. Рукоятка пуска і остановки верстата
  12. Квадрат установки длины ходу ползуна
  13. Квадрат ручного переміщення ползуна
  14. Рукоятка переключения швидкостей
  15. Лимб переключения подач стола
  16. Рукоятка виключення подачі стола
  17. Рукоятка реверса подачі стола
  18. Квадрат зажиму салазок продольного переміщення стола
  19. Съемный маховик ручного керування столом
  20. Хвостовик вала вертикального переміщення стола
  21. Хвостовик гвинта горизонтальной подачі стола
  22. Рукоятка увімкнення подачі стола на вертикальное или горизонтальное перемещение
  23. Гайка зажиму поперечини




Кінематична схема поперечно-строгального верстата 7А33

7А33 Схема кінематична строгального верстата

Кінематична схема поперечно-строгального верстата 7А33

Схема кінематична строгального верстата 7А33. Дивитись у збільшеному масштабі



7А33 Схема розположення підшибників строгального верстата

Схема розположення підшибників поперечно-строгального верстата 7А33

Схема розположення підшибників строгального верстата 7А33. Дивитись у збільшеному масштабі



Общая компоновка верстата 7А33

Общая компоновка верстатів показана на рис. 2. Большинство групп выполнено в окремих корпусах, что облегчает сборку не только в процессе изготовления, но і при ремонтах.

Станина

Станина 2 (рис. 5) представляет собой литой корпус коробчатой формы, закрепленный болтами на тумбе 3. В верхней частини станины имеются прямоугольные направляющие, по которым перемещается ползун. На передньої стенке станины расположены прямоугольные направляющие для вертикального переміщення стола.

В тумбе расположена масляная ванна з указателем уровня масла. В тумбе з правой стороны расположена коробка подач Електродвигун крепится к подмоторной плите 5, которая сидит на оси 4. В верхней задньої частини станины расположен лоток 1 для відведення масла, стекающего з направляючих ползуна В основании тумбы имеются отверстия для крепления верстата i фундаменту.

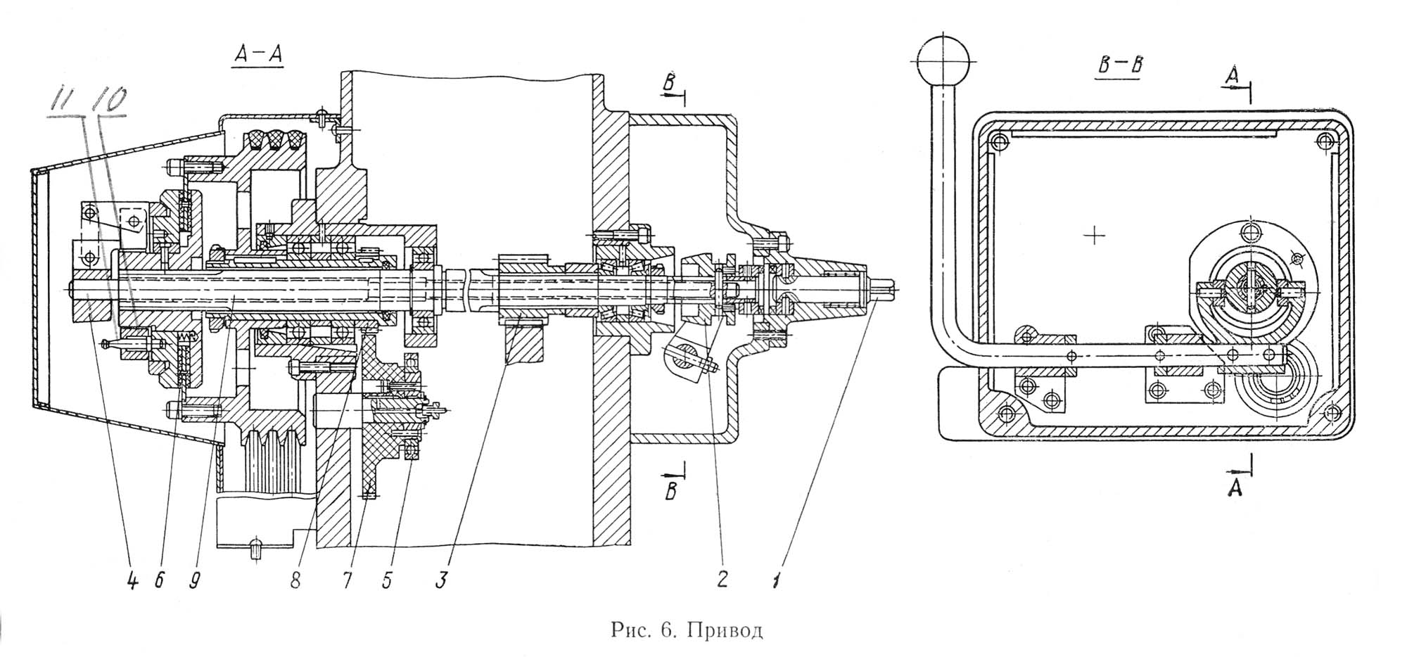
Привод

Привід поперечно-строгального верстата 7А33

Привід поперечно-строгального верстата 7А33

Привід поперечно-строгального верстата 7А33. Дивитись у збільшеному масштабі



Привід верстата (рис. 6) служит для передачи обертання от електродвигуна к кулисной шестерне, для увімкнення і виключення головного і вспомогательного движений верстата.

Електродвигун размещен в тумбе верстата. Крутящий момент передається от вала через фрикционную муфту 6 валу 9, на котором сидит шестерня 3 привода, постоянно зацепленная з кулисной шестерней 6 (см. рис. 9).

Выключение фрікциону происходит одновременно з торможением приводного вала і кулисного механізма. Для проворота приводу вручную служит валик 1 з квадратом. Блокируют тормозную колодку 2 і фрикционную муфту тягой 4. Шестерня 8 через шестерню 7 сообщает вращение ексцентрику 5 приводу масло-насоса.

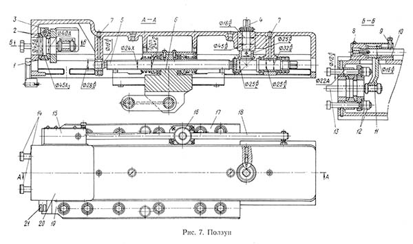
Ползун

Ползун поперечно-строгального верстата 7А33

Ползун поперечно-строгального верстата 7А33

Ползун поперечно-строгального верстата 7А33. Дивитись у збільшеному масштабі



Ползун 20 (рис. 7) представляет собой пустотелую чугунную коробку з ребрами жесткости внутри. Направляющими ползун скользит по направляющим, образованным станиной і прижимными планками 17, 19.

Внутри ползуна смонтированы винт 5 і саморегулируемая гайка 6 для перестановки ползуна. Перестановка ползуна осуществляется вращением квадрата 4.

С левой стороны ползуна смонтирован привід механізма автоматичного откидывания резца при обратном ходе ползуна. Он состоит из штанги 18, фрикционного пристроя 16, кронштейна 15 з направляющей втулкой 10 і зажимным винтом 9.

Регулируют торможение штанги 18 натяжением пружин фрикционного пристроя і винтом 8.

К передньої частини ползуна крепится супорт посредством конусного кольца 2, хомута 1, планки 3 і стяжных болтов 14 з гайками 12. Зажимается супорт через квадрат гвинта 21 з передньої правой стороны ползуна.

Смазка направляючих ползуна централизованная. Опорные шейки гвинта 5 і штанги 18 смазываются через пресс-масленки 7 з верхней стороны ползуна.




Суппорт

Суппорт поперечно-строгального верстата 7А33

Суппорт поперечно-строгального верстата 7А33

Суппорт поперечно-строгального верстата 7А33. Дивитись у збільшеному масштабі



Суппорт (рис. 8) крепится к передньої частини ползуна. Вне направляючих ползуна возможен поворот суппорта до 60° от его вертикального положения в обе стороны, для чего на корпусе суппорта нанесены градусные деления.

В передньої частини корпуса суппорта расположены направляющие в виде ласточкина хвоста, по которым перемещаются салазки суппорта 9. Перемещаются салазки з помощью рукоятки через винт 8 і гайку 7. Перемещения салазок отсчитывают по лимбу.

К салазкам суппорта прикреплена поворотная доска 6, допускающая поворот вокруг оси центрирующего гвинта 2 на угол 10° в обе стороны. К поворотной доске на оси 5 шарнирно крепится откидная доска 4 з резцедержателем 5.

Внутри корпуса суппорта смонтирован каркас параллелограмма 1 автоматичного откидывания резца при обратном ходе ползуна. Усилие для откидывания резца параллелограмм получает от штанги 18 (см. рис. 7) рычага 11 через шток 13.

Кулисный механізм

Кулисный механізм (рис. 9) преобразует вращательное рух приводу в возвратно-поступательное прямолинейное рух ползуна. Кулисный механізм смонтирован в станине і получает рух от приводу через шестерню приводу і кулисную шестерню 6. Корпус 9 кулисной шестерни смонтирован в станине з правой стороны верстата.

Корпус кулисной шестерни вращается на двух конических роликовых підшипниках і несет на себе шестерню 6. По направляющим корпуса 9 перемещается палец 5, на который надет камень 3, перемещающийся в пазу кулисы 1. Кулиса одним концом смонтирована на оси 13, закрепленной в основании станины, другим соединена пальцем 2 з серьгой ползуна.

При вращении кулисной шестерни палец 5 совершает вращательное рух вокруг оси корпуса 9. Камень 3, вращаясь вместе з пальцем 5, скользит по направляющим паза кулисы і заставляет її совершать качание на оси 13, чем і осуществляется возвратно-поступательное рух ползуна.

Длина ходу ползуна устанавливается вращением рукоятки, надетой на квадрат вала 8. Через шестерни 10, 11 вращение сообщается винту 12. Палец перемещается по винту і по мере изменения расстояния между осью пальца 5 і осью корпуса 9 будет изменяться длина ходу ползуна. Отсчет ведется по лимбу 7.

К підшипникам корпуса 9 масло подается по трубке от масло-распределителя, к направляющим 4 кулисного камня 3 і пальцу 2 серьги — по двум трубкам от оси кулисы.

Коробка подач

Коробка подач (рис. 10) осуществляет горизонтальные і вертикальные подачі стола. Механизму коробки подач рух передається от шестерни кулисного механізма через цилиндрическую косозубую текстолитовую шестерню 14, которая приводит во вращение горизонтальный вал 4. Вал 4 смонтирован в корпусе станины. Вал 4 через пару конических шестерен 5 і 6 передает вращение вертикальному валу 7, который в свою очередь через пару конических шестерен 8, 37 передает вращение валу 9 і далее через шарнирную муфту 10 — валу 27 з набором ексцентричных кулачков, позволяющих получить двенадцать различных подач. Рычаг 24 з роликом 25 і з кулачками совершает колебательное движение, а следовательно, зубчатый сектор 22, сидящий нерухомо на валу 26, также совершает колебательное движение, находясь в зацеплении з шестерней 23.

На шестерню 23 насажен рычаг 21 з толкающей собачкой 2, что позволяет храповому колесу 20 получать прерывистое вращение. Храповое колесо 20 через предохранительную муфту 18, вал 19, шестерни 15, 16, 17 (1) передает рух валу 11, далее через муфту шарнирную 12 рух передається шлицевому валу 13, передающему рух столу верстата.

Перестановка рычага 24 з одного ексцентрика на другой для изменения величины подачі осуществляется поворотом лимба 34 з валом 28, имеющим винтовую канавку, в которую входит штифт 29 переводки 30. Перед етим необходимо отвести рычаг 24 от соприкосновения з ексцентриками поворотом рукоятки 33 з втулкой 32, имеющей на торце три кулачка со свободным ходом, равным углу качания рычага 24, шестерни 31, з аналогичными кулачками, шестерни 35 і шлицевого вала 26.

Смазка механізма коробки подач капельная. Масло по трубкам из масляной ванны 3, расположенной в корпусе коробки подач, поступает к трущимся деталям механізма коробки подач.

Стол

Стол 5 (рис. 11) предназначен для крепления обрабатываемого вироби. Стол крепится к салазкам 6, которые перемещаются по направляющим поперечини 1 в горизонтальном направлении. Поперечина 1 вместе со столом перемещается в вертикальном направлении по направляющим станины.

Стол имеет горизонтальные і вертикальные руху как ручні, так і механические. Рух столу передається з вертикального шлицевого вала коробки подач і шестерен 2, 3, 14, 17 на винт 20 горизонтального переміщення стола, а через шестерни 2, 3, 14, 16, вал 12, червяк 13 і шестерню 8 — на винт 9 вертикального переміщення стола.

Горизонтальное перемещение стола одинаково для верстатів 7А311 і 7АЗЗ, а в ланцюг вертикального переміщення (для верстата 7АЗЗ) между шестернями 14 і 16 включена промежуточная шестерня. Для ручного горизонтального і вертикального переміщення стола і для удобства в работе при ручной подаче имеется съемный маховик 18. Переключают шестерни 14 для вертикального или горизонтального переміщення стола рукояткой 15. Для фиксации стола введены зажимные пристроя, которые фиксируют салазки винтом 4 і поперечину зажимами 7 в необходимом положении.

На правой рабочей поверхности стола имеется призма для строгания торцов валиков.

Трущиеся частини стола смазываются через масленки.





Електроустаткування верстата

Схема електрична поперечно-строгального верстата 7А33

Електрична схема поперечно-строгального верстата 7А33

Електрична схема поперечно-строгального верстата 7А33. Дивитись у збільшеному масштабі



Загальні відомості

На каждом станке установлено по одному трехфазному четырехскоростному короткозамкнутому асинхронному електродвигателю.

На верстатах могут применяться наступні величины напряжений переменного тока:

Заказчик выбирает рабочее напряжение силовой ланцюги і местного освещения.

Освещается рабочее место светильником з гибкой стойкой типа СГС-1-2В з лампой. Светильник смонтирован на поперечине верстата.

На верхней станине установлены кнопки керування для пуска «1» і останова «О» головного привода.

Шкаф керування установлен на задньої стенке тумбы верстата.

Ввод питающих проводов выполнен знизу через кінцівое соединение 1/2" і должен быть осуществлен проводом марки ПГВ сечением 1,5 мм2. Черного цвета провода линейные і зелено-желтого цвета провода заземления.


Первоначальный пуск

При первоначальном пуске верстата необходимо прежде всего проверить надежность заземления і качество монтажа електроустаткування внешним осмотром. При помощи вводного автомата В1 Верстат подключить к цеховой сети. При помощи кнопки керування проверить четкость срабатывания магнитного пускателя.

Опис роботи

Схема електрична принципова показана на рис. 12, схема електрична монтажная — на рис. 13. Схема розположення електроустаткування приведена на рис. 14.

Пускать електродвигатель головного приводу М следует нажатием кнопки керування «1» (22—23), которая замыкает ланцюг катушки контактора Р (23—С1), переводя его на самопитание. При етом необходимо предварительно установить необходимую скорость обертання електродвигуна посредством рукоятки переключения контроллера В2. Електродвигун головного приводу М останавливать нажатием кнопки керування «О» (В1—22).

Захист електродвигуна головного приводу і ланцюги керування от токов коротких замыканий, а также защита двигуна от длительных перегрузок осуществляется автоматическими выключателями типа АК 63-3 МГ. Захист ланцюги освещения от коротких замыканий осуществляется предохранителями ПРС-6-П.

Минимальная защита електродвигуна осуществляется магнитным пускателем при понижении напряжения в сети до 70% от номинального. Увімкнення електродвигуна возможно при напряжении не ниже 85% от номинального.


Вказівки по монтажу і експлуатации верстата

При установці верстат должен быть надежно заземлен і подключен к общей системе заземления. Для етой цели в шкафу керування і на нижней частини задньої стенки тумбы имеются клемма і болт заземления.

Внимание!

1. При подключении верстата к електросети необходимо обеспечить вращение ротора електродвигуна по стрелке на кожухе.

2. Сопротивление пристроя, используемого для заземления електроустаткування верстата, должно быть не более 4 Ом.

3. Во время експлуатации електродвигателей систематически проводить технические осмотры і профилактические ремонты. Периодичность техосмотров устанавливается в зависимости от производственных условий, но не реже одного раза в два месяца. При профилактических ремонтах следует разбирать електродвигатель, чистить (снаружи і внутри), заменять смазку підшибників.





Система змазки. Опис роботи

Схема змазки принципова показана на рис. 15.

Механізм головного руху і направляющие ползуна смазываются от плунжерного насоса. Масло поступает из маслованны через фильтр грубой очистки в насос. Плунжерный насос приводится в действие ексцентриком, получающим рух от вала приводу з помощью пары зубчатых колес. С насоса масло поступает в фильтры тонкой очистки і в маслораспределитель.

От маслораспределителя масло поступает в точки змазки механізмов. В коробке подач смазка фитильная заливается в ванну і по трубопроводам поступает к смазываемым местам.

Остальные частини верстата смазывают шприцем через пресс-масленки. Уровень масла контролируется по маслоуказателю. Сливается масло из резервуара через сливное отверстие, закрываемое пробкой.

Обслуговування смазочной системы

Перед пуском верстата необходимо:

Через 0,5..1 мин після пуска електродвигуна в контрольных глазках направляючих планок ползуна должно появиться масло.

Внимание. При отсутствии масла в контрольных глазках направляючих ползуна работать на станке запрещается. В етом случае необходимо осмотреть насос, фильтры, распределитель, трубопроводы, места их присоединения і устранить причину, мешающую нормальному поступлению масла.

Для нормальной роботи рукоятку пластинчатого фильтра следует периодически повертывать 2—3 раза для очистки фильтра. В новом станке целесообразно чистить фильтр ежедневно, один раз, а в дальнейшем достаточно чистить еженедельно.

По окончании роботи ежедневно тщательно смазывать тонким слоем масла все наружные обработанные неокрашенные поверхности верстата, обращая особое внимание на поверхности суппорта і направляющие.

Характеристика масла индустриальное 30 или соответствующего ему машинного масла:

При работе верстата контролировать уровень масла по маслоуказателям.

При заполнении маслоуказателя из коробки подач масло слить.

Заменять масло в резервуаре один раз в шесть месяцев. Ежедневно перед началом роботи следует проверять уровень масла в резервуаре. Если при остановленном станке масло ниже половины маслоуказателя, расположенного в правой верхней частини тумбы, необходимо дополнить масло в резервуар. Заливать масло следует через отверстие з пробкой, расположенное вверху около маслоуказателя. Пробка сливного отверстия расположена на боковой стенке тумбы около маслоуказателя.

Заменять смазку підшибників електродвигуна при нормальных условиях роботи следует через 4000 ч роботи, но при работе електродвигуна в пыльной і влажной среде її следует проводить чаще.

Перед набивкой свежей смазкой підшипники должны быть тщательно промыты бензином. Камеру заполнить смазкой на 2/з її объема. Рекомендуемая смазка підшибників приведена в таблице.





Налаштування, наладка і режими роботи верстата

Настройку верстата следует начинать після ознакомления з настоящим руководством. Обрабатываемое изделие закрепляют непосредственно на столе верстата или в машинных тисках, установленных на столе. Режущий инструмент закрепляют в резцедержателе суппорта.

Скорость різання определяется по таблицам режимов строгания в зависимости от обрабатываемого материала, применяемого режущего инструмента і длины строгания (хода ползуна). Исходя из выбранной скорости різання, по паспорту выбирают соответствующее число двойных ходов ползуна в минуту. Устанавливают число двойных ходов ползуна в минуту поворотом рукоятки пакетно-кулачкового контроллера.

Кривошипной рукояткой (см. рис. 9), надеваемой на квадрат кулисного вала 8, устанавливают по лимбу 7 необходимую длину ходу ползуна.

Вращая кривошипной рукояткой квадрат 4 валика (см. рис. 7), перемещают ползун, подводя різець к обрабатываемой поверхности вироби.

Налаштування подачі стола осуществляется в следующем порядке.

Рукоятку 33 (см. рис. 10) повертывают по часовий стрелке до упора.

Вращением лимба 34 устанавливают по риске требуемую величину подачі. Рукоятку 33 возвращают в первоначальное положение. Включают вал приводу поворотом рукоятки фрікциону «на себя».


Регулювання верстата

С течением часу при работе наиболее трущиеся частини верстата изнашиваются, і верстат теряет точность, поетому возникает необходимость в регулировании вузла і елементів для восстановления их нормальной роботи.

  1. Натяжение ремней приводу регулируют поворотом подмоторной плиты вместе з електродвигуном вокруг оси.
  2. Фрикционную муфту регулируют навинчиванием или отвинчиванием ползушки 10 на тяге фрікциону 4, при етом вытягивается фиксатор 11 (см. рис. 6).
  3. Зажим суппорта регулируют подтяжкой гаек 12 внутри ползуна (см. рис. 7).
  4. Износ направляючих ползуна, суппорта компенсируется подтягиванием клиньєв. При регулировке подтягиванием клиньєв зазор в направляючих должен быть не более 0,03 мм, а в направляючих ползуна — от 0,03 до 0,04 мм, при етом должно быть обеспечено свободное перемещение движущихся частин.
  5. Износ в сопряжении вертикальних і горизонтальных направляючих поперечини і салазок компенсируется клиньями 11 і 19 (см. рис. 11) з помощью регулировочных гаек 10. При регулировке подтягиванием клиньєв зазор в направляючих должен быть не более 0,03 мм, при етом должно быть свободное перемещение движущихся частин.
  6. Износ підшибників на всех вузлах регулируют компенсаторными кольцами і подтягиванием регулирующих гаек і винтов. При регулировке зазору в підшипниках должно быть обеспечено легкое вращение валов без люфта.
  7. Давление в маслосистеме регулируют подвинчиванием гвинта разгрузочного клапана 6 (см. рис. 15). Давление в трубках, идущих к отдельным местам, регулируют дросселями, установленными в маслораспределителе. Регулировать смазку окремих точок следует на первой скорости.
  8. Предохранительную муфту коробки подач регулируют гайками 36 (см. рис. 10). При регулировке необходимо обеспечить следующее:
  9. При разборке верстатів обязательно отключать верстат от електросети.

При разборке окремих вузлів верстата необходимо руководствоваться схемами, приведенными в данном руководстве.

Все крепежные детали, имеющие выход в масляные полости, установлены на бензоупорной смазке (БУ).




7А33 Верстат поперечно-строгальный. Відеоролик.




Технічні характеристики поперечно-строгального верстата 7А33

Наименование параметра 7А311 7А33
Основні параметри верстата
Класс точності верстата Н Н
Длина ходу ползуна, мм 10..200 13..320
Наибольшее сечение резца, мм 20 х 12 25 х 16
Наибольшее расстояние от опорной поверхности резца до станины (вылет), мм 280 400
Высота ползуна над рабочей поверхностью стола, мм 200 300
Стол
Розміри рабочей поверхности стола - верхней, мм 200 х 200 320 х 280
Розміри рабочей поверхности стола - боковой, мм 220 х 150 280 х 270
Наибольшее перемещение стола - горизонтальное, мм 250 360
Наибольшее перемещение стола - вертикальное, мм 150 230
Число вертикальних подач стола 12 12
Пределы вертикальних подач стола, мм/дв.ход 0,05..6 0,05..6
Число горизонтальных подач стола 12 12
Пределы горизонтальных подач стола, мм/дв.ход 0,1..1,2 0,1..1,2
Быстрое, горизонтальное перемещение стола, м/мин нет нет
Цена деления лимба, мм
Суппорт
Наибольшее вертикальное перемещение головки резца от руки, мм 70 70
Цена деления лимба, мм
Наибольший угол поворота резцовой головки вне направляючих полуна, град ±60 ±60
Наибольший угол поворота резцовой головки внутри направляючих полуна, град ±30 ±30
Наибольший угол поворота доски резцедержателя, град ±10 ±10
Наибольшая перестановка ползуна от среднего положения, мм ±85 ±135
Наибольшее допустимое усилие різання, кгс 600 1100
Число ступеней швидкостей головного приводу (переміщення ползуна) 4 4
Числа двойных ходов ползуна в минуту 53, 71, 106, 212 47, 61, 94, 186
Електроустаткування. Привод
Количество електродвигателей на станке 1 1
Електродвигун привода, кВт (об/мин) 0,8/ 1,0/ 1,4/ 1,5
700/ 900/ 1350/ 2800
1,7/ 1,9/ 2,5/ 3,0
700/ 920/ 1420/ 2800
Габарити і масса верстата
Габарити верстата (длина ширина высота), мм 1380 х 800 х 1395 1770 х 900 х 1540
Масса верстата, кг 600 900

    Список литературы:

  1. Руководство по експлуатации поперечно-строгальных станов 7А311 і 7А33, 1976

  2. Аврутин Р.Д. Справочник по гідроприводам металлорежущих верстатів,1965
  3. Гинсбург Е.Г. Производство зубчатых колес, 1978
  4. Калашников А.С. Технология изготовления зубчатых колес, 2004
  5. Копылов Р.Б. Работа на строгальных і долбежных верстатах, 1975
  6. Мильштейн М.З. Нарезание зубчатых колес, 1972.
  7. Овумян Г.Г., Адам А.И. Справочник зубореза, 1983.
  8. Сильвестров Б.Н., Захаров И.Д. Конструкція і наладка зуборезных і резьбофрезерных верстатів, 1979.
  9. Шавлюга Н.И. Расчет і примеры наладок зубофрезерных і зубодолбежных верстатів, 1978.
  10. Яковцев А.Д. Работа на строгальных і долбёжных верстатах, 1966