metalinstryment.com
Довідник по металорізальних верстатів та пресовому обладнанні

749 Верстат для фасонного строгания пуансонов
опис, характеристики, схеми

Фото поперечно-строгального двухстоечного верстата 749







Відомості про виробника поперечно-строгального верстата 749

Разработчиком і изготовителем поперечно-строгального верстата 749 является Оренбургский станкостроительный завод, ОСЗ, основанный в 1941 году.

В 1943 году на заводе освоен выпуск первых поперечно-строгальных верстатів моделі 736, а в 1945 году завод выпустил первые восемь долбежных верстатів моделі 7417.

в 1956 году Оренбургский станкостроительный завод освоил серийное производство нового поперечно-строгального верстата моделі 7Б35, долбежного верстата моделі 7А450. К 1960 году выпуск станочной продукции достиг 2000 штук в год.





Верстати, выпускаемые Оренбургским станкостроительным заводом, ОСЗ


749 Верстат поперечно-строгальный. Назначение і область применения

Поперечно-строгальный верстат 749 предназначен для обробки резцом пуансонов простого или сложного профиля в поперечном сечении как з выходом профиля на опорный торец (сквозная строжка), так і з профилем, имеющим выкружку в месте перехода от профиля пуансона к опорному торцу (несквозная строжка) з длиной обробки до 100 мм.

Точность обработанной детали не более 0,025 мм. Шероховатость обработанной поверхности V6 по ГОСТ 2789—73.

Верстат 749 може вести обработку пуансона по разметке, оттиску, а также шаблону, закрепленному на торце детали. Устанавливается преимущественно в инструментальных цехах.


Габарит робочого простору поперечно-строгального верстата 749

Габарит робочого простору. Посадочные і присоединительные базы поперечно-строгального верстата 749

Габарит робочого простору верстата 749

Габарит робочого простору поперечно-строгального верстата 749. Дивитись у збільшеному масштабі



Посадочные і присоединительные базы поперечно-строгального верстата 749

Посадочные і присоединительные базы поперечно-строгального верстата 749

Посадочные і присоединительные базы поперечно-строгального верстата 749

Посадочные і присоединительные базы поперечно-строгального верстата 749. Дивитись у збільшеному масштабі



Загальний вигляд поперечно-строгального верстата 749

фото поперечно-строгального верстата 749

Фото поперечно-строгального верстата 749

Фото поперечно-строгального верстата 749. Дивитись у збільшеному масштабі



фото поперечно-строгального верстата 749

Фото поперечно-строгального верстата 749

Фото поперечно-строгального верстата 749. Дивитись у збільшеному масштабі



фото поперечно-строгального верстата 749

Фото поперечно-строгального верстата 749

Фото поперечно-строгального верстата 749. Дивитись у збільшеному масштабі



фото поперечно-строгального верстата 749

Фото поперечно-строгального верстата 749

Фото поперечно-строгального верстата 749. Дивитись у збільшеному масштабі



фото поперечно-строгального верстата 749

Фото поперечно-строгального верстата 749


фото поперечно-строгального верстата 749

Фото поперечно-строгального верстата 749



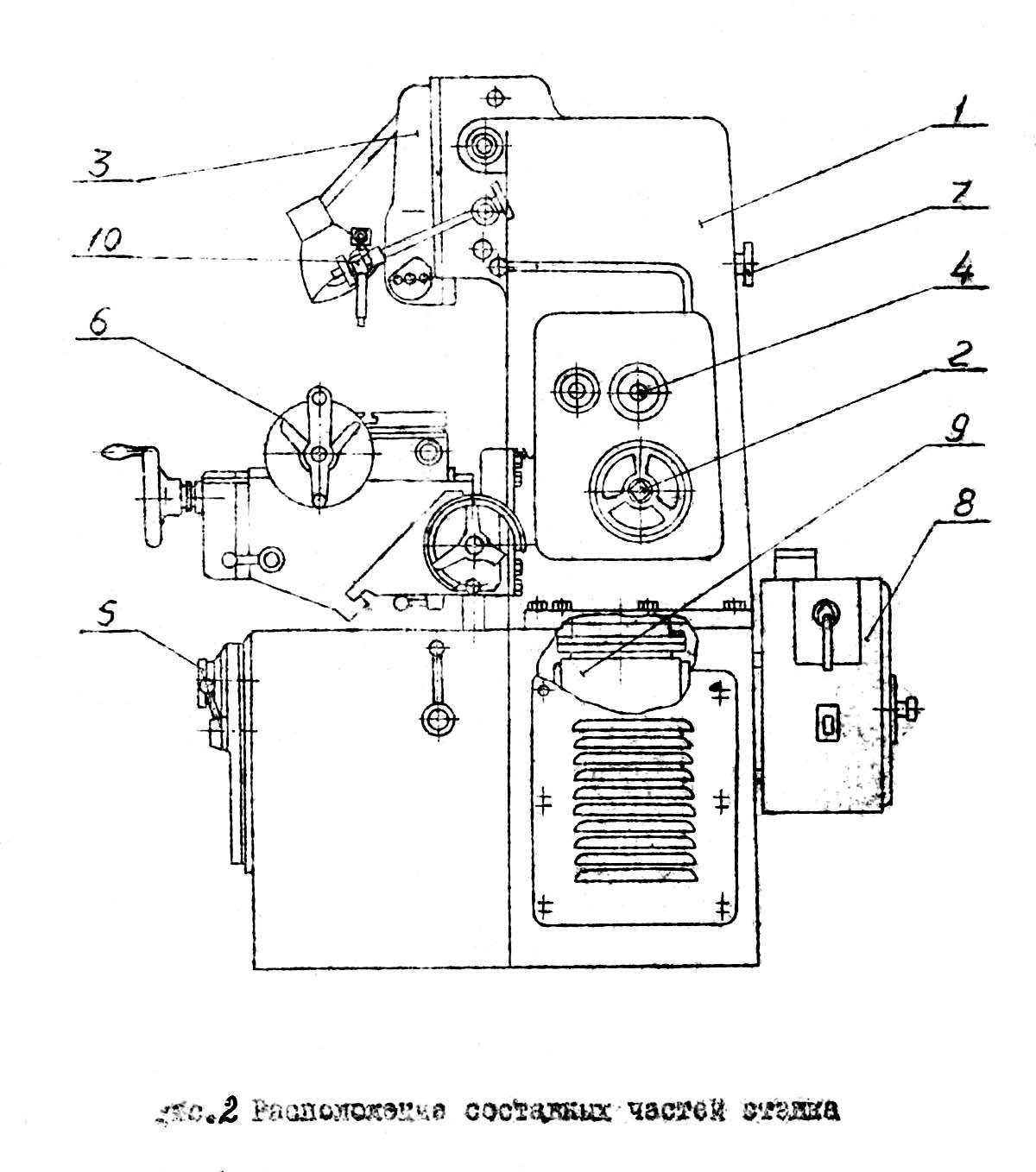
749 Розташування основних вузлів поперечно-строгального верстата 749

Розташування основних вузлів поперечно-строгального верстата 749

Розташування основних вузлів на поперечно-строгальном станке 749

Розташування основних вузлів на поперечно-строгальном станке 749. Дивитись у збільшеному масштабі



Список основних вузлів поперечно-строгального верстата 749

  1. Станина - 491001
  2. Привід - 492001
  3. Долбяк - 493001
  4. Механізм головного руху - 494001
  5. Коробка подач - 495001
  6. Стол - 496001
  7. Централизованная смазка - 497001
  8. Електроустаткування - 498001
  9. Привід коробки подач - 495101
  10. Оптическое пристрій - 496201
  11. Дополнительный столик - 496101




Розташування органів керування строгальным верстатом 749

Розташування органів керування строгальным верстатом 749

Розташування органів керування строгальным верстатом 749

1. Розташування органів керування строгальным верстатом 749. Дивитись у збільшеному масштабі

2. Розташування органів керування строгальным верстатом 749. Дивитись у збільшеному масштабі



Специфікація органів керування поперечно-строгального верстата 749

  1. Маховик для продольного переміщення стола
  2. Рукоятка для кругового переміщення стола
  3. Квадрат зажиму продольных салазок
  4. Рукоятка для фиксации поворотного стола
  5. Маховик для поперечного переміщення стола
  6. Квадрат для наклона рамы з долбяком
  7. Гайка зажиму рамы долбяка
  8. Квадрат для увімкнення поворота резца
  9. Квадрат для установки длины ходу долбяка
  10. Маховик для переміщення долбяка при налаштуванні
  11. Рукоятка переключения швидкостей електродвигуна
  12. Кнопка "Стоп" електродвигуна
  13. Кнопка "Пуск" електродвигуна
  14. Рукоятка керування фрикционом
  15. Квадрат зажиму вертикальних салазок
  16. Хвостовик вала для вертикального переміщення стола
  17. Рукоятка реверсирования подачі стола
  18. Рукоятка отключения подачі
  19. Лимб переключения подачі
  20. Рукоятка увімкнення механической поперечної подачі стола
  21. Квадрат зажиму поперечных салазок
  22. Рукоятка увімкнення поздовжньої или круговой механической подачі стола




Кінематична схема поперечно-строгального верстата 749

749 Схема кінематична строгального верстата

Кінематична схема поперечно-строгального верстата 749

Схема кінематична строгального верстата 749. Дивитись у збільшеному масштабі

Схема розположення підшибників строгального верстата 749. Дивитись у збільшеному масштабі




Схема електрична принципова строгального верстата 749

Схема електрична поперечно-строгального верстата 749

Електрична схема поперечно-строгального верстата 749

Електрична схема поперечно-строгального верстата 749. Дивитись у збільшеному масштабі



Настановне креслення поперечно-строгального верстата 749

749 Настановне креслення поперечно-строгального верстата

Настановне креслення поперечно-строгального верстата 749

Настановне креслення поперечно-строгального верстата 749. Дивитись у збільшеному масштабі







Технічні характеристики поперечно-строгального верстата 749

Наименование параметра 749
Основні параметри верстата
Класс точності верстата Н
Наибольший размер обрабатываемой детали (высота х длина х ширина), мм 100 х 180 х 170
Наибольший вес обрабатываемой детали, кг 20
Длина ходу ползуна, мм 100
Наибольшее сечение резца, мм 25 х 18
Наибольшее расстояние от опорной поверхности резца до станины (вылет), мм 280
Высота ползуна над рабочей поверхностью стола, мм 200
Стол
Розміри рабочей поверхности стола, мм 220 х 440
Диаметр рабочей поверхности стола, мм 250
Наибольшее перемещение стола продольное (на різець), мм 140
Наибольшее перемещение стола поперечное, мм 200
Наибольшее перемещение стола круговое, град 360°
Суппорт
Наибольшее допустимое усилие різання без выкружки, кгс 200
Наибольшее допустимое усилие різання з выкружкой, кгс 700
Числа двойных ходов ползуна в минуту 31,5; 40; 50; 125
Число подач суппорта
Подача продольная на один ход ползуна, мм/дв.ход 0,05..0,5
Подача поперечная на один ход ползуна, мм/дв.ход 0,05..0,5
Подача круговая на один ход ползуна, град 0,056..0,56
Електроустаткування. Привод
Количество електродвигателей на станке 1
Електродвигун приводу стола, кВт 0,6; 0,7; 1,1; 1,3
Габарити і масса верстата
Габарити верстата (длина ширина высота), мм 1640 х 840 х 1380
Масса верстата, кг 830


    Список литературы:

  1. Копылов Р.Б. Работа на строгальных і долбежных верстатах, 1975
  2. Петруха П.Г. Резание конструкционных материалов, режущие инструменты і верстати, 1974
  3. Яковцев А.Д. Работа на строгальных і долбёжных верстатах, 1966