metalinstryment.com
Довідник по металорізальних верстатів та пресовому обладнанні

7307 Верстат поперечно-строгальный
опис, характеристики, схеми

Фото поперечно-строгального двухстоечного верстата 7307



Прессы механические, прессы гідравлические, верстати поперечно-строгальные

Відомості про виробника поперечно-строгального верстата 7307

Разработчиком і изготовителем поперечно-строгального верстата 7307 является Оренбургский станкостроительный завод, основанный в 1941 году.

В 1943 году на заводе освоен выпуск первых поперечно-строгальных верстатів моделі 736, а в 1945 году завод выпустил первые восемь долбежных верстатів моделі 7417.

в 1956 году Оренбургский станкостроительный завод освоил серийное производство нового поперечно-строгального верстата моделі 7Б35, долбежного верстата моделі 7А450. К 1960 году выпуск станочной продукции достиг 2000 штук в год.

В настоящее время верстат производит ПАО «Кувандыкский завод КПО «Долина» Оренбургская обл., г. Кувандык

В настоящее время верстат производит, также, ООО СО "Прессмаш", г. Москва





Верстати, выпускаемые Оренбургским станкостроительным заводом, ОСЗ


7307 Верстат поперечно-строгальный. Назначение і область применения

Поперечно-строгальный верстат 7307 предназначен для обробки резцом плоских і фасонных поверхностей (горизонтальных, вертикальних, наклонных), а также для прорізання всевозможных пазов і канавок в деталях з длиной обробки до 500 мм. Он применяется в механических цехах машиностроительных заводов для индивидуального і мелкосерийного производства.

Принцип роботи і особливості конструкції верстата 7307

Ползун з суппортом резцовой головки з остроугольными направляющими имеет регулировочный клин для регулировки зазоров в процессе експлуатации і механізм для изменения зоны різання (однорукояточный з выборкой зазоров в резьбе). Ползун перемещается при помощи кулисного механізма.

Механическая коробка швидкостей з однорукояточным керуванням і кулисный механізм обеспечивают рух ползуна з восьмью скоростями і различной длиной ходу.

Коробка подач обеспечивает 20 подач стола.

Суппорт имеет ручную і механическую (автоматическую) (по заказу) подачі. При автоматичною подаче, супорт перемещается только вниз.

Стол имеет ручное, механическое і ускоренное переміщення. Перемещение стола в горизонтальном направлении осуществляется как автоматически, так і вручную, а в вертикальном направлении только вручную. Автоматическое горизонтальное перемещение стола осуществляется прерывисто (рабочая подача). Величина подачі устанавливается крановым механізмом.

Механізми, размещенные в станине верстата, имеют принудительную централизованную смазку. Привід верстата — от отдельного електродвигуна, включаемого з кнопочной станції.

Для сбора стружки имеется стружкосборник.

Верстат 7307 в основном виконанні изготавливается з прямоугольным неповоротным столом, а по особому заказу, за отдельную плату, — з универсальным поворотным столом.

Класс точності верстата Н по ГОСТ 9—82Е.

Точность обработанной детали до 0,03 мм на длине до 300 мм.

Чистота обробки — не менее V5.

Разработчик — Оренбургский станкостроительный завод.


Виды поверхностей, обрабатываемых на строгальных верстатах

Виды поверхностей, обрабатываемых на строгальных верстатах

Виды поверхностей, обрабатываемых на строгальных верстатах:

Положение суппорта і поворотной доски суппорта при строгании

Положение суппорта і поворотной доски суппорта при строгании

Налаштування і наладка верстата на чистовое строгание плоскости выполняется в следующей післядовательности.

1. Выбирается режим різання. В него входят глубина різання t, подача s, скорость різання v. С целью сокращения основного технологического часу Та черновое строгание следует выполнять з возможно большей глубиной різання і меньшим числом проходов i, стремясь по возможности произвести обработку за один проход.

2. Глубину різання t можно определить по формуле:

t = ∆/i,

где ∆— припуск; i — число проходов.

3. Проводится наладка верстата в післядовательности:

4. Проводится чистовое строгание плоскости. Шероховатость обработанной поверхности сравнивается з еталоном.


Габарит робочого простору. Посадочные і присоединительные базы поперечно-строгального верстата 7307

Габарит робочого простору. Посадочные і присоединительные базы поперечно-строгального верстата 7307


Загальний вигляд поперечно-строгального верстата 7307

фото поперечно-строгального верстата 7307


7307 Розташування складових частин поперечно-строгального верстата 7307

16Б05А Розташування складових частин поперечно-строгального верстата

Список складових частин поперечно-строгального верстата 7307

  1. Станина - 730710000
  2. Суппорт - 730731000-03
  3. Механізм автоматичною подачі суппорта* - 730733000
  4. Ползун - 730730000
  5. Електроустаткування - 730780000-03
  6. Коробка швидкостей - 730720000-03
  7. Механізм переключения коробки швидкостей - 730721000-03
  8. Централизованная смазка - 730770000
  9. Коробка подач - 30750000
  10. Кулисный механізм - 730740000
  11. Поперечина* - 730760000
  12. Універсальный стол** - 730761000

12. Стол*** - 730762000

* По особому заказу.

** Только у верстата з универсальным поворотным столом.

*** Только у верстата з прямоугольным неповоротным столом.


Розташування органів керування строгальным верстатом 7307

Розташування органів керування строгальным верстатом 7307

Специфікація органів керування поперечно-строгального верстата 7307

  1. Винт точного подпора стола
  2. Гайка закрепления стойки стола
  3. Упор стойки стола
  4. Хвостовик вала для ручного переміщення стола
  5. Рукоятка увімкнення і реверсирования механического переміщення стола
  6. Рукоятка керування переміщенням стола
  7. Гайка закрепления поперечини на станине
  8. Винт закрепления резца
  9. Гайка закрепления поворотной доски суппорта
  10. Рукоятка зажиму салазки суппорта
  11. Винт поджима ходового гвинта суппорта
  12. Рукоятка переміщення салазок суппорта
  13. Хвостовик вала закрепления суппорта
  14. Рукоятка установки величины механической подачі суппорта
  15. Хвостовик вала переустановки ползуна
  16. Кнопочная станція увімкнення і виключення електродвигуна головного привода
  17. Винт крепления упора механической подачі суппорта
  18. Рукоятка закрепления ползуна
  19. Рукоятка керування фрикционной муфты головного приводу (пуск і зупинка ползуна)
  20. Рукоятка установки величины механической подачі стола
  21. Рукоятка увімкнення ускоренного переміщення стола
  22. Хвостовик вала изменения длины ходу ползуна
  23. Рукоятка установки ряда чисел двойных ходов ползуна
  1. Хвостовик вала замка електрошафи
  2. Вводный автоматический выключатель
  3. Рукоятка увімкнення і виключення механізма автоматичною откидки резца при обратном ходе ползуна
  4. Гайка для регулювання силы поджатия штанги
  5. Гайка закрепления наклоняемого стола
  1. Хвостовик вала поворота наклоняемого стола в плоскости, параллельной ходу стола
  2. Гайка закрепления поворотного стола
  3. Хвостовик вала поворота стола в плоскости, перпендикулярной ходу
  4. Рукоятка очистки пластинчатого фильтра
  5. Упоры переміщення стола в горизонтальном направлении на заданный размер

Общая компоновка і особливості конструкції верстата 7307

Поперечно-строгальный верстат моделі 7307 состоит из основних вузлів. На правой стороне верстата смонтирована чугунная коробка подач, в которой находится механізм горизонтальной подачі стола.

К передньої частини верстата крепится узел стола, состоящий из поперечини, салазок і собственно стола.

На задньої частини верстата на чугунном кронштейне установлен електродвигатель.

На верхних направляючих станины собран узел ползуна, в котором з правой стороны вмонтирован механізм вертикальной механической подачі суппорта, а в передньої его частини укреплен суппорт.

Кулисный механізм, коробка швидкостей і узел змазки смонтированы внутри станины.

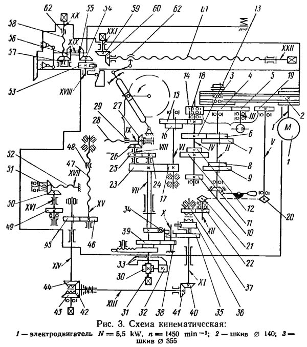
Кинематика ставка передбачає:

Рух вертикальной подачі суппорта резца

При налаштуванні на станке перемещаются вручную:





Кінематична схема поперечно-строгального верстата 7307

7307 Схема кінематична строгального верстата


Схема електрична принципова строгального верстата 7307

Схема електрична поперечно-строгального верстата 7307


Розташування електроустаткування на строгальном станке 7307

Розташування електроустаткування на строгальном станке 7307

Розташування електроустаткування на строгальном станке 7307

Електроустаткування на строгальном станке 7307

На станке установлен трехфазный короткозамкнутый асинхронный електродвигатель 4А112М4А.

На станке применяются наступні величины напряжений переменного тока при частотах 50...60 Hz:

Выбор робочого напряжения силовой ланцюги і местного освещения производит заказчик.

Для освещения робочого места смонтирован на поперечине светильник СГС-1-1В з лампой. В нише поперечини з рабочей стороны установлены кнопки керування для пуска - «1» і остановки «0» головного приводу і лампа, сигнализирующая о включении вводного автомата. Шкаф керування установлен на задньої стенке станины. Ввод питающих проводов выполнен знизу через кінцівое соединение 1/2" проводом ПГВ сечением не менее 1,5 mm2 черного цвета для линейных проводов і зелено-желтого цвета для заземления.





7307 Верстат поперечно-строгальный. Відеоролик.




Технічні характеристики поперечно-строгального верстата 7307

Наименование параметра 7Б35 7Е35 7307
Основні параметри верстата
Класс точності верстата Н Н Н
Длина ходу ползуна, мм 20..500 20..520 20..720
Наибольшее сечение резца, мм 20 х 32 20 х 32 25 х 40
Наибольшее расстояние от опорной поверхности резца до станины (вылет), мм 640 670 880
Высота ползуна над рабочей поверхностью стола, мм 90..400 90..400 90..480
Наибольшая перестановка ползуна, мм 310 310 410
Стол
Розміри рабочей поверхности стола - верхней, мм 360 х 500 360 х 500 450 х 710
Розміри рабочей поверхности стола - правой, мм 375 х 380
Розміри рабочей поверхности стола - левой, мм 375 х 380
Наибольшее перемещение стола - горизонтальное, мм 500 530 710
Наибольшее перемещение стола - вертикальное, мм 310 310 390
Число горизонтальных подач стола 16 20 20
Пределы горизонтальных подач стола, мм/дв.ход 0,3..4,8 0,2..4,0 0,2..4,0
Быстрое, горизонтальное перемещение стола, м/мин 2,2 3,0 3,0
Быстрое вертикальное перемещение стола, м/мин - 0,6 0,6
Цена деления лимба, мм 0,1 0,1 0,1
Ползун. Суппорт
Наибольшее вертикальное перемещение салазок суппорта (головки резца) от руки, мм 170 170 170
Цена деления лимба, мм 0,05 0,05 0,05
Наибольший угол поворота резцовой головки до входа в станину, град ±60 ±60 ±60
Наибольший угол поворота доски резцедержателя, град ±15 ±15 ±15
Наибольшее допустимое усилие різання, Н 18000 18000 20000
Число ступеней швидкостей головного приводу (переміщення ползуна) 8 8 8
Числа двойных ходов ползуна в минуту 12,5; 17,7; 25; 34,5; 49; 71; 100; 138 13,2; 19; 26,5; 37,5; 53; 75; 106; 150 10,6; 15; 21,2; 30; 42,5; 60; 85; 118
Число подач суппорта 6 6 6
Подачи суппорта, мм/дв.ход 0,16; 0,33; 0,50; 0,66; 0,83; 1,0 0,16; 0,33; 0,50; 0,66; 0,83; 1,0 0,16; 0,33; 0,50; 0,66; 0,83; 1,0
Електроустаткування. Привод
Количество електродвигателей на станке 1 1 1
Електродвигун приводу стола, кВт 5,5 5,5 5,5
Габарити і масса верстата
Габарити верстата (длина ширина высота), мм 2335 х 1355 х 1540 2350 х 1250 х 1550 2980 х 1400 х 1665
Масса верстата, кг 1800 2100 2800


    Список литературы:

  1. Верстати поперечно-строгальные 7305, 7305Т, 7307Г, 7307ГТ. Руководство по експлуатации 7305/ 7307Г.00.000 РЭ, 1987

  2. Копылов Р.Б. Работа на строгальных і долбежных верстатах, 1975
  3. Петруха П.Г. Резание конструкционных материалов, режущие инструменты і верстати, 1974
  4. Яковцев А.Д. Работа на строгальных і долбёжных верстатах, 1966