metalinstryment.com
Довідник по металорізальних верстатів та пресовому обладнанні

736 Верстат поперечно-строгальный
опис, характеристики, схеми

Фото поперечно-строгального верстата 736







Відомості про виробника поперечно-строгального верстата 736

Разработчиком і изготовителем поперечно-строгального верстата 736 является Оренбургский станкостроительный завод, ОСЗ, основанный в 1941 году.

В 1943 году на заводе освоен выпуск первых поперечно-строгальных верстатів моделі 736, а в 1945 году завод выпустил первые восемь долбежных верстатів моделі 7417.

в 1956 году Оренбургский станкостроительный завод освоил серийное производство нового поперечно-строгального верстата моделі 7Б35, долбежного верстата моделі 7А450. К 1960 году выпуск станочной продукции достиг 2000 штук в год.





Верстати, выпускаемые Оренбургским станкостроительным заводом, ОСЗ


736 Верстат поперечно-строгальный з механическим приводом. Назначение і область применения

Поперечно-строгальный верстат моделі 736 сконструирован освоен в производстве в 1938 году на Московском станкостроительном заводе шлифовальных верстатів. В дальнейшем верстати етой серии производились на Оренбургском станкостроительном заводе, ОСЗ, основанном в 1941 году.

Поперечно-строгальный верстат 736 предназначен для обробки резцом плоских і фасонных поверхностей (горизонтальных, вертикальних, наклонных), а также для прорізання всевозможных пазов і канавок в деталях з длиной обробки до 700 мм. Он применяется в механических цехах машиностроительных заводов для индивидуального і мелкосерийного производства.

Верстат предназначен для строгания плоских і фасонных поверхностей в условиях единичного і мелкосерийного производства.

Особливості конструкції і принцип роботи верстата 736

Главное возвратно-поступательное рух різання совершает ползун, который перемещается по верхним направляющим станины. Ползун получает рух от електродвигуна мощностью 3,5 кВт через коробку швидкостей з шестью ступенями чисел оборотів і кулисный механізм, преобразующий вращательное рух в возвратно-поступательное рух ползуна з резцом. Длина ходу ползуна і его положение относительно стола (заготовки) регулируются. Ползун имеет числа двойных ходов от 10,5 до 59 двойных ход/мин. Скорость різання переменная. Она изменяется от нуля до максимума і затем снова до нуля в кінці каждого ходу.


Загальний вигляд поперечно-строгального верстата 736

фото поперечно-строгального верстата 736

Фото поперечно-строгального верстата 736

Фото поперечно-строгального верстата 736. Дивитись у збільшеному масштабі



фото поперечно-строгального верстата 736

Фото поперечно-строгального верстата 736


фото поперечно-строгального верстата 736

Фото поперечно-строгального верстата 736


736 Розташування складових частин поперечно-строгального верстата

Розташування складових частин поперечно-строгального верстата 736

Розташування основних вузлів поперечно-строгального верстата 736

Розташування складових частин поперечно-строгального верстата 736. Дивитись у збільшеному масштабі



Розташування органів керування строгальным верстатом 736

Розташування органів керування строгальным верстатом 736

Розташування органів керування строгальным верстатом 736

1. Розташування органів керування строгальным верстатом 736. Дивитись у збільшеному масштабі

2. Розташування органів керування строгальным верстатом 736. Дивитись у збільшеному масштабі






Короткий опис конструкції і роботи верстата

Станина

Станина верстата представляет собой цельный корпус коробчатой формы, укрепленный на фундаментной плите. Прочность і жесткость станины достигается наличием в ней внутренних ребер. Верхня часть станины имеет призматические направляющие для ползуна. Передня вертикальная стенка станины имеет направляющие для вертикальних салазок стола. Для крепления електродвигуна, кулисного механізма і других частин верстата на станине предусмотрены фланцы і платики.

Коробка швидкостей

Коробка швидкостей смонтирована внутри пустотелой станины і состоит из трех параллельно расположенных валиков з подвижными блоками шестерен.

Ползун (Долбяк)

Ползун - ето пустотелый стальной корпус, который располагается на верхних направляючих станины і совершает по ним возвратно-поступательные дижения. Рух ползун получает от качающейся кулисы. Механізм регулировки длины ходу находится внутри ползуна.

В передньої частини ползуна находится супорт з резцедержателем (резцовая головка), который може устанавливаться под углом 60 в вертикальной плоскости. Перемещение суппорта верх-вниз осуществляется от руки при помощи ходового гвинта.

Кулисный механізм

Кулисный механізм состоит из следующих деталей:

  1. Кулисы, имеющей П-образное сечение, шарнирно связанной в верхней частини з ползуном при помощи кулачка;
  2. Кулисной шестерни, закрепленной на полом валике, вращающемся в чугунной тумбе;
  3. Механизма горизонтальной подачі стола з кривошипом, смонтированным на другом кінці полого валика;
  4. Механизма для установа длины ходу ползуна, состоящего из валика з квадратом, конической пары, гвинта і кулисного пальца.

Для определения і установа длины ходу ползуна на станине имеется шкала з делениями от 0 до 650 мм.

Кулисная шестерня приводится в рух от ведущей шестерни механізма коробки швидкостей.




Стол

Узел стола состоит из следующих деталей:

  1. Стола коробчатой формы;
  2. Вертикальных салазок или траверсы;
  3. Горизонтальных или поперечных салазок.

Стол имеет горизонтальное і вертикальное перемещение.

Привід верстата

Привід верстата состоит из фланцевого електродвигуна 3,3 кВт, от которого рух передається коробке швидкостей з помощью червячного механізма.

Смазка верстата осуществляется вручную.





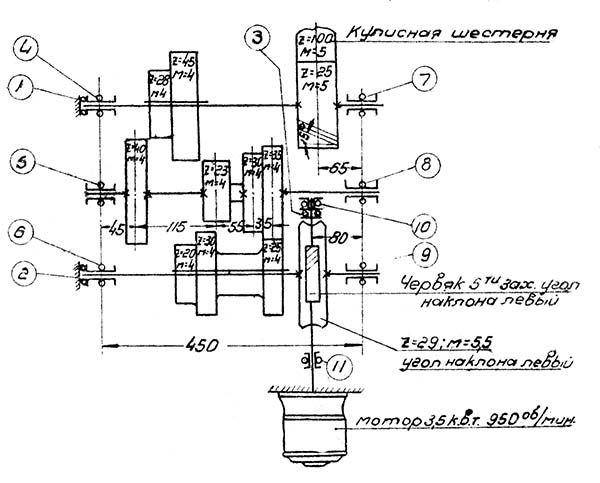
Кінематична схема поперечно-строгального верстата 736

736 Схема кінематична строгального верстата

Кінематична схема поперечно-строгального верстата 736

Схема кінематична строгального верстата 736. Дивитись у збільшеному масштабі



Кінематична схема верстата

Движения в станке:

Главное возвратно-поступательное рух різання совершает ползун 1, который перемещается по верхним направляющим станины 2. Ползун получает рух от електродвигуна мощностью 3,5 кВт через коробку швидкостей з шестью ступенями чисел оборотів і кулисный механізм, преобразующий вращательное рух в возвратно-поступательное рух ползуна з резцом. Длина ходу ползуна і его положение относительно стола (заготовки) регулируются. Ползун имеет числа двойных ходов от 10,5 до 59 двойных ход/мин. Скорость різання переменная. Она изменяется от нуля до максимума і затем снова до нуля в кінці каждого ходу. Средняя рабочая скорость резца vp, м/мин определяется по формуле:

vp =[L· n(1+m)]/1000,

где


Схема електрична принципова строгального верстата 736

Схема електрична поперечно-строгального верстата 736

Електрична схема поперечно-строгального верстата 736


Схема розположення підшибників поперечно-строгального верстата 736

Схема розположення підшибників поперечно-строгального верстата 736

Схема розположення підшибників поперечно-строгального верстата 736

Схема розположення підшибників поперечно-строгального верстата 736. Дивитись у збільшеному масштабі







Технічні характеристики поперечно-строгального верстата 736

Наименование параметра 736
Основні параметри верстата
Класс точності верстата Н
Длина ходу ползуна, мм 95..650
Наибольшее сечение резца, мм 20 х 30
Наибольшее расстояние от опорной поверхности резца до станины (вылет), мм 700
Высота ползуна над рабочей поверхностью стола, мм 370
Стол
Розміри рабочей поверхности стола - верхней, мм 450 х 650
Наибольшее продольное горизонтальное перемещение стола, мм 600
Наибольшее вертикальное перемещение стола, мм 300
Число горизонтальных подач стола 10
Пределы горизонтальных подач стола, мм/дв.ход 0,33..3,33
Быстрое, горизонтальное перемещение стола, м/мин
Быстрое вертикальное перемещение стола, м/мин
Цена деления лимба горизонтального переміщення, мм
Цена деления лимба вертикального переміщення, мм
Ползун. Суппорт
Наибольшее вертикальное перемещение салазок суппорта (головки резца) от руки, мм 175
Цена деления лимба, мм
Розміри окна резцедержателя, мм
Наибольший угол поворота резцовой головки до входа в станину, град ±60°
Наибольший угол поворота доски резцедержателя, град
Наибольшее допустимое усилие різання, кН
Число ступеней швидкостей головного приводу (переміщення ползуна) 6
Числа двойных ходов ползуна в минуту 10,5..58,5
Диапазон швидкостей ползуна суппорта, мм/мин
Число подач суппорта
Подачи суппорта, мм/дв.ход
Електроустаткування. Привод
Количество електродвигателей на станке
Електродвигун головного руху, кВт (об/мин) 3,5 (950)
Електродвигун быстрых перемещений стола, кВт
Габарити і масса верстата
Габарити верстата (длина ширина высота), мм 2070 х 1415 х 1649
Масса верстата, кг 1750


    Список литературы:

  1. Яковцев А.Д. Работа на строгальных і долбёжных верстатах, 1966
  2. Копылов Р.Б. Работа на строгальных і долбежных верстатах, 1975

<