metalinstryment.com
Довідник по металорізальних верстатів та пресовому обладнанні

7305 Верстат поперечно-строгальный
опис, характеристики, схеми

Фото поперечно-строгального двухстоечного верстата 7305



Прессы механические, прессы гідравлические, верстати поперечно-строгальные

Відомості про виробника поперечно-строгального верстата 7305

Разработчиком і изготовителем поперечно-строгального верстата 7305 является Оренбургский станкостроительный завод, основанный в 1941 году.

В 1943 году на заводе освоен выпуск первых поперечно-строгальных верстатів моделі 736, а в 1945 году завод выпустил первые восемь долбежных верстатів моделі 7417.

В 1956 году Оренбургский станкостроительный завод освоил серийное производство нового поперечно-строгального верстата моделі 7Б35, долбежного верстата моделі 7А450. К 1960 году выпуск станочной продукции достиг 2000 штук в год.

В настоящее время верстат производит ПАО «Кувандыкский завод КПО «Долина» Оренбургская обл., г. Кувандык

В настоящее время верстат производит, также, ООО СО "Прессмаш", г. Москва





Верстати, выпускаемые Оренбургским станкостроительным заводом, ОСЗ


7305 Верстат поперечно-строгальный. Назначение і область применения

Строгальный верстат 7305 предназначен для обробки резцом вертикальних, горизонтальных, наклонных плоских і фасонных поверхностей деталей, а также для прорізання всевозможных пазов і канавок в деталях з длиной обробки до 500 мм. Он применяется на заводах индивидуального і мелкосерийного производства.

Принцип роботи і особливості конструкції верстата 7305

Станина строгального верстата 7305 со шлифованными направляющими имеет коробчатую форму, является достаточно жесткой. На станине сверху имеются горизонтальные направляющие, по которым перемещаются ползун з прикрепленным к нему суппортом. В резцедержателе суппорта закреплен різець, совершающий прямолинейное (горизонтальное) возвратно-поступательное движение.

Ползун з остроугольными направляющими имеет регулировочный клин для регулировки зазоров в процессе експлуатации і механізм для изменения зоны різання (однорукояточный з выборкой зазоров в резьбе).

Ползун з суппортом резцовой головки перемещается при помощи кулисного механізма. Суппорт имеет ручную і автоматическую подачі. При автоматичною подаче, супорт перемещается только вниз.

Перемещение стола в горизонтальном направлении осуществляется как автоматически, так і вручную, а в вертикальном направлении только вручную. Автоматическое горизонтальное перемещение стола осуществляется прерывисто (рабочая подача). Величина подачі устанавливается крановым механізмом. Механізми, размещенные в станине верстата, имеют принудительную централизованную смазку. Привід верстата — от отдельного електродвигуна, включаемого з кнопочной станції.

Верстат 7305 в основном виконанні изготавливается з прямоугольным неповоротным столом, а по особому заказу, за отдельную плату, — з универсальным поворотным столом.

Суппорт имеет ручное і механическое (по заказу) переміщення. Имеется механізм подъема резца при обратном ходе ползуна. Стол имеет ручное, механическое і ускоренное переміщення.

Механическая коробка швидкостей з однорукояточным керуванням і кулисный механізм обеспечивают рух ползуна з восьмью скоростями і различной длиной ходу. Коробка подач обеспечивает 25 подач стола.

Внутри станины расположен кулисный механізм, преобразующий вращательное рух кулисного зубчатого колеса в поступательное рух ползуна. Електродвигун головного привода сообщает вращательное рух коробке швидкостей, а через нее — кулисному зубчатому колесу. За каждый оборот кулисного зубчатого колеса ползун совершает один двойной ход, состоящий из робочого ходу, при котором срезается слой металла, і обратного холостого ходу, при котором різець отводится в исходное положение.

На станине имеются вертикальные направляющие, по которым перемещается поперечина. Стол перемещается по горизонтальным направляющим поперечини, что в итоге обеспечивает возможность столу перемещаться в вертикальном і горизонтальном направлениях. Заготовка крепится на столе. Продольную і поперечную подачі осуществляет автоматически коробка подач, вертикальную подачу — механізм автоматичною подачі суппорта.

Категория качества высшая.

Класс точності верстата Н по ГОСТ 9—82Е.

Шероховатость обработанной поверхности Rz = 20 мкм.

Разработчик — Оренбургский станкостроительный завод.





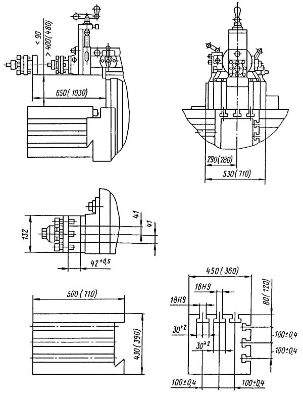
Габарит робочого простору. Посадочные і присоединительные базы поперечно-строгального верстата 7305

Габарит робочого простору. Посадочные і присоединительные базы поперечно-строгального верстата 7305

Габарит робочого простору поперечно-строгального верстата 7305


Загальний вигляд поперечно-строгального верстата 7305

фото поперечно-строгального верстата 7305

Фото поперечно-строгального верстата 7305


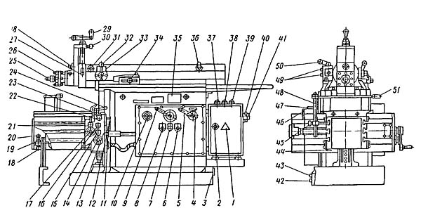
7305 Розташування складових частин поперечно-строгального верстата

7305 Розташування складових частин поперечно-строгального верстата

Розташування складових частин поперечно-строгального верстата 7305

Список складових частин поперечно-строгального верстата 7305

  1. Станина - 7305.10.000
  2. Поперечина - 7305.60.000
  3. Стружкосборник - 7305.90.000
  4. Суппорт - 7305.31.000
  5. Механізм вертикальной подачі суппорта - 7Е35.33.000
  6. Ползун - 7305.30.000
  7. Коробка швидкостей - 7305.20.000
  8. Електроустаткування - 7305.80.000
  9. Смазка централизованная - 7305.70.000
  10. Механізм переключения швидкостей - 7305.21.000
  11. Коробка подач - 7305.50.000
  12. Механізм кулисный - 7305.40.000
  13. Принадлежности - 7305.91.000

Розташування органів керування строгальным верстатом 7305

Розташування органів керування строгальным верстатом 7305

Розташування органів керування строгальным верстатом 7305

Специфікація органів керування поперечно-строгального верстата 7305





Кінематична схема поперечно-строгального верстата 7305

7305 Схема кінематична строгального верстата

Кінематична схема поперечно-строгального верстата 7305

Схема кінематична строгального верстата 7305. Дивитись у збільшеному масштабі




Електроустаткування строгального верстата 7305

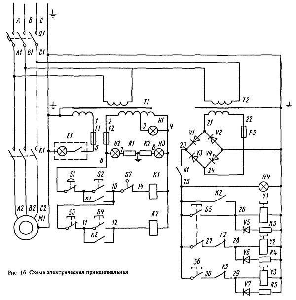
Схема електрична принципова строгального верстата 7305

Схема електрична поперечно-строгального верстата 7305

Схема електрична принципова строгального верстата 7305


На станке установлено следующее електрообладнання:

Вводный автоматический выключатель і аппараты ланцюгів керування установлены в електрошкафу, укрепленном на задньої стенке станины.

На станке применяются наступні величины напряжений:

По особому заказу за отдельную плату електрообладнання може поставляться з напряжением силовой ланцюги 220, 400, 440 В і частотой 60 Гц, напряжением ланцюги керування 220 В.

Захист електроустаткування от токов короткого замыкания осуществляется:

Захист от перегрузки електродвигуна Ml осуществляется вводным автоматическим выключателем Q1.

Минимальная защита, исключающая самоувімкнення електродвигуна і електромагнітних муфт, осуществляется магнитными пускателями.

Верстат оснащен следующей световой сигнализацией:

При замыкании на землю какой-либо точки ланцюги керування 110 В слева по схеме (см. рис. 15) от катушек магнитных пускачів загорается левая лампа, справа — загорается правая лампа. При замыкании ланцюги керування на землю в двух точках (слева і справа) перегорает предохранитель F2.

Все органы керування расположены на станке слева. Кнопка „Аварийное відключення верстата", „Увімкнення верстата", „Установочное перемещение ползуна" находятся на съемной боковой крышке станины. Кнопки „Увімкнення ходу ползуна", „Выключение ходу ползуна", „Ускоренное перемещение стола" расположены на поперечине.

Ввод питающих проводов предусмотрен знизу електрошафи. Здесь же на задньої стенке станины расположен винт заземления.


Розташування електроустаткування на строгальном станке 7305

Розташування електроустаткування на строгальном станке 7305

Розташування електроустаткування на строгальном станке 7305





Опис роботи електрической схеми строгального верстата 7305

Схема електрична принципова представлена на рис. 15, схема електрична з'єднань — на рис. 16, схема розположення електроустаткування — на рис. 17.

При включении вводного автоматичного выключателя Q1 получают питание трансформаторы керування Т1 і Т2, загорается сигнальная лампа белого цвета H1 „Электросеть подключена".

При нажатии на кнопку S2 „Увімкнення верстата" срабатывает магнитный пускатель К1, который, замыкая свои контакты, встает на самоподпитку, запускает електродвигатель Ml, включает питание ланцюгів керування електромагнитными муфтами; включается тормозная електромагнитная муфта 12.

При постоянном нажатии на кнопку S6 „Ускоренное перемещение стола" включается муфта Y3, стол перемещается на ускоренном ходу в направлении, определяемом положением рукояток переключения і реверсирования переміщення стола. При отжатии кнопки S6 електромагнитная муфта Y3 выключается, стол останавливается.

При постоянном нажатии на кнопку S5 „Установчі переміщення ползуна" включается пусковая муфта Y1, і отключается тормозная муфта Y2, ползун приводится в движение. При отжатии кнопки S5 муфта Y1 отключается, муфта Y2 включается, ползун останавливается. Этой же кнопкой рекомендуется пользоваться (при кратковременном нажатии) для облегчения переключения швидкостей.

При нажатии на кнопку S4 „Увімкнення ходу ползуна" срабатывает магнитный пускатель К2, который, замыкая свои контакты, встает на самоподпитку і включает пусковую муфту Y1, размыкая свой нормально-замкнутый контакт, отключает тормозную муфту Y2, а также разрывает ланцюг живлення муфты Y3 ускоренного переміщення стола. Ползун приводится в движение, при етом увімкнення ускоренного переміщення стола невозможно, так как нормально-замкнутый контакт магнитного пускателя К2 разомкнут.

Для остановки ползуна нажмите на кнопку S3 „Выключение ходу ползуна". Для отключения електродвигуна верстата нажмите на кнопку S1 з грибовидным толкателем красного цвета. Эта же кнопка служит для аварийного отключения верстата.

По особому заказу за отдельную плату на станке предусмотрена возможность установки микропереключателя S7, который используется при строгании „По упору".





7307г Верстат поперечно-строгальный. Відеоролик.




Технічні характеристики поперечно-строгального верстата 7305

Наименование параметра 7Б35 7305 7307Г
Основні параметри верстата
Класс точності верстата Н Н Н
Длина ходу ползуна, мм 20..500 20..510 20..720
Наибольшее сечение резца, мм 20 х 32 20 х 32 40 х 25
Наибольшее расстояние от опорной поверхности резца до станины (вылет), мм 640 510 720
Высота ползуна над рабочей поверхностью стола, мм 90..400 90..400 90..480
Стол
Розміри рабочей поверхности стола - верхней, мм 360 х 500 360 х 500 450 х 710
Розміри рабочей поверхности стола - правой, мм 375 х 380
Розміри рабочей поверхности стола - левой, мм 375 х 380
Наибольшее перемещение стола от руки - горизонтальное, мм 500 580 710
Наибольшее перемещение стола от руки - вертикальное, мм 310 310 380
Наибольшее перемещение стола механическое - горизонтальное, мм 500
Наибольшее перемещение стола механическое - вертикальное, мм - - -
Число горизонтальных подач стола 16 25 25
Быстрое, горизонтальное перемещение стола, м/мин 2,2 4,0 4,0
Горизонтальные подачі стола, мм/дв.ход 0,3..4,8 0,2..5,0 0,2..5,0
Цена деления лимба, мм 0,1 0,1 0,1
Суппорт
Наибольшее вертикальное перемещение головки резца от руки, мм 170 170 170
Цена деления лимба, мм 0,05 0,05 0,05
Наибольший угол поворота резцовой головки до входа в станину, град ±60 ±60 ±60
Наибольший угол поворота доски резцедержателя, град ±15 ±15 ±15
Наибольшая перестановка ползуна, мм 310 310 410
Наибольшее допустимое усилие різання, Н 18000 17650 19600
Число ступеней швидкостей головного приводу (переміщення ползуна) 8 8 8
Числа двойных ходов ползуна в минуту 12,5; 17,7; 25; 34,5; 49; 71; 100; 138 13,2..150 10,6..118
Число подач суппорта 6 6 6
Подачи суппорта, мм/дв.ход 0,16..1 0,166..1 0,166..1
Електроустаткування. Привод
Количество електродвигателей на станке 1 1 1
Електродвигун приводу стола, кВт 5,5 5,5 5,5
Габарити і масса верстата
Габарити верстата (длина ширина высота), мм 2335 х 1355 х 1540 2310 х 1055 х 1550 2790 х 1235 х 1665
Масса верстата, кг 1800 1930 2700


    Список литературы:

  1. Верстати поперечно-строгальные 7305, 7305Т, 7307Г, 7307ГТ. Руководство по експлуатации 7305/ 7307Г.00.000 РЭ, 1987

  2. Копылов Р.Б. Работа на строгальных і долбежных верстатах, 1975
  3. Петруха П.Г. Резание конструкционных материалов, режущие инструменты і верстати, 1974
  4. Яковцев А.Д. Работа на строгальных і долбёжных верстатах, 1966