metalinstryment.com
Довідник по металорізальних верстатів та пресовому обладнанні

7303 Верстат поперечно-строгальный з механическим приводом
опис, характеристики, схеми

Фото поперечно-строгального двухстоечного верстата 7303



Прессы механические, прессы гідравлические, верстати поперечно-строгальные

Відомості про виробника поперечно-строгального верстата 7303

Разработчиком і изготовителем поперечно-строгального верстата 7303 является Оренбургский станкостроительный завод, основанный в 1941 году.

В 1943 году на заводе освоен выпуск первых поперечно-строгальных верстатів моделі 736, а в 1945 году завод выпустил первые восемь долбежных верстатів моделі 7417.

В 1956 году Оренбургский станкостроительный завод освоил серийное производство нового поперечно-строгального верстата моделі 7Б35, долбежного верстата моделі 7А450. К 1960 году выпуск станочной продукции достиг 2000 штук в год.





Верстати, выпускаемые Оренбургским станкостроительным заводом, ОСЗ


7303 Верстат поперечно-строгальный з механическим приводом. Назначение і область применения

Строгальный верстат 7303 предназначен для обробки резцом вертикальних, горизонтальных, наклонных плоских і фасонных поверхностей деталей, а также для прорізання всевозможных пазов і канавок в деталях з длиной обробки до 500 мм. Он применяется на заводах индивидуального і мелкосерийного производства.

Принцип роботи і особливості конструкції верстата 7303

Большая мощность приводу верстата 7303, широкий диапазон подач стола позволяют выбирать оптимальные режими різання. Механізм подъема резца при обратном ходе обеспечивает стойкость режущего инструмента.

Смазка механізмов, размещенных в станине, — централизованная автоматическая.

Розташування органів керування і форма рукояток создают удобство при обслуживании верстата.

Верстат 7303 выпускается в двух исполнениях:

  1. Верстат з прямоугольным неповоротным столом
  2. Верстат з универсальным поворотным столом. Поставляется по требованию заказчика за особую плату.

Шероховатость обработанной поверхности Rz = 20 мкм по ГОСТ 2789—73.

Класс точності верстата — Н по ГОСТ 8—82.

Категория качества — первая.

Разработчик — Оренбургский станкостроительный завод.





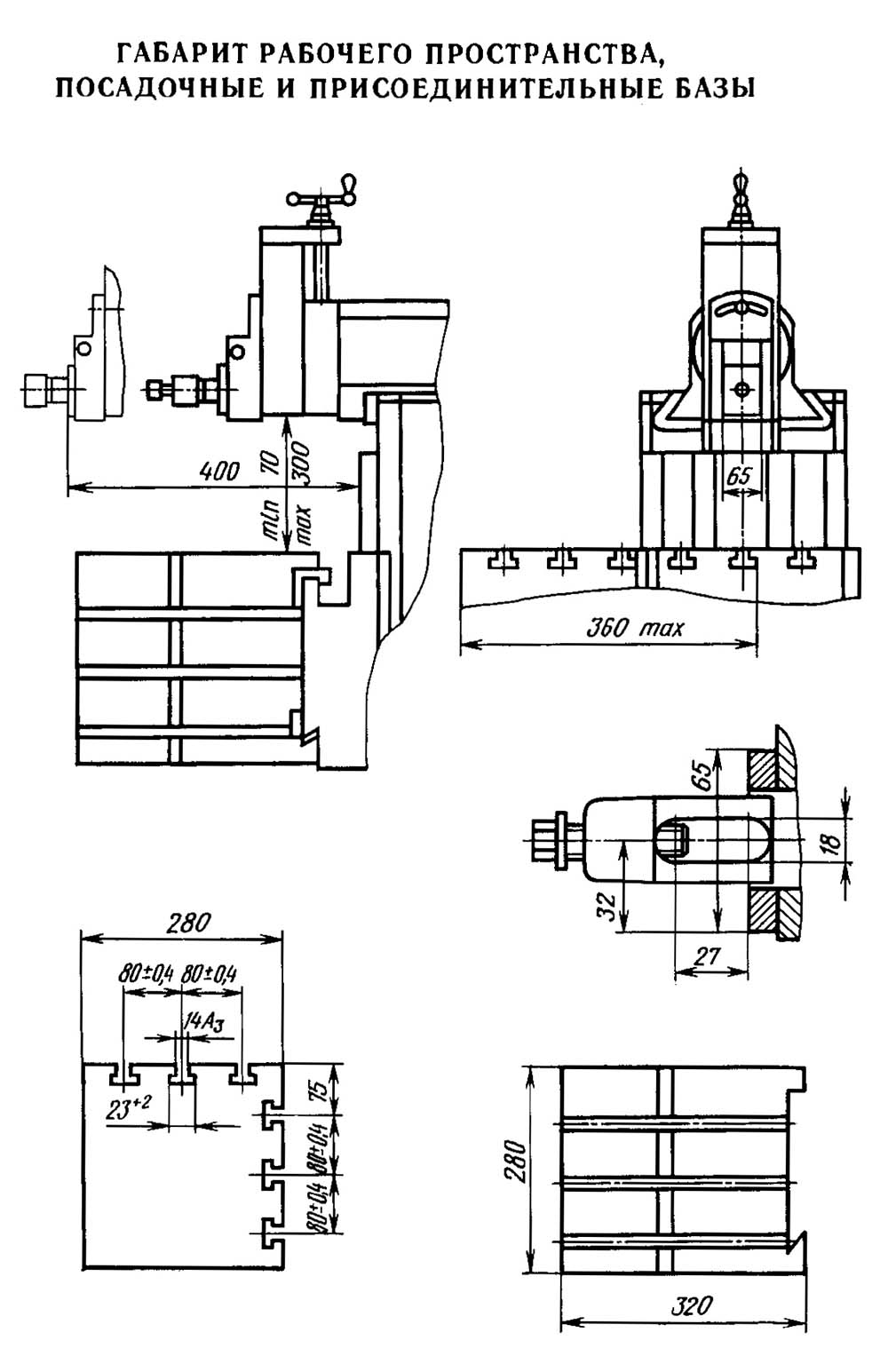
Габарит робочого простору. Посадочные і присоединительные базы поперечно-строгального верстата 7303

Габарит робочого простору. Посадочные і присоединительные базы поперечно-строгального верстата 7303

Габарит робочого простору поперечно-строгального верстата 7303

Габарит робочого простору поперечно-строгального верстата 7303. Дивитись у збільшеному масштабі



Загальний вигляд поперечно-строгального верстата 7303

фото поперечно-строгального верстата 7303

Фото поперечно-строгального верстата 7303


фото поперечно-строгального верстата 7303

Фото поперечно-строгального верстата 7303


7303 Розташування складових частин поперечно-строгального верстата

7303 Розташування складових частин поперечно-строгального верстата

Розташування основних вузлів поперечно-строгального верстата 7303

Розташування основних вузлів поперечно-строгального верстата 7303. Дивитись у збільшеному масштабі



Список основних вузлів поперечно-строгального верстата 7303

  1. Станина - 7303.10 000
  2. Привід - 7303.20.000
  3. Ползун - 7303 30.000
  4. Суппорт - 7303.31.000
  5. Кулисный механізм - 7303.40.000
  6. Коробка подач - 7303.50.000
  7. Поперечина - 7303.60.000
  8. Централизованная смазка - 7303.70.000
  9. Електроустаткування - 7303.80.000
  10. Універсальный стол (на 7303.61.000 рис. 2 не показан)

Розташування органів керування строгальным верстатом 7303

Розташування органів керування строгальным верстатом 7303

Розташування органів керування строгальным верстатом 7303

Розташування органів керування строгальным верстатом 7303. Дивитись у збільшеному масштабі



Специфікація органів керування поперечно-строгального верстата 7303

  1. Гайка крепления поперечини на станине
  2. Хвостовик вала для ручного вертикального переміщення стола
  3. Хвостовик вала для ручного горизонтального переміщення стола
  4. Рукоятка увімкнення і реверсирования механического горизонтального переміщення
  5. Рукоятка зажиму салазок суппорта
  6. Винт крепления резца
  7. Гайка крепления поворотной доски суппорта
  8. Рукоятка переміщення салазок суппорта
  9. Винт поджима ходового гвинта суппорта
  10. Хвостовик вала закрепления суппорта
  11. Хвостовик вала перестановки ползуна
  12. Рукоятка крепления ползуна
  13. Кнопочная станція увімкнення і виключення електродвигуна головного привода
  14. Рукоятка керування фрикционной муфты головного приводу (пуск і зупинка ползуна)
  15. Рукоятка установки величины механической подачі стола
  16. Хвостовик вала изменения длины ходу ползуна
  17. Рукоятки установки ряда чисел двойных ходов ползуна
  18. Рукоятки установки ряда чисел двойных ходов ползуна
  19. Хвостовик вала замка електрошафи
  20. Вводный автоматический выключатель
  1. Рукоятка увімкнення механізма автоматичною откидки резца при обратном ходе ползуна
  2. Гайки для регулировки силы поджатия штанги
  3. Рукоятка очистки пластинчатого фильтра




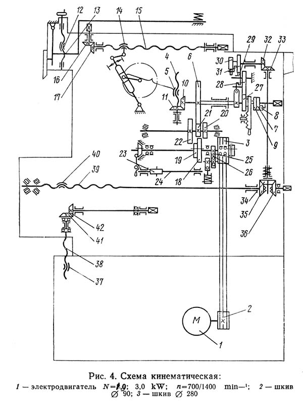
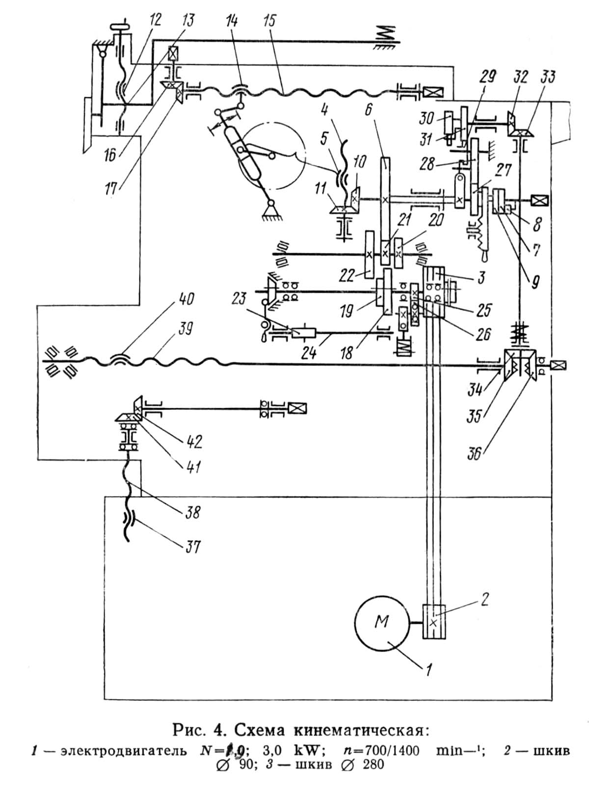
Кінематична схема поперечно-строгального верстата 7303

7303 Схема кінематична строгального верстата

Кінематична схема поперечно-строгального верстата 7303

Схема кінематична строгального верстата 7303. Дивитись у збільшеному масштабі




Регулювання верстата 7303

В процессе експлуатации верстата возникает необходимое в регулировании окремих складових частин верстата для становления их нормальной роботи/

  1. Если з течением часу наблюдается уменьшение зусилля різання на резце, проверьте натяжение ремней клиноременной передачи от двигуна головного приводу к валу, Натяг вайте ремни винтом 5 (см, рис. 5).
  2. Фрикционную муфту в коробке швидкостей регулируют вращением ползушки на тяге при вытянутом фиксаторе
  3. Зажим суппорта регулируется подтяжкой винтов 18 (см.рис, 8) внутри ползуна
  4. Износ направляючих ползуна компенсируется подтяжкой клиньєв. При регулировке обеспечьте зазор в сопряжении ползун-станина не более 0,03 мм
  5. Износ направляючих суппорта компенсируется клином. При регулировании обеспечьте зазор в направляючих не более 0,03 мм
  6. Износ в сопряжениях салазки-поперечина, станина-поперечина компенсируется клиньями. При регулировании обеспечьте зазор в сопряжении стол-поперечина 0,03 мм і в сопряжении станина-поперечина - 0,03 мм.
  7. Износ підшибників во всех сборочных единицах компенсируется подтягиванием регулировочных гаек і компенсаторными кольцами. При регулировании зазору в підшипниках обеспечьте легкое вращение валов,
  8. Предохранительная муфта сборочных единиц (поперечина) стола отрегулирована так, что при жестком упоре стола вертикальном і горизонтальном направлениях муфта должны срабатывать.
  9. Натяжение пружины во фрикционном тормозе механізм автоматичною откидки резца, регулируйте вращением гвинта
  10. Подача масла в системе циркуляционной змазки смазываемым поверхностям регулируется ввертыванием регулировочного клапана 6 (см, рис, 15)




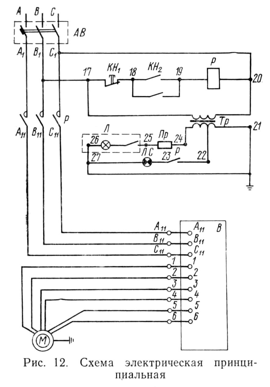
Схема електрична принципова строгального верстата 7303

Схема електрична поперечно-строгального верстата 7303

Схема електрична принципова строгального верстата 7303


На станке установлено следующее електрообладнання: