metalinstryment.com
Довідник по металорізальних верстатів та пресовому обладнанні

6Б75ВФ1 Верстат фрезерный універсальний високою точності
схеми, опис, характеристики

Загальний вигляд  фрезерного верстата 6Б75ВФ1 універсального







Відомості про виробника фрезерного універсального верстата 6Б75ВФ1

Фрезерный універсальний верстат моделі 6Б75ВФ1 выпускался предприятием Одесский завод фрезерных верстатів им. С.М.Кирова, ОЗФС, основанный в 1944 году, который разрабатывал і производил фрезерные верстати универсальных моделей.





Верстати, выпускаемые Одесским заводом фрезерных верстатів


6Б75ВФ1 Верстат фрезерный універсальний високою точності. Назначение і область применения

Инструментальный універсальний верстат 6Б75ВФ1 выпускался Одесским заводом фрезерных верстатів в 70-х годах прошлого века і заменил устаревшие верстати 6а75в.

В свою очередь верстат моделі 6Б75ВФ1 был заменен более продвинутой моделью - 6720в.

універсальний фрезерный верстат високою точності моделі 6Б75ВФ1 предназначен для фрезерування деталей цилиндрическими, дисковыми і фасонными фрезами при помощи горизонтального шпинделя, і торцовыми, кінцівыми і шпоночными фрезами при помощи поворотного вертикального шпинделя, который при необходимости може быть повернут под углом.

Верстат 6Б75ВФ1 применяется в единичном і мелкосерийном производстве в инструментальных і механических цехах машиностроительных предприятий.

Принцип роботи і особливості конструкції верстата

Обрабатываемая деталь може быть установлена на основном столе з вертикальной рабочей плоскостью или на угловом столе з горизонтальной рабочей плоскостью. Для обробки наклонных поверхностей деталь може устанавливаться на универсальном столе.

Для обробки деталей, требующих деления, могут быть использованы круглый стол либо делительная головка.

Используя резцовую, быстроходную, долбежную головки і комплект вспомогательного инструмента, можно выполнять на станке расточные, сверлильные і долбежные роботи. Подробное опис етих устройств приводится ниже.

К верстату 6Б75ВФ1 прилагается удобный для пользования високою точності шкаф, а также комплект пристосувань і инструмента.

Технологические возможности верстата могут быть значительно расширены применением приладдя і пристосувань, поставляемых за особую плату.

На станке можно выполнять ряд фрезерных і расточных работ з високою точностью, которая може быть достигнута, если верстат установлен в помещении з постоянной температурой 20±2°С і влажностью 65±5%, если вблизи верстата нет источников тепла і вибрации. На станке можно выполнять, также, сверление і рассверливание, долбление, центрование, цекование, зенкерование, развертывание, растачивание.

Наличие двух шпинделей горизонтального і поворотного вертикального, а также большого количества приладдя к верстату, делает его широкоуниверсальным і удобным для роботи в инструментальных цехах машиностроительных заводов при изготовлении пристосувань, инструмента, рельефных штампов і прочих изделий.

Широкий диапазон оборотів шпинделя і подач, наличие механических подач і быстрых перемещений обеспечивают економичную обработку различных деталей в оптимальных режимах.

Класс точності верстата В. Шероховатость обработанной поверхности V6. Точность установки координат 0,01 мм (для 6Б75ВФ1).


Основні характеристики фрезерного універсального верстата 6Б75

Производитель: Одесский завод фрезерных верстатів им. С.М.Кирова.





Габаритные розміри робочого простору і присоединительные базы верстата 6Б75ВФ1

Габаритные розміри робочого простору і присоединительные базы верстата 6Б75ВФ1

Габаритные розміри робочого простору верстата 6Б75ВФ1


Загальний вигляд універсального фрезерного верстата 6Б75ВФ1

Загальний вигляд  універсального фрезерного верстата 6Б75ВФ1

Фото фрезерного універсального верстата 6Б75ВФ1


Загальний вигляд  універсального фрезерного верстата 6Б75ВФ1

Фото фрезерного універсального верстата 6Б75ВФ1


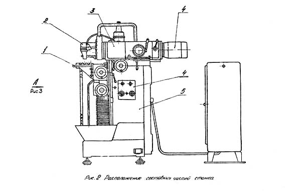
Розташування складових частин фрезерного універсального верстата 6Б75ВФ1

Розташування складових частин фрезерного універсального верстата 6Б75ВФ1

Розташування складових частин фрезерного верстата 6Б75ВФ1


Розташування складових частин фрезерного універсального верстата 6Б75ВФ1

Розташування складових частин фрезерного верстата 6Б75ВФ1


Список складових частин універсального фрезерного верстата 6Б75ВФ1

  1. Стол угловой горизонтальный - 6А75В.81.001
  2. Хобот - 6Б75В.807.001
  3. Бабка шпиндельна - 6Б75В.60.001
  4. Електроустаткування - 6Б75В.90.001
  5. Станина - 6Б75В.70.001
  6. Суппорт - 6A75B.3A.001
  7. Съемник - 6Б75В.801.001
  8. Головка вертикальная - 6Б75В.40.001
  9. Пульт - 6A75B.92A.00l
  10. Электрошкаф - 6Б75В.91.001
  11. Стол угловой універсальний - 6А75В.82.001
  12. Стол круглый - 6A75B.84.001
  13. Головка делительная - 6А753.85.001
  14. Головка долбежная - 6Б75В.87.001
  15. Головка быстроходая - 6575B.88.001
  16. Головка шлифовальная - 6Б75В.802.001
  17. Головка подрезная - 6Б75В.803.001
  18. Приспособление спирально-фрезерное - 6A75B.805.001
  19. Гітара диференціального деления - 6A75B.806.001
  20. Микроскоп - 6Б75В.80.003
  21. Опора виброизолирующая - ТУ2-053-375-71
  22. Шкаф инструментальный ШИ-2 на 5 лотков Н342-65А
  23. Рискообразователь - 6Б75В.80.004
  24. Резцедержатель - 6Б75В.80.006
  25. Патрон цанговый з конусом Морзе 4 для фрез з цилиндрическим хвостовиком КБ6151-4003
  26. Втулки переходные
  27. Борштанги




Розташування органів керування консольно-фрезерным верстатом 6Б75ВФ1

Схема органів керування фрезерного верстата 6Б75ВФ1

Розташування органів керування фрезерным верстатом 6Б75ВФ1


Схема органів керування фрезерного верстата 6Б75ВФ1

Розташування органів керування фрезерным верстатом 6Б75ВФ1


Список органів керування консольно-фрезерным верстатом 6Б75ВФ1





Схема кінематична універсального фрезерного верстата 6Б75ВФ1

Схема кінематична універсального фрезерного верстата 6Б75ВФ1

Кінематична схема універсального фрезерного верстата 6Б75ВФ1



Опис кінематичної схеми універсального фрезерного верстата 6Б75ВФ1


Схема електрична фрезерного верстата 6Б75ВФ1

Схема електрична фрезерного верстата 6Б75ВФ1

Електрична схема універсального фрезерного верстата 6Б75ВФ1



Схема електрична фрезерного верстата 6Б75ВФ1

Електрична схема універсального фрезерного верстата 6Б75ВФ1




6Б75ВФ1 Верстат фрезерный універсальний високою точності. Відеоролик.




Технічні характеристики фрезерного верстата 6Б75ВФ1

Наименование параметра 675 6А75в 6А75ВФ1 6Б75в 6Б75ВФ1
Основні параметри верстата
Класс точності по ГОСТ 8-82 Н, П В В В В
Розміри вертикального стола (основного), мм 200 х 500 200 х 500 200 х 500 200 х 500 200 х 500
Розміри горизонтального (углового) стола, мм 200 х 630 200 х 630 200 х 630 200 х 630 200 х 630
Расстояние от оси горизонтального шпинделя до рабочей поверхности горизонтального стола, мм 80..380 80..450 80..450 80..450 80..450
Расстояние от торца вертикального шпинделя до рабочей поверхности горизонтального стола, мм 0..300 35..405 35..405 90..460 90..460
Наибольший продольный ход стола (X), мм 320 320 320 320 320
Наибольший вертикальний ход стола (Z), мм 300 320 320 320 320
Наибольший поперечний ход шпиндельной бабки (Y), мм 300 200 200 200 200
Цена деления лимбов, мм 0,05 0,02 0,02 0,01 0,01
Горизонтальный і вертикальний шпиндели верстата
Частота обертання горизонтального шпинделя, об/мин 50..1600 40..2000
40..2000 40..2240 40..2240
Частота обертання вертикального шпинделя, об/мин 63..2000 40..2000
40..2000 40..2240 40..2240
Количество швидкостей шпинделей 16 Б/с Б/с 32 32
Наибольший допустимый крутящий момент на горизонтальном шпинделе, Нм 214
Наибольший допустимый крутящий момент на вертикальном шпинделе, Нм 155 110 110
Наибольшее осевое перемещение вертикального шпинделя, мм 60 60 60 60 60
Наибольший угол поворота вертикальной головки в вертикальной плоскости, градус ±90° ±90° ±90° ±90° ±90°
Конус горизонтального і вертикального шпинделей Морзе 4 Морзе 4 Морзе 4 Морзе 4 Морзе 4
Стол
Пределы продольных і вертикальних подач стола (X, Z), мм/мин 12,5..400 8..400 (Б/с) 8..400 (Б/с) 10..600 10..600
Ускоренный ход стола, мм/мин 935 935 935 1200 1200
Количество подач стола 16 Б/с Б/с Б/с Б/с
Цена деления лимбов, мм 0,02 0,02
Шпиндельная бабка
Пределы поперечных подач шпиндельной бабки (Y), мм/мин 12,5..400 8..400 8..400 10..600 10..600
Количество подач шпиндельной бабки 16 Б/с Б/с Б/с Б/с
Наибольшее усилие подач шпиндельной бабки, Н 5000
Блок индикации
Тип устройств индикации - - Ф5071 + Ф5076 - Ф5071 + Ф5076
Число отображаемых координат - - 2 (X - стол, Y - шпиндель) - 2 (X - стол, Y - шпиндель)
Разрешающая способность, мм - - 0,002 - 0,002
Електроустаткування і привід верстата
Количество електродвигателей на станке, кВт 3 3 3 3
Електродвигун головного привода, кВт (об/мин) 1,5 1,5 (1420) 1,5 (1420) 1,5 (1500) 1,5 (1500)
Електродвигун приводу подач, кВт (об/мин) 0,5 (1410) 0,5 (1410) 0,37 (3000) 0,37 (3000)
Електродвигун приводу насоса охлаждения, кВт 0,12 0,12 0,12 0,12 0,12
Суммарная мощность електродвигателей, кВт 1,62 2,12 2,12 1,99 1,99
Габарит і масса верстата
Габарити верстата (длина х ширина х высота), мм 1110 х 1170 х 1650 1280 х 1170 х 1750 1280 х 1170 х 1750 1520 х 1250 х 1695 1520 х 1250 х 1695
Масса верстата, кг 1100 1431 1433 1452

    Список литературы:

  1. Верстат фрезерный инструментальный універсальний 6Б75ВФ1. Руководство по експлуатации 6Б75ВФ1.00.000 РЭ, 1977

  2. Аврутин С.В. Основы фрезерного дела, 1962
  3. Аврутин С.В. Фрезерне дело, 1963
  4. Ачеркан Н.С. Металлорежущие верстати, Том 1, 1965
  5. Барбашов Ф.А. Фрезерне дело 1973, с.141
  6. Барбашов Ф.А. Фрезерные роботи (Профтехобразование), 1986
  7. Блюмберг В.А. Справочник фрезеровщика, 1984
  8. Григорьев С.П. Практика координатно-расточных і фрезерных работ, 1980
  9. Копылов Р.Б. Работа на фрезерных верстатах,1971
  10. Косовский В.Л. Справочник молодого фрезеровщика, 1992, с.180
  11. Кувшинский В.В. Фрезерование,1977
  12. Ничков А.Г. Фрезерные верстати (Библиотека станочника), 1977
  13. Пикус М.Ю. Справочник слесаря по ремонту металлорежущих верстатів, 1987
  14. Плотицын В.Г. Расчёты настроек і наладок фрезерных верстатів, 1969
  15. Плотицын В.Г. Наладка фрезерных верстатів,1975
  16. Рябов С.А. Современные фрезерные верстати і их оснастка, 2006
  17. Схиртладзе А.Г., Новиков В.Ю. Технологическое обладнання машиностроительных производств, 1980
  18. Тепинкичиев В.К. Металлорежущие верстати, 1973
  19. Чернов Н.Н. Металлорежущие верстати, 1988
  20. Френкель С.Ш. Справочник молодого фрезеровщика (3-е изд.) (Профтехобразование), 1978









Заказать