metalinstryment.com
Довідник по металорізальних верстатів та пресовому обладнанні

678М Верстат фрезерный універсальний
схеми, опис, характеристики

Загальний вигляд  фрезерного верстата 678М широкоуніверсального







Відомості про виробника фрезерного широкоуніверсального верстата 678М

Фрезерный широкоуніверсальний верстат моделі 678М выпускался предприятием Одесский завод фрезерных верстатів им. С.М.Кирова, ОЗФС, основанным в 1944 году.





Верстати, выпускаемые Одесским заводом фрезерных верстатів


678М Верстат фрезерный універсальний. Назначение і область применения

Універсальный фрезерный верстат 678М - первый серийный фрезерный верстат выпущенный Одесским заводом фрезерных верстатів в післявоенное время. На базе етого верстата были сконструированы более совершенные модели: 675 і 675П.

Фрезерный верстат 678М предназначен как для горизонтального фрезерування деталей цилиндрическими, дисковыми, фасонными і другими фрезами, так і вертикального фрезерування торцевыми, кінцівыми, шпоночными і другими фрезами. Наличие горизонтального шпинделя, а также ряда прилагаемых к верстату пристосувань делает верстат широко универсальным і весьма удобным в работе.

Принцип роботи і особливості конструкції верстата

На чугунной фундаментальной плите верстата 678М закреплена станина, на которой монтируются все вузли верстата. На правой боковой стенке станины установлены: коробка швидкостей і подач, керування переміщеннями суппорта.

На верхней частини станины по направляющим перемещается бабка з горизонтальным шпинделем. На бабке горизонтального шпинделя устанавливается хобот з головкой вертикального шпинделя. На переднем частини станины по вертикальным направляющим суппорта перемещаются салазки. На верхней плоскости салазок, являющейся рабочей поверхностью основного стола, крепятся приспособления і обрабатываемая деталь.

В нижней частини станины монтируется механізм переключения перемещений суппорта і стола, а также предохранительный механізм, предохраняющий от поломки елементы верстата при перегрузке. На правой стороне станины расположены рукоятки переключения швидкостей і подачі, рукоятка направления подачі і таблицы швидкостей і подач при соответствующем положении переключающих рукояток.

Для подачі охлаждающей жидкости служит електронасос. Резервуаром для охлаждающей жидкости является фундаментальная плита верстата.

Кинематика верстата включает в себя приводной електродвигатель, от которого вращение передається через ременную передачу на вал, далее через верхние валы з шестернями обертання передається к горизонтальному или вертикальному шпинделю. Переключенням блоков шестерен можно получать различные скорости обертання шпинделя.

Вниз от вала обертання передається через валы з шестернями і ременную передачу к суппорту верстата. Переключенням блоков шестерен можно получать различные вертикальные і горизонтальные подачі.

Кроме механических подач верстат имеет ручні переміщення от соответствующих рукояток.

Смазка верстата

Направляющие, пошипники ходовых винтов стола, гильза шпинделя смазываются вручную 1 раз в смену.

Коробка швидкостей смазывеется разбрызгиванием; масло необходимо доливать ежедневно до нужного уровня.

Рекомендуемое масло - "Машинное-Л" по ОСТ 7954.

Керування верстатом 678м

Увімкнення і вимкнення верстата 678М производится пуском і остановом електродвигуна.

Изменение скорости обертання шпинделя необходимо производить только після полной остановки верстата. Если переключение затруднено из-за попадания шестерней зуб-в-зуб, следует слегка покрутить маховичок обертання шпинделя.

Увімкнення і вимкнення подач стола в различных направлениях (вверх, вниз, влево, вправо) производитя одним рычагом.

Изменение величины подачі суппорта стола осуществляется переключением рычагов согласно таблице на корпусе горизонтальной шпиндельной бабки.

Защитой от перегрузок при подаче стола стола служит пружинный предохранитель в нижней частини станины.


Загальний вигляд універсального фрезерного верстата 678М

Фото фрезерного універсального верстата 678М

Фото фрезерного універсального верстата 678М


Фото фрезерного універсального верстата 678М

Фото фрезерного універсального верстата 678М


Фото фрезерного універсального верстата 678М

Фото фрезерного універсального верстата 678М


Фото фрезерного універсального верстата 678М

Фото фрезерного універсального верстата 678М


Фото фрезерного універсального верстата 678М

Фото фрезерного універсального верстата 678М

Фото фрезерного універсального верстата 678М. Дивитись у збільшеному масштабі



Фото фрезерного універсального верстата 678М

Фото фрезерного універсального верстата 678М


Фото фрезерного універсального верстата 678М

Фото фрезерного універсального верстата 678М


Фото фрезерного універсального верстата 678М

Фото фрезерного універсального верстата 678М



Розташування органів керування фрезерным верстатом 678М

Схема органів керування фрезерного верстата 678М

Розташування органів керування фрезерным верстатом 678М

Розташування органів керування фрезерным верстатом 678М. Дивитись у збільшеному масштабі



Список органів керування фрезерным верстатом 678М

  1. Рукоятка переключения швидкостей
  2. Рукоятка переключения швидкостей
  3. Рукоятка переключения подач
  4. Рукоятка переключения подач
  5. Маховик ручного переміщення стола в продольном направлении
  6. Маховик ручного переміщення стола в вертикальном направлении
  7. Рукоятка зажиму суппорта в вертикальном направлении
  8. Рукоятка зажиму стола в горизонтальном направлении
  9. Рукоятка зажиму шпиндельной бабки
  10. Маховик ручного переміщення шпиндельной бабки
  11. Маховик ручного обертання шпинделя
  12. Рукоятка увімкнення механической подачі стола
  13. Квадрат для рукоятки ручного переміщення вертикального шпинделяи
  14. Кнопки пуска і остановка головного двигуна
  15. Выключатель насоса охлаждения




Схема кінематична універсального фрезерного верстата 678М

Схема кінематична універсального фрезерного верстата 678М

Кінематична схема універсального фрезерного верстата 678М






Основні вузли універсального фрезерного верстата 678М

Коробка швидкостей і подач універсального фрезерного верстата 678М

Коробка швидкостей і подач універсального фрезерного верстата 678М



Суппорт універсального фрезерного верстата 678М

Суппорт універсального фрезерного верстата 678М



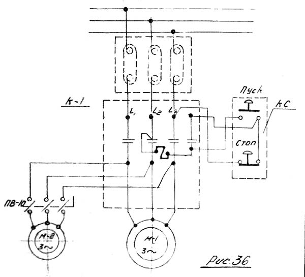
Електроустаткування фрезерного верстата 678М

Схема електрична фрезерного верстата 678М

Електрична схема універсального фрезерного верстата 678М




678М Верстат фрезерный широкоуніверсальний инструментальный. Відеоролик.



Технічні характеристики фрезерного верстата 678М

Наименование параметра 675 978М
Основні параметри верстата
Класс точності по ГОСТ 8-82 Н, П
Розміри вертикального стола (основного), мм 200 х 500 195 х 550
Розміри сменного горизонтального (углового) стола, мм 200 х 630 220 х 600
Расстояние от оси горизонтального шпинделя до рабочей поверхности горизонтального стола, мм 80..380
Расстояние от торца вертикального шпинделя до рабочей поверхности горизонтального стола, мм 0..300 0..325
Наибольший продольный ход стола (X), мм 320 250
Наибольший вертикальний ход стола (Z), мм 300 290
Наибольший ход шпиндельной бабки (Y), мм 300 140
Цена деления лимбов, мм 0,05 0,025
Горизонтальный і вертикальний шпиндели верстата
Частота обертання горизонтального шпинделя, об/мин (число ступеней) 50..1600 (16) 120..1170 (6)
Частота обертання вертикального шпинделя, об/мин (число ступеней) 63..2000 (16) 178..1740 (6)
Количество швидкостей шпинделей 16 6
Наибольший допустимый крутящий момент на горизонтальном шпинделе, Нм 214
Наибольший допустимый крутящий момент на вертикальном шпинделе, Нм 155
Наибольшее осевое перемещение вертикального шпинделя, мм 60 60
Наибольший угол поворота вертикальной головки в вертикальной плоскости, градус ±90° ±45°
Конус горизонтального і вертикального шпинделей Морзе 4 Морзе 4
Стол
Пределы продольных подач стола (X), мм/мин (число ступерней) 12,5..400 (16) 19..184 (6)
Пределы вертикальних подач стола (Z), мм/мин (число ступерней) 12,5..400 (16) 22..214 (6)
Ускоренный ход стола, мм/мин 935 нет
Количество подач стола 16 6
Наибольшее усилие подач стола, кН 5
Шпиндельная бабка
Пределы поперечных подач шпиндельной бабки (Y), мм/мин 12,5..400 нет
Количество подач шпиндельной бабки 16 нет
Наибольшее усилие подач шпиндельной бабки, Н 5000
Електроустаткування і привід верстата
Количество електродвигателей на станке, кВт 2
Електродвигун головного привода, кВт (об/мин) 1,5 1,5 (1430)
Електродвигун приводу подач, кВт (об/мин)
Електродвигун приводу насоса охлаждения, кВт 0,12 0,15
Суммарная мощность електродвигателей, кВт 1,62 1,65
Габарит і масса верстата
Габарити верстата (длина х ширина х высота), мм 1110 х 1170 х 1650 1090 х 1045 х 1535
Масса верстата, кг 1100 865

    Список литературы:

  1. Універсальный фрезерный верстат 678М. Руководство по уходу і обслуговування, 1948

  2. Аврутин С.В. Основы фрезерного дела, 1962
  3. Аврутин С.В. Фрезерне дело, 1963
  4. Ачеркан Н.С. Металлорежущие верстати, Том 1, 1965
  5. Барбашов Ф.А. Фрезерне дело 1973, с.141
  6. Барбашов Ф.А. Фрезерные роботи (Профтехобразование), 1986
  7. Блюмберг В.А. Справочник фрезеровщика, 1984
  8. Григорьев С.П. Практика координатно-расточных і фрезерных работ, 1980
  9. Копылов Р.Б. Работа на фрезерных верстатах,1971
  10. Косовский В.Л. Справочник молодого фрезеровщика, 1992, с.180
  11. Кувшинский В.В. Фрезерование,1977
  12. Ничков А.Г. Фрезерные верстати (Библиотека станочника), 1977
  13. Пикус М.Ю. Справочник слесаря по ремонту металлорежущих верстатів, 1987
  14. Плотицын В.Г. Расчёты настроек і наладок фрезерных верстатів, 1969
  15. Плотицын В.Г. Наладка фрезерных верстатів,1975
  16. Рябов С.А. Современные фрезерные верстати і их оснастка, 2006
  17. Схиртладзе А.Г., Новиков В.Ю. Технологическое обладнання машиностроительных производств, 1980
  18. Тепинкичиев В.К. Металлорежущие верстати, 1973
  19. Чернов Н.Н. Металлорежущие верстати, 1988
  20. Френкель С.Ш. Справочник молодого фрезеровщика (3-е изд.) (Профтехобразование), 1978








Заказать