metalinstryment.com
Довідник по металорізальних верстатів та пресовому обладнанні

5В312 Верстат зубофрезерный вертикальний напівавтомат
схеми, опис, характеристики

5В312 Загальний вигляд  зубофрезерного верстата







Відомості про виробника зубофрезерного напівавтомату 5В312

Производитель вертикального зубофрезерного напівавтомату 5В312 - Витебский станкостроительный завод имени Коминтерна, основанный в 1877 году.

Более 40 лет из более чем вековой истории завод специализировался на выпуске зубообрабатывающего оборудования для обробки зубьев цилиндрических зубчатых колес.





Продукция Витебского станкостроительного завода имени Коминтерна


5В312 Верстат зубофрезерный вертикальний універсальний напівавтомат. Назначение і область применения

Верстат зубофрезерный 5В312 заменил в производстве устаревшую модель 5Б312 і был заменен на более совершенную модель 53В30П.

Універсальный зубофрезерный верстат напівавтомат 5В312 предназначен для нарізання (фрезерування) цилиндрических прямозубых, косозубых і червячных колес в условиях единичного і серийного производства. Нарезание зубчатых колес производится по способу обкатки (огибания) червячной фрезы і обрабатываемой заготовки попутным или встречным методами фрезерування. Верстат работает по замкнутому напівавтоматическому циклу і по циклу налагодження.

Нарезание зубчатых колес производится по способу обкатки червячной фрезой. Кроме того, на станке могут обрабатываться другие детали, получаемые методом обкатки.

Наиболее целесообразная область применения — получистовая обработка зубчатых колес под післядующее шевингование или другие финишные операции. На напівавтоматі возможна также і окончательная обработка зубчатых колес седьмой степени точності по ГОСТ 1643—72 на чистовых режимах высокоточными фрезами.

При автоматичною загрузке напівавтомат 5В312 може работать как индивидуальный автомат, а также встраиваться в автоматические линии.

Принцип роботи і особливості конструкції верстата

Из зоны різання стружка вместе з охлаждающей жидкостью попадает в бак, в котором находится магнитный транспортер стружки.

Магнитный транспортер отделяет стружку от охлаждающей жидкости і направляет її в спеціальний ящик за пределами напівавтомату.

Шероховатость боковых поверхностей зубьев соответствует Rz 40 — Ra 2,5 мкм по ГОСТ 2789—73.

Класс точності напівавтомату Н.


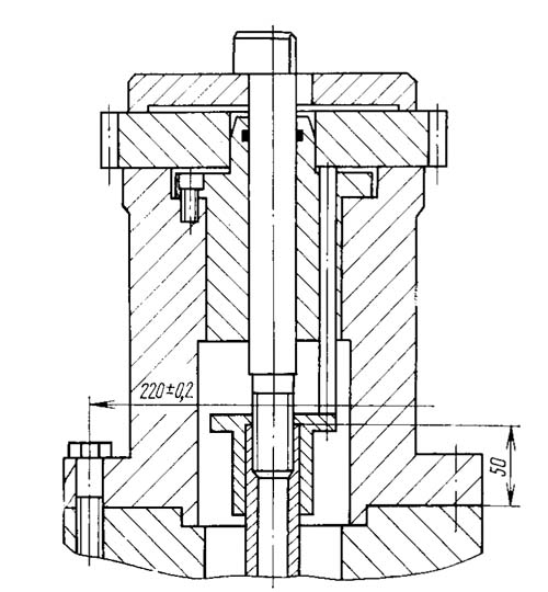
Посадочные і присоединительные базы зубофрезерного напівавтомату 5В312. Шпиндель верстата

5В312 Посадочные і присоединительные базы зубофрезерного напівавтомату. Шпиндель верстата

Кінець шпинделя зубофрезерного верстата 5в312


5В312 Посадочные і присоединительные базы зубофрезерного напівавтомату. Установочное пристрій

Установочное пристрій зубофрезерного верстата 5в312


5В312 Посадочные і присоединительные базы зубофрезерного напівавтомату. Оправка

Оправка зубофрезерного верстата 5в312


Загальний вигляд і общее пристрій верстата 5В312

5В312 напівавтомат зубофрезерный. Загальний вигляд

Фото зубофрезерного верстата 5в312


Розташування складових частин зубофрезерного напівавтомату 5В312

5В312 Розташування складових частин зубофрезерного напівавтомату 5В312

Розташування складових частин зубофрезерного верстата 5в312

Специфікація складових частин зубофрезерного напівавтомату 5В312

  1. поддон станины
  2. станина
  3. наладочный пульт керування
  4. верхний корпус
  5. контрподдержка
  6. суппорт
  7. пиноль
  8. пульт керування циклом
  9. лимб налаштування межосьового расстояния
  10. ограждение стола
  11. ящик сбора стружки
  12. маслоуказатели
  13. маслоуказатели

Основні частини і налаштування зубофрезерного напівавтомату 5В312

Зубофрезерный напівавтомат 5В312 предназначен для нарізання зубьев цилиндрических колес в условиях серийного і крупносерийного производства. Компоновка напівавтомату з подвижным в вертикальном направлении столом і открытой зоной обробки позволяет легко оснащать его различными загрузочными пристроями і использовать как автомат (см. гл. XII).

Полуавтомат состоит из нижней станины 1, в поддоне которой размещены резервуар гідравлики з маслоуказателем 13 і резервуар охлаждающей жидкости з маслоуказателем 12. На поддоне закреплена верхняя станина 2 з горизонтальными направляющими для переміщення фрезерной стойки і вертикальными направляющими для переміщення стола з изделием. В верхней станине 2 находятся механізмы подач і диференціала со своими гітарами, а также механізм переміщення стола, В верхнем корпусе 4, закрепленном на станине 2, размещены електрообладнання з пультом керування 3, а также верхний центр 5 з пинолью 7. Стол, перемещаемый по вертикальным направляющим станины вместе з гітарою деления, закрыт кожухом ограждения. Гітара деления находится за дверкой 10.

Суппорт 6 расположен на стойке і перемещается вместе з ней при вращении валика 9. Частота обертання инструмента настраивается сменными шкивами, находящимися за дверкой сзади напівавтомату.

При налаштуванні напівавтомату 5В312 необходимо произвести наступні операции:


Кинематическая структура зубофрезерного верстата 5В312

Кинематическая структура зубофрезерного верстата 5В312

Кинематическая структура зубофрезерного верстата 5в312





Схема кінематична зубофрезерного верстата 5В312

Схема кінематична зубофрезерного верстата 5В312

Кінематична схема зубофрезерного верстата 5в312

Схема кінематична зубофрезерного верстата 5В312. Дивитись у збільшеному масштабі



Опис кінематичної схеми зубофрезерного верстата 5В312

Кінематична схема напівавтомату состоит из следующих кинематических ланцюгів: головного руху, деления, диференціала і подач.

Ланцюг головного руху связывает вращение головного електродвигуна (M1) мощностью 7,5 кВт з вращением инструмента (Ин). Налаштування ланцюги производится по формуле:

nфр = D1/D2 * 362

где D1 і D2 - диаметры сменных шкивов


Кинематическая ланцюг деления осуществляет связь между инструментом (Ин) і заготовкой (Заг). Налаштування ланцюги производится по формуле:

iдел = 24*К/z = a2/b2 * c2/d2

где a2, b2, c2, d2 — числа зубьев сменных колес;

При нарезании зубчатых колес левозаходной фрезой между сменными колесами з і d устанавливают на своей опоре дополнительное колесо, изменяющее направление обертання заготовки. Таблиця налаштування гітари деления для чисел нарезаемых зубьев от 6 до 120 приведена в руководстве по експлуатации напівавтомату.


Кинематическая ланцюг диференціала настраивается при обработке косозубых колес. Расчетная формула налаштування:

iдиф = 6sinβ/mn*K = a2/b2 * c2/d2

где a2, b2, c2, d2 — числа зубьев сменных колес;

β — угол наклона зубьев нарезаемого колеса

К — заходность фрезы

Расчет передаточного отношения производится до седьмого знака після запятой. Сменные колеса подбираются по таблицам [9]

Условия сцепляемости сменных зубчатых колес гітари диференціала:

При использовании в гітарі дополнительного зубчатого колеса g следует учитывать наступні условия сцепляемости:

a2 + g > 115; a2 + 2g+b2<245

b2 + g > c2+26

Кинематическая ланцюг подачі связывает вращение електродвигуна подачі (М2) з переміщенням стола от ходового гвинта. Налаштування ланцюги производится по формуле

iпод = s/28 = a1/b1 * c1/d1

где s настраиваемая величина подачі, мм/мин

где a1, b1, c1, d1 — числа зубьев сменных колес;

Таблиця подач от 2,45 до 124 мм/мин приведена в руководстве по експлуатации верстата.


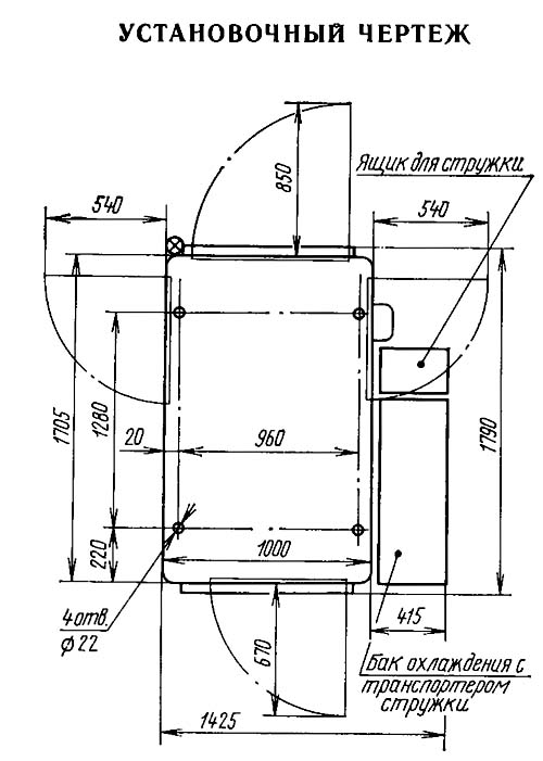
Настановне креслення зубофрезерного верстата 5В312

Настановне креслення зубофрезерного верстата 5В312

Настановне креслення зубофрезерного верстата 5в312




Технічні характеристики зубофрезерного верстата 5В312

Наименование параметра 5В312
Основні параметри верстата
Наибольший модуль нарезаемого колеса, мм 6
Наибольший диаметр нарезаемых цилиндрических прямозубых колес (0°) з задньої стойкой (с контрподдержкой), мм 320
Наибольший диаметр нарезаемых цилиндрических прямозубых колес (0°) з отведенной задньої стойкой (без контрподдержки), мм
Наибольший диаметр нарезаемых цилиндрических косозубых колес (30°), мм 200
Наибольший диаметр нарезаемых цилиндрических косозубых колес (45°), мм 180
Наибольший угол наклона нарезаемых зубьев обрабатываемых колес, град ±45
Наибольший диаметр червячных нарезаемых колес, мм
Наибольшая длина венца нарезаемых цилиндрических прямозубых колес (0°), мм
Наибольшая длина венца нарезаемых цилиндрических косозубых колес (30°), мм
Наибольшая длина венца нарезаемых цилиндрических косозубых колес (45°), мм
Наименьшее число нарезаемых зубьев 6
Расстояние от оси шпинделя до направляючих суппорта, мм
Стол
Диаметр стола, мм
Расстояние между осями стола і фрезы, мм 55..245
Расстояние от плоскости стола до оси фрезы, мм 120..300
Ускоренное перемещение стола, мм/мин 550
Ручное перемещение стола на одно деление лимба, мм
Перемещение упора остановки стола на одно деление лимба, мм
Суппорт
Наибольшее перемещение стойки фрезерного суппорта, мм 190
Ускоренное перемещение суппорта, мм/мин 1200
Наибольший диаметр режущего инструмента (червячной фрезы), мм 160
Наибольшая длина режущего инструмента (червячной фрезы), мм 145
Конус фрезерных оправок, мм Морзе 5
Ускоренное перемещение шпинделя вдоль оси, мм/мин нет
Поворот суппорта на одно деление шкалы линейки, град
Поворот суппорта на одно деление шкалы нониуса, мин 5`
Конусное отверстие шпинделя фрезы Морзе 5
Наибольшее осевое перемещение фрезы, мм 75
Привід і електрообладнання верстата
Количество електродвигателей на станке
Електродвигун головного привода, кВт 7,5
Електродвигун приводу подачі, кВт 2,2
Електродвигун приводу гідронасоса, кВт 1,5
Електродвигун насоса охлаждения, кВт 0,6
Суммарная мощность електродвигателей, кВт
Габаритные розміри і масса верстата
Габаритные розміри верстата (длина х ширина х высота), мм 2000 х 1300 х 2040
Масса верстата з електрообладнанням і охолодженням, кг 4350

    Список литературы

  1. Гальперин Е.И. Наладка зуборезных верстатів, 1960.
  2. Козлов Д.Н. Зуборезные роботи, 1971.
  3. Лоскутов В.В., Ничков А.Г. Зубообрабатывающие верстати, 1978.
  4. Малахов Я.А. Зубообрабатывающие і резьбофрезерные верстати і их наладка, 1972.
  5. Мильштейн М.З. Нарезание зубчатых колес, 1972.
  6. Овумян Г.Г., Адам А.И. Справочник зубореза, 1983.
  7. Птицин Г.А., Кокичев В.Н. Зуборезные верстати, 1957.
  8. Сильвестров Б.Н., Захаров И.Д. Конструкція і наладка зуборезных і резьбофрезерных верстатів, 1979.
  9. Шавлюга Н.И. Расчет і примеры наладок зубофрезерных і зубодолбежных верстатів, 1978.
  10. Руководящий материал для конструкторов, проектирующих технологическую оснастку. Основні данные і посадочные места металлорежущих верстатів. НИИМАШ, 1968.









Заказать

Кто владеет информацией - тот владеет миром.

Натан Ротшильд