metalinstryment.com
Довідник по металорізальних верстатів та пресовому обладнанні

5Б312 Верстат зубофрезерный вертикальний напівавтомат
схеми, опис, характеристики

5Б312 Загальний вигляд  зубофрезерного верстата







Відомості про виробника зубофрезерного напівавтомату 5Б312

Производитель вертикального зубофрезерного напівавтомату 5Б312 - Витебский станкостроительный завод имени Коминтерна, основанный в 1877 году.

Более 40 лет из более чем вековой истории завод специализировался на выпуске зубообрабатывающего оборудования для обробки зубьев цилиндрических зубчатых колес.





Продукция Витебского станкостроительного завода имени Коминтерна


5Б312 Верстат зубофрезерный вертикальний універсальний напівавтомат. Назначение і область применения

Верстат зубофрезерный 5Б312 был заменен на более совершенную модель 5В312.

Універсальный зубофрезерный верстат напівавтомат 5Б312 предназначен для нарізання (фрезерування) цилиндрических прямозубых, косозубых і червячных колес в условиях единичного і серийного производства. Нарезание зубчатых колес производится по способу обкатки (огибания) червячной фрезы і обрабатываемой заготовки попутным или встречным методами фрезерування. Верстат работает по замкнутому напівавтоматическому циклу і по циклу налагодження.

Нарезание зубчатых колес производится по способу обкатки червячной фрезой. Кроме того, на станке 5Б312 могут обрабатываться другие детали, получаемые методом обкатки.

Наиболее целесообразная область применения — получистовая обработка зубчатых колес под післядующее шевингование или другие финишные операции. На напівавтоматі возможна также і окончательная обработка зубчатых колес седьмой степени точності по ГОСТ 1643—72 на чистовых режимах высокоточными фрезами.

При автоматичною загрузке напівавтомат 5Б312 може работать как индивидуальный автомат, а также встраиваться в автоматические линии.

Принцип роботи і особливості конструкції верстата 5Б312

Из зоны різання стружка вместе з охлаждающей жидкостью попадает в бак, в котором находится магнитный транспортер стружки.

Магнитный транспортер отделяет стружку от охлаждающей жидкости і направляет її в спеціальний ящик за пределами напівавтомату.

Класс точності напівавтомату Н.


Посадочные і присоединительные базы зубофрезерного напівавтомату 5Б312

Шпиндель инструмента і оправка зубофрезерного верстата 5Б312

Шпиндель инструмента і оправка зубофрезерного верстата 5Б312

Шпиндель инструмента і оправка зубофрезерного верстата 5Б312. Дивитись у збільшеному масштабі



Шпиндель стола і конец пиноли зубофрезерного верстата 5Б312

Шпиндель стола і конец пиноли зубофрезерного верстата 5Б312

Шпиндель стола і конец пиноли зубофрезерного верстата 5Б312. Дивитись у збільшеному масштабі



5Б312 Посадочные і присоединительные базы зубофрезерного напівавтомату. Установочное пристрій

Установочное пристрій зубофрезерного верстата 5Б312


Загальний вигляд і общее пристрій верстата 5Б312

5Б312 напівавтомат зубофрезерный. Загальний вигляд

Фото зубофрезерного верстата 5Б312

Фото зубофрезерного верстата 5Б312. Дивитись у збільшеному масштабі



5Б312 напівавтомат зубофрезерный. Загальний вигляд

Фото зубофрезерного верстата 5Б312

Фото зубофрезерного верстата 5Б312. Дивитись у збільшеному масштабі



5Б312 напівавтомат зубофрезерный. Загальний вигляд

Фото зубофрезерного верстата 5Б312

Фото зубофрезерного верстата 5Б312. Дивитись у збільшеному масштабі



5Б312 напівавтомат зубофрезерный. Загальний вигляд

Вид сзади зубофрезерного верстата 5Б312





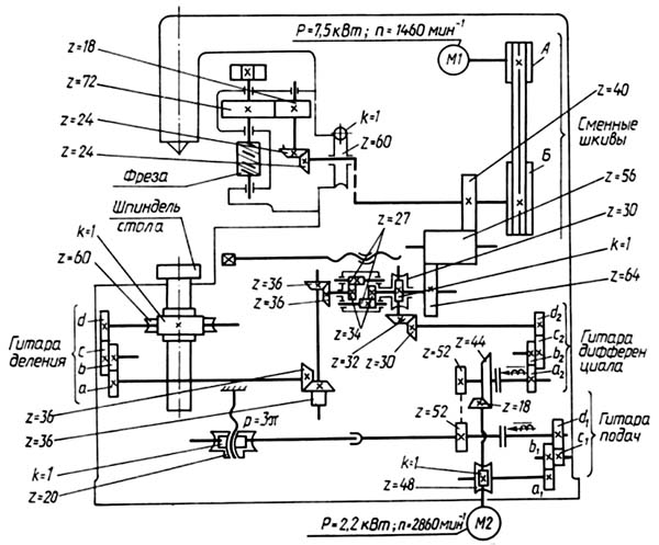
Кинематическая структура зубофрезерного верстата 5Б312

Кинематическая структура зубофрезерного верстата 5Б312

Кинематическая структура зубофрезерного верстата 5Б312


Схема кінематична зубофрезерного верстата 5Б312

Схема кінематична зубофрезерного верстата 5Б312

Кінематична схема зубофрезерного верстата 5Б312

Схема кінематична зубофрезерного верстата 5Б312. Дивитись у збільшеному масштабі



Опис кінематичної схеми зубофрезерного верстата 5Б312

Кінематична схема напівавтомату состоит из следующих кинематических ланцюгів: головного руху, деления, диференціала і подач.

Ланцюг головного руху связывает вращение головного електродвигуна (M1) мощностью 7,5 кВт з вращением инструмента (Ин). Налаштування ланцюги производится по формуле:

nфр = D1/D2 * 362

где D1 і D2 - диаметры сменных шкивов


Кинематическая ланцюг деления осуществляет связь между инструментом (Ин) і заготовкой (Заг). Налаштування ланцюги производится по формуле:

iдел = 24*К/z = a2/b2 * c2/d2

где a2, b2, c2, d2 — числа зубьев сменных колес;

При нарезании зубчатых колес левозаходной фрезой между сменными колесами з і d устанавливают на своей опоре дополнительное колесо, изменяющее направление обертання заготовки. Таблиця налаштування гітари деления для чисел нарезаемых зубьев от 6 до 120 приведена в руководстве по експлуатации напівавтомату.


Кинематическая ланцюг диференціала настраивается при обработке косозубых колес. Расчетная формула налаштування:

iдиф = 6sinβ/mn*K = a2/b2 * c2/d2

где a2, b2, c2, d2 — числа зубьев сменных колес;

β — угол наклона зубьев нарезаемого колеса

К — заходность фрезы

Расчет передаточного отношения производится до седьмого знака після запятой. Сменные колеса подбираются по таблицам [9]

Условия сцепляемости сменных зубчатых колес гітари диференціала:

При использовании в гітарі дополнительного зубчатого колеса g следует учитывать наступні условия сцепляемости:

a2 + g > 115; a2 + 2g+b2<245

b2 + g > c2+26

Кинематическая ланцюг подачі связывает вращение електродвигуна подачі (М2) з переміщенням стола от ходового гвинта. Налаштування ланцюги производится по формуле

iпод = s/28 = a1/b1 * c1/d1

где s настраиваемая величина подачі, мм/мин

где a1, b1, c1, d1 — числа зубьев сменных колес;

Таблиця подач от 2,45 до 124 мм/мин приведена в руководстве по експлуатации верстата.


Настановне креслення зубофрезерного верстата 5Б312

Настановне креслення зубофрезерного верстата 5Б312

Настановне креслення зубофрезерного верстата 5Б312





5Б312 Верстат зубофрезерный вертикальний напівавтомат. Відеоролик.




Технічні характеристики зубофрезерного верстата 5Б312

Наименование параметра 5Б312 5В312
Основні параметри верстата
Наибольший диаметр нарезаемых цилиндрических прямозубых колес (β=0°), мм 320 320
Наибольший модуль нарезаемого колеса, мм 6 6
Наибольший диаметр нарезаемых цилиндрических косозубых колес (β=30°), мм 190 200
Наибольший диаметр нарезаемых цилиндрических косозубых колес (β=45°), мм 170 180
Наибольший угол наклона нарезаемых зубьев обрабатываемых колес, град ±45° ±45°
Наименьшее число нарезаемых зубьев 6 6
Расстояние между осями фрезы і стола (оси шпинделя вироби), мм 65..255 55..245
Расстояние от плоскости стола (торца шпинделя вироби) до оси фрезы, мм 120..300 120..300
Расстояние от верхнего центра до торца шпинделя вироби, мм 100..540 100..540
Наибольшая длина венца нарезаемых цилиндрических прямозубых колес (β=0°), мм 160
Наибольшая длина венца нарезаемых цилиндрических косозубых колес (β=30°), мм 110
Наибольшая длина венца нарезаемых цилиндрических косозубых колес (β=45°), мм 90
Стол
Диаметр стола, мм 250
Величина наибольшего вертикального переміщення стола, мм 180 180
Скорость швидкого переміщення стола, м/мин 0,55
Рабочие подачі стола, мм/мин 2,5..100
Величина наибольшего вертикального переміщення стола при нарезании прямозубых зубчатых колес (0°), мм 160 180
Величина наибольшего вертикального переміщення стола при нарезании прямозубых зубчатых колес з углом наклона (30°), мм 110 110
Величина наибольшего вертикального переміщення стола при нарезании прямозубых зубчатых колес з углом наклона (45°), мм 90 90
Суппорт
Величина наибольшего горизонтального (межосьового) переміщення стойки фрезерного суппорта, мм 190 190
Угол поворота фрезерного суппорта, град 180° 180°
Поворот суппорта на одно деление шкалы линейки, град
Поворот суппорта на одно деление шкалы нониуса, мин 5` 5`
Величина наибольшего осьового переміщення фрезы, мм 50 75
Ускоренное перемещение стойки суппорта, м/мин 1,2
Цена деления лимба установки межцентрового расстояния, мм 0,02
Частота обертання фрезы, мм (число ступеней) 100..500 (8) 100..500 (8)
Наибольшие розміри режущего инструмента - червячной фрезы (диаметр х длина), мм Ø 160 х 145 Ø 160 х 145
Автоматический подвод стойки Есть
Автоматический останов стойки з помощью гідроцилиндра Есть
Автоматический зажим стойки в переднем положении Есть
Ускоренное перемещение шпинделя вдоль оси, мм/мин нет нет
Конус фрезерных оправок, мм Морзе 5 Морзе 5
Конусное отверстие шпинделя фрезы Морзе 5 Морзе 5
Привід і електрообладнання верстата
Количество електродвигателей на станке
Електродвигун головного привода, кВт (об/мин) 7,5 (1460) 7,5 (1460)
Електродвигун приводу подачі, кВт (об/мин) 2,2 (2860) 2,2 (2860)
Електродвигун гідропривода, кВт нет 1,5
Електродвигун насоса охлаждения, кВт 0,6
Суммарная мощность електродвигателей, кВт
Габаритные розміри і масса верстата
Габаритные розміри верстата (длина х ширина х высота), мм 1790 х 1000 х 2200 1790 х 1000 х 2450
Масса верстата з електрообладнанням і охолодженням, кг 5700 5250

    Список литературы

  1. Гальперин Е.И. Наладка зуборезных верстатів, 1960.
  2. Козлов Д.Н. Зуборезные роботи, 1971.
  3. Лоскутов В.В., Ничков А.Г. Зубообрабатывающие верстати, 1978.
  4. Малахов Я.А. Зубообрабатывающие і резьбофрезерные верстати і их наладка, 1972.
  5. Мильштейн М.З. Нарезание зубчатых колес, 1972.
  6. Овумян Г.Г., Адам А.И. Справочник зубореза, 1983.
  7. Птицин Г.А., Кокичев В.Н. Зуборезные верстати, 1957.
  8. Сильвестров Б.Н., Захаров И.Д. Конструкція і наладка зуборезных і резьбофрезерных верстатів, 1979.
  9. Шавлюга Н.И. Расчет і примеры наладок зубофрезерных і зубодолбежных верстатів, 1978.
  10. Руководящий материал для конструкторов, проектирующих технологическую оснастку. Основні данные і посадочные места металлорежущих верстатів. НИИМАШ, 1968.









Заказать

Кто владеет информацией - тот владеет миром.

Натан Ротшильд