Виробник вертикально-свердлильного верстата 2Б118 - Вітебський верстатобудівний завод імені Комінтерну , заснований у 1877 році.
Понад 40 років із більш ніж вікової історії завод спеціалізувався на випуску зубообробного обладнання для обробки зубів циліндричних зубчастиних коліс.
Універсальний вертикально-свердлильний верстат моделі 2Б118 з умовним діаметром свердління 18 мм призначений для виконання наступних операцій: свердління, розсвердлювання, нарізування різьблення та підрізування торців ножами.
Свердлильний верстат 2Б118 призначений для роботи в основних виробничих цехах, а також в умовах одиничного та дрібносерійного виробництва в інструментальних, експериментальних, ремонтно-механічних та інструментальних цехах з індивідуальним та дрібносерійним випуском продукції.
Будучи з пристроями, верстат 2Б118 може застосовуватися і в масовому виробництві.
Віднесений за умовним діаметром свердління 18 мм, верстат 2Б118 допускає зусилля подачі 550 кг момент, що крутить, 880 кг*див. та поставляється з електродвигуном потужністю 1,7. кВт.
Верстат 2Б118 забезпечений 6-швидкісною коробкою швидкостей і 4-х швидкісною коробкою подач.
Випускається верстат у 2-х модифікаціях з коробкою швидкостей з основним діапазоном регулювання швидкостей в межах 208-2040 об/хв та з коробкою швидкостей з діапазоном регулювання 308-3020 об/хв за особливим замовленням.
Широкий діапазон регулювання швидкостей та подач в межах 0,1-0,4 мм/об забезпечує повну вибірковість нормативних режимів різання для діаметрів до 18 мм при свердлінні, зенкеруванні та розгортанні отворів.
Наявність на верстаті електрореверс забезпечує можливість нарізання різьблення.

Настановне креслення свердлильного верстата 2Б118
Настановне креслення свердлильного верстата 2Б118. Дивитись у збільшеному масштабі

Фото вертикально-свердлильного верстата 2Б118

Фото вертикально-свердлильного верстата 2Б118

Фото вертикально-свердлильного верстата 2Б118

Фото вертикально-свердлильного верстата 2Б118

Фото вертикально-свердлильного верстата 2Б118

Розташування органів керування свердлильним верстатом 2Б118
Розташування органів керування свердлильним верстатом 2Б118. Дивитись у збільшеному масштабі

Кінематична схема свердлильного верстата 2Б118
1. Кінематична схема свердлильного верстата 2Б118. Дивитись у збільшеному масштабі
2. Cхема розташування підшипників на верстаті 2Б118. Дивитись у збільшеному масштабі
Кінематичний ланцюг служить (див. країн. 11) для здійснення двох основних рухів:
Механізми верстата отримують рух від індивідуального електродвигуна потужністю 1,7 кВт і з числом оборотів за хвилину 2850, за допомогою клинопасової передачі через шківи Д1, Д2. Клиновий ремінь типу 0-800.
Шків Д2 сидить на першому валу коробки швидкостей, на якому знаходиться рухомий потрійний блок шестерень 1, 3 і 5, що передає обертання другому валу через шестерні 2, 4 і 6, що нерухомо сидять,
Через шестерні 4, 7, що сидять на другому валу, обертання передається третьому валу, на якому знаходиться подвійний блок шестерень 8 і 9.
Третій вал є пустотілою гільзою, по шліцевому отворі якої вільно переміщається шліцевий кінець шпинделя.
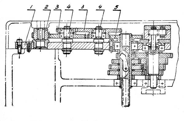
Механізм подач получает рух по следующей ланцюги: от шестерни 10, сидящей на шлицевой частини шпинделя через шестерни 11, 12, 13, 14 і 15 вращение передається пустотелому валику, на котором свободно вращаются шестерни 16, 18, 20 і 22, постоянно сцепленные з шестернями 17, 19, 21 і 23 Внутри пустотелого валика перемещается вытяжная шпонка, блокирующая шестерни 16, 18, 20 і 22, благодаря чему, получается четыре различных подачі. От вала, на котором нерухомо закреплены шестерни 17, 19, 21 і 23 через кулачковую муфту вращение передається червяку 24 і червячному колесу 25, сидящему на одном валу з шестерней 26, которая сцеплена з рейкой, нарезанной непосредственно на гильзе шпинделя 36. Таким образом, вращательное рух всего механізма преобразуется в поступательное рух шпинделя.
Шпиндель може перемещаться і от руки при помощи сидящего на горизонтальном валу штурвала. На горизонтальном валу сидит шестерня 28, сцепленная з шестерней внутреннего зацепления 27, на которой укреплен лимб установки глубины сверления,
Подъем кронштейна осуществляется вращением рукоятки через червяк 29, червячную шестерню 30 і реечную шестерню 31, сцепляющуюся з рейкой 32, укрепленной на колонне верстата.
Подъем стола производится вращением рукоятки через конические шестерни 33, 34, винт 35 і гайку 37.
Верстат модель 2Б118 состоит из следующих вузлів:
На фундаментную плиту устанавливается колонна, на верхнем кінці її устанавливается коробка швидкостей на подставке. По направляющим колонны перемещается стол і кронштейн верстата. В нише колонны размещается електроаппаратура верстата. Электронасос, падающий охлаждающую жидкость, устанавливается на фундаментную плиту внутри колонны.

Коробка швидкостей шпинделя вертикального сверлильного верстата 2Б118
Коробка швидкостей шпинделя сверлильного верстата 2Б118. Дивитись у збільшеному масштабі
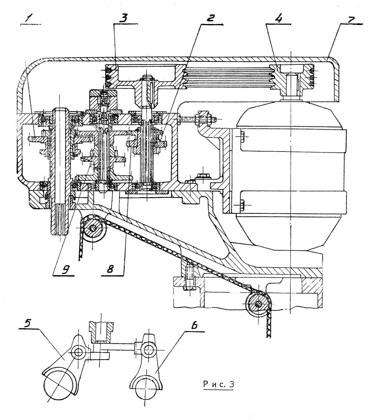
Коробка швидкостей (смотри рис. 3) представляет собой чугунный корпус, внутри которого расположен шестеренчатый редуктор шпинделя і механізм переключения швидкостей.
Коробка швидкостей сообщает шпинделю верстата 6 различных чисел оборотів, что достигается при помощи одного тройного (2) і одного двойного (1) блоков шестерен.
Переключення шестерен осуществляется при помощи вилок (5 — 6) і зубчатых секторов, управляемых двумя рукоятками, расположенными на левой стенке коробки. Третий вал коробки швидкостей представляет собой полую гильзу, шлицевое отверстие которой передает вращение шпинделю.
Все валы коробки швидкостей — шлицевые, что значительно упрощает монтаж і демонтаж коробки.
Коробка швидкостей сообщает верстату два диапазона швидкостей:
При налаштуванні коробки швидкостей на второй диапазон меняются шкивы (3:4).
Шестерни (8, 9) изготавливаются підвищеної точності.
Смазка всего механізма коробки швидкостей осуществляется от специального насоса, расположенного под кожухом (7).
Коробка швидкостей устанавливается на специальную чугунную подставку, которая одновременно служит масляным резервуаром.

Коробка подач вертикального сверлильного верстата 2Б118
Коробка подач вертикального сверлильного верстата 2Б118. Дивитись у збільшеному масштабі
Коробка подач (смотри рис. 4) монтируется на плите (1) і устанавливается в корпусе механізма подач.
Привід коробки подач осуществляется от шестерни (2), сидящей непосредственно на шлицах шпинделя, і передающая вращение шестерням (3; 5), сидящим на осях (4). Двойная шестерня (5) передает вращение валу, в котором размещена вытяжная шпонка.
Перемещение вытяжной шпонки осуществляется кнопкой, расположенной на левой крышке кронштейна.
Последний вал коробки подач передает вращение муфте, сидящей на шлицевом кінці червяка механізма подач.
Коробка подач осуществляет четыре подачі, в пределах 0,1..0,4 мм на оборот шпинделя.

Механізм подач вертикального сверлильного верстата 2Б118
Механізм подач вертикального сверлильного верстата 2Б118. Дивитись у збільшеному масштабі
Корпус механізма (см. рис. 5) подач представляет собой жесткую чугунную отливку, внутри которой кроме механізма подач находится шпиндель і коробка подач. Механізм подач приводится в рух коробкой подач через муфту (1), служащую для виключення механической подачі от кулачка (2), установленного, на шестерне лимба (3). Эта же муфта играет роль предохранительного пристроя при перегрузке по усилию подачі. С помощью гвинта (4) і пружины (5) муфта настраивается на вимкнення (прощелкивание) при усилии подачі на 10 процентов превышающем номинальные, т. е. 600 кг.
Увімкнення механической подачі в любой момент можно произвести вращением штурвала (6) в обратном направлении (от себя).
Для налаштування глубины сверления, конец сверла доводится вручную до контакта з деталью, а левый край кулачка (2) совмещается з делением лимба, соответствующем глубине сверления. Кулачек 13 закреплен на шестерне лимба і регулировке не подлежит во избежание полома підшибників шпинделя
Принцип роботи механізма подач заключается в следующем: вращая штурвал (6) на себя, мы повернем соединенную з ним муфту (7) на 20 градусов относительно горизонтального вала. Угол 20 градусов ограничивается пазом на муфте і штифтом (8). При етом зубцы муфты (7), благодаря скосам, сдвигают обойму (9) в осевом направлении и, входя торцем на торец зубцов обоймы, фиксируют ето смещение. На обойме (9) сидит двухсторонний храповой диск (10), связанный з обоймой собачками (11). При смещении обоймы зубцы диска (10) входят в зацепление з зубцами второго диска (12), прикрепленного к червячному колесу (13). При дальнейшем вращении штурвала, при включенной подаче, собачки (11), сидящие в обойме (9), проскакивают по зубцам внутренней стороны диска (12) и, таким образом производится ручное опережение механической подачі.
При ручном выключении подачі штурвалом, повернув его в обратную сторону на 20 градусов относительно горизонтального вала (18), зуб муфты (7) встает против впадины обоймы (9).
Обойма, вследствие осевой силы, возникающей благодаря наклону зубцов дисков (10), (12) і специальной пружины (14), смещается вправо і расцепляет диски — механическая подача прекращается.
Механізм подач допускает ручную подачу шпинделя штурвалом, непосредственно через реечную шестерню (горизонтальный вал) (18) і гильзу шпинделя (15), для чего необходимо выключить штурвалом механическую подачу, і затем кольцо (16) переместить вдоль оси горизонтального вала от себя, при етом штифт (8) блокирует штифт (17). Таким образом вращение штурвала передається непосредственно на горизонтальный вал, (18).

Шпиндель сверлильного верстата 2Б118
Шпиндель (смотри рис. 6) вращается в шариковых підшипниках (1). Осевое усилие подачі воспринимается упорным подшипником (2), расположенным в гильзе шпинделя у нижней опори шпинделя. Регулювання підшибників шпинделя производится путем подтягивания гайки (3), расположенной над верхней опорой шпинделя.
Смазка підшибників- шпинделя производится фитилем из полости коробки подач.

Електрична схема сверлильного верстата 2Б118
Електрична схема сверлильного верстата 2Б118. Дивитись у збільшеному масштабі
Електроустаткування верстата состоит из следующих вузлів:
Вся пусковая і защитная аппаратура смонтирована в нише колонны на крышке. Проводка выполнена в металлорукавах, частинично идущих внутри колонны.
Командоаппараты расположены з левой стороны кронштейна і управляются от рукоятки.
Аппараты ручного керування имеют выведенные наружу изолированные ручки или штифты.
Новый верстат після установки его на рабочем месте, очистки, заливки масла, змазки, подключение к електрической сети, проверки роботи на всех оборотах і подачах не требует никакой регулировки. Наладка верстата заключается в установці стола і кронштейна в необходимые для роботи положения і зажиму клина кронштейна, установці чисел оборотів і подачі.
Глубина сверления устанавливается при помощи лимба следующим образом: вращая штурвал на себя, опускаем шпиндель до соприкосновения з обрабатываемой деталью. Отвертываем винт кулачка виключення подачі і устанавливаем кулачок против деления лимба, соответствующего глубине сверления і вновь затягиваем винт.
Деление лимба соответствует полной глубине сверления, включая конусную часть заточки сверла. Перемена направления вращение шпинделя производится за счет реверсирования електродвигуна, Колпачок з накаткой, расположенный в центре крестового штурвала, служит для виключення механической подачі при необходимости производить сверления или нарезание різьби з ручной подачей. Для увімкнення ручной подачі колпачок следует отжать от себя до отказа.
Натяжка ремней коробки швидкостей производится переміщенням кронштейна з установленным на нем електродвигуном при помощи натяжных винтов, помещенных на боковой стенке кронштейна мотора. Зазоры в підшипниках шпинделя выбираются подтяжкой гайки через окно на передньої стенке кронштейна, закрытое крышкой. Для осуществления регулировки необходимо шпиндель повернуть таким образом, чтобы винт регулировочной гайки находился против окна, затем ослабив винт, подтянуть гайку і вновь зажать винт, Для подтяжки пружины предохранительной муфты, включающей подачу при перегрузке, служит спеціальний винт з внутренним 6-гранным отверстием, расположенный под колпачком на верхней крышке кронштейна. Нормально пружина отрегулирована так, чтобы выключать подачу при осевом усилии, превышающем номинальное усилие подачі на 10%, т.е. при 600 кг.
| Наименование параметра | 2Н118 | 2Б118 |
|---|---|---|
| Основні параметри верстата | ||
| Наибольший условный диаметр сверления в стали σ = 50..60 кг*мм2, мм | 18 | 18 |
| Наименьшее і наибольшее расстояние от торца шпинделя до стола, мм | 0...650 | 50..650 |
| Наименьшее і наибольшее расстояние от торца шпинделя до фундаментной плиты, мм | 800..1150 | |
| Расстояние от оси вертикального шпинделя до направляючих стойки (вылет), мм | 200 | 200 |
| Рабочий стол | ||
| Максимальная нагрузка на стол (по центру), кг | ||
| Розміри рабочей поверхности стола (длина х ширина), мм | 320 х 360 | 320 х 400 |
| Число Т-образных пазов Розміри Т-образных пазов | 3 | |
| Наибольшее вертикальное перемещение стола (ось Z), мм | 350 | 350 |
| Перемещение стола на один оборот рукоятки, мм | 2,4 | |
| Шпиндель | ||
| Наибольшее перемещение шпиндельной головки (гильзы шпинделя), мм | 300 | 100 |
| Наибольшее осевое перемещение шпинделя, мм | 150 | 150 |
| Перемещение шпиндельной головки на один оборт маховичка, мм | 4,4 | |
| Перемещение шпинделя на одно деление лимба, мм | 1 | |
| Перемещение шпинделя на один оборот маховичка-рукоятки, мм | 110 | |
| Частота обертання шпинделя, об/хв (кількість швидкостей) | 180..2800 (9) | 208..2040 (6) |
| Найбільший допустимий момент, що крутить, кг*см | 880 | 880 |
| Найбільше зусилля подачі, кг | 500 | |
| Конус шпинделя | Морзе 2 | Морзе 2 |
| Механіка верстата | ||
| Межі вертикальних робочих подач на один оборот шпинделя, мм (число подач) | 0,1..0,56 (6) | 0,1..0,4 (4) |
| Найбільша допустима сила подачі, кгс | 560 | 550 |
| Гальмування шпинделя | є | |
| Привід | ||
| Електродвигун приводу головного руху | AOL2-22-4C2 | |
| Електродвигун приводу головного руху, кВт (об/хв) | 1,5 (1420) | 1,7 (2850) |
| Електронасос охолоджувальної рідини | ПА-22 | ПА-22 |
| Габарит та маса верстата | ||
| Габарити верстата (довжина ширина висота), мм | 870 х 590 х 2080 | 727 х 625 х 1960 |
| Маса верстата, кг | 450 | 450 |