Виробником вертикально-свердлувального верстата 2Н118-1 є Молодечненський верстатобудівний завод МСЗ , заснований у 1947 році.
З січня 1958 року завод став іменуватися Молодеченським верстатобудівним заводом, отримавши завдання спеціалізуватися на випуску свердлильних верстатів. Починаючи з 1961 року, завод почав серійно випускати двошпиндельні, тришпиндельні, а потім універсальні вертикально-свердлильні верстати.
Верстатобудівний завод у досить непростих умовах намагається зберегти основну спеціалізацію. За результатами роботи за 2004 рік верстатна продукція становила – 42% у загальному обсязі випуску продукції.
Вертикальний свердлильний верстат моделі 2Н118-1 з умовним діаметром свердління 18 мм призначений для виконання наступних операцій: свердління, розсвердлювання, нарізування різьблення та підрізування торців ножами.
Свердлильний верстат 2Н118-1 призначений для роботи в основних виробничих цехах, а також в умовах одиничного та дрібносерійного виробництва в інструментальних, експериментальних, ремонтно-механічних та інструментальних цехах з індивідуальним та дрібносерійним випуском продукції.
Верстат 2Н118-1 віднесений до умовного діаметру свердління 18 мм верстат допускає обробку деталей із зусиллям подачі до 560 кг і моментом, що крутить, до 880 кг-см.
Основні відмінності свердлильного верстата 2Н118-1 від 2Н118:
Інші вузли верстатів 2Н118-1 та 2Н118 ідентичні.
Верстат 2Н118-1 відноситься до конструктивної гами вертикально-свердлильних верстатів середніх розмірів (2Н118, 2Н118-1, 2Н125, 2Н125Л, 2Н135, 2Н150, 2Г175) з умовним діаметром свердління 5 5 5,5 В порівнянні з верстатами (з індексом А), що випускалися раніше, верстати нової гами мають зручніше розташування рукояток керування коробками швидкостей і подач, кращий зовнішній вигляд, простішу технологію складання і механічної обробки ряду відповідальних деталей, більш досконалу систему мастила. Агрегатне компонування та можливість автоматизації циклу забезпечують виробництво на їх основі спеціальних верстатів.
На фундаментній плиті змонтовано колону коробчастої форми. У її верхній частинині розміщена шпиндельна головка, що несе електродвигун та шпиндель з інструментом. На вертикальних направляючих колони встановлена шпиндельна бабка, усередині якої розміщений механізм подачі, що здійснює вертикальне переміщення шпинделя. Піднімати та опускати шпиндель можна механічно та за допомогою штурвала вручну. Для встановлення та закріплення пристрій з оброблюваними заготовками є стіл. Його можна встановлювати на різній висоті, залежно від розмірів оброблюваних деталей.
Нарізання різьблення здійснюється при ручній подачі шпинделя та електричному реверсуванні двигуна головного приводу.
2А118 - Ø 18 вертикально-свердлильний верстат універсальний, одношпиндельний - попередн. Модель
2Н118 - Ø 18 вертикально-свердлильний верстат - базова модель
2Н118-1 - Ø 18 вертикально-свердлильний верстат, має електромеханічний механізм підйому - опускання столу
2Н118К - Ø 18 вертикально-свердлильний верстат - координатний
2Н118Ф2 - Ø 18 вертикально-свердлильний верстат з ЧПУ
МН18Н - Ø 18 - вертикально-свердлильний спеціальний верстат ТУ2.024-5244-82ь, ГОСТ 12.2.009-80, ГОСТ 7599-82
МН18-43 - Ø 18 - вертикально-свердлильний спеціальний верстат
МН18-47 - Ø 18 - вертикально-свердлильний спеціальний верстат
МН18-52 - Ø 18 - вертикально-свердлильний спеціальний верстат

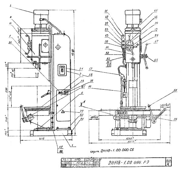
Габарит свердлильного верстата 2Н118-1 із плаваючим столом.

Габарит робочого простору свердлильного верстата 2Н118-1
Габарит робочого простору свердлувального верстата 2Н118-1. Завантажити у збільшеному масштабі

Фото вертикально-свердлувального верстата 2Н118-1.

Фото вертикально-свердлувального верстата 2Н118-1.

Фото вертикально-свердлувального верстата 2Н118-1.

Фото вертикально-свердлувального верстата 2Н118-1. Керування подачею та шпинделем

Фото вертикально-свердлувального верстата 2Н118-1.

Органи керування свердлильним верстатом 2Н118-1

Кінематична схема свердлильного верстата 2Н118-1
Кінематична схема свердлувального верстата 2Н118-1. Завантажити у збільшеному масштабі

Схема встановлення підшипників на свердлильному верстаті 2Н118-1
Схема встановлення підшипників на свердлильному верстаті 2Н118-1. Завантажити у збільшеному масштабі
Колона верстата є чавунним виливком коробчатої форми, всередині якої є ніша для розміщення електрообладнання. Колона має напрямні типу «ластівчин хвіст», якими переміщається стіл, Колона закріплена на фундаментній плиті, внутрішні смужки якої є резервуаром для охолоджуючої рідини. На фундаментній плиті закріплено електронасос охолодження та механізм підйому столу.
Стол плавающий (рис. 3) поворотно-передвижной предназначен для установки на нем обрабатываемой детали і позволяет обрабатывать в детали любое количество отверстий без її перезакрепления. Состоит из чугунного литого основания 8 з вертикальными направляющими типа «ласточкин хвост" для вертикального переміщення по колонне і круглого литого стола 2, установленного на верхней плоскости основания 8. Стол 2 в отжатом состоянии може легко поворачиваться вокруг своей оси на підшипниках качения, установленных в стакане 5, закрепленном на плите 4. В свою очередь плита може легко перемещаться вместе со столом в продольном направлении на підшипниках качения по направляющим планкам 3, жестко закрепленным в пазу основания. Во время обробки отверстия стол 2 фиксируется в рабочем положении. Через центральное отверстие в стакане 5 проходит тяга 6, посредством которой производится отжим стола от основания.
Вокруг рабочей поверхности стола имеется корито для слива СОЖ і сбора стружки. Из корыта СОЖ через четыре отверстия сливается в кольцо 1, а оттуда в корито основания і затем по телескопической трубе в плиту верстата.
На плите 4 закреплены щитки для защиты опорной поверхности основания от стружки і СОЖ. Снизу на основании установлен упор 7, в который через шарик упирается винт механізма подъема стола. Для регулювання зазоров в вертикальних направляючих имеются клинья з зажимными і регулировочными болтами.

Коробка швидкостей сверлильного верстата 2Н118-1
Коробка швидкостей сверлильного верстата 2Н118-1. Скачать в увеличенном масштабе
Коробка швидкостей (рис. 4) сообщает шпинделю девять различных чисел частоти обертання, что достигается при помощи двух тройных блоков шестерен 4, 13.
Опори валов коробки швидкостей размещаются в двух плитах — верхней 6 і нижней 2, которые стянуты между собой тремя стяжками 5. Механізм коробки швидкостей приводится во вращение от вертикально расположенного електродвигуна через зубчатую передачу 11, 12.
В случае надобности можно сдвинуть диапазон частоти обертання шпинделя за счет изменения передаточного отношения етой передачи. Последний вал коробки швидкостей 3 представляет собой полую гильзу, шлицевое отверстие которой передает вращение шпинделю верстата.
На етой же гильзе крепится шестерня 1 приводу подач. Переключення шестерен коробки швидкостей осуществляется от одной рукоятки 7, которая може мати три положения по окружности і три положения по оси.
Рукоятка располагается на лицевой поверхности сверлильной головки і через шестерни 9, 8 і рейку 10 перемещает штанги, на которых закреплены вилки, связанные з переключаемыми блоками шестерен 4, 13.
Все механізмы коробки швидкостей собираются в узел і монтируются в сверлильной головке. Смазка механізмов коробки швидкостей, также как і всей сверлильной головки, производится от шестеренного насоса, расположенного на коробке подач.
Для контроля роботи маслонасоса в верхней крышке его имеется спеціальний маслоуказатель.

Коробка подач сверлильного верстата 2Н118-1
Коробка подач сверлильного верстата 2Н118-1. Скачать в увеличенном масштабе

Коробка подач сверлильного верстата 2Н118-1
Коробка подач сверлильного верстата 2Н118-1. Скачать в увеличенном масштабе
Коробка подач (рис. 5) представляет собой трехваловый механізм, смонтированный в отдельном литом корпусе 1. Шесть подач обеспечиваются при помощи тройного блока шестерен 10 і двойного блока шестерен 13.
Привід коробки подач осуществляется от шестерни, сидящей на гильзе шпинделя, через шестерню 11. Третий вал коробки подач 12 посредством зубчатой передачи 6 передает вращение на шариковую муфту і червяк механізма подач. Шариковая муфта смонтирована на кінці червяка механізма подач і служит для виключення механической подачі при достижении заданной глубины обробки. В етом случае кулачок на лимбе через горизонтальный валик перемещает вертикально вверх штангу 5 и, преодолевая сопротивление пружины 3, отключает муфту.
Эта же муфта играет роль предохранительного пристроя при перегрузке по усилию подачі. С помощью гаек 4 і пружины 3 муфта настраивается на вимкнення (прощелкивание) при усилии подач 600Н, т. е. на 10% превышающем номинальное.
Вал 9 через штифт 8 приводит во вращение шестеренный насос для змазки.
Переключення шестерен коробки подач осуществляется от одной рукоятки 2, которая имеет два положения по оси і три — по окружности. Рукоятка располагается на лицевой поверхности сверлильной головки. Конструкція механізмов переключения подач і швидкостей идентична.
Смазка механізмов коробки подач производится от шестеренного насоса 7, который осуществляет также смазку всех других механізмов сверлильной головки. Механізми коробки подач собираются отдельно, і полностью собранный узел монтируется в сверлильной головке. В расточке сверлильной головки соосно з червяком запрессован валик, к которому крепится коробка подач.

Механізм подач шпинделя сверлильного верстата 2Н118-1
Механізм подач шпинделя сверлильного верстата 2Н118-1. Скачать в увеличенном масштабе

Механізм подач шпинделя сверлильного верстата 2Н118-1
Механізм подач шпинделя сверлильного верстата 2Н118-1. Скачать в увеличенном масштабе
Сверлильная головка представляет собой чугунную отливку коробчатого сечения, в которой монтируются основні вузли верстата:
Первые три вузла собираются отдельно і только крепятся к сверлильной головке. Механізм подач, состоящий из червячной передачи 1, 2, горизонтального вала з валом-шестерней 17, лимба 4 со связанными з ними деталями, штурвала 8, кулачковой муфты 12 і храповой обгонной муфты со ступицей 13, является составной частью вузла сверлильной головки.
Механізм подачі (рис. 6) приводится в рух от коробки подач через пару шестерен 3 і выполняет наступні функции:
Принцип роботи механізма подач заключается в следующем. При вращении штурвала на себя поворачивается кулачковая муфта, которая через ступицу вращает вал-шестерню. Происходит ручной подвод шпинделя.
Когда инструмент подойдет к детали, на вал-шестерне возрастает крутящий момент, который не може быть передан зубцами кулачковой муфты, а ступица перемещается влево от вала до тех пор, пока торцы кулачков деталей 12 і 13 не станут друг против друга. В етот период кулачковая муфта поворачивается свободно относительно вала на 20°. Угол в 20° ограничивается пазом на муфте і штифтом 11. На ступице 13 сидит двухсторонний храповой диск 14, связанный со ступицей собачками 7.
При смещении ступицы зубцы диска 14 входят в зацепление з зубцами второго диска 6, прикрепленного к червячному колесу 16. Таким образом, вращение от червяка передається реечной шестерне, і происходит механическая подача.
При дальнейшем вращении штурвала при включенной подаче собачки, сидящие в ступице, проскакивают по зубцам внутренней стороны 14, після чего осуществляется ручное опережение механической подачі.
При ручном выключении подачі штурвалом з поворотом его в обратную сторону на 20° относительно горизонтального вала зуб кулачковой муфты станет против впадины ступицы.
Ступица вследствие осевой силы, возникающей благодаря наклону зубцов дисков 15 і 14 і специальной пружины, смещается вправо і расцепляет диски, після чего механическая подача прекращается.
При ручной подаче шпинделя штурвалом необходимо включить штурвалом механическую подачу, а затем колпачок 10 переместить вдоль оси горизонтального вала вправо. При етом фиксатор 9 колпачка передает крутящий момент непосредственно от кулачковой муфты на вал-шестерню.
На левой стенке сверлильной головки смонтирован лимб, который во время подачі шпинделя приводится во вращение через пару шестерен 5, 18. Лимб предназначен для визуального отсчета глубины обробки і для налаштування кулачков.
Для визуального отсчета глубины обробки инструмент доводят вручную до контакта з обрабатываемой деталью і левой рукой устанавливают лимб в нулевое положение. Отсчет глубины обробки производится по шкале на цилиндрической поверхности лимба.
Для установки кулачков на торцевой поверхности лимба имеется Т-образный паз для их закрепления.
Питание ланцюгів електроустаткування осуществляется следующими напряжениями:
Електроустаткування верстата предназначено для подключения к трехфазной сети переменного тока з глухозаземленным или изолированным нейтральным проводом.
На станке установлены електродвигатели:

Електрична схема сверлильного верстата 2Н118-1
Електрична схема сверлильного верстата 2Н118-1. Скачать в увеличенном масштабе

Список елементівя сверлильного верстата 2Н118-1
Список елементівя сверлильного верстата 2Н118-1. Скачать в увеличенном масштабе
На станке установлены конечные выключатели: S7, S8 — ограничения ходу стола.
На крышке ниши електроустаткування установлен двухполюсный переключатель (тумблер) S6 для керування подъемом-опусканием стола.
Тумблер S1, кнопки керування і сигнализации, «Сеть» размещены на пульті керування, установленном на корпусе сверлильной головки.
Аппаратура керування размещена в нише колонны. На боковой стенке колонны установлен 3-фазный автоматический выключатель для подключения верстата в питающей сети F1.
При осмотре или ремонтi електроапаратури вводной выключатель должен быть обязательно выключен!
Ввод питающих проводов выполнен через отверстие вверху колонны. Использован провод марки ПВЗ черного цвета для линейных проводов і желто-зеленого — для заземления.
При первоначальном пуске верстата необходимо:
Перед началом роботи необходимо убедиться, что предохранители исправны. Напряжение на верстат подается включением вводного автоматичного выключателя F1. Загорается лампочка Н2 «Сеть». Если необходимо освещение і охолодження, то соответствующие выключатели ставятся в положение «Включено».
<нажатием на="" кнопку="" s3="" «шпиндель="" вправо»="" включается="" пускатель="" к1;="" через="" замыкающий="" блок-контакт="" к1/15—16="" получает="" питание="" катушка="" пускателя="" к2;="" замыкающим="" блок-контактом="" к1="" (14—15)="" схема="" становится="" на="" самопитание.="" силовые="" контакты="" пускачів="" к1="" и="" к2="" включают="" двигатель="" m1="" на="" правое="" вращение,="" а="" силовые="" контакты="" пускателя="" к4="" подают="" питание="" на="" двигатель="" м2="" насоса="" охлаждения,="" который="" включается="" при="" включенном="">
Для останова з торможением следует нажать на кнопку S2 «Стоп». При етом отключаются ранее включенные пускатели К2 і К1 либо КЗ і включается пускатель К2, который своими замыкающими контактами подает на Ml выпрямленное на диодном мостике напряжение, — осуществляется динамическое торможение приводу головного руху.
Подъем-опускание стола осуществляется електродвигуном М3, включаемым на правое или левое вращение пускателем К5 или К6 соответственно тумблером S6. Ограничение ходу стола осуществляется конечным выключателем S7 і S8.
Захист електроустаткування верстата от коротких замыканий осуществляется вводным автоматическим выключателем і предохранителем.
Захист електродвигуна М2 насоса охлаждения от перегрузок осуществляется тепловым реле. Минимальная защита електродвигателей обеспечивается пускателями.
Смазка верстата осуществляется:
Циркуляционная система включает в себя резервуар 6, насос шестеренный 8, пробку сливную 16 з сетчатым фильтром. Насос приводится в рух от вала коробки подач.
Подаваемое насосом масло поступает на смазку вузлів коробки швидкостей і коробки подач, а затем, сливаясь в резервуар, расположенный в корпусе сверлильной головки, смазывает все її механізмы. Контроль за подачей змазки я її уровнем в резервуаре осуществляется визуально при помощи маслоуказателей 7 і 9.
Перед пуском верстата необходимо: заполнить резервуар 1 маслом И-20 ГОСТ 20799—75 в количестве 2,5 л через отверстие 5 в правой стенке сверлильной головки. Контроль за уровнем производства по маслоуказателю 7.
Перед заливкой масло должно быть предварительно профильтровано через сетку. При работе верстата контролировать: уровень масла по указателю 7, наличие масла в указателе 9. Перед началом роботи на станке сразу же після увімкнення шпинделя «Вправо» нужно проверить работу маслонасоса. Контроль производится по указателю 9. При нормальной работе насоса масло должно непрерывно вытекать из отверстия і попадать на указательное стекло. Только убедившись в нормальной работе насоса і смазав все остальные точки, можно приступить к работе на станке.
Для увімкнення ручной подачі колпачок з накаткой, расположенный в центре крестового штурвала, отожмите от себя до отказа.
Наладка верстата на работу з вимкненням подачі на заданной глубине.
Для налагодження:
После увімкнення обертання шпинделя і подачі начнется обработка детали. По достижении заданной глубины подача прекращается, но шпиндель продолжает вращаться. Для его остановки нужно нажать кнопку «Стоп».
Для налагодження верстата на нарезание різьби з реверсом шпинделя на определенной глубине:
После установки верстата на фундаменте, змазки его механізмов і подключения к електрической сети не требуется никаких додаткових регулировок. Однако в процессе експлуатации первоначальная (заводская) регулировка може нарушаться, поетому може потребоваться дополнительная регулировка некоторых механізмов верстата.
Предохранительная муфта механізма подач отрегулирована заводом-изготовителем на осевое усилие, предотвращающее поломку механізма подач при обработке отверстий максимального диаметра.
Регулировку направляючих стола произведите гвинтами на правой боковой стороне направляючих стола, а зажим стола — болтом сухаря, расположенным на правой стороне.
Прежде чем приступить к разборке верстата, отключите верстат от електросети автоматическим вводным выключателем.
При разборке і сборке вузлів верстата пользуйтесь имеющимися в руководстве чертежами. Конструкція вузлів верстата проста і поетому порядок разборки і сборки вузлів ясен из сборочных чертежей.

Шпиндель сверлильного верстата 2Н118-1
Шпиндель (рис. 7) смонтирован в двух шариковых підшипниках 3 і 6.
Осевое усилие подачі воспринимается упорным подшипником 5. Підшипники расположены в гильзе шпинделя 4, которая при помощи реечной передачи имеет возможность перемещаться вдоль оси.
Регулювання підшибників шпинделя производится при помощи круглой шлицевой гайки з контргайкой 1 і 2, расположенной над верхней опорой шпинделя.
Шпиндель верстата 2Н118-1 смонтирован на 3-х підшипниках:
Наладка верстата на обычную работу заключается в установці стола і сверлильной головки в необходимые для роботи положения, зажиме их на колонне і установці необходимых чисел оборотів і подач шпинделя.
Кроме обычной роботи з механической подачей на станке можно работать со следующими циклами:
Для увімкнення ручной подачі колпачок з наладкой, расположенной в центре крестового штурвала, следует нажать от себя до отказа.
Для налагодження верстата на работу з вимкненням подачі на заданной глубине необходимо:
После увімкнення обертання шпинделя і подачі начнется обработка детали; по достижении нужной глубины подача прекращается, но шпиндель будет продолжать вращаться.
Для налагодження верстата на нарезание різьби з реверсом шпинделя на определенной глубине необходимо:
После увімкнення обертання шпинделя метчик вручную вводится в отверстие, через 2—3 оборота надобность в ручной подаче отпадает; після достижения заданной глубины шпиндель автоматически реверсируется і метчик выходит из отверстия.
Для того чтобы шпиндель снова принял правое вращение, необходимо нажать кнопку керування «Вправо».
После установки верстата на фундаменте, змазки его механізмов і подключения к електрической сети не требуется никаких додаткових регулировок. Однако в процессе експлуатации первоначальная (заводская) регулировка може нарушаться і потребуется дополнительная регулировка некоторых механізмов верстата.
Подшипник 7000105 - ето шариковый радиальный однорядный подшипник открытого типа, относящийся к особо легкой серии диаметров по диаметру і узкой серии по ширине. Предназначен для восприятия радиальных нагрузок при високою скорости обертання.
В России выпускается на двух предприятиях — в Самаре на СПЗ-4 і в Вологде на 23 ГПЗ. Последний завод производит етот подшипник более высокого класса, из хороших материалов, что, конечно, влияет на его стоимость.
Данный подшипник применяется в отечественных троллейбусах (механізм открывания двери), трамвайных вагонах.
Импортный подшипник етого типа имеет номер 16005. В стандартном виконанні они имеют штампованный стальной сепаратор, но могут также поставляться з механически обработанными сепараторами из латуни или полиамида. Для роботи в условиях высоких рабочих температур рекомендуется использовать сепараторы из полиамида или стеклонаполненного полиефирефиркетона. Импортные підшипники етой серии поставляются как правило закрытого типа і в уходе не нуждаются.
Представляет из себя шариковый упорный однорядный подшипник. Этот тип предназначен для восприятия осевой нагрузки, действующей в одностороннем направлении. Устанавливается в вузли з невысокими скоростями обертання. При монтаже важно помнить, что кольца у упорников разные: то кольцо, которое сажается на вал имеет внутренний диаметр порядка 1-1,5 мм меньший, чем у кольца, идущего в корпус.
Основной изготовитель в советское время — Курский підшибниківый завод. Сейчас тип производится на ГПЗ-2 (Москва), СПЗ-4 (Самара)
Знайте, что больше в нашей стране нет заводов, которые производят ети підшипники — все остальное Китай (підшипники производятся в Китае из низкокачественных материалов і там же маркируются) (разумеется ето не относится к дорогим импортным брендам, например KOYO, FAG, SKF, SNR).
Иностранное обозначение упорного підшипника етого типоразмера — 51205.
Устанавливаются на иностранные погрузчики, трактор Т-170 (регулятор дизеля), а также прочие не самые распространенные агрегаты.

Схема підшипника 8205 (51205)

Фото підшипника 8205 (51205)
| Наименование параметра | 2Н118-1 | 2Н118 | 2Б118 |
|---|---|---|---|
| Основні параметри верстата | |||
| Наибольший условный диаметр сверления в стали σ = 50..60 кг*мм2, мм | 18 | 18 | 18 |
| Найменша та найбільша відстань від торця шпинделя до столу, мм | 150..650 | 0...650 | 50..650 |
| Найменша та найбільша відстань від торця шпинделя до фундаментної плити, мм | 800..1150 | ||
| Відстань від осі вертикального шпинделя до направляючих стійки (виліт), мм | 200 | 200 | 200 |
| Робочий стіл | |||
| Розміри робочої поверхні столу (довжина x ширина), мм | 360 x 480 | 320 x 360 | 320 х 400 |
| Число Т-подібних пазів Розміри Т-подібних пазів | 3 | 3 | |
| Найбільше вертикальне переміщення столу (вісь Z), мм | 350 | 350 | 350 |
| Переміщення столу на один оберт рукоятки, мм | 2,4 | ||
| Шпиндель | |||
| Найбільше переміщення шпиндельної головки по колоні, мм | 300 | 100 | |
| Найбільше осьове переміщення шпинделя (гільзи шпинделя), мм | 150 | 150 | 150 |
| Переміщення шпиндельної головки на один оборот маховичка, мм | 4,4 | ||
| Переміщення шпинделя на один поділ лімба, мм | 1 | ||
| Переміщення шпинделя на один оборот маховичка-рукоятки, мм | 110 | ||
| Частота обертання шпинделя, об/хв (кількість швидкостей) | 180..2800 (9) | 180..2800 (9) | 208..2040 (6) |
| Найбільший допустимий момент, що крутить, Н.м | 88 | 88 | 88 |
| Конус шпинделя | Морзе 3АТ8 | Морзе 2 | Морзе 2 |
| Механіка верстата | |||
| Межі вертикальних робочих подач на один оборот шпинделя, мм (число подач) | 0,1..0,56 (6) | 0,1..0,56 (6) | 0,1..0,4 (4) |
| Найбільша допустима сила подачі, Н | 5600 | 5600 | 5500 |
| Гальмування шпинделя | є | є | |
| Привід | |||
| Електродвигун приводу головного руху | 4AH80, V4U3 | AOL2-22-4C2 | |
| Електродвигун приводу головного руху, кВт (об/хв) | 1,5 (1500) | 1,5 (1420) | 1,7 (2850) |
| Електродвигун приводу підйому столу, кВт (об/хв) | 0,37 (1500) | - | - |
| Електронасос охолоджувальної рідини | 0,12 (3000) | 0,12 (3000) | 0,12 (3000) |
| Електронасос охолоджувальної рідини | ПА-22 | ПА-22 | ПА-22 |
| Габарит та маса верстата | |||
| Габарити верстата (довжина ширина висота), мм | 730 х 648 х 1980 | 870 х 590 х 2080 | 727 х 625 х 1960 |
| Маса верстата, кг | 600 | 450 | 450 |