Виробником настільного свердлильного верстата 2Н106П є Молодечненський верстатобудівний завод МСЗ , заснований у 1947 році.
З січня 1958 року завод став іменуватися Молодеченським верстатобудівним заводом, отримавши завдання спеціалізуватися на випуску свердлильних верстатів. Починаючи з 1961 року, завод почав серійно випускати двошпиндельні, тришпиндельні, а потім універсальні вертикально-свердлильні верстати.
Початок серійного виробництва 1967 року.
Верстат настільно-свердлильний моделі 2Н106П підвищеної точності призначений для свердління отворів діаметром до 6 мм та нарізування різьблення в дрібних деталях деталях з чавуну, сталі, кольорових сплавів та неметалічних матеріалів в умовах промислових підприємств, ремонтних майстерень та побутових майстерень.
Свердлильний верстат 2Н106П ефективно використовується у великосерійному виробництві.
Верстати 2н106п дозволяють виконувати такі операції:
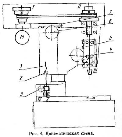
Шпиндель верстата 2н106п отримує 7 швидкостей обертання від змінних шківів приводу, що забезпечує вільний вибір швидкостей різання в діапазоні від 1000 до 8000 об/хв.
Кінець шпинделя – зовнішній укорочений конус морзе КМ1, позначення В10 за ГОСТ 9953 (Конуси інструментальні укорочені) – конус укорочений: D = 10,094 мм.
Укороченому конусу В10 відповідає свердлильний трикулачковий патрон 4-го типорозміру за ГОСТ 8522 (Патрони трикулачкові свердлильні) з діапазоном затиску 0,5..4 мм.
При встановленні на верстат пневмогідравлічного механізму подачі ПУ-106 може бути використаний в автоматичній лінії.
Простота конструкції забезпечує легкість керування, надійність та довговічність верстатів.
Відлік глибини свердління провадиться за плоскою шкалою або упором.
П'ятиступінчасті шківи приводу дозволяють отримувати 7 швидкостей обертання шпинделя, що забезпечує вільний вибір швидкостей різання.
Оригінальна конструкція натягу ремінної передачі дозволяє швидко змінювати положення ременя на шківах для отримання потрібної швидкості різання.
На верстатах з багатошпиндельним виконанням можливе виконання одночасно або послідовно кількох операцій без зміни інструменту. При встановленні на верстатах пневмогідравлічного механізму подачі ПУ 106 та відповідних транспортно-завантажувальних пристроїв верстата можуть бути вбудовані в автоматичну лінію.
Розробник – Молодечненський верстатобудівний завод МСЗ.
Виробник – Молодечненський верстатобудівний завод МСЗ. Початок виробництва 1967 року.
Верстат вироблявся за ТУ2-024-728-67 та ГОСТ 7599-55.
Конус інструментальний - Конус Морзе - одне з найбільш застосовуваних кріплень інструменту. Був запропонований Стівеном А. Морзе приблизно 1864 року.
Конус Морзе підрозділяється на вісім розмірів - від КМ0 до КМ7 (англійською: MT0-MT7, німецькою: MK0-MK7).
Стандарти на конус Морзе: ГОСТ 25557 (Конуси інструментальні. Основні розміри), ISO 296, DIN 228. Конуси, виготовлені за дюймовими та метричними стандартами, взаємозамінні у всьому, крім різьблення хвостовика.
Для багатьох застосувань довжина конуса Морзе виявилася надмірною . Тому було введено стандарт на дев'ять типорозмірів укорочених конусів Морзе (B7, B10, B12, B16, B18, B22, B24, B32, B45), ці розміри отримані видаленням більш товстої частинини конуса. Цифра позначення короткого конуса — діаметр товстої частинини конуса в мм.
Російський стандарт на укорочені конуси ГОСТ 9953 Конуси інструментів укорочені .
Російський стандарт на свердлильні патрони ГОСТ 8522 Патрони свердлильні трикулачні .
Де D – діаметр конуса в основній площині.

Габарит робочого простору свердлильного верстата 2н106п

Фото свердлильного верстата 2н106п

Фото свердлильного верстата 2н106п

Фото свердлильного верстата 2н106п

Фото свердлильного верстата 2н106п

Фото свердлильного верстата 2н106п

Фото двошпиндельного свердлильного верстата 2н106п-2.

Фото тришпиндельного свердлильного верстата 2н106п-3

Розташування органів керування свердлильним верстатом 2н106п

Кінематична схема свердлильного верстата 2н106п

Механізм приводу головного руху верстата 2н106п

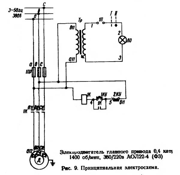
Електрична схема свердлильного верстата 2н106п
Електроустаткування верстата 2Н106П містить:
У разі встановлення вузла "Охолодження" електродвигун підключати в точках а 12 12 c 12 .
Місцеве освітлення вмикається тумблером 1П.
Захист електродвигуна від струмів короткого замикання здійснюється запобіжниками 1Пр.
Нульовий захист здійснюється котушкою магнітного пускача 1К.
| Найменування параметру | 2H106P | 2A106P |
|---|---|---|
| Основні параметри верстата | ||
| Найбільший умовний діаметр свердління, мм | 6 | 6 |
| Найменша та найбільша відстань від торця шпинделя до столу | 50..250 | 25..200 |
| Відстань від осі вертикального шпинделя до направляючих стійки (виліт), мм | 125 | 125 |
| Робочий стіл | ||
| Розміри робочої поверхні столу, мм | 200 х 200 | 200 х 200 |
| Число Т-подібних пазів Розміри Т-подібних пазів | 1 | 1 |
| Шпиндель | ||
| Найбільше переміщення шпиндельної головки по колоні, мм | 130 | 105 |
| Хід гільзи шпинделя, мм | 70 | 70 |
| Частота обертання шпинделя, об/хв | 1000..8000 | 1548..15000 |
| Кількість швидкостей шпинделя | 7 | 6 2 шківа х 3 |
| Конус шпинделя | Морзе 1а | Морзе II-Iв |
| Привід | ||
| Електродвигун приводу, кВт | 0,4 | 0,4 |
| Габарит та маса верстата | ||
| Габарити верстата (довжина ширина висота), мм | 560 х 405 х 625 | 600 х 350 х 650 |
| Маса верстата, кг | 80 | 73 |