Виробником настільного свердлильного верстата 2А106П є Молодечненський верстатобудівний завод МСЗ , заснований у 1947 році.
З січня 1958 року завод став іменуватися Молодеченським верстатобудівним заводом, отримавши завдання спеціалізуватися на випуску свердлильних верстатів. Починаючи з 1961 року, завод почав серійно випускати двошпиндельні, тришпиндельні, а потім універсальні вертикально-свердлильні верстати.
Початок серійного виробництва настільного свердлувального верстата 2А106П – 1962 рік.
Верстат настільно-свердлильний вертикальний навчальний моделі 2А106П призначений для свердління отворів у дрібних деталях із чавуну, сталі, кольорових сплавів та неметалічних матеріалів.
Свердлильний верстат 2А106П дозволяє виконувати такі операції:
Шпиндель верстата 2а106п отримує 6 швидкостей обертання від 2-х пар змінних шківів приводу та шпинделя, що забезпечує швидкості різання 1548, 2900, 4300 об/хв об/хв від 1-ї пари шківів і 7400, 11000, 1 -ї пари шківів.
Кінець шпинделя – укорочений зовнішній конус морзе. Діаметр конуса верстата 2а106п в основній площині D = 10,260 мм (за сучасним стандартом В10 повинен мати D = 10,094 мм) і сучасні патрони свердлильні з ним не сумісні.
Відлік глибини свердління провадиться по лімбу на рукоятці подачі шпинделя. Ціна поділу лімбу – 1 мм.
Оригінальна конструкція натягу ремінної передачі дозволяє швидко змінювати шківи та положення ременя на шківах для отримання потрібної швидкості різання.

Посадочні місця та приєднувальні розміри свердлильного верстата 2А106П

Фото свердлильного верстата 2А106П

Фото свердлильного верстата 2А106П

Розташування органів керування свердлильним верстатом 2А106П

Кінематична схема свердлильного верстата 2А106П
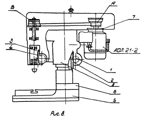
Верстат складається з чавунної плити 5, що є робочим столом. На плиті жорстко закріплена колонка 6, що несе корпус 8.
На фланці 7, приєднаному до верхнього кожуха, кріпиться електродвигун. Для натягу приводного ременя слід відпустити гвинти кріплення фланця до верхнього кожуха, перемістити фланець разом з електродвигуном по пазу кожуха в потрібне положення та затиснути гвинти.
Переміщення корпусу по колонці здійснюється за допомогою зубчастої рейки 2 та рейкової шестерні 1.
Для переміщення корпусу по колонці необхідно послабити клемовий затискач поворотом рукоятки рейкової шестерні, встановити корпус на потрібну висоту. Фіксація корпусу на потрібній висоті здійснюється затягуванням клеммового затискача.
Налаштування верстата на певну глибину свердління провадиться по лімбу. Після закінчення свердління піноль повертається у вихідне положення під дією сили пружини. Для зміни чисел оборотів шпинделя необхідно зняти кришку, перевести приводний ремінь на відповідний ступінь шківів, а при необхідності змінити шків і закрити кришку.
Щодня перед початком роботи ретельно оглянути стан верстата, наявність мастила, перевірити затискач корпусу верстата та стан електроапаратури.
Забороняється застосовувати свердлильні патрони для свердління отворів діаметром більше 6 мм.
Електроживлення свердлильного верстата 2А106П ~380 або ~220 Вольт. Верстати, виготовлені для промислових підприємств та навчальних закладів мають напругу живлення ~380 В, для пересувних майстерень - ~220 В. Місцеве освітлення має безпечну напругу ~24 В.
Все електроустаткування верстата: перемикачі, трансформатор, запобіжники розміщується під плитою робочого столу.

Електрична схема свердлильного верстата 2А106П на 380В
| Найменування параметру | 2H106P | 2A106P |
|---|---|---|
| Основні параметри верстата | ||
| Найбільший умовний діаметр свердління, мм | 6 | 6 |
| Найменша та найбільша відстань від торця шпинделя до столу | 50..250 | 25..200 |
| Відстань від осі вертикального шпинделя до направляючих стійки (виліт), мм | 125 | 125 |
| Робочий стіл | ||
| Розміри робочої поверхні столу, мм | 200 х 200 | 200 х 200 |
| Число Т-подібних пазів Розміри Т-подібних пазів | 1 | 1 |
| Шпиндель | ||
| Найбільше переміщення шпиндельної головки по колоні, мм | 130 | 105 |
| Хід гільзи шпинделя, мм | 70 | 70 |
| Частота обертання шпинделя, об/хв | 1000..8000 | 1548..15000 |
| Кількість швидкостей шпинделя | 7 | 6 2 шківа х 3 |
| Конус шпинделя | Морзе 1а | Морзе II-Iв |
| Привід | ||
| Електродвигун приводу, кВт | 0,4 | 0,4 |
| Габарит та маса верстата | ||
| Габарити верстата (довжина ширина висота), мм | 560 х 405 х 625 | 600 х 350 х 650 |
| Маса верстата, кг | 80 | 73 |