Виробник токарно-револьверного верстата моделі 1П365 - Алапаєвський верстатобудівний завод, АСЗ , заснований у 1942 році.
Верстат токарно-револьверний 1П365 замінив у серійному виробництві застарілу модель 1365 та був замінений на більш досконалу модель 1М365 .
Патронний токарно-револьверний верстат 1П365 призначений для високопродуктивної обробки різноманітних деталей з чавуну, сталі та кольорових металів інструментом із твердих сплавів та швидкорізальної сталі деталей із штучних заготовок (поковок, штампувань, виливків тощо) діаметром до 500 мм та з прутка до 80 мм.
Верстат 1П365 призначений для обробки в патроні штучних заготовок з найбільшим діаметром обробки над станиною 500 мм, виготовлення яких вимагає виконання ряду послідовних переходів: обточування, свердління, розточування, розгортання, нарізування різьблення та ін в умовах серійного виробництва.
На верстаті можна виконувати чорнове та чистове точення, розточування, свердління, зенкерування, розгортання та нарізування різьблення спеціальними пристроями.
Особливість токарно-револьверного верстата 1П365 полягає в тому, що він має гідрофіковане керування з переселективною зміною частоти обертання шпинделя та подач супортів. При цьому подачі поперечного та револьверного супортів одночасно можуть бути різними. Зубчасті колеса і зубчасті муфти перемикають на зниженій частоті обертання валів коробки швидкостей гідравлічними механізмами. Верстат оснащений механізмом швидкого поздовжнього переміщення обох супортів.
Токарно-револьверний верстат 1П365 має револьверний супорт із шестигранною револьверною головкою з вертикальною віссю обертання. Поперечний супорт мостового типу з передньою чотиригранною головкою і заднім тримачом на один різець. У спеціальному різцетримачі можна встановлювати кілька різців.
Оброблювана деталь закріплюється у звичайному самоцентруючому або пневматичному патроні. Весь необхідний для даної операції комплект різальних інструментів встановлюється в шестипозиційній револьверній головці та чотиристоронньому різцетримачі супорта.
На верстаті 1П365 деталь може бути оброблена у шести позиціях. Можлива паралельна робота інструментів, встановлених у револьверній головці, та інструментів, встановлених у різцетримачі супорта.
Інструмент та обмежувачі ходу супортів (упори) встановлюються з таким розрахунком, щоб оброблена деталь отримала після обробки задані розміри.
Компонування вузлів загальноприйняте для цього типорозміру універсальних револьверних верстатів. Все керування коробки швидкостей та коробки подач гідравлічне. Вибір чисел оборотів шпинделя та величин подач на всіх моделях преселективний.
Перемикання чисел оборотів шпинделя та величин подач відбувається при повільному повороті шестерень.
Станина верстата жорсткої конструкції з плоскими напрямними. Монтується на двох тумбах, на які встановлюється корито для збору стружки та рідини, що охолоджує. У корита є два баки: один для олії гідроприводу та мастила, інший для охолодної рідини. У лівій тумбі станини монтується електродвигун головного приводу верстата. Задня стінка станини має два вікна для вільного виходу стружки.

Габарит робочого простору верстата 1п365

Шпиндель токарно-револьверного верстата 1п365

Револьверна головка токарно-револьверного верстата 1М365
Револьверна головка токарно-револьверного верстата 1М365 Дивитись у збільшеному масштабі

Загальний вигляд токарного токарно револьверного верстата 1п365
Загальний вигляд токарного токарно-револьверного верстата 1П365. Дивитись у збільшеному масштабі

Фото токарно-револьверного верстата 1п365
Фото токарного револьверного верстата 1П365. Дивитись у збільшеному масштабі

Фото токарно-револьверного верстата 1п365
Фото токарного револьверного верстата 1П365. Дивитись у збільшеному масштабі

Розташування складових частин токарного верстата 1п365
Основні вузли верстата:

Розташування органів керування токарним верстатом 1п365
Розташування органів керування токарно-револьверним верстатом 1П365. Дивитись у збільшеному масштабі
На токарно-револьверних верстатах 1П365 і 1П371 встановлені трифазні короткозамкнуті електродвигуни з номінальною робочою напругою 380 В частота 50 Гц.
Напруга освітлення 24 ст.
Головний електродвигун включається та вимикається кнопками «Пуск» та «Стоп».
Електричні схеми верстатів (рис. 31...34) прості та надійні, електричні машини та апарати мають індивідуальний та загальний захист від перевантажень та коротких замикань.
Для подачі рідини, що охолоджує, попередньо натискайте кнопку ПУСК і поверніть рукоятку перемикача електронасоса в положення УВІМКНЕНО.
Монтажні схеми верстатів показано на рис. 35, 36, монтажні схеми електрошаф - на рис. 37...40.
Верстат надійно приєднуйте до загальної схеми заземлення згідно з діючими нормами техніки безпеки.
Під час огляду чи ремонту електроапаратури ввідний автомат вимикайте.
Пускову апаратуру регулярно очищайте від пилу та кіптяви, а слабкі з'єднання проводів підтягуйте.
Автоматичні вимикачі розраховані для роботи до повного зношування без зачистки контактів та заміни будь-яких частин.
Ремонт теплових реле за умов експлуатації не рекомендується.
Підшипники електродвигунів змащуйте через 4000 h роботи, але не рідше одного разу на рік із попереднім промиванням їх бензином.

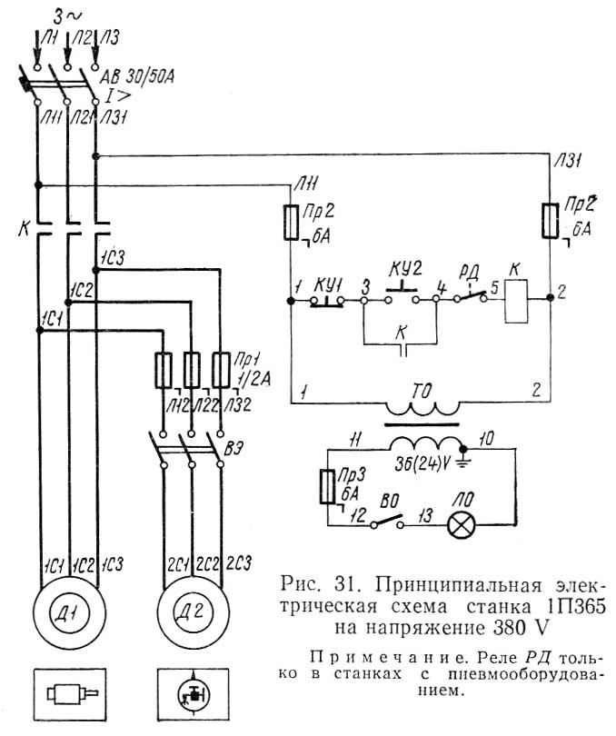
Електрична схема токарного верстата 1п365. Кнопкове керування
Електрична схема токарно-револьверного верстата 1п365. Дивитись у збільшеному масштабі

Електрична схема токарного верстата 1п365. Важільне керування
Електрична схема токарно-револьверного верстата 1п365. Дивитись у збільшеному масштабі

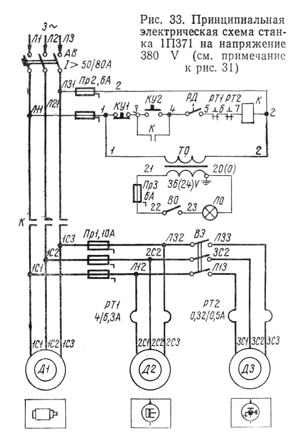
Електрична схема токарного верстата 1п371. Важільне керування
Електрична схема токарно-револьверного верстата 1п371. Дивитись у збільшеному масштабі

Список елементів токарного верстата 1п365
Список елементів токарно-револьверного верстата 1п365. Дивитись у збільшеному масштабі

Список елементів токарного верстата 1п365
Список елементів токарно-револьверного верстата 1п365. Дивитись у збільшеному масштабі

Схема з'єднань токарного верстата 1п365
Схема з'єднань токарно-револьверного верстата 1п365. Дивитись у збільшеному масштабі

Схема з'єднань електрошафи токарного верстата 1п365
Схема з'єднань електрошафи токарно-револьверного верстата 1п365. Дивитись у збільшеному масштабі
| Найменування параметру | 1E365BP | 1P365 | 1P371 |
|---|---|---|---|
| Основні параметри верстата | |||
| Класс точності по ГОСТ 8-82 | Н, П (1Е365БП) | Н | Н |
| Найбільший діаметр виробу, що обробляється над станиною, мм | 500 | 500 | 630 |
| Найбільший діаметр виробу, що обробляється над поперечним супортом, мм. | 330 | 320 | 420 |
| Висота центрів, мм | 250 | 250 | 315 |
| Відстань від торця шпинделя до револьверної головки, мм | 270..1000 | 275..1000 | 320..1400 |
| Шпиндель | |||
| Діаметр отвору в шпинделі, мм | 80 | 80 | 125 |
| Діаметр прутка, що обробляється, затискається в трубі, що подає (пруткове виконання), мм | 65 | ||
| Діаметр прутка, що обробляється при передньому затиску (пруткове виконання), мм | 80 | ||
| Діаметр затискного патрона, мм | 250 | ||
| Кількість робочих швидкостей шпинделя | 13 | 12 | 12 |
| Межі чисел оборотів шпинделя, об/хв | 24..1500 2 діапазони |
34..1500 | 20..893 |
| Межі чисел оборотів шпинделя (зворотне обертання), об/хв | 67 | 34..1500 | 19..818 |
| Кінець шпинделя фланцевий згідно з ГОСТ 12595-72 | 1-8C | 1-8C | 1-8C |
| Найбільший момент, що крутить, на шпинделі не менше, Нм (кг*м) | 123 | 260 | |
| Револьверний супорт | |||
| Количество инструментов в револьверній головці | 6 | 6 | 6 |
| Диаметр отверстия под инструмент в револьверній головці, мм | 95H7 | 95H7 | 125N7 |
| Найбільше поздовжнє переміщення револьверного супорта, мм | 730 | 725 | 1080 |
| Кількість ступенів подач | 13 | 13 | 13 |
| Діапазон швидкостей поздовжніх подач револьверного супорта, I ряд, мм/об (число подач) | 0,05..0,80 (9) | 0,09..1,35 (9) | 0,09..1,35 (9) |
| Діапазон швидкостей поздовжніх подач револьверного супорта, II ряд, мм/об (число подач) | 0,10..1,60 (9) | 0,18..2,70 (9) | 0,18..2,70 (9) |
| Діапазон швидкостей поздовжніх подач револьверного супорта, III ряд, мм/об (число подач) | 0,20..3,20 | - | - |
| Швидкість швидкого поздовжнього переміщення револьверного супорта, м/хв. | 7,5 | 6 | 6 |
| Число упорів револьверного супорта | 6 | 6 | 6 |
| Переміщення на один поділ лімба, мм | 0,2 | 0,2 | 0,2 |
| Переміщення на один оберт лімба, мм | 45 | 45 | 45 |
| Поперечний супорт | |||
| Кількість різців у різцетримачі | 4 | 4 | 4 |
| Кількість різців у задньому різцетримачі | 1 | 1 | немає |
| Найбільше переміщення поперечного супорта поздовжнє/поперечне, мм | 730/310 | 725/310 | 1080/410 |
| Кількість щаблів поздовжніх подач поперечного супорта | 13 | 12 | 12 |
| Діапазон швидкостей поздовжніх подач револьверного супорта, I ряд, мм/об (число подач) | 0,05..0,80 (9) | 0,09..1,35 (9) | 0,09..1,35 (9) |
| Діапазон швидкостей поздовжніх подач револьверного супорта, II ряд, мм/об (число подач) | 0,10..1,60 (9) | 0,18..2,70 (9) | 0,18..2,70 (9) |
| Діапазон швидкостей поздовжніх подач револьверного супорта, III ряд, мм/об (число подач) | 0,20..3,20 | - | - |
| Кількість щаблів поперечних подач поперечного супорта | 13 | 12 | 12 |
| Діапазон швидкостей поперечних подач поперечного супорта, I ряд, мм/про | 0,025..0,40 | 0,045..0,7 | 0,045..0,7 |
| Діапазон швидкостей поперечних подач поперечного супорта, II ряд, мм/про | 0,05..0,80 | 0,09..1,35 | 0,09..1,35 |
| Діапазон швидкостей поперечних подач поперечного супорта, III ряд, мм/про | 0,10..1,60 | - | - |
| Швидкість швидкого поздовжнього переміщення супорту, м/хв. | 7,5 | 6 | 6 |
| Швидкість швидкого поперечного переміщення супорту, м/хв. | 3,5 | - | - |
| Число упорів поздовжнього переміщення | 5 | 5 | 5 |
| Число упорів поперечного переміщення | 2 | 2 | 2 |
| Переміщення на один поділ лімба поздовжнє/поперечне, мм | 0,2/ 0,05 | 0,2/ 0,05 | 0,2/ 0,05 |
| Переміщення на один оберт лімба поздовжнє/поперечне, мм | 45/ 4 | 45/10 | 45/10 |
| Електроустаткування верстата | |||
| Кількість електродвигунів на верстаті, кВт (об/хв) | 3 | 2 | 3 |
| Електродвигун головного приводу, кВт (об/хв) | 15 (1465) | 13 (1450) | 22 (1460) |
| Електродвигун гідроприводу, кВт (об/хв) | 2,2 (1430) | - | 1,5 (930) |
| Електродвигун насоса охолодження, кВт (об/хв) | 0,125 (2800) | 0,125 (2800) | 0,125 (2800) |
| Габарити та маса верстата | |||
| Габаритні розміри верстата (довжина, ширина, висота), мм | 4400 х 1525 х 1800 | 3430 х 1500 х 1655 | 4230 х 1850 х 1680 |
| Маса верстата, кг | 5200 | 3900 | 6300 |