Виробник токарно-револьверного верстата моделі 1М365 - Алапаєвський верстатобудівний завод, АСЗ , заснований у 1942 році.
Верстат токарно-револьверний 1М365 замінив у серійному виробництві застарілу модель 1П365 та був замінений на більш досконалу модель 1Е365БП .
Універсальні токарно-револьверні верстати 1М365 призначені для високопродуктивної обробки різноманітних деталей з чавуну, сталі та кольорових металів інструментом з твердих сплавів та швидкорізальної сталі деталей з штучних заготовок (поковок, штампувань, виливків тощо) діаметром до 500 мм та ін. до 80 мм.
Верстати 1М365 призначені для обробки в патроні штучних заготовок з найбільшим діаметром обробки над станиною 500 мм, виготовлення яких вимагає виконання ряду послідовних переходів: обточування, свердління, розточування, розгортання, нарізування різьблення та ін. в умовах серійного виробництва.
На верстатах 1М365 можна виконувати чорнове та чистове точення, розточування, свердління, зенкерування, розгортання та нарізування різьблення спеціальними пристроями.
Токарно-револьверні верстати 1М365 мають револьверний супорт із шестигранною револьверною головкою з вертикальною віссю обертання. Поперечний супорт мостового типу з передньою чотиригранною головкою і заднім тримачом на один різець. У спеціальному різцетримачі можна встановлювати кілька різців.
Оброблювана деталь закріплюється у звичайному самоцентруючому або пневматичному патроні. Весь необхідний для даної операції комплект різальних інструментів встановлюється в шестипозиційній револьверній головці та чотиристоронньому різцетримачі супорта.
На верстаті 1М365 деталь може бути оброблена у шести позиціях. Можлива паралельна робота інструментів, встановлених у револьверній головці, та інструментів, встановлених у різцетримачі супорта.
Інструмент та обмежувачі ходу супортів (упори) встановлюються з таким розрахунком, щоб оброблена деталь отримала після обробки задані розміри.
Компонування вузлів загальноприйняте для цього типорозміру універсальних револьверних верстатів. Все керування коробки швидкостей та коробки подач гідравлічне. Вибір чисел оборотів шпинделя та величин подач на всіх моделях преселективний.
Перемикання чисел оборотів шпинделя та величин подач відбувається при повільному повороті шестерень.
Станина верстата 1М365 жорсткої конструкції з плоскими напрямними. Монтується на двох тумбах, на які встановлюється корито для збору стружки та рідини, що охолоджує. У корита є два баки: один для олії гідроприводу та мастила, інший для охолодної рідини. У лівій тумбі станини монтується електродвигун головного приводу верстата. Задня стінка станини має два вікна для вільного виходу стружки.

Габарит робочого простору верстата 1м365

Посадочні та приєднувальні бази верстата 1м365

Револьверна головка токарно-револьверного верстата 1м365
Револьверна головка токарно-револьверного верстата 1М365 Дивитись у збільшеному масштабі

Фото токарно-револьверного верстата 1М365
Фото токарного револьверного верстата 1М365. Дивитись у збільшеному масштабі

Фото токарно-револьверного верстата 1м365
Фото токарного револьверного верстата 1М365. Дивитись у збільшеному масштабі

Фото токарно-револьверного верстата 1м365
Фото токарного револьверного верстата 1М365. Дивитись у збільшеному масштабі

Фото токарно-револьверного верстата 1м365
Фото токарного револьверного верстата 1М365. Дивитись у збільшеному масштабі

Розташування основних вузлів токарно-револьверного верстата 1м365
Фото токарного револьверного верстата 1М365. Дивитись у збільшеному масштабі
Основні вузли верстата:

Розташування органів керування токарним верстатом 1м365
Фото токарного револьверного верстата 1М365. Дивитись у збільшеному масштабі
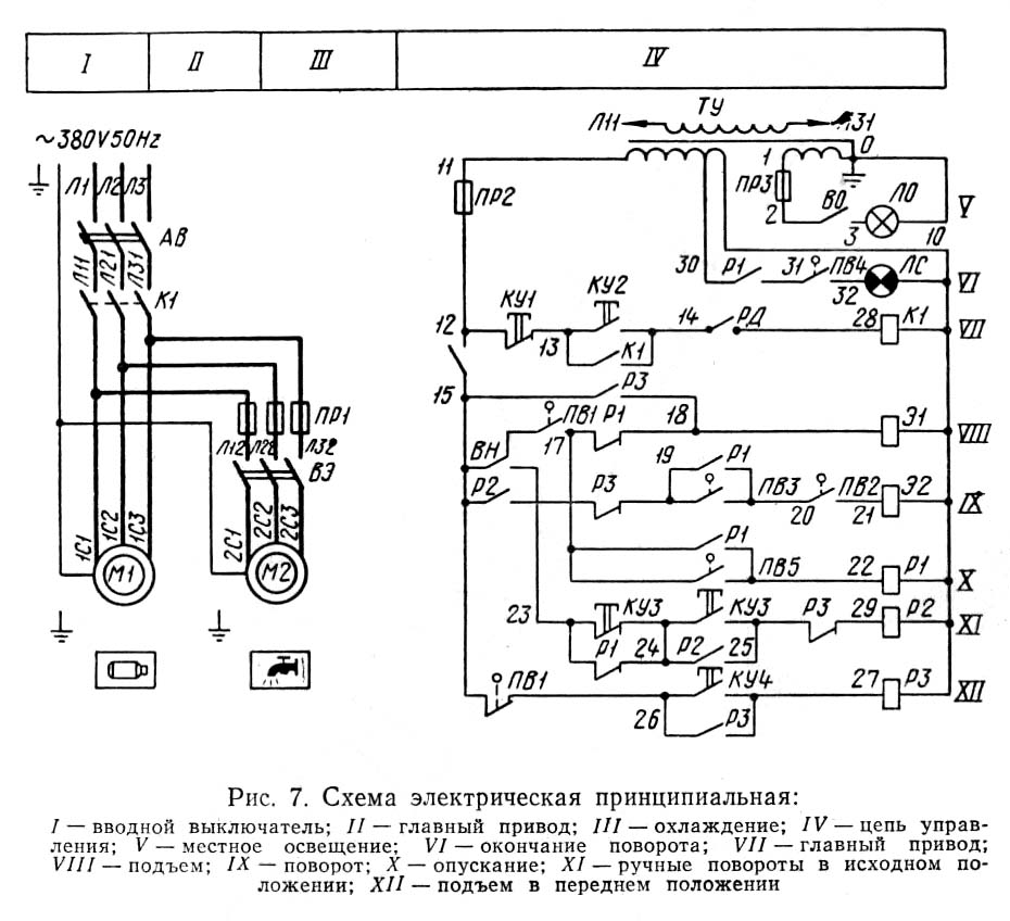
На станке установлены трехфазные короткозамкнутые електродвигатели (номинальное рабочее напряжение 380 V, напряжение освещения 24 V, частота 50 Hz).
Электрические схеми (рис. 7, 8, 9) верстата просты і надежны, електрические машины і аппараты имеют индивидуальную і общую защиту от перегрузок і коротких замыканий.
Для подачі охлаждающей жидкости предварительно нажмите кнопку ПУСК (КУ2) і поверните рукоятку переключателя електронасоса в положение ВКЛЮЧЕНО.
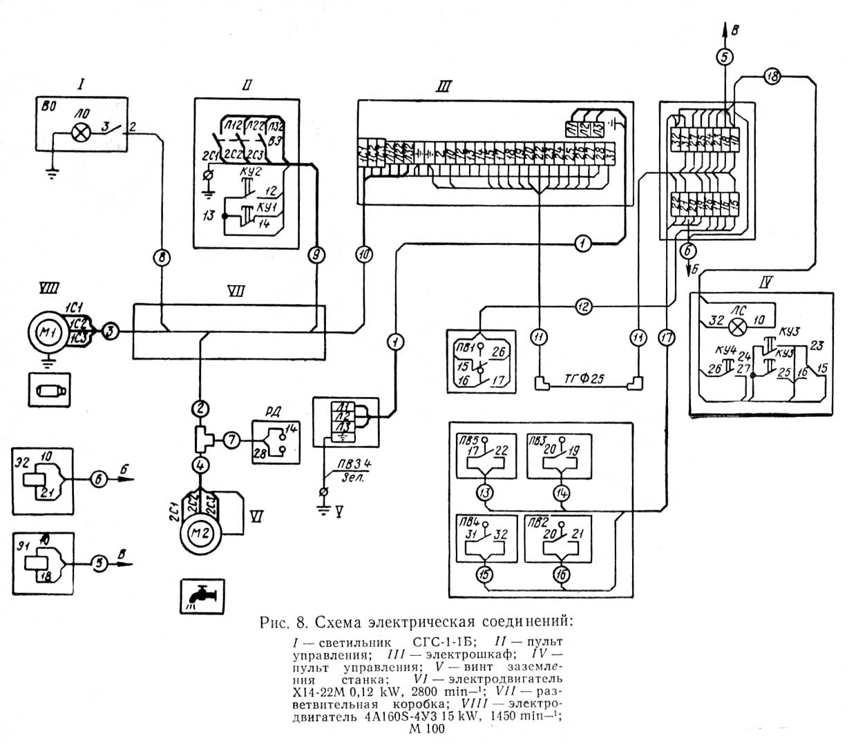
Монтажные схеми верстата і електрошафи показаны на рис. 8 і 9.
Верстат присоедините к общей схеме заземления согласно действующим нормам техники безопасности.
При осмотре или ремонтi електроапаратури вводный автомат включите.
Підшипники електродвигателей смажьте через 4000 часов роботи, но не реже одного раза в год з предварительной промывкой их бензином
Пусковую аппаратуру регулярно очищайте от пыли і копоти, а ослабшие соединения проводов подтягивайте.
Автоматический выключатель рассчитан для роботи до полного износа без зачистки контактов і замены каких-либо частин.
Електроустаткування револьверної головки обеспечивает три режима роботи:
После прихода револьверної головки в исходное положение нажимается конечный выключатель ПВ1 и, если переключатель ВН установлен в положение РАБОТА, то включается електромагнит Э1 — происходит подъем револьверної головки і її разжим. В начале ходу нажимается конечный выключатель ПВ2, а в кінці ходу освобождается конечный выключатель ПВЗ. Выключатели ПВ2 і ПВЗ включают електромагнит Э2, в результате происходит поворот револьверної головки. В начале поворота нажимается конечный выключатель ПВ4, а в кінці ходу освобождается ПВ5, который включает реле P1 з самоблокировкой. Контакты Р1 отключают електромагнит Э1 — револьверна головка опускается і происходит її фиксация і зажим.
В начале зажиму нажимаются конечный выключатель ПВЗ, а в кінці — освобождается ПВ2, который отключает електромагнит Э2. Механізм поворота возвращается в исходное положение. В исходном положении его освобождается конечный выключатель ПВ4.
Выключатель ПВ4 і реле Р1 включают сигнальную лампу ЛС. При ходе револьверної головки вперед освобождается выключатель ПВ1 і схема готова к новому повороту револьверної головки.
При необходимости поворота револьверної головки, без ходу її вперед, переключатель ВН установите в положение НАЛАДКА, тогда при нажатии кнопки КУЗ револьверна головка повернется на одну позицию
Для поворота її в следующую позицию снова нажмите кнопку КУЗ, в результате чего отключится і включится Р2.
При необходимости поднимите револьверную головку в переднее положение: нажмите на кнопку КУ4, при етом отключается з самоблокировкой, реле РЗ. Реле РЗ включает електромагнит Э1, а Э2 не включается до тех пор, пока головка не придет в исходное положение. В исходном положении срабатывает выключатель ПВ1, который отключит реле РЗ. Нормально замкнутый контакт реле РЗ включит електромагнит Э2, произойдет поворот револьверної головки.

Електрична схема токарно-револьверного верстата 1м365
Електрична схема токарно-револьверного верстата 1м365. Дивитись у збільшеному масштабі

Список елементів токарного верстата 1М365
Список елементів токарно-револьверного верстата 1М365. Дивитись у збільшеному масштабі

Схема з'єднань токарного верстата 1М365
Схема з'єднань токарно-револьверного верстата 1М365. Дивитись у збільшеному масштабі

Схема з'єднань електрошафи токарного верстата 1М365
Схема з'єднань електрошафи токарно-револьверного верстата 1М365. Дивитись у збільшеному масштабі
| Наименование параметра | 1М365 | 1П365 | 1П371 |
|---|---|---|---|
| Основні параметри верстата | |||
| Наибольший диаметр обрабатываемого вироби над станиной, мм | 500 | 500 | 630 |
| Наибольший диаметр обрабатываемого вироби над поперечным суппортом, мм | 320 | 320 | 420 |
| Высота центров, мм | 250 | 250 | 315 |
| Расстояние от торца шпинделя до револьверної головки, мм | 275..1000 | 275..1000 | 320..1400 |
| Шпиндель | |||
| Диаметр отверстия в шпинделе, мм | 80 | 80 | 125 |
| Количество рабочих швидкостей шпинделя | 12 | 12 | 12 |
| Пределы чисел оборотів шпинделя, об/мин | 34..1500 | 34..1500 | 20..893 |
| Пределы чисел оборотів шпинделя (обратное вращение), об/мин | 34..1500 | 34..1500 | 19..818 |
| Кінець шпинделя фланцевый по ГОСТ 12595-75 | 1-8Ц | 1-8Ц | 1-8Ц |
| Наибольший крутящий момент на шпинделе не менее, Нм (кг*м) | 123 | 260 | |
| Револьверний суппорт | |||
| Тип револьверної головки по ГОСТ 3859-72 | 2 шестигранная | 2 шестигранная | 2 шестигранная |
| Количество инструментов в револьверній головці | 6 | 6 | 6 |
| Диаметр отверстия под инструмент в револьверній головці, мм | 95Н7 | 95Н7 | 125Н7 |
| Наибольшее продольное перемещение револьверного суппорта, мм | 725 | 725 | 1080 |
| Количество ступеней подач | 13 | 13 | 13 |
| Диапазон швидкостей продольных подач револьверного суппорта, I ряд, мм/об (количество ступеней) | 0,09..1,35 (9) | 0,09..1,35 (9) | 0,09..1,35 (9) |
| Диапазон швидкостей продольных подач револьверного суппорта, II ряд, мм/об (количество ступеней) | 0,18..2,70 (9) | 0,18..2,70 (9) | 0,18..2,70 (9) |
| Скорость швидкого продольного переміщення револьверного суппорта, м/мин (количество ступеней) | 6 | 6 | 6 |
| Число упоров револьверного суппорта | 6 | 6 | 6 |
| Перемещение на одно деление лимба, мм | 0,2 | 0,2 | 0,2 |
| Перемещение на один оборот лимба, мм | 45 | 45 | 45 |
| Поперечный суппорт | |||
| Количество резцов в резцедержателе | 4 | 4 | 4 |
| Количество резцов в заднем резцедержателе | 1 | 1 | нет |
| Наибольшая ширина х длина резца, мм | 20 х 32 | 20 х 32 | 25 х 40 |
| Наибольшее перемещение поперечного суппорта продольное/поперечное, мм | 725/ 310 | 725/ 310 | 1080/ 410 |
| Количество ступеней продольных подач поперечного суппорта | 13 | 13 | 13 |
| Диапазон швидкостей продольных подач поперечного суппорта, I ряд, мм/об (число ступеней) | 0,09..1,35 (9) | 0,09..1,35 (9) | 0,09..1,35 (9) |
| Диапазон швидкостей продольных подач поперечного суппорта, II ряд, мм/об (число ступеней) | 0,18..2,70 (9) | 0,18..2,70 (9) | 0,18..2,70 (9) |
| Количество ступеней поперечных подач поперечного суппорта | 12 | 12 | 12 |
| Диапазон швидкостей поперечных подач поперечного суппорта, I ряд, мм/об (число ступеней) | 0,045..0,7 (9) | 0,045..0,7 (9) | 0,045..0,7 (9) |
| Диапазон швидкостей поперечных подач поперечного суппорта, II ряд, мм/об (число ступеней) | 0,09..1,35 (9) | 0,09..1,35 (9) | 0,09..1,35 (9) |
| Скорость швидкого продольного переміщення суппорта, м/мин | 6 | 6 | 6 |
| Число упоров продольного переміщення | 5 | 5 | 5 |
| Число упоров поперечного переміщення | 2 | 2 | 2 |
| Перемещение на одно деление лимба продольное/поперечное, мм | 0,2/ 0,05 | 0,2/ 0,05 | 0,2/ 0,05 |
| Перемещение на один оборот лимба продольное/поперечное, мм | 45/ 10 | 45/ 10 | 45/ 10 |
| Електроустаткування верстата | |||
| Количество електродвигателей на станке, кВт | 2 | 2 | 3 |
| Електродвигун головного привода, кВт (об/мин) | 15 (1450) | 13 (1450) | 22 (1460) |
| Електродвигун гідропривода, кВт (об/мин) | - | - | 1,5 (930) |
| Електродвигун насоса охлаждения, кВт (об/мин) | 0,125 (2800) | 0,125 (2800) | 0,125 (2800) |
| Габарити і масса верстата | |||
| Габаритные розміри верстата (длина, ширина, высота), мм | 3430 х 1500 х 1739 | 3430 х 1500 х 1655 | 4230 х 1850 х 1680 |
| Масса верстата , кг | 4150 | 3900 | 6300 |