Виробник токарно-гвинторізного верстата S-28 - TOS Trencin Словаччина, http://www.trens.sk
Засновано підприємство у 1937 році фірмою Walter, у 1998 підприємство отримало найменування АТ «TRENS», з 2011 року TRENS SK, as
АТ «ТРЕНС CK» (TRENS SK) є найбільшим виробником металорізальних верстатів у Словаччині.
Самостійним випуском металообробних верстатів підприємство займається з 1951 року.
Виробнича лінійка Trens складається з універсальних токарно-гвинторізних верстатів, токарних верстатів з ЧПУ, токарно-фрезерних обробних центрів із похилою станиною.
Універсальний токарно-гвинторізний універсальний верстат TOS S-28 традиційної кострукції призначений для обробки заготовок середнього розміру в умовах індивідуального та дрібносерійного виробництва.
Токарний верстат S-28 призначений для виконання найрізноманітніших токарних, різьбонарізних та свердлильних робіт. Верстат дозволяє нарізати зовнішні та внутрішні метричні, дюймові, модульні та питчі різьблення.
Верстат S-28 призначений для виконання широкого спектру токарних робіт:
Технічні особливості верстата S-28

Фото токарно-гвинторізного верстата S-28
Фото токарно-гвинторізного верстата S-28. Дивитись у збільшеному масштабі

Фото токарно-гвинторізного верстата S-28
Фото токарно-гвинторізного верстата S-28. Дивитись у збільшеному масштабі

Фото токарно-гвинторізного верстата S-28
Фото токарно-гвинторізного верстата S-28. Дивитись у збільшеному масштабі

Фото токарно-гвинторізного верстата S-28
Фото токарно-гвинторізного верстата S-28. Дивитись у збільшеному масштабі

Фото токарно-гвинторізного верстата S-28
Фото токарно-гвинторізного верстата S-28. Дивитись у збільшеному масштабі

Розташування органів керування токарно-гвинторізним верстатом S-28
Розташування органів керування токарно-гвинторізним верстатом S-28. Дивитись у збільшеному масштабі

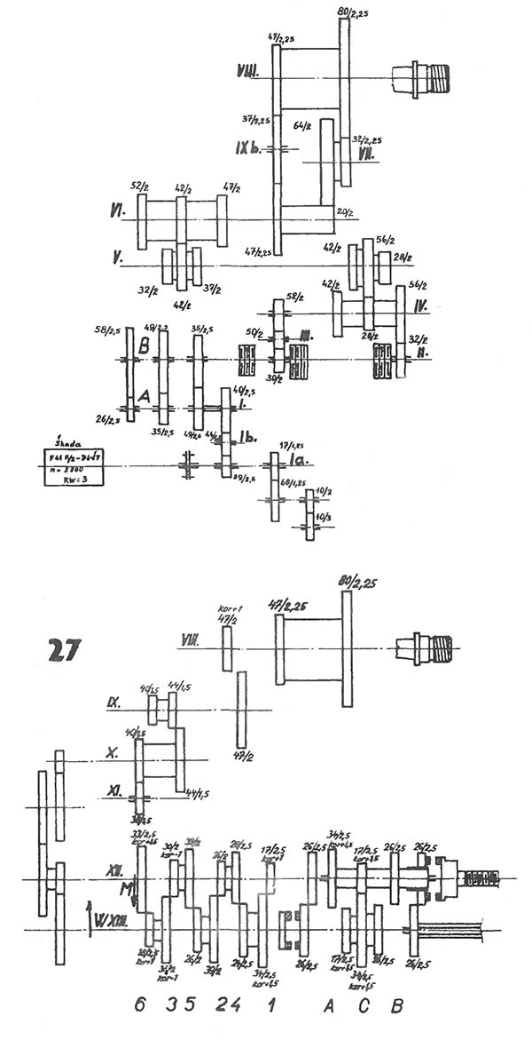
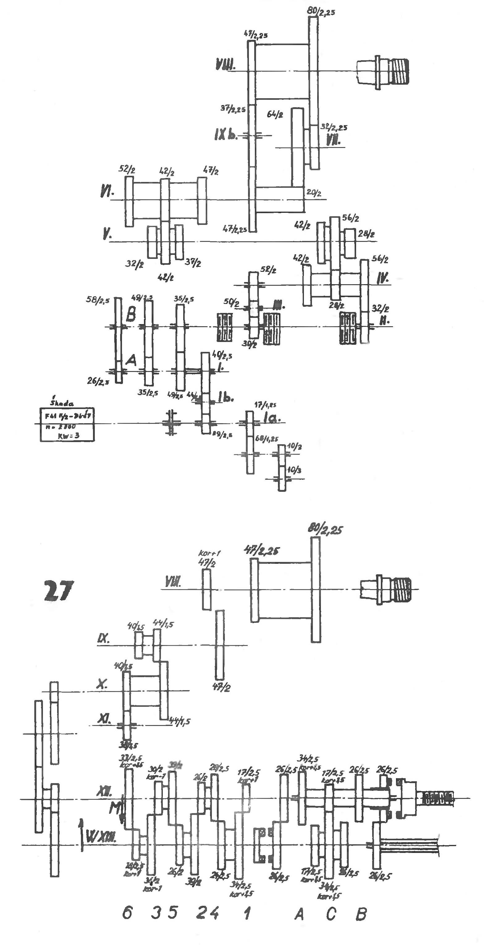
Кінематична схема токарно-гвинторізного верстата S-28
Кінематична схема токарно-гвинторізного верстата S-28. Дивитись у збільшеному масштабі
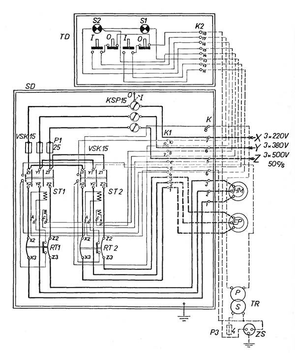
Головним вимикачем KSP 15 Верстат з'єднати з мережею та за допомогою кнопки, яка керує телеконтактором електродвигун пустити в хід. Зачекати на розгін електродвигуна і відповідно до таблиці швидкостей встановити на верстаті найнижчу кількість обертів шпинделя. Перестановкою важеля 2 вправо пустити верстат в хід при нижчому числі обертів і залишити його в роботі приблизно протягом однієї години при перевірці мастила. Потім змінювати швидкість і подачі при низьких і середніх числах оборотів і ознайомитися з обслуговуванням коробки Нортона (найвищу кількість оборотів можна включити тільки після ретельного приробітку верстата і після нагріти підшипники головного шпинделя.) включення швидкостей подач і різьблення здійснюється без зусилля, а саме або при спокійному стані верстата або за його зупинки. Увімкнення швидкостей під час ходу верстата викликає пошкодження зубчастиних передач та важливі пошкодження верстата, що є причиною зниження його точності та довговічності.
При лівому положенні важеля шпиндель 2 отримує зворотне обертання, при правому положенні - пряме обертання, а при середньому положенні муфта вимкнена; автоматичне гальмо автоматично загальмує рух головного шпинделя.
УВАГА: зміна напряму обертання головного шпинделя можна проводити лише за спокійного стану останнього. Необхідно пам'ятати, що правильний доробок верстата подовжує його довговічність.
Безперервне користування верстата при повному числі обертів 3150 об/хв. рекомендуємо робити після 400 робочих годин.
Коробка швидкостей доцільної конструкції; стійка, привід і коробка Нортона, так само як і шпиндельна бабка утворюють одне ціле, до якого за допомогою потужного фланця прикріплена станина. У нижній частинині коробки швидкостей розташований приводний механізм верстата з маслинним резервуаром, шестерним насосом, електричною комбінацією та головним вимикачем. У середній частинині розташована коробка Нортона зі змінними шестернями для подач та нарізування різьблення; верхня частинина коробки швидкостей утворює шпиндельну бабку.
Привід верстата здійснюється від фланцевого електродвигуна, який за допомогою дискової муфти рухає змінні шестерні А, В /рис.24/ і вал муфти, з двома пластинчастиними муфтами доступними після видалення задньої кришки.
За допомогою змінних шестерень А, можна досягти три ряду чисел оборотів, а саме:
Установка змінних шестерень наведена на табличці обертів, прикріпленої на верстаті.
Якщо дискова муфта ковзає, її необхідно знову відрегулювати, т.к. в іншому випадку пластини нагріваються і таким чином зменшується їхня довговічність.
Пластинчаста муфта легко доступна після видалення задньої кришки. Необхідний момент зчеплення встановлюється за допомогою гайок 84, які спочатку необхідно звільнити болтом 90. Після налагодження гайку необхідно знову зафіксувати болтом 90. Щоб муфта була правильно налагоджена, вона повинна бути відрегульована з почуттям, а саме фахівцем так, щоб пластини не були занадто стягнуті, т. . в іншому випадку вони труться один про одного і навіть у вимкненому положенні і надмірно нагріваються. Якщо пластинчаста муфта правильно налагоджена, кільце 83 можна переключити вручну з витратою більшого зусилля.

Пластинчатый тормоз токарно-гвинторізного верстата S-28
Пластинчатый тормоз токарно-гвинторізного верстата S-28. Дивитись у збільшеному масштабі
Фрикційне пластинчасте гальмо, розташоване на осі II служить для швидкого зупинення головного шпинделя після вимкнення пластинчастої муфти. При правильно відрегульованому гальмі зупинка головного шпинделя триває лише кілька, мінімально 6 секунд.
Рукоятка гальма S - 28493 управляється одночасно з рукояткою пластинчастої муфти валом S - 28473. При налагодженні фрикційного гальма надходять однаково, як і при налагодженні пластинчастої муфти. Зняти задню кришку; налагодження проводити звільненням або затягуванням болта S - 28494, який збільшує або зменшує притискне зусилля пружини 66803 і одночасно змінює положення ходу рукоятки S - 28476.
При загвинчуванні ггвинта S - 28494 притискне зусилля буде менше, а зупинка триваліша і навпаки, при звільненні болта притискне зусилля буде більшим, а зупинка коротшою. Відрегульоване положення потрібно зафіксувати гайкою 500. Фрикційне гальмо не повинно бути так відрегульоване, щоб приводний механізм не був відразу загальмований. Миттєва зупинка викликає поштовх, який має несприятливий вплив на фрикційне гальмо та механізм передач. Тому гальмо слід відрегулювати так, щоб наведений вище час був по можливості витриманий.
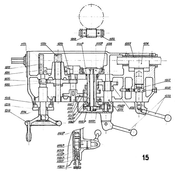
Необхідно, щоб обмеження зазору, що виник у підшипниках робочого шпинделя, було завжди довірено досвідченому фахівцю, т.к. внаслідок неправильного регулювання підшипників порушується точність останніх та ковзаючі поверхні нерівномірно зношуються.
Регулювання зазору виконується в такий спосіб /Мал. 5/ Доступ до настановних гайок відкритий після зняття кришки шпиндельної бабки, видаливши передню та задню кришку шпинделя № рис. 2024 R3 та 2003 R3 та знявши шпонку 2164 R3 на задньому підшипнику.
Установка переднього підшипника на менший проміжок проводиться гайками 2034/R3 шляхом звільнення задньої гайки і затягуванням передньої. Зазор перевіряється індикатором у різцетримачі. Регулювання заднього підшипника проводиться аналогічним чином як і переднього за допомогою гайок 2194/R3 і 2074/R3. індикатор закріплюється на шпиндельній бабці в отворах кришки /рис.11/
Радіальний зазор обох підшипників повинен бути в межах 0,025 - 0,03 мм. Після встановлення підшипників задні гайки обох підшипників 2034/R3 та 2074/R3 необхідно притягнути.
Між центрами шпиндельної та задньої бабки закріпити досить довгий і товстий вал із центруючими виїмками. Поворотом ручного маховичка притиснути робочий шпиндель до осьового підшипника поз.222 так, щоб шпиндель ще можна було провертати вручну. Регулювання проводиться гайкою 2104/R3 та індикатором, який закріплюється у різцетримачі на супорті. Справжній осьовий проміжок повинен становити мінімально 0,01 мм. Гайка фіксується за допомогою замка поз. 197.
Шпиндель при правильному налагодженні повинен ривком вручну провернути мінімально 4 рази. Ми вважаємо за необхідне пригадати, що при застосуванні високої кількості оборотів у токарно-гвинторізних верстатів 5..28 температура в підшипниках шпинделя підвищується приблизно до 75°С, проте, це не впливає на надійність верстата. Тому при наведеній температурі не потрібно збільшити зазор підшипників шпинделя. Температура зливного масла становить приблизно 65°С.
При пуску верстата на 3150 об/хв, верстат s-28 необхідно спочатку залишити протягом 5 хвилин працювати при 1250 об/хв, потім 4 хвилини подальших при 2000 об/хв, і 3 хвилини при 2500 об/хв. Тільки після цього кількість оборотів шпиндельної бабки можна підвищити на 3150 об/хв.
УВАГА: Сита 2124/R3а необхідно часто чистити (рис.5 та 11).

Коробка Нортона токарно-гвинторізного верстата S-28
Коробка Нортона токарно-гвинторізного верстата S-28. Дивитись у збільшеному масштабі
Коробка Нортона отримує привід від валу шпиндельної бабки за допомогою змінних шестерень. Складання змінних шестерень див. "Практичні розрахунки".

Установка подач і різьб токарно-гвинторізного верстата S-28
Установка подач і різьб токарно-гвинторізного верстата S-28. Дивитись у збільшеному масштабі