metalinstryment.com
Довідник по металорізальних верстатів та пресовому обладнанні

ИВ1330 Пресс листогибочный кривошипный для гибки листового металла
Схеми, опис, характеристики

ИВ1330 Пресс листогибочный кривошипный для гибки листового металла



Прессы механические, прессы гідравлические, верстати поперечно-строгальные

Відомості про виробника листогибочного кривошипного пресса ИВ1330

Изготовитель пресса листогибочного кривошипного для гибки листового металла ИВ1330 - Пинский завод литейных і кузнечно-прессовых автоматических линий, КузЛитМаш, основанный в 1971 году.

В 2010 года предприятие преобразовано в Открытое акционерное общество «Кузлитмаш» і вошло в состав ПО "Белорусский автомобильный завод".

В настоящее время пресс ИВ1330 производит ПАО «Кувандыкский завод КПО «Долина» Оренбургская обл., г. Кувандык





Верстати, выпускаемые Пинским заводом литейных і кузнечно-прессовых автоматических линий Кузлитмаш


ИВ1330 Пресс листогибочный кривошипный для гибки листового металла. Назначение і область применения

Машина листогибочная ИВ1330 разработана в 1985 году взамен моделі И1330 і серийно выпускалась з 1986 года. Разработчик ПО КПО г. Азов. Изготовитель - Пинский завод литейных і кузнечно-прессовых автоматических линий, КузЛитМаш.

Пресс листогибочный кривошипный ИВ1330 двостоєчний открытого типа предназначен для изготовления гибкой і профилированием деталей из листового і полосового проката методом гибки в универсальном V-образном штампе, поставляемом в комплекте з прессом.

Пресс ИВ1330 применяется в автостроении, судостроении, приборостроении, сельхозмашиностроении і в других отраслях промышленности.

В универсальном V-образном штампе можно произвести гибку большого числа различных деталей. С применением специального инструмента пресс може быть использован для резки, вырубки, пробивки отверстий і других операций.

При использовании специальных штампов може выполняться гибка сложных детален за один переход, гибка по радиусу, пробивка отверстий і штамповка.

Станина пресса ИВ1330 — сварная, двухстоечная открытого типа. Стойки — коробчатого сечения, соединены между собой столом і двумя распорками.

На горизонтальной распорке установлены главный привід і пневмообладнання.

Стол — сварной, крепится к станине шпильками і гвинтами.

Ползун представляет собой стальную плиту, перемещающуюся в стальных литых з накладками из антифрикционного материала направляючих. В нижней частини ползуна выполнен паз для крепления пуансона. Перемещение ползуна по высоте для регулировки межштампового простору осуществляется от индивидуального електродвигуна через червячный редуктор, червячные і винтовые пары.

Привід пресса состоит из електродвигуна повышенного ковзання, клиноременной передачи, жесткосблокированной муфты-тормоза, встроенной в маховик, редуктора головного привода, имеющего две скорости.

Переключення швидкостей привода производится рычажным механізмом вручную.

Ползун представляет собой стальную плиту, перемещающуюся в стальных литых з накладками из антифрикционного материала направляючих.

Ползун перемещается з помощью кривошипно-шатунного механізма.

Регулювання і налаштування ползуна в зависимости от толщины изгибаемого листового материала производится з помощью червячной винтовой передачи, приводимом і рух приводом переміщення ползуна. Величина налаштування контролируется по счетчику.

Пресс ИВ1330 имеет задний механизированный упор з приводом от електродвигуна.

Необходимый размер налаштування заднего упора определяется по счетчику, установленному па лицевой стороне стола.

Расстояние между столом і ползуном контролируется по шкале, установленной у робочого места.

Муфта увімкнення — фрикционная дискова з пневматическим включением. Взаємодія муфты з дисковым тормозом обеспечивается електропневматической блокировкой.

Електросхема обеспечивает работу пресса на одиночных і автоматических ходух, а также в наладочном режиме.

Керування прессом ИВ1330 — педальное і кнопкове.

Режими роботи: автоматический, наладочный.

Смазка основних вузлів пресса — централизованная.


Основні параметри машины листогибочной ИВ1330 (ИВ-1330):

Машина ИВ1330 (ИВ-1330) разработана в 1984 году вместо моделі И1330 і серийно выпускалась з 1986 года.

Разработчик ПО КПО г. Азов.

Изготовитель - Азовский завод КПО Донпрессмаш г. Азов.

Пресс изготовляется з основними параметрами по ТУ 2-041-485—87, ГОСТ 7879—65.


Прессы листогибочные кривошипные. Параметри, основні виды і выбор.

Синонимы: Прессы листогибочные кривошипные — mechanical sheet bending press, crank sheet-bending press, brake press.

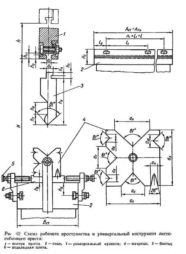
Листогибочные прессы предназначены для гибки различных деталей, когда требуется большая длина гиба, а также для изготовления гнутых профилей типа «уголок», «швеллер», «зетовый» из листового і полосового металлопроката за один или несколько переходов. Гибку осуществляют з помощью універсального инструмента (рис. 62). Кроме того, на листогибочных прессах з применением специального инструмента могут выполняться операции пробивки отверстий.

Схема робочого простору і універсальний инструмент листогибочного пресса

Рис.62 Схема робочого простору і універсальний инструмент листогибочного пресса

  1. Ползун листогибочного пресса
  2. Рабочий стол
  3. Універсальный пуансон
  4. Матрица
  5. Регулировочные болты
  6. Подкладная плита

Отечественной промышленностью выпускаются листогибочные прессы двух исполнений: з механическим приводом (кривошипные) і гідравлические.

У кривошипных листогибочных прессов ход не регулируется. Ход гідравлических прессов регулируется в пределах разницы между открытой высотой пресса і закрытой высотой штампа з помощью конечных выключателей.

Выбор листогибочных прессов определяется геометрическими параметрами изгибаемой детали — длиной гиба, шириной і высотой її полок, необходимым для выполнения операции усилием і соответствующими им требуемыми технологическими і конструктивными параметрами пресса (вылет, закрытая высота, величина ходу, номинальное усилие). Ориентировочно можно определить потребное усилие гибки в зависимости от геометрических параметров заготовки і матрицы. Примеры післядовательности гибки показаны на рис. 63.

Детали, изготавливаемые на универсальном V - образном штампе

Рис.63 Примеры использования универсальных пуансона і матрицы (V - образный універсальний штамп) для получения профилей.

Особенностью методики выбора листогибочного пресса является то, что для него не проектируется спеціальний штамп, а используется універсальний (см. рис. 62). В связи з етим в основе выбора пресса лежит технологическая проработка его возможностей для гибки той или иной детали. При етом могут применяться различные варіанти специальных пуансонов, сменные матрицы з универсальным матрицедержателем в виде горизонтальной подкладной плиты или вертикальной стойки.

Універсальность листогибочных прессов обеспечивается также различными варіантами упоров 1, которые перемещаются на кронштейне і крепятся на нем винтовым зажимом 2.

Профиль матрицы для V-образной гибки зависит от размеров профиля изгибаемой детали. Розміри матрицы можно ориентировочно определить без учета зусилля пресса по данным табл. 15.

Таблиця определения зусилля гибки (в тоннах)

Таблиця определения зусилля гибки (в тоннах) при длине гиба L = 1000 мм і σB = 40 МПа.





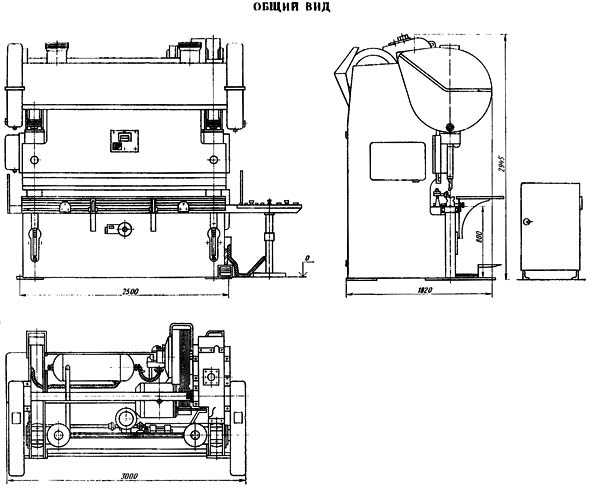
Габарити пресса листогибочного кривошипного

иВ 1330 Габаритные розміри пресса листогибочного кривошипного

Габарити листогибочного кривошипного пресса ив1330


Инструмент і стол листогибочного пресса ив1330

Инструмент і стол листогибочного пресса ив1330

Инструмент і стол листогибочного пресса ив1330. Дивитись у збільшеному масштабі



ИВ1330 Загальний вигляд листогибочного кривошипного пресса

Загальний вигляд  листогибочного кривошипного пресса ИВ1330

Фото листогибочного пресса ив1330


ИВ1330 Розташування складових частин листогибочного кривошипного пресса

Розташування складових частин листогибочного кривошипного пресса ив1330

Розташування складових частин листогибочного пресса ив1330

Розташування складових частин листогибочного кривошипного пресса ив1330. Дивитись у збільшеному масштабі


Список складових частин листогибочного кривошипного пресса ив1330

  1. Станина - и1330.10.000
  2. Привід маховика - и1330.20.000
  3. Муфта-тормоз - и1330.21.000
  4. Вал приемный - ив1330.22.000
  5. Вал промежуточный короткий - ив1330.23.000
  6. Вал промежуточный длинный - и1330.24.000
  7. Вал ексцентриковый - и1330.25.000
  8. Шатуны - и1330.26.000
  9. Ползун - и1330.27.000
  10. Привід механізма регулировки - и1330.28.000
  11. Уравновешиватель - и1330.29.000
  12. Механізм переключения ходов - и1330.30.000
  13. Маслопровод - и1330.40.000
  14. Пневмообладнання - и1330.50.000
  15. Упор задний механизированный - ив1330.57.000
  16. Ограждение - ив1330.58.000
  17. Инструмент - и1330.60.000
  18. Ограждение - и1330.62.000
  19. Картеры - и1330.63.000
  20. Предохранитель машины от перегрузки - и1330.64.000
  21. Упор передний - и1330.65.000
  22. Подставка - и1330.75.000
  23. Размещение електроустаткування на машине - и1330.80.000
  24. Пульт керування-переносной - и1330.80.000
  25. Ресивер - У69.00.000

ИВ1330 Розташування органів керування листогибочным кривошипным прессом

ИВ1330 Розташування органів керування листогибочным кривошипным прессом

Розташування органів керування листогибочным прессом ив1330


Список органів керування листогибочным кривошипным прессом ив1330

  1. Рукоятка переключения числа ходов пресса
  2. Кнопка регулировки положения ползуна "Вверх"
  3. Кнопка регулировки положения ползуна "Вниз"
  4. Сдвоенные кнопки "Пуск" одиночного ходу
  5. Сдвоенные кнопки "Пуск" одиночного ходу
  6. Кнопка "Загальний стоп"
  7. Кнопка "Загальний стоп"
  8. Рычажок сброса показаний указателя, поз.9.
  9. Указатель измерения величины межштампового простору
  10. Педаль
  11. Вводный выключатель
  12. Номограмма определения ширины ручья матрицы
  13. Схема гибки листа в ручье матрицы
  14. Стоп автомат
  15. Переключатель местного освещения
  16. Кнопка "Пуск мотора"
  17. Кнопка "Упор вперед"
  18. Кнопка "Упор назад"
  19. Ручная прокачка




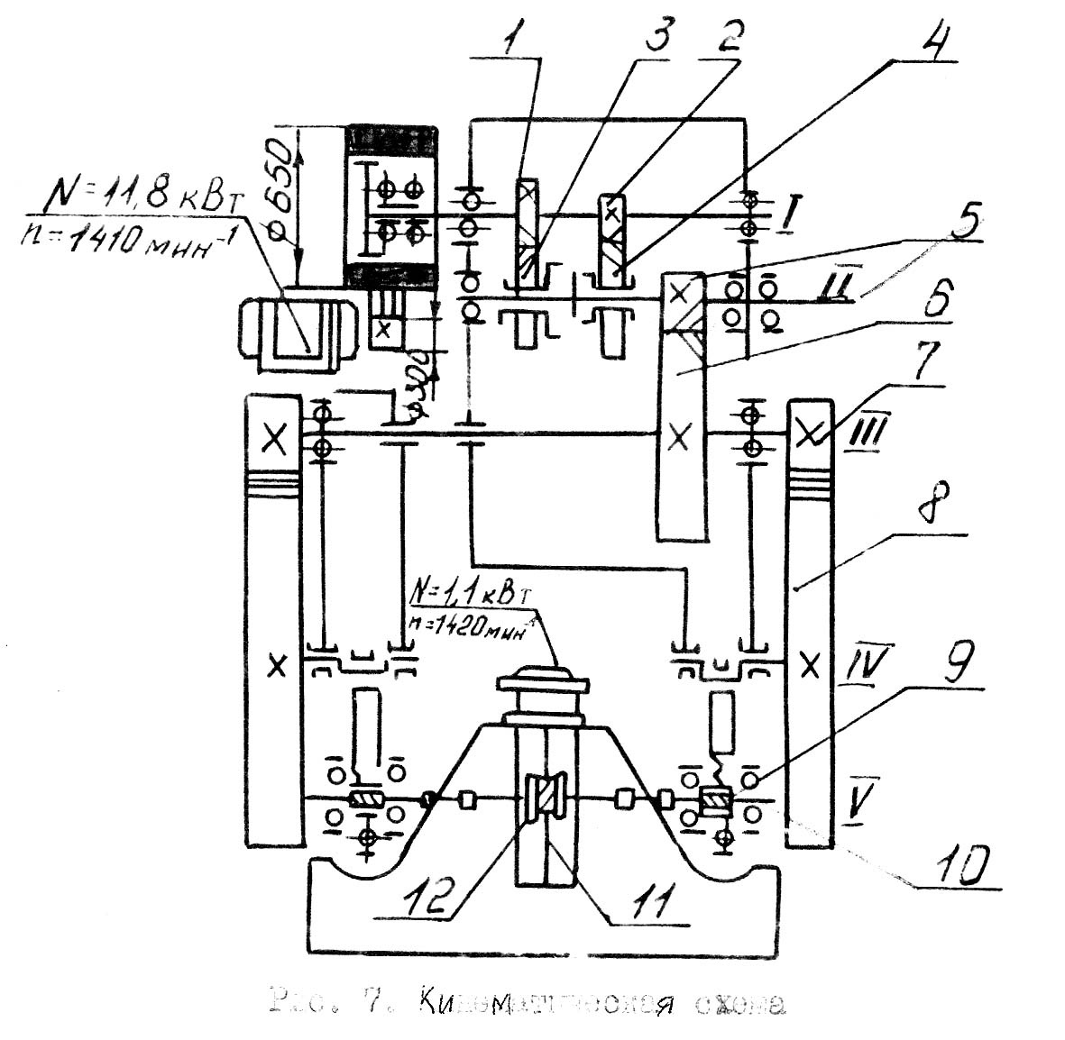
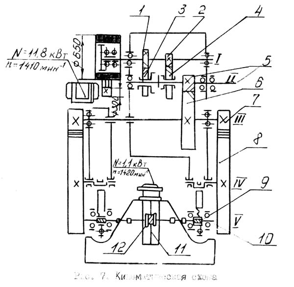
ИВ1330 Кінематична схема листогибочного кривошипного пресса

Розташування складових частин листогибочного кривошипного пресса ив1330

Кінематична схема листогибочного пресса ив1330

Кінематична схема листогибочного пресса ив1330. Дивитись у збільшеному масштабі


Станина

Станина пресса (рис. 8) состоит из двух стоек 1 і 2, соединённых столом 3 і двумя распорками 4 і 6. Распорка 4 служит также площадкой для установки приводу і воздухораспределительных устройств. Стойки со столом соединяются шпонками 7 з цилиндрическими взаимно перпендикулярными поверхностями.

На участках стоек, работающих на растяжение, между стенками вварены тяги 8, в верхней частини правой стойки 2 расположен корпус редуктора.

Опорные направляющие ползуна 9 имеют прямоугольную форму і изготовлены из материала сталь 45 ГОСТ 1050-74.


Привод

Привід пресса (рис. 9) состоит из електродвигуна повышенного ковзання, клиноременной передачи, муфты-тормоза, вмонтированной в маховик, і зубчатых колёс, расположенных на приёмном валу, двух промежуточных і ексцентриковых валах.

Зубчатая муфта, расположенная на промежуточном коротком валу, позволяет мати две скорости ходу ползуна.

Переключення швидкостей производится рычажным механізмом, рукоятка которого выведена на лицевую сторону правой стойки поз. 12 (рис.5)

ВНИМАНИЕ

Запрещается переключать скорости на ходу. Переключення должно производиться только при затухавших оборотах маховика в режиме "Толчок".

Для уменьшения шума і повышения срока службы все зубчасті колеса редуктора находятся в масляной ванне.

Быстроходные пары выполнены косозубыми.


Муфта-тормоз

Муфта-тормоз (рис. 10) жёстко сблокированная многодискова фрикционная муфта з пневматическим включением.



ИВ1330 Креслення фундамента листогибочного кривошипного пресса

Креслення фундамента листогибочного кривошипного пресса ИВ1330




И1330 Листогиб кривошипный для гибки листового металла. Відеоролик.




Технічні характеристики листогибочного кривошипного пресса ИВ1330

Наименование параметра И1330 ИВ1330
Основні параметри пресса
Номинальное усилие, кН (тс) 1000 (100) 1000 (100)
Длина стола і ползуна, мм 2550 2500
Расстояние между стойками в свету, мм 2050 2000
Ширина стола, мм 200 200
Высота стола над уровнем пола, мм 800 790
Ход ползуна, мм 80 80
Наибольшее расстояние между столом і ползуном в его нижнем положении, мм 320 300
Величина регулировки расстояния между столом і ползуном, мм 100 125
Число ходов ползуна в минуту 10, 30 10..40
Тип муфты увімкнення Пневматический Пневматический
Тип тормоза Пружинный Пружинный
Електроустаткування і привід пресса
Количество електродвигателей, кВт 4 4
Електродвигун головного приводу М1, кВт 14 11,8
Електродвигун приводу переміщення (регулировки) ползуна М3, кВт 1,1 1,1
Електродвигун приводу заднего механизирована упора М4, кВт 0,75 0,75
Електродвигун станції змазки М2, кВт 0,09 0,09
Суммарная мощность електродвигателей, кВт 15,94 13,74
Габарит і масса пресса
Габарит (длнна х ширина х высота), мм 3000 х 1820 х 2935 3000 х 1820 х 2945
Масса пресса, кг 9100 9400

    Список литературы:

  1. Банкетов А.Н., Бочаров Ю.А., Добринский Н.С. і др. Кузнечно-прессовое обладнання, 1970
  2. Бочаров Ю.А., Прокофьев В, Н. Гідропривід кузнечно-прессовых машин, 1969
  3. Белов А.Ф., Розанов Б. В., Линц В. П. Объемная штамповка на гідравлических прессах, 1971
  4. Живов Л.И. Кузнечно-штамповочное обладнання, 2006
  5. Кузьминцев В.Н. Ковка на молотах і прессах, 1979
  6. Розанов Б.В. Гідравлические прессы, 1959
  7. Титов Ю.А. Обладнання кузнечно-прессовых цехов, 2001
  8. Щеглов В.Ф. Кузнечно-прессовые машины, 1989
  9. Берлет Разработка чертежей поковок, 2001
  10. Рудман Л.И. Справочник по оборудованию для листовой штамповки, 1989
  11. Романовский В.П. Справочник по холодной штамповке, 1965
  12. Охрименко Я.М. Технология кузнечно-штамповочного производства, 1966
  13. Кузьминцев В.Н. Ковка на молотах і прессах, 1979
  14. Мещерин В.Т. Листовая штамповка. Атлас схем, 1975









Мозг - замечательный орган. Он начинает работать з того момента, как ты проснулся, і не останавливается пока ты не пришел на работу.

Закон Мерфи