metalinstryment.com
Довідник по металорізальних верстатів та пресовому обладнанні

FUW 250 Верстат фрезерный широкоуніверсальний инструментальный
схеми, опис, характеристики

FUW 250 Верстат фрезерный широкоуніверсальний инструментальный







Відомості про виробника фрезерного широкоуніверсального верстата FUW 250

VEB Uhren und Maschinenkombinat Ruhla (Народное предприятие Часовий і машиностроительный завод - г. Рула, Тюрингия, ГДР).



Верстати, выпускаемые Германией


FUW-250/IV верстат фрезерный універсальний инструментальный. Назначение і область применения

Універсальный фрезерный верстат FUW-250 предназначен для фрезерування деталей цилиндрическими, дисковыми і фасонными фрезами при помощи горизонтального шпинделя, і торцовыми, кінцівыми і шпоночными фрезами при помощи поворотного вертикального шпинделя, который при необходимости може быть повернут под углом.

FUW-250 — верстат для изготовления инструментов, производства частин, требуемых для изготовления пристосувань, калибров, форм, а также і для серийного производства заготовок високою точності, для которых изготовление пристосувань является не выгодным.

Конструкція FUW-250 допускает обрабатывать заготовку за одно крепление под любым углом. Различные рабочие операции, такие как фрезерование, сверление, развертывание і растачивание осуществляются при етом по выбору при помощи вертикального или горизонтального робочого шпинделя.

FUW-250 дает возможность работать при помощи измерительных линеек или кінцівых мер длины в з'єднанні з индикаторными приборами по системе координат.

Принцип роботи і особливості конструкції верстата FUW 250

Гамма "универсальных фрезерных верстатів для инструментальных работ" состоит из трех типов FUW 200/I, FUW 250/IV і FUW 315/III. Эти верстати по своему принципиальному строению одинаковы. Их областью применения является преимущественно инструментальное производство. Обширный ассортимент додаткових пристосувань, в соответствии з различными условиями изготовления, обеспечивает многосторонние возможности применения.

Основні вузли верстата: плита основания, стойка, передняя бабка, салазки серьги, вертикальные і продольные салазки, стол вироби і коробка передач для подачі.

Главная передача і коробка передач для подачі є бесступенчато регулируемыми. Предохранительная муфта в коробке передач для подачі защищает верстат в случае случайного наезда.

Коробка передач для подачі пыленепроницаемым і маслонепроницаемым образом размещается в стойке. На станке находится передняя бабка з салазками серьги. На салазках серьги возможно предусмотреть разные дополнительные приспособления (например, вертикальний фрезерный аппарат). С передньої стороны стойки находятся вертикальные салазки і продольные салазки. На продольных салазках возможно, по выбору, крепление разных столов, соответственно аппаратов. Для всех трех координатных осей предусмотрены измерительные стержни з нониусами (на устройстве перестановки по высоте - только нулевой штрих; для точной налагодження верстата. Возможно, по выбору, также предусмотрены оптические измерительные приспособления.

Путь переміщення по соответствующей координатной оси следует устанавливать посредством лимбов, расположенных на маховичках.


Конструкція основних вузлів універсального фрезерного верстата FUW 250

Главный привід фрезерного шпинделя

Привід осуществляется от головного двигуна I через двухступенчатую передачу на фрезерный шпиндель. При помощи двух електромагнітних дисковых муфт I і 2, рис. 2, осуществляется соответствующая ступень передачи.

На салазках серьги возможна установка дополнительного аппарата (например, апп. 259). Привід осуществляется от фрезерного шпинделя через пару шестерен на шлицевой вал 2, рис. 3. Через пиноль 4 і муфту 5, рис. 3, включается дополнительный аппарат.

Коробка передач механізма подач

Коробка передач для подачі (рис. 4) выполнена в качестве вставной коробки передач і находится в нижней частини стойки. Подача по соответствующим координатным осям осуществляется через двухступенчатую шестерню і червячную передачу, а также через приводные валы, соотв. ходовой винт. Переключення з одной ступени передачи на другую осуществляется посредством електромагнитной дисковий муфты I, рис. 4. Предохранительная муфта 2, рис. 4, защищает коробку передач от перегрузки.

Измерительное пристрій

Маховички для приведения в действие салазок вироби снабжены, лимбами. Перестановка на один штрих соответствует перемещению салазок на 0,02 мм, в случае вертикального переміщення на 0,01 мм.

Линейки на салазках вироби, за исключением вертикальних салазок, обладают нониусами, позволяющими точность отсчета до 0,05 мм. Рабочий диапазон верстата расширяется при помощи пристосувань для установки салазок посредством кінцівых мер і стрелочных индикаторов. Их применение рекомендуется особенно для установки координатных размеров для изделий, отверстия которых обладают точно определенными расстояниями центров. При атом установка осуществляется непосредственно на передвижной частини (вертикальные салазки, продольные салазки, передняя бабка).

Между упором і измерительным штифтом стрелочного индикатора, установленного на держателях, вставляются кінцівые меры до тех пор, пока стрелочный индикатор не показывает нуль. В соответствии з размерами, указанными в чертежах вироби, осуществляется лишь смена кінцівых мер. Стрелочный индикатор во время смены остается в неизменном положении. Путем перестановки салазок вироби опять устанавливается нулевое положение, так чтобы постоянно порождалось одно і то же измерительное давление. Таким образом, измеряемые значения не отсчитываются со стрелочного индикатора.





Загальний вигляд широкоуніверсального фрезерного верстата FUW 250

Загальний вигляд  широкоуніверсального фрезерного верстата FUW 250

Фото фрезерного широкоуніверсального верстата FUW-250


Загальний вигляд  широкоуніверсального фрезерного верстата FUW 250

Фото фрезерного широкоуніверсального верстата FUW-250


Загальний вигляд  широкоуніверсального фрезерного верстата FUW 250

Фото фрезерного широкоуніверсального верстата FUW-250



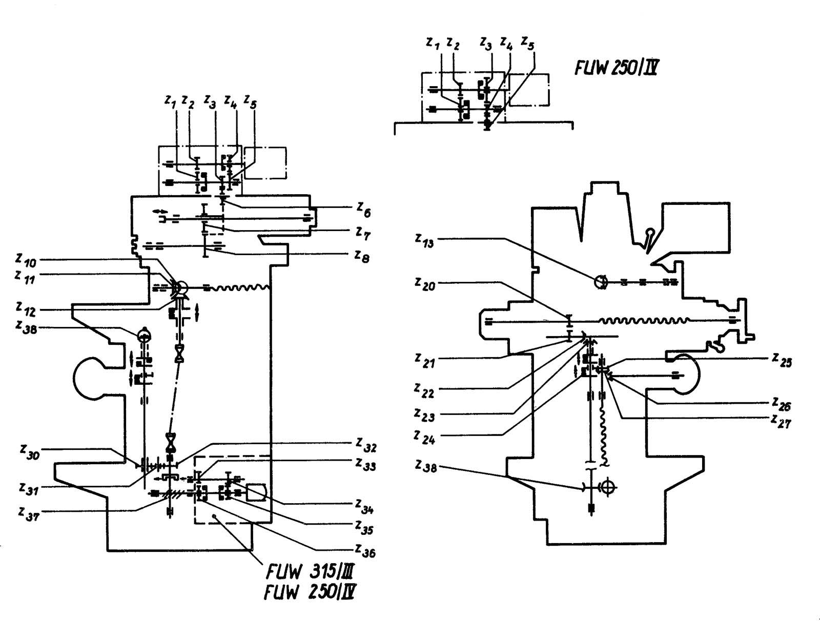
Розташування основних вузлів фрезерного верстата FUW 250

Розташування основних вузлів фрезерного верстата FUW 250

Розташування основних вузлів фрезерного верстата FUW-250


Розташування основних вузлів фрезерного верстата FUW 250

Розташування основних вузлів фрезерного верстата FUW-250


Список основних вузлів фрезерного верстата FUW 250

  1. Главная передача
  2. Коробка передач для подачі (в стойке)
  3. Плита основания
  4. Стойка
  5. Вертикальные салазки
  6. Продольные салазки
  7. Пульт керування
  8. Салазки серьги (бабка)
  9. Передня бабка (с горизонтальным шпинделем)
  10. Вертикальный шпиндель (не принадлежит к основному верстату, по выбору, апп. 252, 256, 259)*
  11. Стол
  12. Маховичок для продольного переміщення
  13. Маховичок для вертикального переміщення
  14. Маховичок для переміщення передньої бабки

Розташування органів керування фрезерным верстатом FUW 250

Графічні символы на станке FUW 250

Графічні символы на станке FUW 250


Графічні символы на станке FUW 250

Графічні символы на станке FUW 250


Список органів керування фрезерным верстатом FUW 250

  1. Фрезерный шпиндель і подача по одной оси координат включены
  2. Фрезерный шпиндель і подача отключены (тормоз шпинделя также отключен)
  3. Тормоз фрезерного шпинделя
  4. Подача ускоренным ходом на толчковом режиме
  5. Подача по круглой оси (пристрій для фрезерування винтовых канавок)
  6. Нормальная подача в направлениях координатных осей
  7. Число оборотів шпинделя, в об/мин
  8. Правое і левое вращение фрезерного шпинделя
  9. Подача з післядующим возвратом і остановом
  10. Скоростная сверлильная і фрезерна головка з правым і левым вращением
  11. Увімкнення і відключення станочного светильника
  12. Увімкнення і відключення головного выключателя
  13. Увімкнення і відключення насоса для охлаждающей жидкости
  14. Управляющее напряжение
  15. Скорость подачі в мм/мин
  16. Шпиндель затормаживается і блокируется
  17. Подача, соотв. диапазон чисел оборотів шпинделя I, соотв. 11
  18. Увімкнення подачі в направлении стрелки
  19. Проскальзывающая муфта
  20. Выпрямитель
  21. Тиристорный регулятор
  22. Регулировочный трансформатор
  23. Символ защиты для места присоединения защитного провода
  24. Независимый вентилятор для приводу шпинделя
  25. Заливание масла
  26. Спуск масла

Схема органів керування фрезерного верстата FUW 250

Розташування органів керування фрезерным верстатом FUW 250


Пульт керування фрезерным верстатом FUW 250

Пульт керування фрезерным верстатом FUW 250


  1. Рукоятка зажиму передньої бабки (2 рукоятки)
  2. Рукоятка зажиму продольных салазок
  3. Рукоятка зажиму вертикальних салазок
  4. Зажим салазок серьги



Кінематична схема універсального фрезерного верстата FUW 250

Схема кінематична універсального фрезерного верстата FUW 250

Кінематична схема універсального фрезерного верстата FUW 250



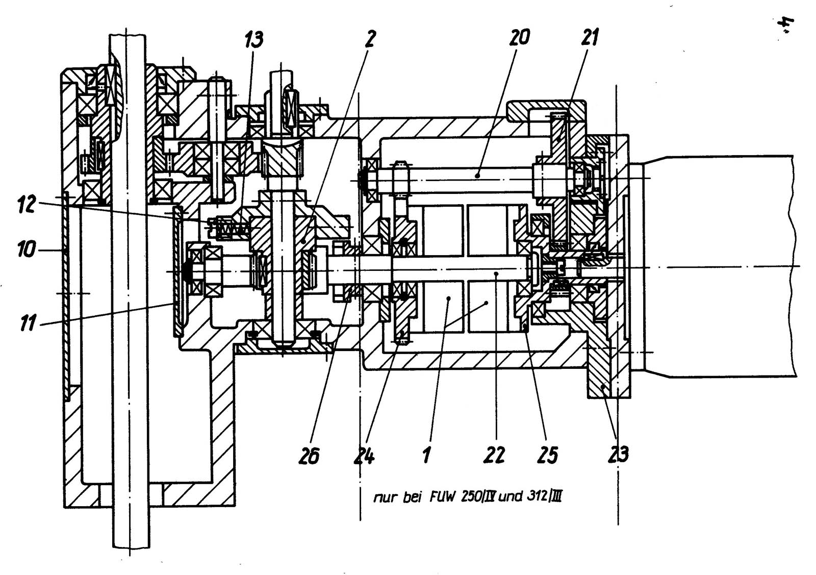
Главный привід універсального фрезерного верстата FUW 250

Главный привід універсального фрезерного верстата FUW 250



Фрезерный шпиндель універсального фрезерного верстата FUW 250

Фрезерный шпиндель універсального фрезерного верстата FUW 250



Коробка подач універсального фрезерного верстата FUW 250

Коробка подач універсального фрезерного верстата FUW 250



Електроустаткування фрезерного верстата FUW 250

Функциональное опис електрических вузлів (блок керування "DDR") для верстатів FUW 250/IV і FUW 315/III

Электрическое обладнання верстата FUW 250/IV, соотв. FUW 315/III, по параметрам і выполняемым функциям, соответствует требованиям, предъявленным к верстату. Проектирование осуществляется при соблюдении действительных предписаний. Верстат предусмотрен для присоединения к сети трехфазного тока в 380 В і 50 Гц, з защитным мероприятием "зануление". В случае сетей з другими защитными мероприятиями необходимо удалить существующий на приборной панелі мост от зажиму N к шине заземления. Общая потребляемая мощность верстата составляет 7,0 кВт в случае FUW 250/IV і 7,4 кВт в случае FUW 315/III В случае присоединения к сети трехфазного шока, отличного от 380 В, необходимо предвключить перед верстатом предвключенный трансформатор (автотрансформатор), пригодный для несимметричной нагрузки і обладающий проходной мощностью в 25 кВА.

Параметри предохранителей, которые следует предвключить перед верстатом, указаны на фирменной табличке верстата. Параметри предохранителей внутри верстата указаны в елементной схеме. Приведенные в настоящем описании условные обозначения приборов совпадают з условными обозначениями в елементных схемах. Для облегчения нахождения схемных елементів в елементной схеме, состоящей из девяти листов, условные обозначения приборов дополняются номером того листа елементной схеми, на котором изображен данный схемный елемент. Например, условное обозначение s 7 . 04 означает

Условное обозначение прибора для верстата FUW 250/IV

Общее обозначение тиристорного преобразователя: TDR 2.3.x-y.z

где:

TDR - выпрямитель тока на тиристорах для регулировки числа оборотів електродвигуна

2.3 - асимметричная однофазная мостовая схема з частиничным керуванням

x - код номинального постоянного напряжения: 3 = 16 А/ 4 = 22 А

y - тип датчика обратной связи числа оборотів: 1- тахогенератор/ 2- ЭДС двигуна

z - пороговый выключатель: 0 = без порогового выключателя/ 1- з пороговым выключатель

Все двигатели обладают термической защитой, причем термические реле не обладают блокировкой повторного увімкнення.

Управляющее напряжение в 220 в, 50 Гц снимается з регулировочного трансформатора TI.01. Напряжение для соединительных муфт снимается з трансформатора TI.02. Сигнальные лампочки получают свое напряжение (20 В) от етого же трансформатора через добавочное сопротивление.

Все коммутационные аппараты, включая предохранители, трансформаторы, выпрямители і т.д., находятся в стойке верстата. Главный выключатель QI.01 і избирательный переключатель S3.I6 находятся на стойке верстата. В особом ящике для органів керування (пост керування верстата) размещаются нажимные кнопки для увімкнення і отключения верстата, клавишный выключатель "толчковое увімкнення ускоренного ходу", клавишный выключатель "аварийное отключение" (аварийный выключатель), блокировочные клавишные выключатели для света, охлаждающей жидкости і блокировки шпинделя, избирательные переключатели для режимов подачі і для предварительного выбора диапазона чисел оборотів, два переменных сопротивления для установки числа оборотів фрезы і скорости подачі, а также амперметр для тока якоря фрезерного двигуна.

Соединение между разными електрическими вузлами внутри верстата осуществляется при помощи штеккерных соединителей на приборной доске.

Тиристорные регуляторы числа оборотів для подачі і фрезерного шпинделя размещаются в корпусе верстата, в виде вставного блока. Электрическое присоединение осуществляется при помощи штеккерных соединителей.





FUW 250 Верстат фрезерный універсальний инструментальный. Відеоролик.




Технічні характеристики фрезерного верстата FUW 250

Наименование параметра СФ-676 FUW 200/I FUW 250/IV FUW 315/III
Основні параметри верстата
Класс точності по ГОСТ 8-82 Н
Розміри горизонтального (углового) стола, мм 250х800
300х800
300х500 350х630 400х710
Розміри вертикального стола, мм 250х630
Максимальная масса обрабатываемой детали, кг 100
Расстояние от оси горизонтального шпинделя до рабочей поверхности горизонтального стола, мм 80..460 73..453 38..430 40..470
Расстояние от оси горизонтального шпинделя до хобота, мм 50 65 69
Расстояние от торца вертикального шпинделя до рабочей поверхности горизонтального стола, мм 0..350
Наибольший вылет оси вертикального шпинделя, мм 125..375
Наибольший продольный ход стола (X), ручная/механическая подача, мм 450 320 400/395 500/485
Наибольший ход шпиндельной бабки (Y), поперечний ход, мм 300 180 220 280
Наибольший вертикальний ход стола (Z), ручная/механическая подача мм 380 380/350 400/320 430/330
Цена деления лимбов, мм 0,05 0,02 0,02 0,02
Горизонтальный і вертикальний шпиндели верстата
Конус горизонтального і вертикального шпинделей 40АТ5
Морзе 4
ISA 40 ISA 40 ISA 40
Цанга в цанговом патроне позволяет крепить, мм 0..26 0..26 0..26
Диаметр фрезерной оправки, мм 27 27 27
Наибольший диаметр фрезы, мм 100 125 125
Частота обертання горизонтального шпинделя, об/мин (число ступеней) 50..1630 (16) 45..2240 (Б/с) 45..2240 (Б/с) 35..1800 (Б/с)
Частота обертання вертикального шпинделя, об/мин (число ступеней) 63..2040 (16)
Количество швидкостей шпинделей 16 Б/с Б/с Б/с
Наибольшее осевое перемещение вертикального шпинделя, мм 80
Наибольший угол поворота вертикальной головки в вертикальной плоскости, градус ±90°
Пределы подач шпиндельной бабки (поперечная подача Y), мм/мин (число ступеней) 13..395 (16) 6,3..410 (Б/с) 6,3..1250 (Б/с) 6,3..1250 (Б/с)
Количество подач шпиндельной бабки 16 Б/с Б/с Б/с
Наибольшее усилие різання, допускаемое/ предельное механізмом подач, Н 5500/ 6000
Допустимое значение осевой составляющей силы різання, действующей на вертикальний шпиндель, не более, Н 1300
Стол
Пределы продольных подач стола (X), мм/мин 13..395 (16) 6,3..410 (Б/с) 6,3..1250 (Б/с) 6,3..1250 (Б/с)
Пределы вертикальних подач стола (Z), мм/мин 13..395 6,3..410 (Б/с) 6,3..1250 (Б/с) 3,15..625 (Б/с)
Ускоренный ход стола в продольном і вертикальном направлениях, мм/мин 935 410 1250 1250/625
Електроустаткування і привід верстата
Напряжение силовой ланцюги ~ 380 В 50 Гц ~ 380 В 50 Гц ~ 380 В 50 Гц ~ 380 В 50 Гц
Напряжение ланцюги освещения ~ 24 В 50 Гц ~ 24 В 50 Гц ~ 24 В 50 Гц ~ 24 В 50 Гц
Мощность двигуна головного привода, кВт (об/мин) 3 (1500) 2,0 (2900) 4,6 (2900) 4,6 (2900)
Мощность двигуна подачі, кВт (об/мин) 0,4 (2700) 0,56 (3000) 0,8 (2850)
Мощность двигуна електронасоса СОЖ, кВт (об/мин) 0,12 (2800) 0,16 (2800) 0,16 (2800) 0,16 (2800)
Суммарная мощность електродвигателей, кВт 3,12 3,2 7,0 7,4
Габарит і масса верстата
Габарити верстата (длина х ширина х высота), мм 1200
1240
1780
1300 х 1375 х 1650 1435 х 1885 х 1750 1725 х 1800 х 1900
Масса верстата, кг 1050 1150 1450 1800

    Список литературы:

  1. Руководство обслуживания для універсального инструментально-фрезерного верстата FUW 250, UMF Ruhla

  2. Аврутин С.В. Основы фрезерного дела, 1962
  3. Аврутин С.В. Фрезерне дело, 1963
  4. Ачеркан Н.С. Металлорежущие верстати, Том 1, 1965
  5. Барбашов Ф.А. Фрезерне дело 1973, с.141
  6. Барбашов Ф.А. Фрезерные роботи (Профтехобразование), 1986
  7. Блюмберг В.А. Справочник фрезеровщика, 1984
  8. Григорьев С.П. Практика координатно-расточных і фрезерных работ, 1980
  9. Копылов Р.Б. Работа на фрезерных верстатах,1971
  10. Косовский В.Л. Справочник молодого фрезеровщика, 1992, с.180
  11. Кувшинский В.В. Фрезерование,1977
  12. Ничков А.Г. Фрезерные верстати (Библиотека станочника), 1977
  13. Пикус М.Ю. Справочник слесаря по ремонту металлорежущих верстатів, 1987
  14. Плотицын В.Г. Расчёты настроек і наладок фрезерных верстатів, 1969
  15. Плотицын В.Г. Наладка фрезерных верстатів,1975
  16. Рябов С.А. Современные фрезерные верстати і их оснастка, 2006
  17. Схиртладзе А.Г., Новиков В.Ю. Технологическое обладнання машиностроительных производств, 1980
  18. Тепинкичиев В.К. Металлорежущие верстати, 1973
  19. Чернов Н.Н. Металлорежущие верстати, 1988
  20. Френкель С.Ш. Справочник молодого фрезеровщика (3-е изд.) (Профтехобразование), 1978








Заказать