metalinstryment.com
Довідник по металорізальних верстатів та пресовому обладнанні

FU-400, FU-315 Верстат консольно-фрезерный широкоуніверсальний
характеристики, схеми, опис

FU-400 Загальний вигляд  широкоуніверсального консольного фрезерного верстата







Універсальные консольно-фрезерные верстати FU-315 і FU-400 производились на машиностроительном заводе "Fritz Heckert" в городе Карл-Маркс-Штадт (Хемниц) ГДР.

В 1993 году Гомельский станкостроительный завод им. С. М. Кирова, СтанкоГомель заключил долговременное лицензионное соглашение з фирмой "Heckert" по производству на заводе гаммы консольно-фрезерных верстатів серии FW, FU, FSS.

В настоящее время ОАО "СтанкоГомель" (Гомельский станкостроительный завод им. С.М. Кирова) выпускает широкоуниверсальные консольно-фрезерные верстати под маркой FU-350MR (FU-315) і FU-450MR (FU-400).

В России (СССР) аналогичные верстати 6Т82Ш (6Р82Ш) і 6Т83Ш (6Р83Ш) выпускаются предприятием Горьковский завод фрезерных верстатів.





Верстати, выпускаемые Германией


FU-400, FU-315 широкоуніверсальний консольно-фрезерный верстат. Назначение і область применения

Широкоуниверсальные консольно-фрезерные верстати моделі FU-315, FU-400 є аналогами универсальных фрезерных верстатів - 6Т82Ш, 6Т83Ш.

Консольно-фрезерные верстати FU-315, FU-400 могут использоваться как для серийного, так і для штучного производства. Благодаря мощной конструкції і широкому числу оборотів на них могут обрабатываться детали из стали, чугуна і лёгких металлов инструментами из быстрорежущей стали і твердосплавными инструментами.

Принцип роботи і особливості конструкції верстата FU-400

Возможно фрезерование как встречное, так і попутное (только з гідравлическим механізмом попутной подачі).

Гідравлическое опускающее пристрій позволяет автоматически опускать деталь относительно инструмента при ускоренном отводе. Таким образом, сохраняется качество полученной поверхности вироби і лучше сохраняется инструмент. По окончании ускоренного відведення деталь возвращается в первоначальное положение.

Фрезерный шпиндель при отключении его приводу останавливается після свободного різання посредством електрического дискового тормоза.

Керування производится c подвесного пульта керування.

Верстати оборудованы електромеханическими натяжными пристроями.

Специальные приспособления і пристроя расширяют область применения для специальных заданий обробки.

Верстати позволяют вести обработку стали і чугуна в автоматических циклах:

Рабочий стол широкоуниверсальных верстатів поворачивается в обе стороны на 45˚, что позволяет расширить функциональность оборудования.

К основным достоинствам данных фрезерных верстатів относится:

Фторопластовое покрытие направляючих стола і стойки обладает хорошими антифрикционными свойствами і антизадирной способностью, что позволяет обеспечить стабильность параметров точності в течение длительного часу.

Фрезерование на станке FU-315, FU-400 методом попутной подачі позволяет осуществлять еффективную обработку глубоких пазов і деталей из высокопрочных материалов. Высокие характеристики точності універсального фрезерного верстата позволяют производить детали самого высокого качества; например, неплоскостность поверхности стола на всей длине не превышает 16 мкм.

універсальний консольно-фрезерный верстат FU-315, FU-400 позволяет вести обработку деталей из стали і чугуна в автоматических циклах горизонтально закрепленными фрезами і дисковыми фрезами, закрепленными на оправке.


Модифікації і обозначения консольно-фрезерных верстатів:

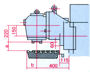
Розміри робочого стола консольно-фрезерных верстатів FU-400:

Розміри робочого стола консольно-фрезерных верстатів FU-315:

Стойка верстата FU-400 може мати повышенную высоту на 150 мм і на 230 мм.

Стойка верстата FU-315 може мати повышенную высоту на 150 мм.

Пояснение обозначения типового ряда верстатів серии FSS, FU, FW

  1. Тип верстата
  2. Конструкція верстата
  3. Типоразмер (типовой ряд) верстата
  4. Ступень разработки вироби
  5. Условное обозначение електрической системы керування

Пример обозначения консольно-фрезерных верстатів:





FW-400, FW-315 Габарит робочого простору горизонтального консольно-фрезерного верстата

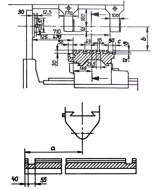
FU-400, FU-315 Габарит робочого простору широкоуніверсального консольно-фрезерного верстата

Габарит робочого простору горизонтальных консольно-фрезерных верстатів FW-400, FW-315:


FU-400, FU-315 Габарит робочого простору універсального консольно-фрезерного верстата

FU-400, FU-315 Габарит робочого простору широкоуніверсального консольно-фрезерного верстата

Габарит робочого простору универсальных консольно-фрезерных верстатів FU-400, FU-315:


FU-400, FU-315, FW-400, FW-315 Габаритные розміри широкоуніверсального консольно-фрезерного верстата

FU-400, FU-315 Габаритные розміри широкоуніверсального консольно-фрезерного верстата

Габаритные розміри универсальных консольно-фрезерных верстатів FU-400:

Габаритные розміри консольно-фрезерных верстатів FU-315:





FU-400, FU-315 Загальний вигляд широкоуніверсального консольно-фрезерного верстата

FU-400, FU-315 Загальний вигляд  консольно-фрезерного верстата


FU-400, FU-315 Загальний вигляд широкоуніверсального консольно-фрезерного верстата

FU-400, FU-315 Загальний вигляд  консольно-фрезерного верстата


FU-400, FU-315, FW-400, FW-315 Розташування складових частин консольно-фрезерного верстата

FU-400, FU-315 Розташування складових частин консольно-фрезерного верстата

Список складових частин консольно-фрезерного верстата FU-400, FU-315


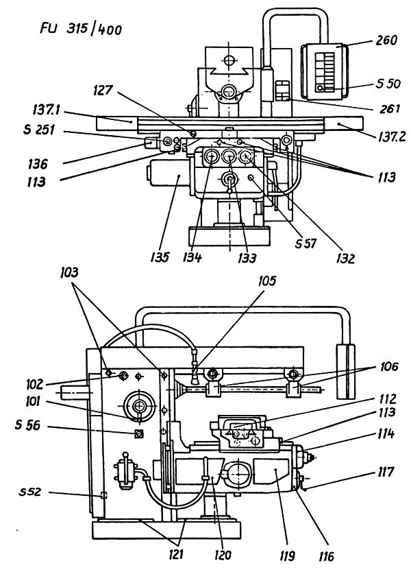
FU-400, FU-315, FW-400, FW-315 Розташування органів керування консольно-фрезерным верстатом

FU-400, FU-315 Розташування органів керування консольно-фрезерным верстатом

Опис елементів керування верстатом FU-400, FU-315

Электрические елементы керування расположены в основном централизованно. Консольно-фрезерные верстати имеют поворотное табло керування 260 і панель керування 261 на левой боковой стенке распределительного шкафа (см. рис. 4/7).

Из-за поворотного табло керування место обслуживания може быть изменяемым і его можно согласовывать для необходимой потребности. На табло керування находятся все електрические елементы керування, необходимые для вызова рабочих процессов. Панель керування на боковой стенке распределительного шкафа позволяет в основном выполнить предварительный выбор етих рабочих процессов.

Для штучных заготовок можно вызывать все руху от руки на табло керування. Для серийных заготовок возможно использование кулачкового керування. При етом старт цикла обробки также производится от руки. Затем цикл обробки протекает автоматически, согласно установленных командных упоров.

Механические елементы керування размещены по всему верстату і служат в основном для налагодження верстата для специфического производственного задания.





FU-400, FU-315, FW-400, FW-315 Пульт керування консольно-фрезерного верстата

FU-400, FU-315 Пульт керування консольно-фрезерного верстата

Электрические елементы керування

Электрическими елементами керування і индикации є многопозиционные переключатели, нажимные кнопки, светящиеся «кнопки, сигнальные лампочки і для функции аварийный стоп предназначен блокирующий переключатель. Достигнута высокая кінцінтрация елементів керування на поворотном табло керування і на панелі керування у распределительного шкафа.

Децентрализовано расположены только главный выключатель на распределительном шкафу, а также толчковые кнопки для фрезерного привода, приводу подачі і електрического зажимного приспособления, которые находятся на станке. Толчковые кнопки находятся непосредственно у механических вузлів, керування которых они делают возможным.

Механические елементы керування

В качестве механических елементів керування на вузлах верстата имеются шестигранники, зажимные винты, установочные болты, рукоятки і маховички. Для шестигранников, зажимных винтов і установочных болтов можно применять стандартные инструменты керування і поставляемую рукоятку.

Керування верстатом. Установка работоспособности

Светящаяся кнопка находится на панелі керування у левой боковой стенки распределительного шкафа 261 (смотрите рис. 4/7). Работоспособность керування верстата сигнализируется светящейся кнопкой "Керування ВКЛ." (S54, Н54)

Предпосылками для работоспособности є закрытая дверь стойки (контролируется з S52), не нажатая кнопка аварийного стопа (S50), а также безошибочно работающая система керування. Если одна или несколько предпосылок не даны, тогда вызывается функция аварийный стоп. После установки исходного положения нажать заново кнопку "Керування ВКЛ."

Предварительный выбор режима роботи многопозиционными переключателями

Многопозиционные переключатели позволяют выполнять предварительный выбор различных рабочих процессов. Многопозиционные переключатели S81, S82 і S83 , которые часто включаются, находятся на поворотном табло керування 260 (см. рис. 4/10). Многопозиционные переключатели S85, S86, S87, S88 і S89, служащие для предварительного выбора технологических параметров, расположены на панелі керування на левой боковой стенке распределительного шкафа 261 (см. рис. 4/П).

Необходимо учесть, чтобы многопозиционные переключатели включались только в состоянии покоя верстата.

Отдельные многопозиционные переключатели выполняют ниженаступні функции: (Оцифровка положения переключателя начинается слева по часовий стрелке)

Кнопкове керування

На підвісному пульті керування 260 (см. рис. 4/10) расположенные кнопки служат для пуска і останова всех движений верстата. При етом осуществляются рабочие процессы, вызванные многопозиционными переключателями.

Кнопки от S61 до S67 выполнены светящимися кнопками, причем встроенные контрольные лампы Н61 до Н67 сигнализируют выбранную или сработанную функции.

Аварийный стоп. Нажимая на кнопку "Аварийный стоп" S50 в случае опасности моментально останавливаются все руху верстата. Так как фрезерный шпиндель по инерции не вращается, то не происходит свободное резание инструмента, находящегося в работе. До увімкнення прерванного направления подачі необходимо стол, крестовый супорт или консоль сначала переместить на незначительное расстояние в противоположном направлении. Этим предотвращается повреждение или разрушение режущих кромок.

Необходимо причины, вызывающие опасность, немедленно і до повторного увімкнення системы керування устранить.

Повторное увімкнення системы керування выполняется при помощи нажатия светящейся кнопки "Керування ВКЛ." (S54, Н54).

Верстат выключить. Нажатием кнопки "Верстат ВЫКЛ." (S60) моментально отключаются руху верстата. Фрезерный шпиндель ещё некоторое время вращается по инерции для достижения свободного різання инструмента. Эта функция останова для окончания робочого процесса выполняется от руки. Командные упоры - стоп вызывают одинаковую функцию.

Режим "Работа" (S81, положение 3). Все начатые руху выполняются самостоятельно до их изменения или прерыванием при помощи "Верстат ВЫШЕ". В етом режиме роботи управляющие кулачки могут применяться для керування автоматическим режимом роботи.

Вызов одного руху:

"Кратковременный ПУСК" (S81, положение 1)

Начатое рух производится з кратковременным пуском, ето значит только до тех пор, пока нажимается кнопка выбора направления.

Вызов одного руху - Выполняется как при режиме роботи "Работа" (см. выше)

Изменить выбранные движение, скорость і ось можно только нажатием на кнопку S60 і новым предварительным выбором.

Режим "Наладка" (S81, положение 2)

В етом режиме роботи включается только вращение фрезы.

Для налагодження верстата можно все оси перемещать при помощи кривошипной рукоятки (см. 4.2.12).

- Нажатием одной кнопки направления (S64 или S65) включается рух фрезы з выбранным направлением обертання.

Кнопки для предварительного выбора осей і скорости нееффективны.

- Кнопка S60 служит для останова обертання фрезы.

Специальная функция

В распределительном шкафу находится переключатель S90.

В положении "Без обертання фрезы" он позволяет експлуатацию верстата в режимах роботи "Работа" і "Кратковременный пуск" без обертання фрезы (многопозиционный переключатель S81 в положении переключения 3 или 1).

На основании имеющейся опасности переключатель S90 находится в распределительном шкафу і он должен обслуживаться обученным персоналом.

Если распределительный шкаф замкнут, то переключатель S90 должен обязательно находиться в положении "Вращение фрезы".

Выбор числа оборотів

Установка числа оборотів фрезерного шпинделя выполняется вращением рукоятки переключения 101 (рис. 4/5 до 4/7). Один оборот рукоятки влево или вправо вызывает переключение на одну ступень числа оборотів. Можно переключать из высокого числа оборотів на низкое і наоборот. Каждое переключение числа оборотів указывается на шкале. Переключать разрешается только при выключенной подаче.

Если рукоятка не прокручивается, так как в передаче имеется зубчатое зацепление, тогда кратковременным нажатием кнопки "Кратковременный пуск" S56 (рис. 4/5 до 4/7) можно вызвать вращение передачи.

Выбор подачі. Скорость подачі устанавливается поворотом рукоятки переключения 117 (рис. 4/5 до 4/7). Один оборот рукоятки вправо или влево вызывает переключение на одну ступень подачі. Можно переключать з високою ступени подачі на низкую і наоборот. Указанная на шкале скорость подачі действительна только для продольного переміщення і поперечного переміщення. Скорость подачі по вертикальной оси составляет только уз указанного значения. Переключать можно только тогда, если передача находится в состоянии покоя! Если рукоятка не проворачивается, так как в передаче имеется зубчатое зацепление, тогда коротким нажатием на кнопку "Кратковременный пуск" S57 (рис. 4/5 до 4/7) можно вызвать вращение передачи.

Приспособление для подачі охлаждающего средства. Бак для охлаждающей жидкости у консольно-фрезерных верстатів (FW, FU ИЛИ FSS ) находится на базовой плите. Этот бак закрыт крышками 121. Насос для подачі охлаждающей жидкости привинчен к базовой плите і доступ к нему возможен після открытия задньої дверцы стойки.

Охлаждающее средство подается от насоса через шланг в стойке сзади справа над консольно-фрезерным верстатом до передньої левой стороны керування. У верстатів FSS спираль расхода з выпускным сопло прикреплено к шпиндельной головке, а у верстатів FW і FU - к контропоре. Розташування' зажимной скобы на призме для направляючих контропори може быть произвольным.

Муфтовый кран 105 в подводящем трубопроводе позволяет регулировать количество жидкости до полного запирания трубопровода без отрицательного дії на насос для подачі охлаждающей жидкости. Назад охлаждающее средство течет со стола через крестовый суппорт, трубопровод, консоль і телескопическую трубку в базовую плиту. Насос для охлаждающей жидкости може перекачивать масло для охлаждения или емульсию.

Керування:

Механізм попутной подачі (продольное рух стола). Глубокие пазы, тонкостенные детали (которые трудно поддаются зажиму) или высокопрочные материалы зачастую лучше фрезеровать способом попутной подачі.

Предпосылкой етого является безупречная компенсация зазору между винтом подачі стола і гайкой. Эта компенсация вызывается гідравлическим механізмом попутной подачі, который встроен слева в крестовом суппорте или в поворотной частини.

Керування:

- Многопозиционный переключатель S86 (рис. 4/11) переключить в положение I "ВКЛ."

- В етом положении механізм попутной подачі при движении подачі стола влево или вправо выполняется полностью автоматически і отключается при ускоренном ходе для лучшего сохранения гайки гвинта подачі стола.

- При переключении з ускоренного ходу на подачу необходимо учитывать, что на врезание инструмента требуются примерно 3 секунда для достижения полного дії механізма попутной подачі.

Опускание консоли (ось Z)

Работа з опусканием консоли предотвращает контакт фрезы з заготовкой во время ускоренного відведення, следовательно, способствует сохранению фрезерного инструмента і защищает поверхность заготовки от повреждения режущими кромками инструмента.

- Многопозиционный переключатель S87 (рис. 4/II) установить в положение I "ВКЛ."

- В етом положении переключения консоль, до любого ускоренного руху в продольном направлении і в поперечном направлении, автоматически опускается примерно на 0,7 мм.

- При любой форме окончания ускоренного ходу консоль опять поднимается. Заготовка для дальнейшей обробки занимает при етом всегда первоначальное положение. Рух подачі допускается только при полностью поднятой консоли.

- Специальная функция "Наладка механізма для опускания консоли"

Специальная функция служит для удаления воздуха из механізма для опускания консоли. Многопозиционный переключатель S85 (рис. 4/II) установить в положение 5. Нажатием кнопки S67 (рис. 4/10) на поворотном табло керування 260 двигатель механізма для опускания консоли вращается в направлении "Опустить" і наполняет маслом гідросистему. Нажатием на кнопку S57 (рис. 4/5, 4/6, 4/7) двигатель механізма для опускания консоли вращается в направлении "Поднять" Кнопки S67 (примерно 30 сек) і S57 (примерно 5 сек) нажимаются многократно і попеременно, гарантируя етим надёжную продувку.

Электрическое пристрій для зажиму инструментов

Внимание!

Во время процессов зажиму і разжима инструмента необходимо инструмент предохранять от прокручивания в пазовом сухаре фрезерного шпинделя, для предотобертання прокручивания инструмента натяжным винтом приспособления для зажиму і исключения травмирования. У инструментов, весом больше 16 кг применять для опори инструментов подходящие вспомогательные средства, чтобы предотвратить выпад инструмента из фрезерного шпинделя і повреждения на инструменте і на станке. Перед зажимом необходимо почистить крутой конус фрезерного шпинделя і инструмента, а также поводок.

Зажим инструмента:

  1. Многопозиционный переключатель S81 установить в положение 4 "Инструмент зажать" (см. рис. 4/10)
  2. Инструмент вставить і зафиксировать во фрезерном шпинделе
  3. Нажать кнопку S251- "Инструмент зажать/разжать" (см. рис. 4/5,4/6,4/7) Инструмент зажимаемся. По достижении установленного момента закручивания механізм для зажиму автоматически отсоединяется і двигатель механізма для зажиму отключается. Процесс зажиму можно повторить только після предварительного разжима.

Разжим инструмента:

  1. Многопозиционный переключатель S61 установить в положение 5 "Инструмент разжать"
  2. Инструмент зафиксировать
  3. Нажать кнопку S251 "Инструмент зажать/разжать"

Инструмент разжимается. После окончания процесса разжима кнопку S251 опять отпустить, так как при разжиме не происходит автоматическое відключення механізма для зажима.

- Примечание:

Кнопка S251 по причинам безопасности выполнена кнопкой кратковременного пуска. Этим она должна во время процесса зажиму і разжима постоянно нажиматься, однако при появлении нерегулярностей прервать зажим і разжим возможно при помощи отпускания кнопки.

- Указание:

Так как для функционирования режимов роботи "Кратковременный пуск", "Наладка", "Работа" (многопозиционный переключатель S81, положение 1,2,3) необходима сигналізація "Приспособление для зажиму инструментов отсоединено і зажато", то один инструмент должен быть постоянно зажат. При применении инструментов или пристосувань, которые не вставляются в крутой конус фрезерного шпинделя, зажимать тогда поставляемую центрирующую оправку.

Замедленный ход (Спецвиконання). Керування замедленным ходом выполняется светящимися кнопками S66/H66 (см. раздел 4.2.3.) или командными упорами "Замедленный ход" (см. раздел 4.2.II). У верстатів стандартного исполнения отсутствует на табло керування кнопка S66/H66 і командные упоры тоже не поставляются.

Замедленный ход является специальной подачей з неизменной скоростью 50 мм/мин. Замедленный ход возможен поетому только как і подача з вращением фрезы. Замедленным ходом по необходимости происходит понижение скорости подачі.

Этим замедленный ход служит для защиты инструмента і верстата. Возникающие, при врезании і выходе инструмента из контакта з изделием, ударные нагрузки на инструмент і верстат при помощи замедленного ходу значительно сокращаются.

Кроме того, у верстатів з замедленным ходом повышается точность отключения при работе з командными упорами. Так, например, если до переключения на ускоренный отвод или до прерывания руху подачі со "Стоп" включается замедленный ход. При фрезеровании по прямоугольному циклу автоматическое увімкнення замедленного ходу происходит незадолго до достижения точки переключения от одной координаты на другую при помощи управляющих кулачков "прямоугольный цикл". Этим самым і здесь также повышается точность отключения.

Если скорость подачі ниже 63 мм/мин, то не происходит переключение на замедленный ход, т.к. в етом случае не происходит понижение скорости подачі.

Размещение командных упоров

На любой оси (X, Y, Z) можно устанавливать командные упоры для требуемого робочого процесса. На них имеются символы вида вызываемого руху і поворотом на 180 градусов могут действовать в любом направлении (+,-). Возможно керування всеми процессами руху і соответственно положений многопозиционных переключателей всеми дополнительными функциями (например, охлаждающее средство, опускание консоли і т.д.). Примеры для розміщення командных упоров даны в разделе 7. Командные упоры подразделяются на ниженаступні виды:

Эти упоры показаны на рис. 4/3.1 і 4/3.2.


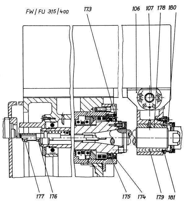
FU-400, FU-315, FW-400, FW-315 Фрезерный шпиндель консольно-фрезерного верстата

FU-400, FU-315 Фрезерный шпиндель консольно-фрезерного верстата


FU-400, FU-315, FW-400, FW-315 Схема електрична консольно-фрезерного верстата

FU-400, FU-315 електрична схема консольно-фрезерного верстата




FU-400, FU-315 Верстат консольно-фрезерный універсальний. Відеоролик.




Технічні характеристики консольного фрезерного верстата FU-400, FU-315

Наименование параметра FU-315 FU-400 6Т82Ш 6Т83Ш
Основні параметри верстата
Розміри поверхности стола, мм 315 х 1250 400 х 1600 320 х 1250 400 х 1600
Наибольшая масса обрабатываемой детали, кг 1000 1500 400 630
Наибольший продольный ход стола (Ось X). Механіка, мм 850 1120 800 1000
Наибольший поперечний ход стола (Ось Y). Механіка, мм 270 345 320 400
Наибольший вертикальний ход стола (Ось Z). Механіка, мм 350 400 420 430
Наибольший продольный ход стола (Ось X). Вручную, мм 1150
Наибольший поперечний ход стола (Ось Y). Вручную, мм 370
Наибольший вертикальний ход стола (Ось Z). Вручную, мм 430
Расстояние от торца шпинделя до поверхности стола, мм 95..450 100..500 30..450 70..500
Расстояние от оси шпинделя до вертикальних направляючих станины (вылет), мм 360 450 380 460
Шпиндель
Мощность приводу головного руху, кВт 5,5 11 7,5 11
Частота обертання горизонтального шпинделя, об/мин 45..2240 28..1400 31,5..1600 31,5..1600
Частота обертання вертикального шпинделя, об/мин 56..2500
Количество швидкостей шпинделя 18 18 18 18
Ступенчатый переход швидкостей шпинделя 1,25 1,25
Кінець горизонтального шпинделя Конус ISO 50 Конус ISO 50 50 50
Кінець вертикального шпинделя Конус ISO 40 Конус ISO 40 50 50
Максимальный крутящий момент на горизонтальном шпинделе, Нм 900 1850
Максимальный крутящий момент на вертикальном шпинделе, Нм 520
Диаметр переднего підшипника, мм 110 110
Наибольший диаметр резцовой фрезерной головки, мм 250 315
Рабочий стол. Подачи
Пределы продольных і поперечных подач стола (X, Y), мм/мин 25..1250 16..800 12,5..1600 12,5..1600
Пределы вертикальних подач стола (Z), мм/мин 8..400 5..250 4,1..530 4,1..530
Количество подач стола (продольных, поперечных, вертикальних) 18 18 22 22
Скорость быстрых перемещений (продольных, поперечных/ вертикальних) X, Y/ Z, м/мин 3,15/ 1,0 3,15/ 1,0 4/ 1,330 4/ 1,330
Угол поворота стола, град ±45° ±45° ±45° ±45°
Перемещение стола на одно деление лимба (продольное, поперечное, вертикальное), мм 0,05 0,05 0,05 0,05
Перемещение стола на один оборот лимба (продольное, поперечное/ вертикальное), мм 6/ 2 6/ 2
Наибольшее допустимое усилие різання (продольное/ поперечное/ вертикальное), кН 15/ 12/ 5 20/ 12/ 8
Механіка верстата
Выключающие упоры подачі (поздовжньої, поперечної, вертикальной) Есть Есть Есть Есть
Блокировка ручной і механической подач (поздовжньої, поперечної, вертикальной) Есть Есть Есть Есть
Блокировка раздельного увімкнення подач Есть Есть Есть Есть
Торможение шпинделя Есть Есть Есть Есть
Предохранительная муфта от перегрузок Есть Есть Есть Есть
Автоматическая прерывистая подача Есть Есть Есть Есть
Електроустаткування і приводы верстата
Количество електродвигателей на станке 4 5 4 4
Електродвигун головного руху, кВт 5,5 11 7,5 11
Електродвигун приводу подач, кВт 1,5 2,2 3 3
Електродвигун зажиму инструмента, кВт 0,25 0,25
Електродвигун насоса СОЖ, кВт 0,12 0,12
Суммарная мощность всех електродвигателей, кВт 8 14.5 10,87 14,37
Габарити і масса верстата
Габарити верстата (длина ширина высота), мм 1930 х 1850 х 2635 2345 х 1850 х 2710 2280 х 1965 х 2265 2570 х 2252 х 2430
Масса верстата, кг 2960 2345 3250 4300

    Список литературы:

  1. Паспорт на універсальний фрезерный верстат FU 315/400, ГДР

  2. Аврутин С.В. Основы фрезерного дела, 1962
  3. Аврутин С.В. Фрезерне дело, 1963
  4. Ачеркан Н.С. Металлорежущие верстати, Том 1, 1965
  5. Барбашов Ф.А. Фрезерне дело 1973, с.141
  6. Барбашов Ф.А. Фрезерные роботи (Профтехобразование), 1986
  7. Блюмберг В.А. Справочник фрезеровщика, 1984
  8. Григорьев С.П. Практика координатно-расточных і фрезерных работ, 1980
  9. Копылов Р.Б. Работа на фрезерных верстатах,1971
  10. Косовский В.Л. Справочник молодого фрезеровщика, 1992, с.180
  11. Кувшинский В.В. Фрезерование,1977
  12. Ничков А.Г. Фрезерные верстати (Библиотека станочника), 1977
  13. Пикус М.Ю. Справочник слесаря по ремонту металлорежущих верстатів, 1987
  14. Плотицын В.Г. Расчёты настроек і наладок фрезерных верстатів, 1969
  15. Плотицын В.Г. Наладка фрезерных верстатів,1975
  16. Рябов С.А. Современные фрезерные верстати і их оснастка, 2006
  17. Схиртладзе А.Г., Новиков В.Ю. Технологическое обладнання машиностроительных производств, 1980
  18. Тепинкичиев В.К. Металлорежущие верстати, 1973
  19. Чернов Н.Н. Металлорежущие верстати, 1988
  20. Френкель С.Ш. Справочник молодого фрезеровщика (3-е изд.) (Профтехобразование), 1978




Связанные ссылки

Каталог справочник вертикальних фрезерных верстатів і их аналогов

Паспорта і схеми к вертикальным фрезерным верстатам і оборудованию




Заказать

Кто владеет информацией - тот владеет миром.

Натан Ротшильд