metalinstryment.com
Довідник по металорізальних верстатів та пресовому обладнанні

5С267П Верстат зубострогальный напівавтомат для нарізання прямозубых конических колес
схеми, опис, характеристики

5С267П Загальний вигляд  зубострогального верстата







Відомості про виробника зубострогального напівавтомату 5С267П

Производитель зубострогального напівавтомату 5С267П Саратовский завод тяжелых зуборезных верстатів, СЗТЗС, основанный в 1947 году.





Верстати, выпускаемые Саратовским заводом тяжелых зуборезных верстатів, СЗТС


5С267П Верстат зубострогальный напівавтомат підвищеної точності. Назначение і область применения

Зубострогальный універсальний верстат 5С267П предназначен для чистового і чернового нарізання конических колес з прямыми зубьями і торцовых кулачковых муфт.

Обработка производится двумя спаренными зуборезными головками методом обкатки или врізання, а также комбинированными методами, совмещающими обкатку і врезание в одном цикле.

Полуавтомат 5С267П используется в условиях серийного і крупносерийного производства в различных отраслях машиностроения.

Особливості конструкції верстата 5С267П

Нарезание производится по методу обката, врізання или комбинированным методом врізання і обката. Рух обката производит люлька, а врезание — стол з изделием.

Деление на станке 5С267П — периодические після обробки одного зуба. Список основних частин і органів керування етого верстата приведен в табл. 9.6.

Полуавтомат имеет короткие кинематические ланцюги.

Ланцюги головного руху, обкатки і керування имеют раздельный привод.

Механізм деления не входит в ланцюг обкатки і не влияет на її точность.

Конечные звенья ланцюги обкатки имеют высокие коеффициент перекрытия і износоустойчивость, что обеспечивает равномерное рух обкатки і применение коротких циклов.

Регулювання угла качания люльки — бесступенчатое, благодаря чему перебеги люльки сводятся до минимума.

Подача обкаткой производится з помощью електродвигуна постоянного тока з тиристорным преобразователем. Скорость обкатки — постоянная или переменная.

Подача врезанием производится з помощью гідроцилиндра со следящей системой. Скорость врізання — переменная.

В настоящее время напівавтомат выпускается з навесным електрошкафом.

Класс точності напівавтомату П по ГОСТ 8—77.

Шероховатость обработанной поверхности зуба Ra 2,0 мкм.

Средний уровень звука LA не превышает 80 дБА.

Год принятия напівавтомату к серийному производству — 1975.

Проектная организация — Саратовское специальное конструкторское бюро зубообрабатывающих верстатів (СКБЗС).


Верстати для нарізання прямозубых конических колес

Універсальные обеспечивают черновое і чистовое нарезание зубчатых колес методами обкатки і копирования (врізання). Из них можно выделить две основні группы:

1. Верстати, предназначенные для нарізання зубчатых колес средних размеров (m ≤ 8 мм, d ≤ 500 мм): 5С26В, 5С270П, 5C276П, 5С267П. На конечных звеньях кинематических ланцюгів обкатки (люльке і шпинделе вироби) етих верстатів установлены высокоредукционные гипоидные передачи. Базовой моделью является верстат 5С26В.

2. Верстати, обеспечивающие обработку крупномодульных зубчатых колес (т < 12 мм, d < 800 мм): 527В, 5С280П, 5С286П, 5С277П На конечных звеньях кинематических ланцюгів обкатки етих верстатів установлены червячные передачи і предусмотрено встраивание, при необходимости, механізма модификации обкатки (модификатора). Базовой моделью является верстат 527В.

Верстати обеих групп имеют идентичную кинематическую структуру і є напівавтоматическими.


Кінематична схема приводу головного руху і рівняння баланса кінематичної ланцюги верстата 5С267П.

5С267П напівавтомат зубострогальный. Загальний вигляд

iv - передаточное отношение сменных зубчатых колес (отношение числа зубьев ведущих колес к числам зубьев ведомых колес).







Посадочные і присоединительные базы инструмента зубострогального верстата 5С267П

5С267П Посадочные і присоединительные базы зубострогального напівавтомату 5С267П

Посадочные і присоединительные базы зубострогального напівавтомату 5С267П

Посадочные і присоединительные базы зубострогального напівавтомату 5С267П. Дивитись у збільшеному масштабі



5С267П Загальний вигляд зубострогального верстата

Фото зубострогального верстата 5С267П

Фото зубострогального верстата 5С267П

Фото зубострогального верстата 5С267П. Дивитись у збільшеному масштабі



5С267П напівавтомат зубострогальный. Загальний вигляд

Фото зубострогального верстата 5С267П



5С267П напівавтомат зубострогальный. Загальний вигляд

Фото зубострогального верстата 5С267П



Розташування складових частин зубострогального верстата 5С267П

Розташування складових частин зубострогального верстата 5С267П

Розташування основних вузлів зубострогального верстата 5С267П



Список основних вузлів зубострогального верстата 5С267П

  1. Станина
  2. Рукоятка керування движением стола і зажиму заготовки
  3. Крышка коробки головного привода
  4. Дверка коробки гітари подач
  5. Маховик ручного поворота фрез
  6. Пульт керування
  7. Инструментальная бабка
  8. Люлька з суппортами
  9. Механізм деления
  10. Фрезерный суппорт
  11. Траверса з приводным валом
  12. Бабка вироби
  13. Изделие
  14. Гідравлический зажим вироби
  15. Крышка коробки з гітарою деления
  16. Круговые направляющие стола
  17. Винт установки стола в продольном направлении
  18. Стол




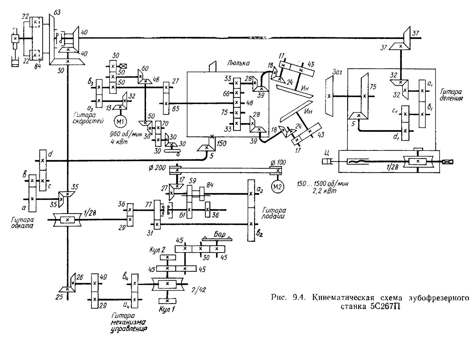
Схема кінематична зубострогального верстата 5С267П

Схема кінематична зубострогального верстата 5С267П

Кінематична схема зубострогального верстата 5С267П

Кінематична схема зубострогального верстата 5С267П. Дивитись у збільшеному масштабі



Кінематична схема верстата 5С267П (рис. 9.4) состоит из следующих основних кинематических ланцюгів: обертання инструмента (главное движение) обката, деления, подач і керування.

Ланцюг керування связывает вращение люльки з вращением циклового барабана (Бар) і управляющих кулачков Кул1 і Кул2. Кулачок Кул1 управляет скоростью обката, воздействуя на елемент налаштування частоти обертання електродвигуна М2. Кулачок Кул2 управляет движением стола, воздействуя на следящий золотник гідроцилиндра Ц стола.

В табл. 9.7 приведены формулы налаштування основних кинематических ланцюгів верстата.


5С267П Настановне креслення зубострогального напівавтомату

Настановне креслення зубострогального напівавтомату 5С267П

Настановне креслення зубострогального напівавтомату 5С267П




5С267П Верстат зубострогальный напівавтомат. Відеоролик.





Технічні характеристики зубострогального верстата 5С267П

Технічні характеристики зубострогального верстата 5С267П

Технічні характеристики зубострогального верстата 5с276с

Технічні характеристики зубострогального верстата 5С267П. Дивитись у збільшеному масштабі




    Список литературы

  1. Писманик К. М., Шейко Л. И., Денисов В. М. Верстати для обробки конических зубчатых колес, Машиностроение, 1993. Стр. 73.

  2. Колев Н.С. Металлорежущие верстати.
  3. Гальперин Е.И. Наладка зуборезных верстатів, 1960.
  4. Козлов Д.Н. Зуборезные роботи, 1971.
  5. Лоскутов В.В., Ничков А.Г. Зубообрабатывающие верстати, 1978.
  6. Малахов Я.А. Зубообрабатывающие і резьбофрезерные верстати і их наладка, 1972.
  7. Мильштейн М.З. Нарезание зубчатых колес, 1972.
  8. Овумян Г.Г., Адам А.И. Справочник зубореза, 1983.
  9. Писманик К. М., Шейко Л. И., Денисов В. М. Верстати для обробки конических зубчатых колес, 1993
  10. Птицин Г.А., Кокичев В.Н. Зуборезные верстати, 1957.
  11. Сильвестров Б.Н., Захаров И.Д. Конструкція і наладка зуборезных і резьбофрезерных верстатів, 1979.
  12. Шавлюга Н.И. Расчет і примеры наладок зубофрезерных і зубодолбежных верстатів, 1978.
  13. Список литературы для налаштування верстата

  14. Верстат для нарізання спиральнозубых конических колес моделі 528с. Руководство к верстату, ЭНИМС, МЗКРС 1956 год.
  15. Инструкция по расчету наладочных установок зуборезных верстатів моделі 525 і 528 для нарізання конических колес со спиральными зубьями, ЭНИМС, МЗКРС.
  16. Руковдство по расчету геометрических размеров гипоидных зубчатых колес і наладок для их нарізання на верстатах моделей 528с, 528с, 5а27с1, Саратовский завод тяжелых зуборезных верстатів, 1967 год.
  17. Руковдство по расчету наладок верстатів 528с, 525 і 5а27с4п для нарізання конических колес методом обкатки, Саратовский завод тяжелых зуборезных верстатів, 1969 год.









Заказать

Кто владеет информацией - тот владеет миром.

Натан Ротшильд