metalinstryment.com
Довідник по металорізальних верстатів та пресовому обладнанні

58К70в Верстат зубошлифовальный для шлифования конических колес
схеми, опис, характеристики

58К70в Верстат зубошлифовальный для шлифования конических колес







Відомості про виробника зубошлифовального напівавтомату 58К70в

Производитель зубошлифовального напівавтомату 58К70в Саратовский завод тяжелых зуборезных верстатів, СЗТЗС, основанный в 1947 году.





Верстати, выпускаемые Саратовским заводом тяжелых зуборезных верстатів, СЗТС


58К70В Верстат зубошлифовальный для конических зубчатых колес з круговыми зубьями. Назначение і область применения

Верстат 58К70В является аналогом верстата 5А870В і отличается от него только размерами. Кінематична схема, конструкция основних вузлів, процесс шлифования идентичны.

Зубошлифовальный напівавтомат 58К70в высокого класса точності предназначен для шлифования методом обкатки конических колес з круговыми зубьями.

Обработка производится чашечным шлифовальным кругом или сегментной головкой.

Полуавтоматы могут быть использованы в различных отраслях машиностроения при единичном і серийном производстве.

Принцип роботи і особливості конструкції верстата

Процесс формообразования боковых поверхностей зубьев при шлифовании конических колес з круговыми зубьями аналогичен процессу формообразования при нарезании зуборезными головками обкаткой плоским производящим колесом. Конические боковые поверхности шлифовального круга выполняют роль производящих поверхностей (боковых поверхностей зуба производящего колеса), описываемых вращающимися режущими кромками резцовых головок в зуборезных верстатах.

Отличительной конструктивной особенностью зубошлифовальных верстатів по сравнению з зуборезными является наличие механізмов правки і керування, необходимых при периодической правке шлифовального круга для поддержания его режущих свойств і геометрической формы, а также компенсации его износа. Схема правки шлифовального круга, его крепление і ограждение показаны на рис. 7.1.

Схема роботи основних механізмов верстата при шлифовании конического колеса показана на циклограмме рис. 7.2. При каждом рабочем ходе (черновом і чистовом) післядовательно шлифуются все зубья колеса при установленной подаче на врезание. Перед каждым рабочим ходом устанавливается соответствующее значение етой подачі, а перед некоторыми ходуми шлифовальный круг правят. Все операции, кроме снятия обработанной детали і установки новой заготовки, осуществляются автоматически от системы керування, рассматриваемой ниже.

Верстат показан на рис. 7.3. Указанные на рисунке обозначения і наименования частин і органів керування будут в дальнейшем использоваться і на других рисунках.

Цикл обробки автоматизирован. В системе керування циклом используется программируемый контроллер.

В качестве конечных звеньев кінематичної ланцюги обкатки-деления применены высокоточные высокоредукционные гипоидные или червячные пары. Механізм деления не входит в ланцюг обкатки на рабочем ходу і не влияет на її точность.

Гідропривід і система охлаждения размещены отдельно от напівавтомату, в результате чего обеспечена высокая термическая стабильность.

Возможно бесступенчатое независимое регулювання угловой скорости качания люльки верстатів моделей 58К70в і 58К71А на рабочем і холостом ходу.

Достигается высокая точность шлифования – степень точності зубчатых колес 5-6 по ГОСТ 1758-81.

Комплектность поставки

За дополнительную плату поставляются:


Основні технические данные зубошлифовального напівавтомату 58К70в



58К70в Загальний вигляд зубошлифовального верстата

Фото зубошлифовального верстата 58К70в

Фото зубошлифовального верстата 58К70в



Фото зубошлифовального верстата 58К70в

Фото зубошлифовального верстата КМС-5850 з ЧПУ

Фото зубошлифовального верстата. Дивитись у збільшеному масштабі



Розташування складових частин зубошлифовального верстата 58К70в

Розташування складових частин зубошлифовального верстата 58К70в

Розташування основних вузлів зубошлифовального верстата 58К70в

Розташування основних вузлів зубошлифовального верстата 58К70в. Дивитись у збільшеному масштабі







Схема кінематична зубошлифовального верстата 58К70в

Схема кінематична зубошлифовального верстата 58К70в

Кінематична схема зубошлифовального верстата 58К70в

Кінематична схема зубошлифовального верстата 58К70в. Дивитись у збільшеному масштабі



Главное движение - вращение шлифовального шпинделя осуществляется от регулируемого електродвигуна постоянного тока M1 через три ременные передачи з общим передаточным числом uу = 160/125 · 135/125 · 125/135 · 0,983 = 1,2. Ременные передачи размещены в специальном барабане БЗ з задньої стороны люльки. Этот барабан поворачивается вместе з ексцентриковым барабаном Э люльки. Благодаря етому при настроечном повороте ексцентрикового барабана взаимное положение шкивов і натяжение ремней остаются неизменными .

Частота обертання (об/мин) електродвигуна M1 определяется в зависимости от скорости шлифования ν (м/с) і диаметра шлифовального круга d0 (мм) і регулируется з помощью електроапаратури:

nм1 = (1000 · 60ν)/ π · dо · uу

nм1 - частота обертання електродвигуна M1 (об/мин)

ν - скорость шлифования;

dо - диаметр шлифовального круга;

uу - частота обертання шлифовального шпинделя

Круговая подача - вращение люльки - осуществляется регулируемым електродвигуном постоянного тока М2 через червячную передачу 4:28, цилиндрическую 34:48, коническую 17:34, сменные зубчасті колеса обкатки io = В/Г · D/E і гипоидную передачу 5:150.

При шлифовании очередного зуба люлька вращается против часовий стрелки на заданный угол Фл со скоростью, обусловленной заданным временем цикла качания люльки tЦ. Возврат люльки в исходное положение происходит по часовий стрелке за время tB = 1,5...2 с. Реверсирование осуществляется з помощью електроапаратури под воздействием кінцівых выключателей КВ1 і КВ2, установленных на указанный угол Фл на задньої стороне люльки (см. рис. 7.5). Частота обертання nм2 (об/мин) двигуна М2 должна быть такой, чтобы за время робочого ходу tp = tц -1,5 з люлька повернулась на угол Фл, тогда:

nм2/60 · 4/28 · 34/48 · 17/34 · io · 5/150 · (tц - 1,5) = Фл/360

откуда

nм2 = 98,8 · Фл/ io (tц - 1,5)

где zs - число зубьев производящего колеса (задаваемое картой налагодження);

nм2 - частота обертання двигуна М2;

tц - время цикла качания люльки;

io - Отношение сменных зубчатых колес обкатки;

Вращение шпинделя шлифуемого колеса в процессе обкатки осуществляется тем же електродвигуном М2 согласованно з вращением люльки. Рух заимствуется от зубчатого колеса z = 48 і передається на шпиндель через зубчасті колеса диференціала z = 48, z - 24, z = 48 (при нерухомому корпусе КД), три конические передачи 14:28, 36:36 і 30:30, сменные зубчасті колеса деления iд = Ж/З · И/К і гипоидную передачу 5:75. Рівняння баланса ланцюги обкатки, согласующей обертання люльки і шпинделя,

1/zs · 150/5 · 1/iо · 34/17 · uдиф · 14/28 · 36/36 · 30/30 · iд · 5/75 = 1/zi

где zs - число зубьев производящего колеса (задаваемое картой налагодження);

uдиф = 1 - передаточное число диференціала при передаче обертання з одного центрального колеса на другое при указанных зубчатых колесах і нерухомому корпусе.

Делительный поворот шлифуемого колеса происходит в начале обратного ходу люльки. Под воздействием переключающих устройств масло поступает в гідроцилиндр ЦД, поршень-рейка которого, перемещаясь, воздействует через зубчато-реечный і винтовой механізмы на фиксатор ФКД корпуса диференціала і муфту МКД. Фиксатор освобождает корпус, муфта включается, і лопастной гідродвигатель ГД1 сообщает корпусу поворот на 180°. Это рух передається на шлифуемое колесо по делительной ланцюги

180°/360° · uдиф · 14/28 · 36/36 · 30/30 · iд · 5/75 = 1/z1

где uдиф = 4 - передаточное число диференціала от корпуса на центральное колесо (при вращении корпуса) при указанных числах зубьев зубчатых колес.

iд - передаточное число сменных зубчатых колес деления

io - передаточное число сменных зубчатых колес обкатки

Из приведенных уравнений делительной ланцюги і ланцюги обкатки получаются наступні формулы для передаточных чисел сменных зубчатых колес деления і обкатки: iд = 15/zi, io = 30/zs

Привід управляющего вала (УВ) на котором расположены кулак КП подачі врізання і диск ДЗП управляющего программного пристроя, осуществляется от електродвигуна М3 через две червячные передачи 1:28 і 1:34. Управляющий вал делает один полный оборот за время шлифования зубчатого колеса, но вращается не непрерывно, а з периодическими остановками, как ето задается программой шлифования (см. ниже). При непрерывном его вращении время его полного оборота, как ето следует из рассмотренной кінематичної ланцюги, было бы

tув = 28 · 34/1370 = 0,7 мин = 42 с.

Подача врізання при автоматичною работе верстата осуществляется кулачком КП при его повороте на определенный угол, задаваемый программой. Стол СБИ перемещается под воздейст вием давления масла в гідроцилиндре Ц1 на расстояние, допускаемое падением профиля кулачка. Цилиндр Ц1 служит і для відведення стола з бабкой вироби БИ (угловое положение которой устанавливают з помощью P5) из робочого положения в положение для деления і обратно. Второй цилиндр Ц2 предназначен для быстро го подвода стола из загрузочного положения в рабочее і обратно.

Рух подачі на врезание вручную осуществляется з по мощью рукоятки Р2, расположенной на передньої стенке верстата через две конические пары 23:23, червячную передачу 2:24 і винтовую пару з шагом Р = 3 мм. Наладочное перемещение стола вручную производится от рукоятки, надеваемой на квадрат Р4, через зубчатую передачу і винтовую пару з шагом Р = 1,5 мм.

Механізм разделения припуска (см. рис. 7.4, разрез А-А) предназначен для поворота шлифуемого колеса относительно шлифовального круга без расцепления зубчатых колес настроенной ланцюги обкатки. Этот поворот осуществляется з помощью рукоятки, надеваемой на квадрат Р1 на передньої стенке верстата (см. рис. 7.3). От етой рукоятки рух передається через две коническими одну цилиндрическую передачи з і = 1:1 на червяк z = 1, сцепляющийся з червячным колесом z = 73, закрепленным на корпусе делительного механізма КД. От корпуса поворот передається при включенном фиксаторе ФКД по делительной ланцюги на шпиндель бабки вироби.

Пристрій люльки (рис. 7.5, см. рис. 7.4). В люльке Л верстата, вращающейся в направляючих качения стойки СЛ і приводимой во вращение гипоидной передачей 5:150, расположены наступні механізмы: ексцентриковый барабан Э з гильзой шпинделя шлифовального круга, барабан БЗ для крепления опор ременных передач приводу обертання шпинделя, механізм осьового переміщення шпинделя. Кроме того, на ексцентриковом барабане люльки расположен механізм правки шлифовального круга.

Эксцентриковый барабан предназначен для изменения і установки радиальной координаты шлифовального шпинделя. Этот механізм аналогичен рассмотренному в п. 2.4 ексцентриковому барабану люльки зуборезного верстата. Эксцентриковый барабан поворачивается на нужный угол вращением шестигранника Р6 і закрепляется стопорными болтами Р10. Отсчет угла поворота производится по шкале Ш5 (см. рис. 7.5).

В барабане Б3, как указано выше, расположены не показанные на схеме кронштейны з опорами для шкивов ременных передач. Для сохранения неизменности межосьового расстояния шпиндельных ременных передач барабан БЗ должен изменять свое положение в соответствии з изменением положения ексцентрикового барабана Э. Для етого зубчатый венец ексцентрикового барабана z = 200 (см. рис. 7.4) связан зубчатыми колесами z = 20 і z = 13 з зубчатым венцом z = 186 на барабане БЗ. В етом барабане имеется также пристрій для его закрепления в установленном положении.

Шлифовальный шпиндель Ш установлен в гильзе шпинделя ГШ в прецизионных підшипниках (см. рис. 7.4). Гильза може перемещаться в осевом направлении по направляющим качения. Это перемещение необходимо как рух подачі шлифовального круга при его правке для компенсации износа. Осевое перемещение ГШ осуществляется з помощью лопастного гідродвигуна ГД2. При получении импульса от системы керування его ротор поворачивается на 120° і сообщает поворот через храповый механізм ХМ валу, проходящему внутри ГД2, і от него через зубчасті колеса z = 17 і z = 68 на винтовую пару з шагом Р = 3 мм. Храповый механізм предназначен для регулювання осьового руху подачі при правке путем соответствующего изменения числа зубьев храпового колеса, захватываемых собачкой при указанном повороте ротора. Налаштування подачі в интервале 0-0,14 мм (десять подач) производится вращением внутреннего шестигранника Р7 по соответствующей шкале Ш6 (см. рис. 7.5). Перемещение гильзы шпинделя вручную При наладке осуществляется вращением шестигранника Р8.



Схема крепления і правки шлифовального круга зубошлифовального верстата 58К70в

Схема крепления і правки шлифовального круга зубошлифовального верстата 58К70в

Схема крепления і правки шлифовального круга зубошлифовального верстата 58К70в. Дивитись у збільшеному масштабі



Циклограмма шлифования конического колеса

Циклограмма шлифования конического колеса

Циклограмма шлифования конического колеса. Дивитись у збільшеному масштабі



Передня плоскость люльки зубошлифовального верстата 58К70в

Передня плоскость люльки зубошлифовального верстата 58К70в

Передня плоскость люльки зубошлифовального верстата 58К70в. Дивитись у збільшеному масштабі



Структурна схема керування зубошлифовальным верстатом 58К70в

Структурна схема керування зубошлифовальным верстатом 58К70в

Структурна схема керування зубошлифовальным верстатом 58К70в. Дивитись у збільшеному масштабі



Схема кулачка руху на врезание зубошлифовального верстата 58К70в

Схема кулачка руху на врезание зубошлифовального верстата 58К70в

Схема кулачка руху на врезание зубошлифовального верстата 58К70в. Дивитись у збільшеному масштабі



Циклограмма роботи механізма обкатки, деления і відведення стола зубошлифовального верстата 58К70в

Циклограмма роботи механізма обкатки, деления і відведення стола зубошлифовального верстата 58К70в

Циклограмма роботи механізма обкатки, деления і відведення стола зубошлифовального верстата 58К70в. Дивитись у збільшеному масштабі



Циклограмма правки шлифовального круга зубошлифовального верстата 58К70в

Циклограмма правки шлифовального круга зубошлифовального верстата 58К70в

Циклограмма правки шлифовального круга зубошлифовального верстата 58К70в. Дивитись у збільшеному масштабі



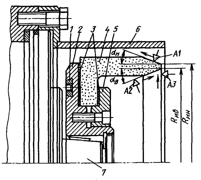
Механізм правки шлифовального круга (рис. 7.6) смонтирован на выступающей частини ексцентрикового барабана. Состоит из опорной плиты ОП, на которой може поворачиваться і закрепляться в нужном положении поворотная плита ПП. На етой плите имеются прямолинейные направляющие, по которым перемещается і закрепляется в установленном положении опорный корпус OК. Оба ети переміщення необходимы как наладочные для обеспечения при правке круга заданных значений образующих радиусов шлифовального круга Rив і Rин (см. рис. 7.1).

В корпусе ОК смонтированы сдвоенные гідроциліндри ЦЗ, оси которых параллельны оси шпинделя. Поршни-рейки етих цилиндров находятся в зацеплении з зубчатым колесом z = 20, которое жестко связано з откидным корпусом ОТК. В етом корпусе смонтирован механізм руху правочных алмазов. На рис. 7.6 корпус ОТК изображен в рабочем положении - при правке. По окончании правки под воздействием гідроцилиндров ЦЗ откидной корпус поворачивается относительно оси О1 O1 от изображенного положения на 120° (откидывается), вследствие чего алмазодержатели Т1, Т2 і Т3 выходят из соприкосновения з шлифовальным кругом.

Механізм руху алмазов состоит из алмазодержателей T1 і Т2 для правки внутренней і наружной боковых поверхностей круга, поворачивающихся вокруг оси О2О2, і алмазодержателя Т3 для правки торца круга, качающегося вокруг оси О3 (см. также рис. 7.1). Движения для правки круга сообщаются рычагам сдвоенным гідроцилиндром Ц4, установленным в откидном корпусе ОТК. Поршни-рейки етого цилиндра, перемещаясь в противоположном направлении, поворачивают через зубчасті секторы С2 алмазодержатели боковой правки Т1 і Т2, а через реечную шестерню z =16 поворачивают валик з кулачком КПР, который покачивает алмазодержатель торцовой правки Т3. Для того чтобы при правке боковых поверхностей круга были обеспечения нужные углы профилей, алмазодержателям Т1 і Т2 сообщаются также осевые переміщення от секторов С1 і наклонных упоров У1 і У2. Наклоны упоров могут регулироваться в зависимости от заданных значений углов профилей α в і α н отсчетом по соответствующим шкалам Ш 7. Алмазодержатели Т1 і Е2 прижимаются к упорам пружиной ПР.

Согласование роботи механізмов верстата. Осуществляется комбинированной системой керування, состоящей из центрального управляющего вала УВ з кулачком КП і программным диском ДЗП (см. рис. 7.4), определяющего весь цикл шлифования конического колеса за несколько рабочих ходов („большой" цикл), і двух релейных подсистем - для керування циклом шлифования каждого очередного зуба („малый" цикл) і для керування правкой шлифовального круга. Схема керування показана на рис. 7.7. На ней прямоугольником СУ1 условно обозначена совокупность електрических, гідравлических і електронных реле і аппаратов для керування большим циклом, прямоугольником СУ2 - также для керування малым циклом, і прямоугольником СУЗ - также для керування правкой круга, МД - механізм деления. Работа комплексной системы керування будет описана ниже після предварительного рассмотрения роботи управляющего вала.

Управляющий вал з диском ДЗП і кулачком КП поворачивается от периодически включаемого електродвигуна МЗ (рис. 7.4). При повороте кулачка осуществляется рух подачі на врезание. Схема етого кулачка при его положении в начале цикла обробки зубчатого колеса, когда упор стола соприкасается з его профилем в точке 0, показана на рис. 7.8. Профиль кулачка состоит из четырех участков: участка 0-1 на угле φ1 = 192°, очередного по архимедовой спирали з падением на 0,6..0,14 мм; аналогичного участка 1-2 на угле φ2 = 96° з падением на 0,14..0,02, подобного же участка 2-3 на угле φ3 = 32° з падением на 0,02..0 мм і кругового участка 3-4 на угле φ4 = 32°. На участке 4-0 профиль приходит в исходную точку 0. Первый участок профиля кулачка определяет подачу для черновых рабочих ходов, второй - для получистовых, третий - для чистовых, четвертый участок предназначен для выхаживания.

Схема программного пристроя диска ДЗП показана на том же рис. 7.8. На диске имеются три кінцінтрических ряда отверстий по 44 отверстия в каждом. Отверстия расположены в секторах, соответствующих указанным выше участкам профиля кулачка. Поетому каждому отверстию соответствуют определенные указанные переміщення стола верстата в направлении руху подачі на врезание, отсчитываемые от исходного положения диска (и кулачка) в начале цикла.

В исходном положении диска первый ряд отверстий, расположенных по радиусу, находится против источника света, воздействующего через отверстия в диске на фотоелементы.

Нормально в отверстия вставлены штыри (отверстия зачернены). Наружный ряд отверстий предназначен для задания подач врізання для запрограммированных рабочих ходов, что осуществляется освобождением соответствующих отверстий (отверстия не зачернены) в етом ряду. В среднем ряду отверстия освобождаются в случаях, когда з изменением подачі должна производиться очередная предварительная правка шлифовального круга. Во внутреннем ряду отверстия освобождаются, если должна производиться окончательная правка.

Вместо высвобождаемых штырей программа може быть быть зафиксирована на специальном программоносителе - картонном диске - пробивкой отверстий в соответствующих местах.

Рассмотрим работу системы керування по реализации программы, заданной на рис. 7.8 і соответствующей циклограмме на рис. 7.2.

После установки і закрепления очередной заготовки стол вручную рукояткой Р2 (ем. рис. 7.4) подводится в рабочее положение, і нажимается кнопка „пуск". В результате включаются електродвигатели і приводимые ими механізмы і пристроя, непрерывно работающие за весь цикл шлифования зубчатого колеса (см. рис. 7.2). Одновременно включается електродвигатель М3 исправляющий вал УВ вместе з кулачком КП і диском ДЗП поворачивается в направлении, указанном стрелкой, на угол, определяемый на диске отметкой 0,24, против которой имеется отверстие в среднем ряду. Под воздействием соответствующего фотоелемента система СУ1 (см. рис. 7,7) отключает двигатель МЗ, останавливая УВ, і включает систему СУЗ для осуществления первой черновой правки круга. По окончании правки система СУЗ включает систему СУ2, і начинается післядовательное шлифование всех зубьев зубчатого колеса при установленном смещении стола 0,24 мм. По окончании шлифования каждого зуба система СУ2 дает импульс в счетчик СЧ. По получении післяднего импульса (счетчик настроен на число зубьев шлифуемого колеса г,) счетчик посылает импульс в систему СУ1. Снова включается двигатель МЗ, і УВ вместе з диском ДЗП проворачивается до отметки, соответствующей 0,18, а стол перемещается в сторону шлифуемого колеса на 0,24-0,18 = 0,06 мм. Так как отверстие против етой отметки находится во внешнем ряду, механізм правки не включается, і система СУ1 передает команду системе СУ2 на шлифование всех зубьев зубчатого колеса з дополнительной подачей 0,06 мм. По окончании етого робочого ходу счетчик через систему СУ1 снова включает двигатель МЗ, і УВ вместе з программным диском снова поворачивается до отверстия з отметкой 0,12, після чего снова происходит шлифование со снятием припуска 0,06 мм. И так далее до отметки 0,02, где пробиты отверстия в среднем і внутреннем рядах. Поетому при етом положении включится чистовая правка, після чего чистовое шлифование продолжится з снятием припуска 0,01 мм і закончится выхаживанием.

Согласование роботи механізмов верстата, осуществляемое системой, условно обозначенной СУ2, представлено на циклограмме рис. 7.9. Реверсирование люльки осуществляется переключателями КВ1 і КВ2 от упоров, устанавливаемых на люльке (см. рис. 7.5).

Согласование роботи механізмов верстата при правке щлифовального круга, осуществляемое условной системой СУЗ, показано на циклограмме рис. 7.10. Очередная правка круга производится після того, как при каждой, предусмотренной программой, подаче прошлифованы все zi зубьев обрабатываемого колеса і получен соответствующий импульс в счетном устройстве СЧ. В етот момент люлька останавливается в середине обкатки, а гильза шлифовального шпинделя выдвигает шпиндель з кругом в зону правки з учетом припуска, подлежащего снятию при правке. Затем вступает в работу механізм правки (см. рис. 7.6) - откидной корпус ОТК поворачивается в рабочее положение, изображенное на рисунке, і гідроциліндри Ц4 сообщают правочные руху алмазодержателям Т1, Т2 і Т3. По окончании правки все механізмы возвращаются в исходное положение, как ето показано на циклограмме.

Все системы керування объединены едиными гідравлической і електрической схемами верстата.

Наладка зубошлифовального верстата 58К76В производится по карте налагодження, аналогичной карте налагодження верстатів для нарізання конических колес з круговыми зубьями (см. табл. 6.2). В карту налагодження зубошлифовального верстата добавлены данные о режимах шлифования, числе рабочих ходов і другие, необходимые для налаштування программного і правочного устройств.

Режими шлифования. Розміри заготовок шлифовальных кругов і сегментов, применяемых на верстатах 58К70В і 5А872В, приведены в табл. 7.2. (Подобная же номенклатура кругов і сегментов имеется в дюймовом измерении для номинальных значений d0 = 4,5; 5; 6; 7,5; 9; 12"). Круги обычно електрокорундовые, зернистости 40, 60 или 80, твердости СМ1, СМ2, Cl, C2 на бакелитовой или керамической связке.

Режими шлифования оцениваются числом і характеристикой рабочих ходов, скоростью різання і временем робочого ходу (малого цикла tц).

Подачи при черновой, получистовой, чистовой обработке і выхаживании і методика их программирования рассмотрены выше при описании программного пристроя. Скорость різання при шлифовании v = 30...50 м/с. Время малого цикла може быть ориентировочно принято следующим:

mе, мм... 2-4, 4-6, 6-9, 9-12

tц, с... 6-10, 8-12, 10-16, 14-20

По значениям v і tц і формулам (7.1) і (7.2) определяют частоту обертання електродвигателей M1 і М2;




58К70в Верстат зубошлифовальный напівавтомат. Відеоролик.




    Список литературы для налаштування верстата

  1. Верстат для нарізання спиральнозубых конических колес моделі 528с. Руководство к верстату, ЭНИМС, МЗКРС 1956 год.
  2. Инструкция по расчету наладочных установок зуборезных верстатів моделі 525 і 528 для нарізання конических колес со спиральными зубьями, ЭНИМС, МЗКРС.
  3. Руковдство по расчету геометрических размеров гипоидных зубчатых колес і наладок для их нарізання на верстатах моделей 528с, 528с, 5а27с1, Саратовский завод тяжелых зуборезных верстатів, 1967 год.
  4. Руковдство по расчету наладок верстатів 528с, 525 і 5а27с4п для нарізання конических колес методом обкатки, Саратовский завод тяжелых зуборезных верстатів, 1969 год.
  5. Список литературы по зубообработке

  6. Ачеркан Н.С. Металлорежущие верстати, Том 1, 1965.
  7. Гальперин Е.И. Наладка зуборезных верстатів, 1960.
  8. Козлов Д.Н. Зуборезные роботи, 1971.
  9. Кучер А.М., Киватицкий М.М., Покровский А.А., Металлорежущие верстати (Альбом общих видов, кинематических схем і вузлів), 1972.
  10. Лоскутов В.В., Ничков А.Г. Зубообрабатывающие верстати, 1978.
  11. Малахов Я.А. Зубообрабатывающие і резьбофрезерные верстати і их наладка, 1972.
  12. Мильштейн М.З. Нарезание зубчатых колес, 1972.
  13. Овумян Г.Г., Адам А.И. Справочник зубореза, 1983.
  14. Птицин Г.А., Кокичев В.Н. Зуборезные верстати, 1957.
  15. Шавлюга Н.И. Расчет і примеры наладок зубофрезерных і зубодолбежных верстатів, 1978.
  16. Руководящий материал для конструкторов, проектирующих технологическую оснастку. Основні данные і посадочные места металлорежущих верстатів. НИИМАШ, 1968.








Заказать

Кто владеет информацией - тот владеет миром.

Натан Ротшильд