Виробник універсального круглошліфувального верстата для перешліфування шийок колінвалів моделі 3В423 - Лубенський верстатобудівний завод "Комунар" .
Завод "Фенікс" заснований в 1915 році і в 1918 отримав назву "Комунар". З 1957 завод спеціалізується на виробництві універсальних і спеціальних круглошліфувальних верстатів з різним рівнем автоматизації, від верстатів з ручним керуванням до верстатів з сучасними ЧПУ.
Круглошліфувальний верстат 3В423 запущений у виробництво в 1977 році і є подальшим удосконаленням верстата моделі 3А423 .
Шліфувальний верстат 3В423 призначений для перешліфування корінних і шатунних шийок колінчастиних валів довжиною до 1600 мм і вагою до 150 кг, а також конічних хвостовиків з ухилом до 3° колінчастиних валів методом врізного шліфування при ручному подачі.
Верстати 3В423 можуть застосовуватись на авторемонтних заводах та інших підприємствах, зайнятих відновленням колінчастиних валів, що здійснюють ремонт двигунів внутрішнього згоряння легкових та вантажних автомобілів, тракторів, мінітракторів, мотоблоків та іншої техніки.
Забудовник – Лубенський верстатобудівний завод «Комунар».
Колінчастиний вал служить для сприйняття зусиль від шатунів, пов'язаних з поршнем двигуна, та передачі цих зусиль на трансмісію автомобіля чи трактора. Таким чином, колінчастиний вал перетворює змінний зворотно-поступальний рух поршнів у обертальний. У колінчастому валі піддаються шліфування корінні та шатунні шийки, при цьому повинні бути витримані допуски:
Шліфування шийок колінчастиних валів представляє значні труднощі через його складну конфігурацію, неврівноваженість, обмеженість шийки двома бортами, більшого відношення довжини валу до діаметра шийок і тому зниженої його жорсткості. Корінні шийки шліфують на круглошліфувальних верстатах великої потужності.
Колінчастиний вал повинен бути попередньо збалансований спільно з передньою та задньою бабками.
Балансування колінчастого валу при шліфуванні шатунних шийок здійснюється рухомими вантажами, розміщеними позаду бабок виробу в неробочій зоні. Балансування важких колінчастиних валів здійснюється зміщенням додаткових рухомих вантажів на планшайбі патрона.
Для досягнення циліндричності шийки, що шліфується, верхній стіл допускає невеликий поворот.

Габарит робочого простору верстата 3в423

Фото круглошліфувального верстата 3в423

Процес шліфування на круглошліфувальному верстаті 3в423

Зразок шліфування на круглошліфувальному верстаті 3в423

Розташування складових частинин круглошліфувального верстата 3в423

Розташування органів керування круглошліфувальним верстатом 3в423

Розташування органів керування на пульті верстата 3в423
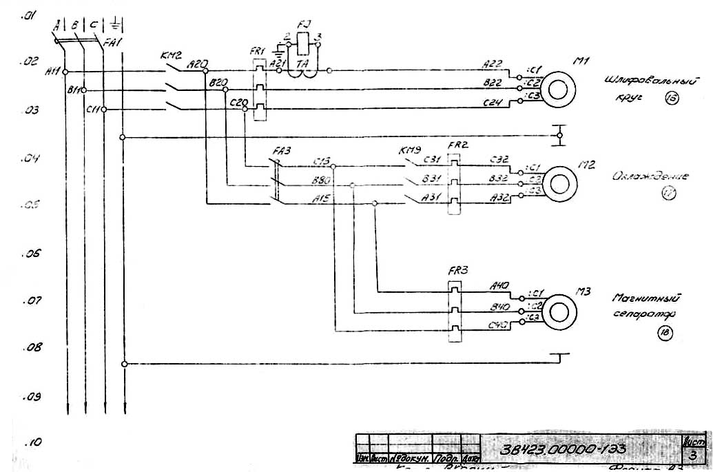
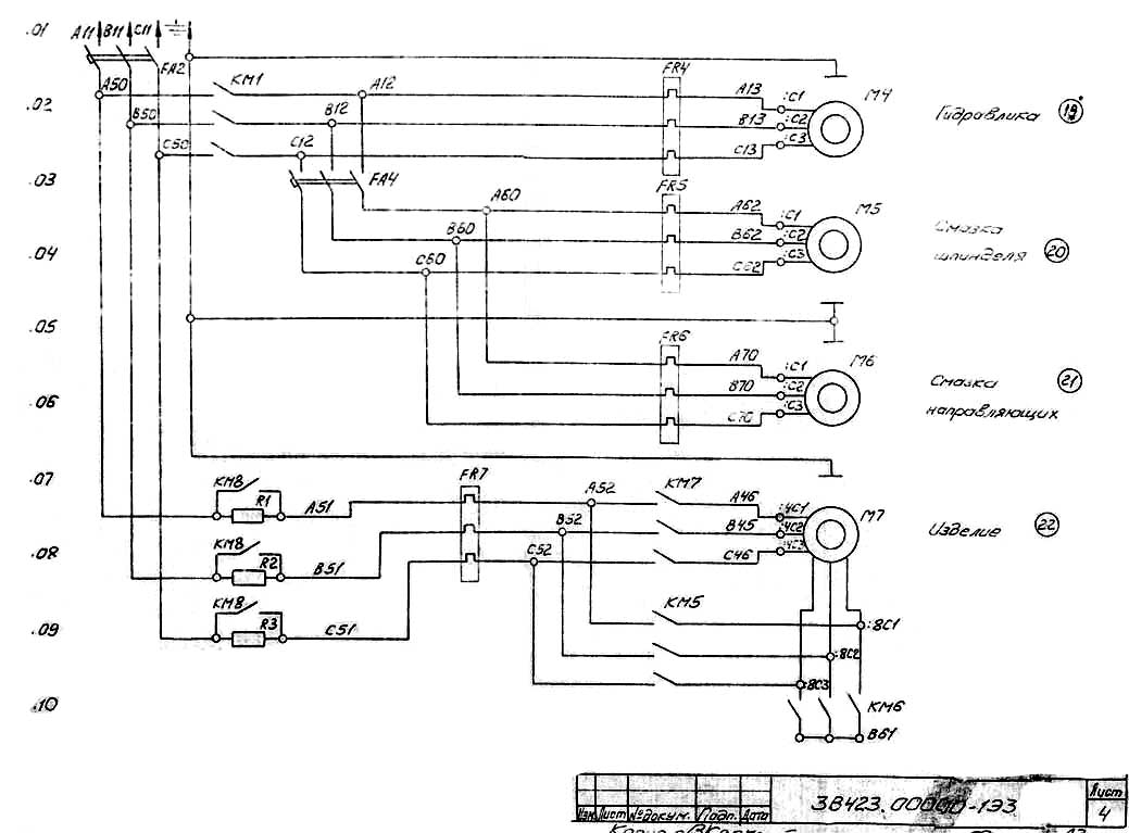
Верстат выпускается з електрообладнанням на напряжение 380 В частотой 50 Гц в силовой ланцюги.
Привід механізмов осуществляется семью трехфазными асинхронными електродвигунами М1..М7.
Для керування гідроприводом окремих механізмов на станке 3В423 утановлены 3-и золотника, которыми управляют електромагниты YA1, YA2, YA3.
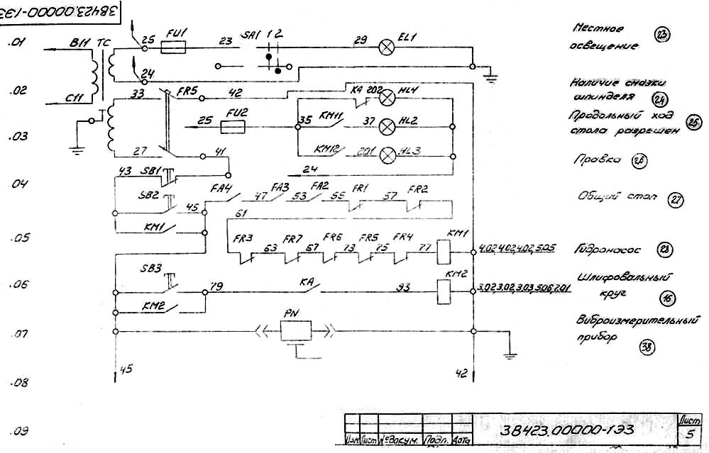
Для контроля уровня вибрации на шлифовальной бабке установлен виброимерительный прибор PN.
Електросхемаобеспечивает работу верстата в следующих режимах:
Наладку електроустаткування на соответствующий режим роботи следует производить переключателями на пульті керуванняи рукоятками, расположенными на панелі керування.
Переключатель SA2 - выбор частоти обертання вироби установить в любое из положений в зависимости от выбора оператором режима обробки.
Переключатель SA3 установить в положение "Врезное шлифование".
Независимо от режима роботи схема електрического керування работает только при включенной гідросистеме верстата.
При нажатии кнопки SB2 включается насос змазки шпинделя і насос змазки направляючих. После появления змазки шпинделя срабатывает реле давления SP, гаснет сигнальная лампа HL2.
При нажатии кнопки SB3 включаются електродвигатели М1 і М3 приводов шлифовального круга і магнитного сепаратора.
Пуск і зупинка електродвигуна М7 (изделие) происходит при нажатии кнопок SB5 і SB4 соответственно. Плавный пуск отключает резкие толчкипри разгоне двигуна, что обеспечивается включением в каждую фазу двигуна М7 резисторов R1, R2, R3 на время установки реле КТ.
Проворот вироби происходит, если нажать кнопку SB6.
Подвод шлифовальной бабки разрешается при включенном електромагните YF3, т.е. при отсутствии перегруза шлифовального круга реле FJ.
При перегрузке шлифовального круга срабатывает реле максимального тока FJ. Отключается електромагнит YA3, шлифовальная бабка автоматически отводится.
При подводе шлифовальной бабки освобождается микропереключатель SQ3 і включается електродвигатель М2 насоса охлаждения.
При отводе шлифовальной бабки автоматически отключается охолодження і двигатель вироби, включается електромагнит YA2, разрешающий продольный ход стола.
Происходит останов всех електродвигателей.
Переключатель SA2 устанавливается по выбору оператора.
Переключатель SA3 установить в положение "Продольное шлифование".
Керування подводом аналогично оисанному ранее. Дополнительно включаетсяелектромагнит YA2, что обеспечиваетпродольный ход столапри подведенной шлифовальной бабке.На пульті керування горитсигнальная лампа HL2 "Продольный ход стола разрешен".
Переключатели SA2 і SA3 на пульті керування могут находиться в любом положении.
Керування прибором правки производится з двух мест головного пульта керування кнопками SB7 і SB9, з поста керування правкой кнопками SB8, SB9.
Если нажать одну из кнопок SB9 или SB10 включится електромагнит YA1, происходит прямой ход правильного прибора до нажатия микропереключателя SQ2, который отключает електромагнит золотника.
При работе правильного прибора включается насос СОЖ, на пульті керування горит лампа HL3.
Остановуить процесс правки можно влюбом положенииправильного прибора, если нажать кнопки SB7 і SB8.
Захист верстата обеспечивается:

Електрична схема круглошлифовального верстата 3в423

Електрична схема круглошлифовального верстата 3в423

Електрична схема круглошлифовального верстата 3в423

Електрична схема круглошлифовального верстата 3в423

Електрична схема круглошлифовального верстата 3в423

Пульт керування круглошлифовального верстата 3в423

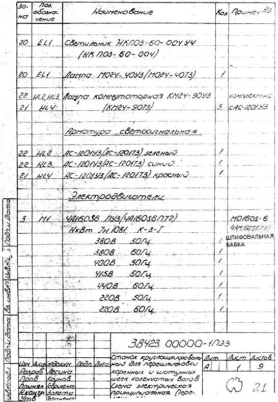
Список елементів круглошлифовального верстата 3в423

Список елементів круглошлифовального верстата 3в423

Список елементів круглошлифовального верстата 3в423

Список елементів круглошлифовального верстата 3в423

Список елементів круглошлифовального верстата 3в423

Список елементів круглошлифовального верстата 3в423

Список елементів круглошлифовального верстата 3в423

Список елементів круглошлифовального верстата 3в423

Список елементів круглошлифовального верстата 3в423

Розташування електроустаткування на круглошлифовальном станке 3В423

Розташування електроустаткування на круглошлифовальном станке 3В423
| Наименование параметра | 3В423 | 3Д4230 |
|---|---|---|
| Основні параметри | ||
| Класс точності по ГОСТ 8-71 | П | В/А |
| Наибольший диаметр обертання устанавливаемого вироби, мм | 580 | 580 |
| Наибольшая длина устанавливаемого вироби в центрах, мм | 1600 | 1600 |
| Наибольшая длина устанавливаемого вироби в патронах, мм | 1450 | 1450 |
| Наибольший диаметр шлифования без люнета, мм | 150 | 200 |
| Наибольший диаметр шлифования в люнете, мм | 110 | 130, 200 |
| Наименьший диаметр шлифования в люнете, мм | 30 | 25 |
| Расстояние от оси шпинделя передньої бабки до зеркала стола - высота центров, мм | 300 | 300 |
| Наибольшая длина шлифования, мм | 1600 | 1600 |
| Наибольший радиус кривошипа, мм | 105 | 110 |
| Наибольшая масса обрабатываемого вироби, кг | 150 | 160 |
| Станина і столы верстата | ||
| Наибольшее продольное перемещение стола от руки/ от гідравлики, мм | 1600/ 1600 | 1600/ 1600 |
| Скорость переміщення стола от гідросистемы наименьшая/ наибольшая, м/мин | 0,2/ 4,0 | 0,2/ 5,0 |
| Ручное замедленное/ ускоренное переміщення стола за один оборот маховика, мм | 2/ 15,2 | |
| Шлифовальная бабка | ||
| Наибольшее перемещение шлифовальной бабки, мм | 175 | |
| Диаметр шлифовального круга - наименьший/ наибольший, мм | 750/ 900 | 750/ 900 |
| Диаметр шлифовального круга - посадочный, мм | 305 | 305 |
| Наибольшая высота устанавливаемого круга, мм | 63 | 63 |
| Частота обертання шпинделя шлифовальной бабки, об/мин | 740 | 740 |
| Окружная скорость шлифовального круга, м/с | 35 | 35 |
| Кінець шлифовального шпинделя, мм | 1:5 | |
| Механізм поперечных подач шлифовальной бабки | ||
| Наибольшее перемещение шлифовальной бабки по винту, мм | 175 | 175 |
| Быстрый подвод шлифовальной бабки, мм | 100 | 100 |
| Время швидкого подвода шлифовальной бабки, с | ||
| Толчковая подача - периодическая подача з реверсированием стола (на один зуб храпового колеса), мм | 0,0025 | |
| Цена деления лимба поперечної подачі, мм | 0,005 | |
| Цена деления лимба тонкой поперечної подачі, мм | 0,0025 | |
| Величина поперечного переміщення шлифовальной бабки за один оборот маховика (лимба), мм | 0,5 | |
| Скорость швидкого установочного переміщення шлифовальной бабки, мм/мин | ||
| Точность обробки - конусность, мкм | 2,5 | 2,5 |
| Точность обробки - овальность, мкм | 2,5 | 2,5 |
| Передня бабка | ||
| Частота обертання вироби (при частоте тока 50 Гц), об/мин | 30; 60; 90; 180 | 30; 60; 85; 174 |
| Количество швидкостей обертання вироби | 4 | 4 |
| Конус шпинделя передньої бабки | Морзе 5 | |
| Задня бабка | ||
| Величина відведення пиноли задньої бабки от руки рычагом/ винтом, мм | 35/ 55 | |
| Конус шпинделя пінолі задньої бабки | Морзе 4 | |
| Привід та електроустаткування верстата | ||
| Кількість електродвигунів на верстаті | 7 | 7 |
| Електродвигун шпинделя шліфувальної бабки М1, кВт | 11,0 | 11,0 |
| Електродвигун насоса системи охолодження М2, кВт | 0,25 | 0,25 |
| Електродвигун магнітного сепаратора М3, кВт | 0,09 | 0,09 |
| Електродвигун основного насоса гідросистеми М4, кВт | 2,2 | 2,2 |
| Електродвигун насоса системи змащення шпинделя М5, кВт | 0,09 | 0,09 |
| Електродвигун насоса системи змащення направляючих столу М6, кВт | 0,09 | 0,09 |
| Електродвигун приводу виробу М7, кВт | 1,75 | 1,7 |
| Сумарна потужність електродвигунів, кВт | 14,63 | |
| Габаритні розміри та маса верстата | ||
| Габаритні розміри верстата (довжина x ширина x висота), мм | 5500 х 2550 х 1670 | 5600 х 2600 х 1900 |
| Маса верстата з електрообладнанням та охолодженням, кг | 8180 | 7500 |